Abstract
Fuzzy topological topographic mapping () is a mathematical model which consists of a set of homeomorphic topological spaces designed to solve the neuro magnetic inverse problem. A sequence of FTTM, , is an extension of FTTM that is arranged in a symmetrical form. The special characteristic of , namely the homeomorphisms between its components, allows the generation of new . The generated s can be represented as pseudo graphs. A graph of pseudo degree zero is a special type of graph where each of the components differs from the one adjacent to it. Previous researchers have investigated and conjectured the number of generated pseudo degree zero with respect to n number of components and k number of versions. In this paper, the conjecture is proven analytically for the first time using a newly developed grid-based method. Some definitions and properties of the novel grid-based method are introduced and developed along the way. The developed definitions and properties of the method are then assembled to prove the conjecture. The grid-based technique is simple yet offers some visualization features of the conjecture.
1. Introduction
Fuzzy topographic topological mapping (FTTM) [1] was introduced to solve the neuro magnetic inverse problem, particularly with regards to the sources of electroencephalography (EEG) signals recorded from epileptic patients. Originally, the model was a 4-tuple of topological spaces and mappings. The topological spaces are the magnetic plane (MC), base magnetic plane (BM), fuzzy magnetic field (FM) and topographic magnetic field (TM). The third component of FTTM, FM, is a set of three tuples with the membership function of its potential reading obtained from a recorded EEG. FTTM is defined formally as follows (see Figure 1).
Figure 1.
The FTTM.
Definition 1.
Ref. [1] Letsuch thatare topological spaces with. Set ofis denoted by. Sequence ofof FTTM issuch thatand.
Furthermore, a sequence of FTTM, , is an extension of FTTM and illustrated in Figure 2. It is arranged in a symmetrical form, since the model can accommodate magnetoencephalography (MEG) signals as well as image data due to its homeomorphism.
Figure 2.
The sequence of .
2. Generalized FTTM
Generally, the FTTM structure can also be expanded for any n number of components.
Definition 2.
Ref. [2] Ais defined as
such thatare the components of
The same generalization can be applied to any k number of versions as well, denoted as . Without the loss of generality, the collection of the version of is now simply called as a sequence of unless otherwise stated.
Definition 3.
Ref. [2] A sequence ofversions ofdenoted bysuch that
where is the first version of , the is the second version of and so forth.
Obviously, a new can be generated from a combination of components from different versions of due to their homeomorphisms.
Definition 4.
Ref. [2] A newgenerated fromis defined as
whereandfor at least one.
A set of elements generated by is denoted by . Mukaram et al. [2] showed that the number of can be determined from using the geometrical features of its graph representation.
Theorem 1.
Ref. [2] The number of generatedthat can be created fromis
Theorem 1 is then extended to include number of components.
Theorem 2.
Ref. [2] The number of generated FTTM that can be created fromis
The following example is presented to illustrate Theorem 2.
Example 1.
Consider, withand, thenthat isas given by Theorem 2.
3. Extended Generalization of FTTM
There are many studies on ordinary and fuzzy hypergraphs available in the literature such as [3,4]. However, is an extended generalization of FTTM that is represented by a graph of a sequence of number of polygons with sides or vertices. The polygon is arranged from back to front where the first polygon represents , the second polygon represents and so forth. An edge is added to connect to the component wisely. A similar approach is taken for , and the rest (Figure 3).
Figure 3.
Graph of .
When a new
is obtained from
, it is then called a pseudo-graph of the generated and plotted on the skeleton of . A generated element of a pseudo-graph consists of vertices that signify the generated and edges which connect the incidence components. Two samples of pseudo-graphs are illustrated in Figure 4.
Figure 4.
Pseudo graph: (a) ; (b) of .
Another concept related closely to the pseudo-graph is the pseudo degree. It is defined as the sum of the pseudo degree from each component of the . The pseudo degree of a component is the number of other components that are adjacent to that particular component.
Definition 5.
Ref. [2] Thedefines the pseudo degree of thecomponent. It maps a component ofto an integer
for.
Definition 6.
Ref. [2] Thedefines the pseudo degree of thegraph. Let
where.
Definition 7.
Ref. [2] The set of elements generated bythat have pseudo degree zero is
From now on,
- is simply denoted by .
- denotes the cardinality of the set .
Example 2.
(See Figure 5).
Figure 5.
.
Previously, Elsafi proposed a conjecture in [5] related to the graph of pseudo degree.
Conjecture 1.
Ref. [5]
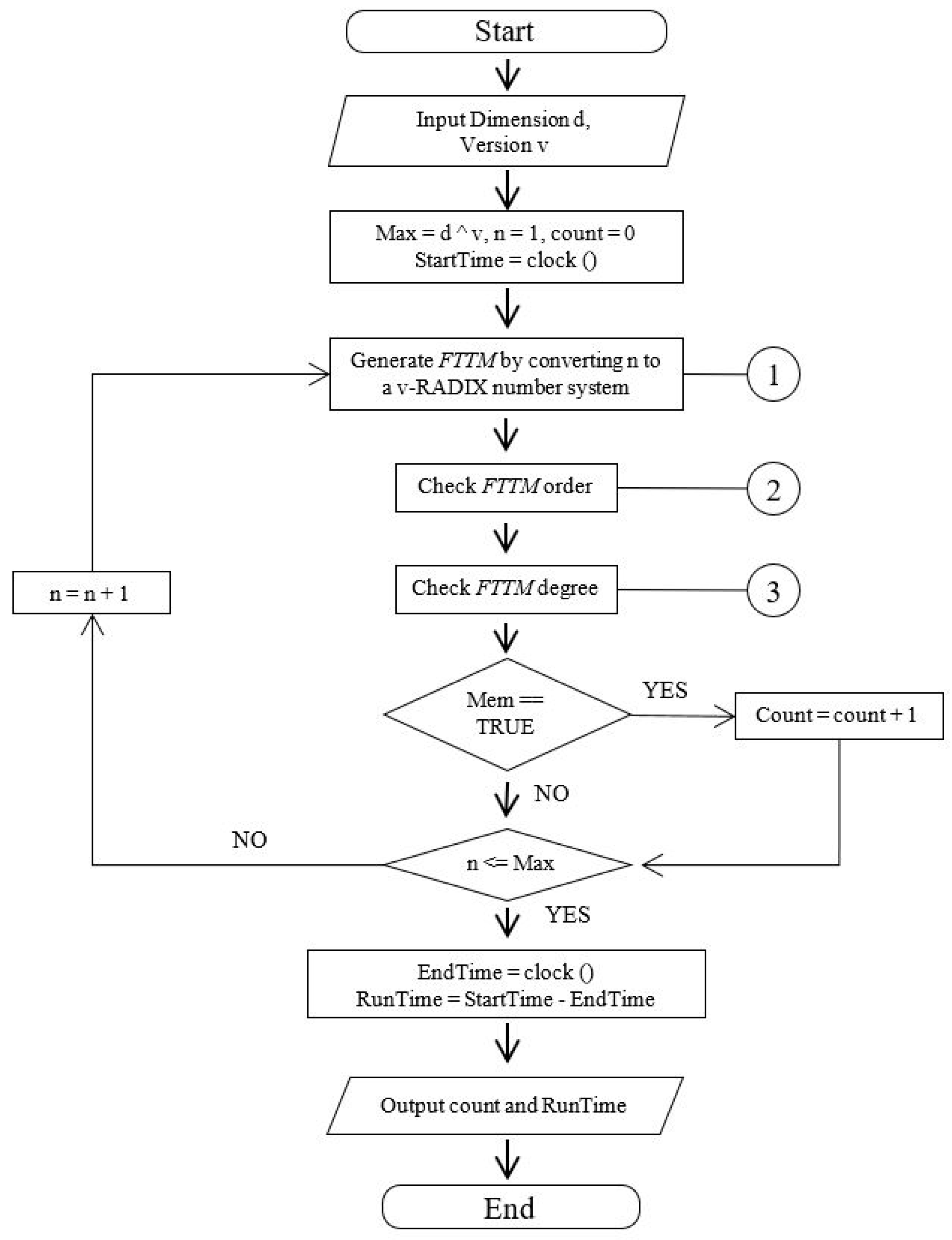
In order to observe some patterns that may appear from the proposed conjecture, Mukaram et al. [2] have developed an algorithm to compute in order to prove the conjecture analytically. A flowchart on is sampled in Figure 6.
Figure 6.
Flowchart for determining .
The researchers generated all combinations for , and were able to isolate graphs with pseudo degree zero, which are listed below (Table 1).
Table 1.
for and .
The researchers then simulated for some values of k as well [2]. The number of graphs of pseudo degree zero for and are listed in Table 2.
Table 2.
for and .
4. Grid of FTTM
An alternative presentation of a sequence of , called an FTTM grid, is briefly overviewed. It provides a different perspective of the structure of . Instead of a polygon representation for each version of , a straight line is now used. The components of are arranged on a horizontal line of vertices and the lines represent the homeomorphisms between the components of . The only exception is the homeomorphism between the first and last components of and , respectively. Two open segments on the left of and on the right of are used to represent the homeomorphism between them. A vertical line is added to represent a homeomorphism between two components of different versions; hence, a grid is created (see Figure 7).
Figure 7.
A graph representation of as a grid.
There are four advantages when FTTM is represented as a grid instead of a sequence of polygon.
- It is represented in two dimensions; therefore, it reduces the complexity of the structure.
- The process of adding a new component is easier than in a sequence of polygon.
- It can take any number of components by adding the number of vertices at the end of the grid.
- The homeomorphism between two components of the same version is presented as a horizontal edge, whereas the homeomorphism between two components of two different versions is represented by a diagonal edge (see Figure 8). These arrangements are necessary to produce the graph of pseudo degree zero.
Figure 8. Generated element on grid.
Furthermore, Zilullah et al. [2] introduced some operations and properties with respect to the FTTM grid. They are recalled, summarized and listed below for convenience. Then, we will move on to the next main section of the paper wherein Conjecture 1 is finally proven as a theorem.
Definition 8.
Letand. A block
, where is defined as
is the set of FTTM blocks that can be generated from .
Definition 9.
The functionis defined asfor,
for, where.
Definition 10.
The operationis a mappingsuch that
whenand, then.
Definition 11.
An indexedis defined as
A generated is then divided into blocks of three components. A set of blocks is defined as follows.
Definition 12.
A set of blocksis defined as
Since this study is concerned with graphs of pseudo degree zero, the sets that need to be taken into consideration are the ones with diagonal paths, namely, .
Lemma 1.
Letand. For any, , thenifis connected toandby a diagonal path.
Theorem 3.
If, whereis the set of generateds with a diagonal path, then.
Corollary 1.
The element ofhas apath with the following properties:
- All the edges connecting the path are diagonal.
- The starting and the end points of the path belong to different versions of FTTM.
Theorem 4.
If, then all the paths forare diagonals.
Proposition 1.
If, then.
Lemma 2.
If, thensuch thatand.
Lemma 3.
If, thenunique tuplesuch thatand.
Theorem 5.
Ifand, then.
Lemma 4.
Lemma 5.
for anyand.
Theorem 6.
5. The Theorem
All the materials laid down in previous sections are assembled to produce the analytical proof of Conjecture 1. The first step is to find since is a subset of by Theorem 2.
Theorem 7.
Proof of Theorem 7.
(By mathematical induction)
Let
For odd numbers,
There are exactly 12 combinations, namely
Now assume is true with
for .
By using Theorem 4, such that
By using Theorem 5,
The set can be constructed from where and . There are four options for , namely . Hence,
The same process can be applied to and . Thus,
Similarly, the same induction process can be used as proof for even parts. □
The set has only two possible subsets, namely and . To find , the relation between , and must be investigated.
Lemma 6.
If, then
Proof of Lemma 6.
Let , then or by Theorem 5. Thus, or , i.e., or . □
Finally, is determined using Lemma 6 and Theorem 5.
Theorem 8.
Proof of Theorem 8.
By Theorem 5, can be determined by the combination of where . By Theorem 4, all edges must be diagonal; hence, . There are two possibilities for the value of , namely or , where from Theorem 3. Case : if , then which implies or by Corollary 1.
Let , , then for any , then and also for any , then by Corollary 1. Thus, for , there are combinations of tuple .
If , then when and by Corollary 1. Thus, there are combinations of tuple Hence, . Using the same procedure as for , the same result can be obtained for . □
Theorem 9.
where,.
Proof of Theorem 9.
Using Theorem 6, . From Theorem 8 and Lemma 6,
Hence by Theorem 7,
such that . □
Theorem 9 is another version of the earlier conjecture. A simple algebraic manipulation is needed to show their equivalence. We formally state and prove this as the final theorem.
Theorem 10.
where,.
Proof of Theorem 10.
By Theorem 9,
and , .
However, when n is odd,
Thus, .
Notice that
When n is even,
Thus, .
Notice that,
It shows that the equation in Theorem 9 is exactly the statement of the conjecture. In other words, the conjecture is proven by construction. □
The whole process of proving Conjecture 1 is summarized below in Figure 9.
Figure 9.
Outline of proving Conjecture 1 by construction.
6. Conclusions
The developed grid-based method of proof is new; some definitions and properties were introduced, whereas others were investigated along the way. The originality and advantages of this method can be summarized in the point forms below.
- It provides a different perspective to the structure of . Instead of a polygon representation for each version of , a straight line is now used. The components of are arranged on a horizontal line of vertices and the lines represent the homeomorphisms between the components of .
- A vertical line is added to represent a homeomorphism between two components of different versions; hence, a grid is created.
- It is represented in two dimensions; therefore, it reduces the complexity of the structure.
- The process of adding a new component is easier than in a sequence of polygon.
- It can take any number of components by adding the number of vertices at the end of the grid.
- The homeomorphism between two components of the same version is presented as a horizontal edge, whereas the homeomorphism between two components of two different versions is represented by a diagonal edge (see Figure 8).
- This grid-based technique offers an edge in proving the conjecture; in particular, it enables one to visualize a given problem in a 2-dimensional space.
- Finally, the conjecture that spells the number of the generated FTTM graph of pseudo degree zero with respect to n number of components and k number of versions is proven analytically for the first time using this method.
However, the lengthy computing time for simulation needs to be resolved for larger k and n, accordingly. This may be overcome by employing parallel computing, and the grid-based technique can be very handy for such enumerative combinatorics problems in the near future.
Author Contributions
Conceptualization, M.Z.M. and T.A.; methodology, M.Z.M.; software, N.A.; formal analysis, M.Z.M. and N.A.; writing—original draft preparation, M.Z.M. and T.A.; writing—review and editing, N.A.S. and F.M.; Conceptualization, M.Z.M. and T.A.; methodology, M.Z.M.; software, N.A.; formal analysis, M.Z.M. and N.A.; writing—original draft preparation, M.Z.M. and T.A.; writing—review and editing, N.A.S. and F.M.; supervision, T.A. and N.A.; funding acquisition, T.A. and N.A. All authors have read and agreed to the published version of the manuscript.
Funding
This research is supported by the Fundamental Research Grant Scheme (FRGS) FRGS/1/2020/STG06/UTM/01/1 awarded by the Ministry of Higher Education, Malaysia.
Institutional Review Board Statement
Not applicable.
Informed Consent Statement
Not applicable.
Data Availability Statement
No data were used to support this study.
Acknowledgments
Authors acknowledge the support of Universiti Teknologi Malaysia (UTM) and Ministry of Higher Education Malaysia (MOHE) in this work.
Conflicts of Interest
The authors declare no conflict of interest.
Abbreviations
The following abbreviations are used in this manuscript.
| BM | Base magnetic plane |
| EEG | Electroencephalography |
| FM | Fuzzy magnetic field |
| FTTM | Fuzzy topological topographic mapping |
| Sequence of FTTM | |
| MC | Magnetic plane |
| MEG | Magnetoencephalography |
| TM | Topographic magnetic field |
| that have pseudo degree zero | |
| . that have pseudo degree zero |
References
- Shukor, N.A.; Ahmad, T.; Idris, A.; Awang, S.R.; Fuad, A.A.A. Graph of Fuzzy Topographic Topological Mapping in Relation to k-Fibonacci Sequence. J. Math. 2021, 2021, 7519643. [Google Scholar] [CrossRef]
- Mukaram, M.Z.; Ahmad, T.; Alias, N. Graph of Pseudo Degree Zero Generated by . In Proceedings of the International Conference on Mathematical Sciences and Technology 2018 (Mathtech2018): Innovative Technologies for Mathematics & Mathematics for Technological Innovation, Penang, Malaysia, 10–12 December 2018; AIP Publishing LLC: Penang, Malaysia, 2019; p. 020007. [Google Scholar] [CrossRef]
- Debnath, P. Domination in interval-valued fuzzy graphs. Ann. Fuzzy Math. Inform. 2013, 6, 363–370. [Google Scholar]
- Konwar, N.; Davvaz, B.; Debnath, P. Results on generalized intuitionistic fuzzy hypergroupoids. J. Intell. Fuzzy Syst. 2019, 36, 2571–2580. [Google Scholar]
- Elsafi, M.S.A.E. Combinatorial Analysis of N-tuple Polygonal Sequence of Fuzzy Topographic Topological Mapping. Ph.D. Thesis, University Teknologi Malaysia, Skudai, Malaysia, 2014. [Google Scholar]
Publisher’s Note: MDPI stays neutral with regard to jurisdictional claims in published maps and institutional affiliations. |
© 2021 by the authors. Licensee MDPI, Basel, Switzerland. This article is an open access article distributed under the terms and conditions of the Creative Commons Attribution (CC BY) license (https://creativecommons.org/licenses/by/4.0/).








