Next Article in Journal
The Synchronization Behaviors of Coupled Fractional-Order Neuronal Networks under Electromagnetic Radiation
Previous Article in Journal
Neutron Oscillations and the Parity Doubling Theorem
Previous Article in Special Issue
On the Total Neighbor Sum Distinguishing Index of IC-Planar Graphs
 
 
Font Type:
Arial Georgia Verdana
Font Size:
Aa Aa Aa
Line Spacing:
Column Width:
Background:
Article

Extended Graph of the Fuzzy Topographic Topological Mapping Model

Department of Mathematical Sciences, Faculty of Science, University Teknologi Malaysia, Johor Bahru 81310, Johor, Malaysia
*
Author to whom correspondence should be addressed.
Symmetry 2021, 13(11), 2203; https://doi.org/10.3390/sym13112203
Submission received: 15 October 2021 / Revised: 4 November 2021 / Accepted: 11 November 2021 / Published: 18 November 2021
(This article belongs to the Special Issue Research on Symmetry Applied in Graph Theory)

Abstract

:
Fuzzy topological topographic mapping ( F T T M ) is a mathematical model which consists of a set of homeomorphic topological spaces designed to solve the neuro magnetic inverse problem. A sequence of FTTM, F T T M n , is an extension of FTTM that is arranged in a symmetrical form. The special characteristic of F T T M , namely the homeomorphisms between its components, allows the generation of new F T T M . The generated F T T M s can be represented as pseudo graphs. A graph of pseudo degree zero is a special type of graph where each of the F T T M components differs from the one adjacent to it. Previous researchers have investigated and conjectured the number of generated F T T M pseudo degree zero with respect to n number of components and k number of versions. In this paper, the conjecture is proven analytically for the first time using a newly developed grid-based method. Some definitions and properties of the novel grid-based method are introduced and developed along the way. The developed definitions and properties of the method are then assembled to prove the conjecture. The grid-based technique is simple yet offers some visualization features of the conjecture.

1. Introduction

Fuzzy topographic topological mapping (FTTM) [1] was introduced to solve the neuro magnetic inverse problem, particularly with regards to the sources of electroencephalography (EEG) signals recorded from epileptic patients. Originally, the model was a 4-tuple of topological spaces and mappings. The topological spaces are the magnetic plane (MC), base magnetic plane (BM), fuzzy magnetic field (FM) and topographic magnetic field (TM). The third component of FTTM, FM, is a set of three tuples with the membership function of its potential reading obtained from a recorded EEG. FTTM is defined formally as follows (see Figure 1).
Definition 1.
Ref. [1] Let F T T M i = ( M C i , B M i , F M i , T M i ) such that M C i , B M i , F M i , T M i are topological spaces with M C i B M i F M i T M i . Set of F T T M i is denoted by F T T M = { F T T M i : i = 1 , 2 , 3 , , n } . Sequence of n F T T M i of FTTM is F T T M 1 , F T T M 2 , F T T M 3 , F T T M 4 , , F T T M n such that M C i M C i + 1 , B M i B M i + 1 , F M i F M i + 1 and T M i T M i + 1 .
Furthermore, a sequence of FTTM, F T T M n , is an extension of FTTM and illustrated in Figure 2. It is arranged in a symmetrical form, since the model can accommodate magnetoencephalography (MEG) signals as well as image data due to its homeomorphism.

2. Generalized FTTM

Generally, the FTTM structure can also be expanded for any n number of components.
Definition 2.
Ref. [2] A F T T M is defined as
F T T M n = { { A 1 ,   A 2 ,   ,   A n }   :   A 1 A 2     A n }
such that A 1 ,   A 2 ,   ,   A n are the components of F T T M n
The same generalization can be applied to any k number of F T T M versions as well, denoted as F T T M n k . Without the loss of generality, the collection of the k version of F T T M ,   in   short   F T T M n k , is now simply called as a sequence of F T T M unless otherwise stated.
Definition 3.
Ref. [2] A sequence of k versions of F T T M n denoted by   F T T M n k such that
  F T T M n k = { F T T M n 1   , F T T M n 2 ,   ,   F T T M n k }
where F T T M n 1 is the first version of F T T M n , the F T T M n 2 is the second version of F T T M n and so forth.
Obviously, a new F T T M can be generated from a combination of components from different versions of F T T M due to their homeomorphisms.
Definition 4.
Ref. [2] A new F T T M generated from   F T T M n k is defined as
F = { A 1 m 1   , A 2 m 2   ,   .   .   .   ,   A n m n } F T T M
where 0     m 1 ,   m 2 ,   .   .   .   ,   m n     k   and m i   m j for at least one   i ,   j .
A set of elements generated by     F T T M n k is denoted by G (   F T T M n k ) . Mukaram et al. [2] showed that the number of F T T M   can be determined from   F T T M 4 k using the geometrical features of its graph representation.
Theorem 1.
Ref. [2] The number of generated F T T M that can be created from   F T T M 4 k   is
| G (   F T T M 4 k ) | = k 4 k .
Theorem 1 is then extended to include n number of F T T M   components.
Theorem 2.
Ref. [2] The number of generated FTTM that can be created from   F T T M n k is
| G (   F T T M n k ) | = k n k .
The following example is presented to illustrate Theorem 2.
Example 1.
Consider   F T T M 3 2 , with F T T M 3 1 = { A 1 1 , A 2 1 ,   A 3 1 } and F T T M 3 2 = { A 1 2 , A 2 2 ,   A 3 2 } , then G (   F T T M 3 2 ) = { { A 1 1 , A 2 2 ,   A 3 1 } ,   { A 1 1 ,   A 2 1 , A 3 2 } , { A 1 2 , A 2 1 , A 3 1 } , { A 1 2 , A 2 2 , A 3 1 } ,   { A 1 2 , A 2 1 , A 3 2 } ,   { A 1 1 , A 2 2 , A 3 2 } } that is | G (   F T T M 3 2 ) | = 2 3 2 = 6   as given by Theorem 2.

3. Extended Generalization of FTTM

There are many studies on ordinary and fuzzy hypergraphs available in the literature such as [3,4]. However,   F T T M n k is an extended generalization of FTTM that is represented by a graph of a sequence of k number of polygons with n sides or vertices. The polygon is arranged from back to front where the first polygon represents F T T M n 1 , the second polygon represents F T T M n 2 and so forth. An edge is added to connect F T T M n 1 to the F T T M n 2 component wisely. A similar approach is taken for F T T M n 2 , F T T M n 3 and the rest (Figure 3).
When a new F T T M is obtained from   F T T M n k , it is then called a pseudo-graph of the generated F T T M and plotted on the skeleton of   F T T M n k . A generated element of a pseudo-graph consists of vertices that signify the generated F T T M and edges which connect the incidence components. Two samples of pseudo-graphs are illustrated in Figure 4.
Another concept related closely to the pseudo-graph is the pseudo degree. It is defined as the sum of the pseudo degree from each component of the F T T M . The pseudo degree of a component is the number of other components that are adjacent to that particular component.
Definition 5.
Ref. [2] The d e g p   : F T T M Z defines the pseudo degree of the F T T M component. It maps a component of F G (   F T T M n k ) to an integer
deg p ( A j m j ) = { 0 ;                             m j 1 m j m j + 1   1 ;       m j 1 = m j   o r   m j = m j + 1 ,   2 ;                               m j 1 = m j = m j + 1
for A j m j F T T M .
Definition 6.
Ref. [2] The d e g p G   : G (   F T T M n k ) Z defines the pseudo degree of the F T T M graph. Let   F   F T T M
d e g p G ( F ) = i = 1 n deg p A i m i  
where F = { A 1 m 1   , A 2 m 2   ,   .   .   .   ,   A n m n } G (   F T T M n k ) .
Definition 7.
Ref. [2] The set of elements generated by   F T T M n k that have pseudo degree zero is
G 0 (   F T T M n k   ) = { F G (   F T T M n k ) | d e g p G ( F ) = 0   }  
From now on,
  • G 0 (   F T T M n k   ) is simply denoted by G 0 ( F T T M n k   ) .
  • # G 0 ( F T T M n k   ) denotes the cardinality of the set G 0 ( F T T M n k   ) .
Example 2.
(See Figure 5).
F T T M 4 3 = { ( A 1 , A 2 , A 3 , A 4 ) ,   ( B 1 , B 2 , B 3 , B 4 ) ,   ( C 1 , C 2 , C 3 , C 4 ) } G 0 ( F T T M 4 3 ) = { ( A 1 , B 2 , A 3 , C 4 ) ,   ( A 1 , B 2 , C 3 , B 4 ) ,   ( A 1 , C 2 , A 3 , B 4 ) ,   ( A 1 , C 2 , B 3 , C 4 ) ,       ( B 1 , A 2 , B 3 , C 4 ) , ( B 1 , A 2 , C 3 , A 4 ) ,   ( B 1 , C 2 , B 3 , A 4 ) ,   ( B 1 , C 2 , A 3 , C 4 ) ,     ( C 1 , B 2 , C 3 , A 4 ) ,   ( C 1 , B 2 , A 3 , B 4 ) ,   ( C 1 , A 2 , C 3 , B 4 ) ,   ( C 1 , A 2 , B 3 , A 4 ) } G 0 ( F T T M 4 3 ) = 12.
Previously, Elsafi proposed a conjecture in [5] related to the graph of pseudo degree.
Conjecture 1.
Ref. [5]
| G 0 3 ( F T T M n 3 ) | = { 4 | G 0 3 ( F T T M n 2 3 ) | + 12   ,     w h e n   n   i s   e v e n   4 | G 3   0 ( F T T M n 2 3 ) | + 6 ,   w h e n   n   i s   o d d
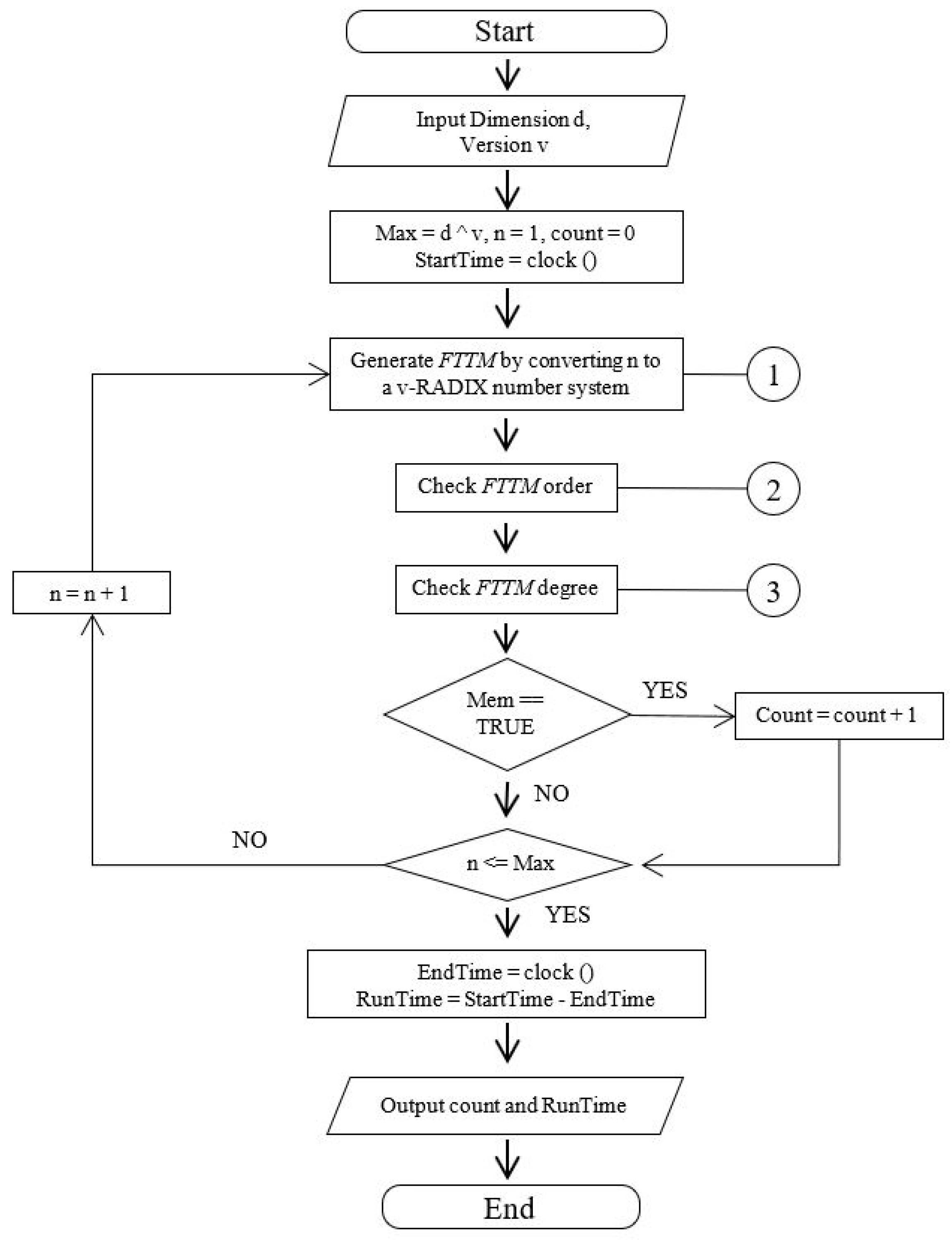
In order to observe some patterns that may appear from the proposed conjecture, Mukaram et al. [2] have developed an algorithm to compute |   G 0 ( F T T M n 3   ) | in order to prove the conjecture analytically. A flowchart on | G 0 (   F T T M 3 n ) | is sampled in Figure 6.
The researchers generated all F T T M combinations for 3 k 4 , 4   n     15 and were able to isolate graphs with pseudo degree zero, which are listed below (Table 1).
The researchers then simulated |   G 0 ( F T T M n k   ) | for some values of k as well [2]. The number of graphs of pseudo degree zero for 2 k 8   and 2     n     10 are listed in Table 2.

4. Grid of FTTM

An alternative presentation of a sequence of F T T M , called an FTTM grid, is briefly overviewed. It provides a different perspective of the structure of FTTM . Instead of a polygon representation for each version of F T T M , a straight line is now used. The components of F T T M n are arranged on a horizontal line of vertices and the lines represent the homeomorphisms between the components of F T T M n . The only exception is the homeomorphism between the first and last components of F T T M n ,     A 1 and A n , respectively. Two open segments on the left of A 1 and on the right of A n are used to represent the homeomorphism between them. A vertical line is added to represent a homeomorphism between two components of different versions; hence, a grid is created (see Figure 7).
There are four advantages when FTTM is represented as a grid instead of a sequence of polygon.
  • It is represented in two dimensions; therefore, it reduces the complexity of the structure.
  • The process of adding a new component is easier than in a sequence of polygon.
  • It can take any number of components by adding the number of vertices at the end of the grid.
  • The homeomorphism between two components of the same version is presented as a horizontal edge, whereas the homeomorphism between two components of two different versions is represented by a diagonal edge (see Figure 8). These arrangements are necessary to produce the graph of pseudo degree zero.
Furthermore, Zilullah et al. [2] introduced some operations and properties with respect to the FTTM grid. They are recalled, summarized and listed below for convenience. Then, we will move on to the next main section of the paper wherein Conjecture 1 is finally proven as a theorem.
Definition 8.
Let F G (   F T T M n k ) and F = { A 1 m 1 , A 2 m 2 ,   , A n m n } . A block B , where B F is defined as
B = { A i m i , A i + 1 m i + 1 , A i + 2 m i + 2 , ,   A i + j m i + j } ,   1 i < n ,   0 < j n 1  
B ( G (   F T T M n k ) ) is the set of FTTM blocks that can be generated from  G (   F T T M n k ) .
Definition 9.
The function C i j is defined as C : G (   F T T M n k ) B ( G (   F T T M n k ) ) for F G (   F T T M n k ) ,
B = { A i m i , A i + 1 m i + 1 , A i + 2 m i + 2 , ,   A i + j m i + j } ,   1 i < n ,   0 < j n 1
for 1 < i < j < n , where F = { A 1 m 1 , A 2 m 2 , A 3 m 3 , ,   A n m n } .
Definition 10.
The operation is a mapping : B ( G (   F T T M n k ) ) × B ( G (   F T T M n k ) ) B ( G (   F T T M n k ) ) such that
{ A i m i , A i + 1 m i + 1 ,   , A k m k }   { A p m p , A p + 1 m p + 1 ,   , A j m j } = { A i m i , A i + 1 m i + 1 ,   , A j m j }  
when k = p and m k = m p , then   B 3 = B 1   B 2 = { A i m i , A i + 1 m i + 1 ,   , A j m j } .
Definition 11.
An indexed F T T M G j = i (   F T T M n k ) is defined as
  G m j = i (   F T T M n k ) = { F G (   F T T M n k ) |   A j m j F , m j = i   }  
A generated F T T M is then divided into blocks of three components. A set of blocks is defined as follows.
Definition 12.
A set of blocks B i j k   is defined as
B i j k = { B G (   F T T M n k ) |   B = { A p m p , A p + 1 m p + 1 , A p + 2 m p + 2 } , m p = i , m p + 1 = j , m p + 2 = k }  
Since this study is concerned with graphs of pseudo degree zero, the sets that need to be taken into consideration are the ones with diagonal paths, namely, B 121 , B 121 , B 123 , B 131 , B 132 , B 212 , B 213 , B 232 , B 231 , B 321 , B 312 , B 323   and   B 313 .
Lemma 1.
Let F   F T T M n k and F = { A 1 m 1 , A 2 m 2 ,   , A n m n } . For any A j m j F , 1 < j < n , then deg p ( A j m j ) = 0 if A j m j is connected to A j 1 m j 1 and A j + 1 m j + 1 by a diagonal path.
Theorem 3.
If F G d (   F T T M n 3 ) , where G d (   F T T M n 3 ) is the set of generated F T T M s with a diagonal path, then deg p G ( F ) = 2   o r   0 .
Corollary 1.
The element of G 0 ( F T T M n k ) has a F T T M path with the following properties:
  • All the edges connecting the path are diagonal.
  • The starting and the end points of the path belong to different versions of FTTM.
Theorem 4.
If x B ( G 0 (   F T T M n k ) ) , then all the paths for x are diagonals.
Proposition 1.
If F     G (   F T T M n k ) , then   C 1 n 2 ( F )   G (   F T T M n 2 k ) .
Lemma 2.
If F   G (   F T T M n k ) , then x , y such that x G (   F T T M n 2 k ) ,   y C n 2 n ( G (   F T T M n k ) )   and F = x y .
Lemma 3.
If F     G (   F T T M n k ) , then unique tuple ( x , y )   such that   x G (   F T T M n 2 k ) ,     y C n 2 n ( G (   F T T M n k ) ) and F = x y .
Theorem 5.
If H G (   F T T M n k ) and K = { ( x , y ) | x y H ,   x G (   F T T M n 2 3 ) ,   y C n 2 n ( G (   F T T M n 3 ) ) }   , then | K | = | C | .
Lemma 4.
(   FTTM n 3 ) = G m n 2 = 1 (   FTTM n 3 )   G m n 2 = 2 (   FTTM n 3 )   G m n 2 = 3 (   FTTM n 3 ) .  
Lemma 5.
  G m n 2 = a (   F T T M n 3 )   G m n 2 = b (   F T T M n 3 ) =  
for any a , b and a b .
Theorem 6.
| G (   F T T M n 3 ) | = | G m n 2 = 1 (   F T T M n 3 ) | + | G m n 2 = 2 (   F T T M n 3 ) | + | G m n 2 = 3 (   F T T M n 3 ) |  

5. The Theorem

All the materials laid down in previous sections are assembled to produce the analytical proof of Conjecture 1. The first step is to find | G d (   F T T M n 3 ) |   since G 0 (   F T T M n 3 ) is a subset of G d (   F T T M n 3 ) by Theorem 2.
Theorem 7.
| G d (   F T T M n 3 ) | = { 12   .   4 n 3 2 ,     n   i s   o d d ,   n 3     6   .   4 n 2 2 ,     n   i s   e v e n   ,   n 4.  
Proof of Theorem 7.
(By mathematical induction)
Let
P ( m ) = | G d (   F T T M n 3 ) | = { 12   .   4 n 3 2 ,     n   i s   o d d ,   n 3     6   .   4 n 2 2 ,     n   i s   e v e n   ,   n 4  
For odd numbers, P ( 3 ) : n = 3 ,
P ( 3 ) = | G d (   F T T M 3 3 ) | = 12   .   4 3 3 2 = 12 .
There are exactly 12 combinations, namely
{ A 1 1 , A 2 2 , A 3 3 } , { A 1 1 , A 2 2 , A 3 1 } , { A 1 1 , A 2 3 , A 3 2 } , { A 1 1 , A 2 3 , A 3 1 } , { A 1 2 , A 2 1 , A 3 3 } , { A 1 2 , A 2 3 , A 3 1 } , { A 1 2 , A 2 1 , A 3 2 } , { A 1 2 , A 2 3 , A 3 1 } , { A 1 3 , A 2 2 , A 3 3 } , { A 1 3 , A 2 2 , A 3 1 } , { A 1 3 , A 2 1 , A 3 3 } , { A 1 3 , A 2 1 , A 3 2 }
Now assume P ( m = 2 k + 1 ) : n = 2 k + 1 is true with
P ( m ) = | G d (   F T T M 2 k + 1 3 ) | = 12   .   4 2 k + 1 3 2 = 12   .   4 k 1  
for P ( m + 2 = 2 k + 1 + 2 2 k + 3 ) .
By using Theorem 4, P ( m + 1 ) = | G 0 (   F T T M 2 k + 3 3 ) | = | K | such that
K = { ( x , y ) | x y H ,   x G (   F T T M 2 k + 1 3 ) ,   y C n 2 n ( G (   F T T M 2 k + 3 3 ) ) } .
By using Theorem 5,
| P ( m + 1 ) | = | G d (   F T T M 2 k + 3 3 ) | = | G d m n 2 = 1 (   F T T M 2 k + 3 3 ) | + | G d m n 2 = 2 (   F T T M 2 k + 3 3 ) | + | G d m n 2 = 3 (   F T T M 2 k + 3 3 ) |  
The set G d m n 2 = 1 (   F T T M 2 k + 3 3 ) can be constructed from ( x , y ) where x G d m n 2 = 1 (   F T T M 2 k + 1 3 ) and y C n 2 n ( G d (   F T T M 2 k + 3 3 ) ) . There are four options for y , namely B 121 , B 123 ,   B 131 ,   and   B 132 . Hence,
| G d m n 2 = 1 (   F T T M 2 k + 3 3 ) | = 4 | G d m n 2 = 1 (   F T T M 2 k + 1 3 ) | .
The same process can be applied to | G d m n 2 = 2 (   F T T M 2 k + 3 3 ) | and | G d m n 2 = 3 (   F T T M 2 k + 3 3 ) | . Thus,
| P ( m + 1 ) | = | G d (   F T T M 2 k + 3 3 ) | = 4 | G d m n 2 = 1 (   F T T M 2 k + 1 3 ) | + 4 | G d m n 2 = 2 (   F T T M 2 k + 1 3 ) | + 4 | G d m n 2 = 3 (   F T T M 2 k + 1 3 ) | = 4 ( | G d m n 2 = 1 (   F T T M 2 k + 1 3 ) | + | G d m n 2 = 2 (   F T T M 2 k + 1 3 ) | + | G d m n 2 = 3 (   F T T M 2 k + 1 3 ) | ) = 4 | G d (   F T T M 2 k + 1 3 ) | = 4   .   12   .   4 k 1 = 12   .   4 k .
Similarly, the same induction process can be used as proof for even parts. □
The set G d (   F T T M n 3 ) has only two possible subsets, namely G 0 (   F T T M n 3 ) and H n = { x G d (   F T T M n 3 ) | deg p x = 2 } . To find G 0 (   F T T M n 3 ) , the relation between G 0 (   F T T M n 3 ) , G d (   F T T M n 3 ) and H n must be investigated.
Lemma 6.
If H n = { x G d (   F T T M n 3 ) | deg p x = 2 } , then | H n | = | G d (   F T T M n 3 ) | | G 0 (   F T T M n 3 ) | .
Proof of Lemma 6.
Let x G d (   F T T M n 3 ) , then deg p ( x ) = 0 or deg p ( x ) = 2 by Theorem 5. Thus, x G 0 (   F T T M n 3 ) or x H n , i.e., | G d (   F T T M n 3 ) | = | G 0 (   F T T M n 3 ) | + | H n | or | H n | = | G d (   F T T M n 3 ) | | G 0 (   F T T M n 3 ) | . □
Finally, | G 0 m n 2 = i (   F T T M n 3 ) | is determined using Lemma 6 and Theorem 5.
Theorem 8.
| G 0 m n 2 = i (   F T T M n 3 ) | = 3 | G 0 m n 2 = i (   F T T M n 2 3 ) | + 2 | H n 2 | ,   n > 4  
Proof of Theorem 8.
By Theorem 5, | G 0 m n 2 = i (   F T T M n 3 ) | can be determined by the combination of ( x , y ) where x y G 0 m n 2 = i (   F T T M n 3 ) , x G m n 2 = i (   F T T M n 2 3 ) , y C n 2 n ( G m n 2 = i (   F T T M n 2 3 ) ) . By Theorem 4, all x edges must be diagonal; hence, x G d m n 2 = i (   F T T M n 2 3 ) . There are two possibilities for the value of x , namely x G 0 m n 2 = i (   F T T M n 2 3 ) or x | H n 2 | , where H n 2 = { x G d (   F T T M n 2 3 ) |   deg p   x = 2 } from Theorem 3. Case i = 1 : if x G 0 m n 2 = 1 (   F T T M n 2 3 ) , then A 1 m 1 x   ,   m 1 1 which implies m 1 = 2 or m 1 = 3 by Corollary 1.
Let X 2 = { x G 0 m n 2 = 1 (   F T T M n 2 3 ) | m 1 = 2   } , X 3 = { x G 0 m n 2 = 1 (   F T T M n 2 3 ) | m 1 = 3   } , then for any x X 2 , then y B 121 , B 123 , B 131   and also for any x X 3 , then y B 121 , B 132 , B 131   by Corollary 1. Thus, for G 0 m n 2 = 1 (   F T T M n 2 3 ) , there are 3 | G 0 m n 2 = 1 (   F T T M n 2 3 ) | combinations of tuple ( x , y ) .
If x H n 2 , then A 1 m 1 x   ,   m 1 = 1 when x H n 2 and y B 123 , B 132 by Corollary 1. Thus, there are 3 | H n 2 | combinations of tuple ( x , y ) Hence, | G 0 m n 2 = 1 (   F T T M n 3 ) | = 3 | G 0 m n 2 = 1 (   F T T M n 2 3 ) | + 2 | H n 2 | ,   n > 4 . Using the same procedure as for i = 1 , the same result can be obtained for i = 2 , 3 . □
Theorem 9.
| G 0 (   F T T M n 3 ) | = { | G 0 (   F T T M n 2 3 ) | + 3.   2 n 2 ,     n   i s   o d d ,   n > 3 | G 0 (   F T T M n 2 3 ) | + 3.   2 n ,                 n   i s   e v e n ,   n > 4  
where | G 0 (   F T T M 3 3 ) | = 6 , | G 0 (   F T T M 4 3 ) | = 12 .
Proof of Theorem 9.
Using Theorem 6, | G 0 (   F T T M n 3 ) | = | G 0 m n 2 = 1 (   F T T M n 3 ) | + | G 0 m n 2 = 2 (   F T T M n 3 ) | + | G 0 m n 2 = 3 (   F T T M n 3 ) | . From Theorem 8 and Lemma 6,
| G 0 (   F T T M n 3 ) |   = | G 0 m n 2 = 1 (   F T T M n 2 3 ) | + 2 | G d m n 2 = 1 (   F T T M n 2 3 ) | + | G 0 m n 2 = 2 (   F T T M n 2 3 ) | + 2 | G d m n 2 = 2 (   F T T M n 2 3 ) | + | G 0 m n 2 = 3 (   F T T M n 2 3 ) | + 2 | G d m n 2 = 3 (   F T T M n 2 3 ) |
= ( | G 0 m n 2 = 1 (   F T T M n 2 3 ) | + | G 0 m n 2 = 2 (   F T T M n 2 3 ) | + | G 0 m n 2 = 3 (   F T T M n 2 3 ) | ) + 2 ( | G d m n 2 = 3 (   F T T M n 2 3 ) | + | G d m n 2 = 1 (   F T T M n 2 3 ) | + | G d m n 2 = 2 (   F T T M n 2 3 ) | ) = | G 0 (   F T T M n 2 3 ) | + 2   | G d (   F T T M n 3 ) | .
Hence by Theorem 7,
| G 0 (   F T T M n 3 ) | = { | G 0 (   F T T M n 2 3 ) | + 3   .   2 n 2 ,     n   i s   o d d ,   n > 3 | G 0 (   F T T M n 2 3 ) | + 3   .   2 n ,     n   i s   e v e n   ,   n > 4  
such that | G 0 (   F T T M 3 3 ) | = 6 ,   | G 0 (   F T T M 4 3 ) | = 12 . □
Theorem 9 is another version of the earlier conjecture. A simple algebraic manipulation is needed to show their equivalence. We formally state and prove this as the final theorem.
Theorem 10.
| G 0 3 ( F T T M n 3 ) | = { 4 | G 0 3 ( F T T M n 2 3 ) | + 12   ,     w h e r e   n   i s   e v e n   4 | G 3   0 ( F T T M n 2 3 ) | + 6 ,     w h e r e   n   i s   o d d = { | G 0 (   F T T M n 2 3 ) | + 3   .   2 n 2 ,     n   i s   o d d ,   n > 3 | G 0 (   F T T M n 2 3 ) | + 3   .   2 n ,             n   i s   e v e n   ,   n > 4  
where, | G 0 (   FTTM 3 3 ) | = 6 , | G 0 (   F T T M 4 3 ) | = 12 .
Proof of Theorem 10.
By Theorem 9,
| G 0 ( F T T M n 3 ) | = { 4 | G 0 ( F T T M n 2 3 ) | + 12   ,     w h e r e   n   i s   e v e n   4 | G 0 ( F T T M n 2 3 ) | + 6 ,     w h e r e   n   i s   o d d  
and | G 0 ( FTTM 3 3 ) | = 6 , | G 0 ( FTTM 4 3 ) | = 12 .
However, when n is odd,
| G 0 ( F T T M 5 3 ) | = 4   .   6 + 6 = 4 1   .   6 + 4 0   .   6 | G 0 ( F T T M 7 3 ) | = 4 ( 4   .   6 + 6 ) + 6 = 4 2   .   6 + 4 1   .   6 + 4 0   .   6 | G 0 ( F T T M 9 3 ) | = 4 ( 4 ( 4   .   6 + 6 ) + 6 ) + 6 = 4 3   .   6 + 4 2   .   6 + 4 1   .   6 + 4 0   .   6 | G 0 ( F T T M 11 3 ) | = 4 ( 4 ( 4 ( 4   .   6 + 6 ) + 6 ) + 6 ) + 6 = 4 4   .   6 + 4 3   .   6 + 4 2   .   6 + 4 1   .   6 + 4 0   .   6  
Thus, | G 0 ( F T T M n 3 ) | = k = 0 n 3 2 4 k   .   6 .
Notice that
| G 0 ( F T T M n 3 ) | = k = 0 n 3 2 4 k   .   6 = 4 n 3 2   .   6 + k = 0 n 5 2 4 k   .   6 = 2 n 3   .   6 + | G 0 ( F T T M n 2 3 ) | = 2 n 2   .   3 + | G 0 ( F T T M n 2 3 ) |  
When n is even,
| G 0 ( F T T M 6 3 ) | = 4   .   12 + 12 = 4 1   .   12 + 4 0   .   12 | G 0 ( F T T M 8 3 ) | = 4 ( 4   .   12 + 12 ) + 12 = 4 2   .   12 + 4 1   .   12 + 4 0   .   12 | G 0 ( F T T M 10 3 ) | = 4 ( 4 ( 4   .   12 + 12 ) + 12 ) + 12 = 4 3   .   12 + 4 2   .   12 + 4 1   .   12 + 4 0   .   12 | G 0 ( F T T M 12 3 ) | = 4 ( 4 ( 4 ( 4   .   12 + 12 ) + 12 ) + 12 ) + 12 = 4 4   .   12 + 4 3   .   12 + 4 2   .   12 + 4 1   .   12 + 4 0   .   12  
Thus, | G 0 ( F T T M n 3 ) | = k = 0 n 4 2 4 k   .   12 .
Notice that,
| G 0 ( F T T M n 3 ) | =   k = 0 n 4 2 4 k   .   12 = 4 n 4 2   .   12 + k = 0 n 6 2 4 k   .   12 = 2 n 2   .   3 + k = 0 n 6 2 4 k   .   12 = 2 n 2   .   3 + | G 0 ( F T T M n 2 3 ) |
It shows that the equation in Theorem 9 is exactly the statement of the conjecture. In other words, the conjecture is proven by construction. □
The whole process of proving Conjecture 1 is summarized below in Figure 9.

6. Conclusions

The developed grid-based method of proof is new; some definitions and properties were introduced, whereas others were investigated along the way. The originality and advantages of this method can be summarized in the point forms below.
  • It provides a different perspective to the structure of FTTM . Instead of a polygon representation for each version of F T T M , a straight line is now used. The components of F T T M n are arranged on a horizontal line of vertices and the lines represent the homeomorphisms between the components of F T T M n .
  • A vertical line is added to represent a homeomorphism between two components of different versions; hence, a grid is created.
  • It is represented in two dimensions; therefore, it reduces the complexity of the structure.
  • The process of adding a new component is easier than in a sequence of polygon.
  • It can take any number of components by adding the number of vertices at the end of the grid.
  • The homeomorphism between two components of the same version is presented as a horizontal edge, whereas the homeomorphism between two components of two different versions is represented by a diagonal edge (see Figure 8).
  • This grid-based technique offers an edge in proving the conjecture; in particular, it enables one to visualize a given problem in a 2-dimensional space.
  • Finally, the conjecture that spells the number of the generated FTTM graph of pseudo degree zero with respect to n number of components and k number of versions is proven analytically for the first time using this method.
However, the lengthy computing time for simulation needs to be resolved for larger k and n, accordingly. This may be overcome by employing parallel computing, and the grid-based technique can be very handy for such enumerative combinatorics problems in the near future.

Author Contributions

Conceptualization, M.Z.M. and T.A.; methodology, M.Z.M.; software, N.A.; formal analysis, M.Z.M. and N.A.; writing—original draft preparation, M.Z.M. and T.A.; writing—review and editing, N.A.S. and F.M.; Conceptualization, M.Z.M. and T.A.; methodology, M.Z.M.; software, N.A.; formal analysis, M.Z.M. and N.A.; writing—original draft preparation, M.Z.M. and T.A.; writing—review and editing, N.A.S. and F.M.; supervision, T.A. and N.A.; funding acquisition, T.A. and N.A. All authors have read and agreed to the published version of the manuscript.

Funding

This research is supported by the Fundamental Research Grant Scheme (FRGS) FRGS/1/2020/STG06/UTM/01/1 awarded by the Ministry of Higher Education, Malaysia.

Institutional Review Board Statement

Not applicable.

Informed Consent Statement

Not applicable.

Data Availability Statement

No data were used to support this study.

Acknowledgments

Authors acknowledge the support of Universiti Teknologi Malaysia (UTM) and Ministry of Higher Education Malaysia (MOHE) in this work.

Conflicts of Interest

The authors declare no conflict of interest.

Abbreviations

The following abbreviations are used in this manuscript.
BMBase magnetic plane
EEGElectroencephalography
FMFuzzy magnetic field
FTTMFuzzy topological topographic mapping
F T T M n Sequence of FTTM
MCMagnetic plane
MEGMagnetoencephalography
TMTopographic magnetic field
  F T T M n k Sequence   of   k   versions   of   F T T M n
G 0 (   F T T M n k   ) Set   of   elements   generated   by     F T T M n k that have pseudo degree zero
G 0 ( F T T M n k ) Set   of   elements   generated   by     F T T M n k . that have pseudo degree zero

References

  1. Shukor, N.A.; Ahmad, T.; Idris, A.; Awang, S.R.; Fuad, A.A.A. Graph of Fuzzy Topographic Topological Mapping in Relation to k-Fibonacci Sequence. J. Math. 2021, 2021, 7519643. [Google Scholar] [CrossRef]
  2. Mukaram, M.Z.; Ahmad, T.; Alias, N. Graph of Pseudo Degree Zero Generated by F T T M n k . In Proceedings of the International Conference on Mathematical Sciences and Technology 2018 (Mathtech2018): Innovative Technologies for Mathematics & Mathematics for Technological Innovation, Penang, Malaysia, 10–12 December 2018; AIP Publishing LLC: Penang, Malaysia, 2019; p. 020007. [Google Scholar] [CrossRef]
  3. Debnath, P. Domination in interval-valued fuzzy graphs. Ann. Fuzzy Math. Inform. 2013, 6, 363–370. [Google Scholar]
  4. Konwar, N.; Davvaz, B.; Debnath, P. Results on generalized intuitionistic fuzzy hypergroupoids. J. Intell. Fuzzy Syst. 2019, 36, 2571–2580. [Google Scholar]
  5. Elsafi, M.S.A.E. Combinatorial Analysis of N-tuple Polygonal Sequence of Fuzzy Topographic Topological Mapping. Ph.D. Thesis, University Teknologi Malaysia, Skudai, Malaysia, 2014. [Google Scholar]
Figure 1. The FTTM.
Figure 1. The FTTM.
Symmetry 13 02203 g001
Figure 2. The sequence of F T T M n .
Figure 2. The sequence of F T T M n .
Symmetry 13 02203 g002
Figure 3. Graph of   F T T M n k .
Figure 3. Graph of   F T T M n k .
Symmetry 13 02203 g003
Figure 4. Pseudo graph: (a) { A 1 1 , A 2 1 , A 3 2 } ; (b) { A 1 1 , A 2 2 , A 3 2 } of   F T T M 3 2 .
Figure 4. Pseudo graph: (a) { A 1 1 , A 2 1 , A 3 2 } ; (b) { A 1 1 , A 2 2 , A 3 2 } of   F T T M 3 2 .
Symmetry 13 02203 g004
Figure 5. F T T M 4 3 .
Figure 5. F T T M 4 3 .
Symmetry 13 02203 g005
Figure 6. Flowchart for determining | G 0 (   F T T M 3 n ) | .
Figure 6. Flowchart for determining | G 0 (   F T T M 3 n ) | .
Symmetry 13 02203 g006
Figure 7. A graph representation of   F T T M n k as a grid.
Figure 7. A graph representation of   F T T M n k as a grid.
Symmetry 13 02203 g007
Figure 8. Generated element { A 1 1 ,   A 2 1 ,   A 3 2 } on   F T T M 3 2   grid.
Figure 8. Generated element { A 1 1 ,   A 2 1 ,   A 3 2 } on   F T T M 3 2   grid.
Symmetry 13 02203 g008
Figure 9. Outline of proving Conjecture 1 by construction.
Figure 9. Outline of proving Conjecture 1 by construction.
Symmetry 13 02203 g009
Table 1. |   G 0 ( F T T M n k   ) | for 4   n     15 and k = 3 , 4 .
Table 1. |   G 0 ( F T T M n k   ) | for 4   n     15 and k = 3 , 4 .
n |   G 0 ( F T T M n 3   ) | |   G 0 ( F T T M n 4   ) |
41224
530120
660480
71261680
82525544
951017,640
10102054,960
112046168,960
124092515,064
1381901,561,560
1416,3804,717,440
1532,76614,217,840
Table 2. |   G 0 ( F T T M n k   ) | for 2 k 8   and 2     n     10 .
Table 2. |   G 0 ( F T T M n k   ) | for 2 k 8   and 2     n     10 .
k/n2345678910
2202020202
3061230601262525101020
400241204801680554417,64054,960
50001201080672035,280168,840763,560
6000072010,08090,720665,2804,339,440
7000005040100,8001,239,84012,096,000
800000040,3201,088,64017,539,200
Publisher’s Note: MDPI stays neutral with regard to jurisdictional claims in published maps and institutional affiliations.

Share and Cite

MDPI and ACS Style

Mukaram, M.Z.; Ahmad, T.; Alias, N.; Shukor, N.A.; Mustapha, F. Extended Graph of the Fuzzy Topographic Topological Mapping Model. Symmetry 2021, 13, 2203. https://doi.org/10.3390/sym13112203

AMA Style

Mukaram MZ, Ahmad T, Alias N, Shukor NA, Mustapha F. Extended Graph of the Fuzzy Topographic Topological Mapping Model. Symmetry. 2021; 13(11):2203. https://doi.org/10.3390/sym13112203

Chicago/Turabian Style

Mukaram, Muhammad Zillullah, Tahir Ahmad, Norma Alias, Noorsufia Abd Shukor, and Faridah Mustapha. 2021. "Extended Graph of the Fuzzy Topographic Topological Mapping Model" Symmetry 13, no. 11: 2203. https://doi.org/10.3390/sym13112203

APA Style

Mukaram, M. Z., Ahmad, T., Alias, N., Shukor, N. A., & Mustapha, F. (2021). Extended Graph of the Fuzzy Topographic Topological Mapping Model. Symmetry, 13(11), 2203. https://doi.org/10.3390/sym13112203

Note that from the first issue of 2016, this journal uses article numbers instead of page numbers. See further details here.

Article Metrics

Back to TopTop