Abstract
Devolution is a promising tool to enhance forest management. The literature has discussed many factors that affect the outcomes of forest devolution policies; however, insufficient attention has been paid to the role of exogenous socio-economic changes. Using the longitudinal case study method, we focus on how socio-economic changes affect the effectiveness of forest devolution policies using a case from Southeast China. We find that in this case, although forest devolution succeeded in granting farmers sufficient forest rights, it failed to incentivize farmers to contribute to managing forests because of the dramatic changes in socio-economic contexts. Economic development and outmigration reduced farmers’ dependence on forest income, elevated the costs of silvicultural operations, and posed market risks, thereby reducing farmers’ enthusiasm about managing forests; outmigration also weakened community leadership and impeded the collective action of making forest investments. Eventually, socio-economic changes compromised the positive stimulus caused by forest devolution and contributed to the collective action dilemma of managing forests after the reform. We argue that operationalizing forest devolution in developing countries needs to consider the exogenous socio-economic changes that may enhance or counteract the effects of devolution policies, and that more autonomy should be granted to communities to make policies adaptative to their local socio-economic dynamics.
1. Introduction
Forest tenure determines the types of resources that can be used, the actors that are eligible for using the resources under certain conditions, the duration of resource use, and the specific ways of using the resources [1]. Many developing countries have launched forest tenure reforms that aimed to devolve forest rights to local users [2]. These endeavors, which are often called forest devolution, exemplify the application of rights-based approaches in the forest sector [3]. Forest devolution is considered a promising policy tool because of its potential to incentivize users to manage forests sustainably and to facilitate policies compatible with local conditions [2,4,5]. Although forest devolution has many theoretical advantages, its impacts on the ground are mixed [1,6,7]. The literature has shown that the outcomes of forest devolution policies depend on many factors such as whether the devolved rights are sufficient [1,6,8,9], whether the policy design has considered the complex power relations and interactions among local actors [10,11,12,13], and whether trade-offs exist between the multiple policy goals of forest devolution initiatives [6,10].
Although forest devolution has drawn great attention from scholars, limited literature has delved into how exogenous socio-economic changes influence the effectiveness of forest devolution policies. This question is of vital importance. The effects of forest devolution take a long time to manifest [6], and during this period, many exogenous socio-economic changes may occur. These socio-economic changes, which are particularly remarkable in developing countries, may exert contrasting effects on the behaviors of resource users and the outcomes of resource management [14,15,16]. On one hand, socio-economic changes pose challenges to natural resource management. For example, economic development may reduce farmers’ dependence on resources and diminish farmers’ conservation incentives [17,18]; economic development may also increase farmers’ endogenous rate of discount and prompt them to adopt short-sighted resource use strategies [16]. Outmigration may decrease the labor supply and make farmers use more pesticides and fertilizers to maintain agricultural outputs [19]; outmigration may also elevate the costs of returning homes and impede the collective actions of managing resources [15,20]. On the other hand, socio-economic changes may contribute to resource restoration and ecological sustainability by relieving farmers’ livelihood pressures and strengthening their conservation awareness [14,21,22].
Since socio-economic changes substantially mold the behavior of natural resource users, they are likely to play important roles in the relationship between forest devolution and its economic, social, and ecological outcomes. As a rights-based approach, forest devolution takes effect by empowering local users and changing their incentives in managing forests [1,23]. The incentive structure of individuals, however, varies depending on not only policy stimulus, but also socio-economic contexts. Socio-economic changes may either reinforce or counteract the stimulus caused by devolution policies, and eventually affect forest devolution outcomes [3]. Therefore, it is necessary to unravel the linkages between socio-economic changes, farmers’ behavioral responses, and forest devolution outcomes.
This study endeavors to explore the connections between social-economic changes and forest devolution outcomes. Our research question is: how do socio-economic changes mold the incentives and behaviors of forest users and influence the effectiveness of forest devolution policies? We examine this question drawing on the evidence from a timber production community in Fujian province, Southeast China. To incentivize households to invest in rural forestry, Fujian launched a new wave of forest tenure reform in 2003. In this reform, forest property rights, especially forestland usufructuary right, tree (timber) usufructuary right, and tree (timber) ownership were devolved from centralized collective organizations to household-based entities [3]. At the same time, China’s countryside underwent a rapid socio-economic transformation, including large-scale outmigration, remarkable income increase, and increasing market access [20]. Therefore, rural forestry in Fujian provides us with an excellent opportunity to explore how the socio-economic transformation affects the effectiveness of forest devolution policies. Using the retrospective longitudinal case study method, we investigated how socio-economic changes counteracted the effectiveness of forest devolution policies and contributed to the collective action dilemma after the forest tenure reform. We collected data from interviews, archival records, and household surveys and used Ostrom’s diagnostic framework to understand the relationships between socio-economic changes, individual incentives, and the forest management outcomes after devolution reforms.
This paper is organized as follows. Section 2 presents the research methods and analytical strategies. The next section first elaborates on the socio-economic contexts, the implementations of the tenure reform, and the outcomes of the reform in the case village; it then analyzes the relationships between socio-economic changes, forest devolution, and the collective action dilemma of managing forests. A discussion is presented in Section 4, and conclusions and recommendations are presented in Section 5.
2. Methods and Data
2.1. Retrospective Longitudinal Case Study Method
This study employs the retrospective longitudinal case study method. This method has advantages in many aspects such as exploring the complex relationships between variables, integrating contextual factors into the analysis [24,25], tracing events over time, and exploring the connections between different events [26]. This method is particularly helpful to researchers when existing theories are insufficient to propose verifiable hypotheses [26], which is the condition we face. Using the retrospective longitudinal study method, we were able to outline the local implementation of forest devolution policies, present the dynamics of socio-economic changes, and investigate how the effectiveness of forest devolution is compromised by various socio-economic changes.
2.2. Study Site
The purposive sampling method was used to select a representative and revelatory case [26]. According to the suggestions of local forest bureau officials and our pilot surveys, X Village in Sha County, Sanming Prefecture, Fujian Province was selected as the study site. Fujian has transformed its rural forestry system from a centralized to a decentralized one in past decades [27]. Before the 1980s, rural forestry in Fujian was dominated by various state-controlled collective organizations, and farmers’ access to forests was very limited [28]. In the 1980s and 1990s, a series of reforms were implemented to devolve forest rights from collective organizations to households. Although these reforms underwent reversals, they empowered households in rural forestry and had largely positive effects [29]. In the early 21st century, the percentage of forests controlled by collective organizations had substantially decreased. In 2003, to further invigorate rural forestry, Fujian launched a new wave of forest tenure reform. This reform aimed to clarify forest property rights and devolve the forests that were still controlled by collective organizations to household-based entities [30].
Several factors make X Village an ideal study site for us. First, Fujian is one of the most significant forestry provinces in China, and Sanming is the pioneer of the post-2003 forest tenure reforms in Fujian, and even China. Numerous studies have used Sanming as a typical case to understand China’s forest tenure reforms [31,32,33,34]. Second, since around 2000, Sha County has experienced dramatic socio-economic transformation due to the rapid development of its nationally renowned snack businesses. Among hundreds of villages in Sha County, X Village was selected because it was highly representative in terms of both the implementations and the outcomes of the new wave of forest tenure reform. The socio-economic conditions of X Village are shown in Section 3, and the location of X Village is shown in Figure 1.
Figure 1.
Location of the study village.
2.3. Data Collection
Data was collected from different sources. The research team conducted three field surveys in X Village. The first survey was conducted in July 2016, and the second in February 2017. In the two surveys, semistructured interviews were conducted to obtain information about the history of managing forests, implementation of the 2003 forest tenure reform, and forest management institutions after the reform. To reduce data bias and obtain maximum information, we interviewed various forest management stakeholders. Interviewees included forest bureaus officers at the county level (N = 4) and the township level (N = 3), village leaders (N = 6), leaders of forest user groups (FUGs) (N = 16), forest rangers (N = 2), and ordinary farmers (N = 6).
Moreover, in the second survey, the research team consulted archival records including policy documents, summary reports, and meeting minutes regarding the forest management of X Village from 1957 to 2016. These historical archives not only provide historical information that cannot be recalled by interviewees, but also help us to assess the conflicting narratives from interviewees. The research team also consulted statistical documents including the Rural Economy Statistical Form and the Rural Economy Benefit-sharing Statistical Form of X Village between the 1980s and 2010s. These statistical documents provide quantitative data on various socio-economic indicators of X Village and help to test the reliability of information collected from semistructured interviews and historical archives.
The third survey was a structured questionnaire survey and was conducted in September 2017. This survey, which was complementary to interviews and archival records, aimed to understand the attitudes of FUG members towards forest management. We randomly selected respondents from the villager name list, and enumerators visited the homes of respondents to collect data. Enumerators explained questions to respondents and finished the questionnaire according to their responses. Finally, 53 households participated in our survey. Various data sources enable us to conduct data triangulation and enhance the validity of our research.
2.4. Analytical Strategy and Techniques
Ostrom’s diagnostic framework for analyzing the sustainability of social-ecological systems (the SES framework) [35] was used as the guideline for data analysis. In the SES framework, factors affecting collective actions and outcomes of managing the commons are classified into six categories: social, economic and political settings, resource systems, governance systems, resource units, and users and related ecosystems. These six variables are first-tier variables, and the other two first-tier variables are interactions and outcomes. Interactions serve as a mediating variable, indicating that the aforementioned six first-tier variables affect outcomes by affecting individual behaviors and the collective actions of resource users. The SES framework provides abundant multitiered variables and facilitates diagnoses of collective action dilemmas in a given social-ecological system [36,37,38]. Although this framework is more descriptive than explanatory, it is useful in many aspects, such as guiding data collection and analysis, describing the case and presenting results, and comparing our research findings to those from other social-ecological systems.
Data analysis comprised two steps. First, we adopted the case study analytic strategy recommended by Yin, i.e., developing a case description [26]. Data from various sources were sorted and classified into the first- and second-tier variables in Ostrom’s diagnostic framework. It should be noted that Ostrom’s diagnostic framework includes a large number of variables; however, as the literature recommends [39], we only focused on the variables that play decisive roles in forest devolution outcomes. The variables identified as the most relevant to this study are shown in Table 1. Since some variables from the original SES framework are not included, the numbering of variables is not consecutive in Table 1. Second, time-series analyses and logic models were combined to understand how socio-economic changes affected the outcomes of forest devolution policies [26]. Specifically, forest management events were divided into several stages and arrayed into a chronology, and a logic model was made to present the mechanisms via which socio-economic changes and devolution policies interacted and led to the collective action dilemma of managing forests.
Table 1.
Analytical Framework (adapted from Ostrom [35]).
3. Results
This part describes the socio-economic contexts and forest management institutions before and after the forest devolution reform in X Village. The case is organized in an order that ensures the integrity and fluency of the narrative instead of the original order of variables in Table 1. After each subtitle, we list the corresponding variables in Table 1 to link the case description with the analytical framework. Finally, this part summarizes the case and presents the logic model to understand the mechanisms via which rapid socio-economic changes counteracted the effectiveness of forest devolution policies.
3.1. Forest Management before the Devolution Reform
3.1.1. Resource System and Forest Management History (RS1, RS3, RU5, RU2, U1, U3)
X Village has six natural villages1, 10 villagers’ groups, 426 households, and 1640 residents. X Village has 1768 ha of forests. Among these forests, 475 ha are ecological forests whose economic uses are strictly constrained; 1293 ha are commercial forests including bamboos, fruit trees, and timber forests, all of which are for economic uses. For a long time, forests played important roles in farmers’ livelihoods. Because of frequent governmental interventions, forest management institutions of X Village have changed frequently since the People’s Republic of China was founded. In 1956, farmers were required to pool their private forests to state-controlled collective organizations, especially the production brigade. During the collectivization period from 1956 to the late 1970s, the production brigade dominated forest management, and farmers had limited access to forests. Forest management suffered from insufficient investments, rampant timber theft, and poor daily management.
Since the 1980s, as required by the government, X Village has launched a series of reforms to devolve forests2 from the villagers’ committee, the successor of the production brigade, to household-based management entities. These devolution reforms had largely positive effects on stimulating farmers’ enthusiasm about managing forests and enhancing forest production efficiency. In the early 2000s, almost all bamboo forests and fruit forests, as well as a large number of timber forests, had been devolved to small households and large-scale specialized managers. In 2004, the villagers’ committee only controlled 383 ha of commercial forests, including Chinese fir (Cunninghamia lanceolata), Masson pine (Pinus massoniana), and mixed forests. These forests, which are the focus of this study, were managed for timber production purposes. According to the timber harvest policies made by the government, the rotations of Chinese fir, Masson pine, and mixed forests were 20–30, 30–40, 50–100 years, respectively.
3.1.2. Forests Management by the Villagers’ Committee before the Reform (U9, GS5)
The replacement rate of forests is determined by timber harvest policies, while the growth rate of trees is affected by soil quality and management techniques, and forest management techniques considerably affect timber outputs. For example, the Chinese fir has two fundamental reforestation methods: seedling reforestation and sprout reforestation. The former entails higher technological requirements and contributes to higher outputs, and the latter is the reverse. Since the late 1980s, an increasing number of forest management operations were contracted out to external professional teams. Occasionally, the villagers’ committee transferred forestlands out of the village to large-scale specialized managers in order to save management costs.
Forest management by the villagers’ committee suffered many problems. First, forest management decisions were dominated by village leaders; ordinary farmers had little influence. Timber revenue was often used to cover the operational costs of the villagers’ committee, and was rarely allocated among villagers. When lacking funds, the villagers’ committee tended to adopt short-sighted forest management strategies such as reducing forest management investments or transferring young and middle-aged forests out of the village at a low price. Farmers derived very limited revenue from forest management, and they called forests “cadre forests” and “government forests”. Some farmers covertly cut down timber at night and sold it to nearby mills. The rampant timber theft was rarely reported and monitored because ordinary villagers had no access to timber revenues and had no incentives to contribute to managing forests.
3.2. The 2003 Forest Devolution Reform and Its Effects on the Governance System (S4, U1, GS4, GS6)
To further invigorate rural forestry and to incentivize farmers to make forest investments, the government launched a new wave of forest tenure reform in 2003. This reform also accompanied other significant market-oriented policy changes, such as reducing taxes and fees and establishing the forestland transfer market. Timber taxes and fees, which accounted for over 50% of all timber revenue before the reform, were reduced to approximately 20%. To realize the scale economy of timber production, the forestland transfer market was promoted to centralize scattered forestland plots to specialized managers. In X Village, the reform was implemented in 2004, and 286 ha of forests were devolved from the villagers’ committee to seven household-based FUGs. Each FUG comprised approximately 60 households (250 individuals), and all households jointly held forest rights. A brief illustration of this reform in X Village is shown in Figure 2.
Figure 2.
Devolving forests from the villagers’ committee to seven FUGs. Note: The left side and the right side of the figure illustrate forest management before and after the reform respectively. The parliament-like icon in the center of the left side represents the villagers’ committee, indicating that the villagers’ committee executed the powers of managing forests on behalf of all villagers before the reform. After the reform, forest management powers were devolved to seven FUGs, and the villagers’ committee did not play important roles in community forestry; therefore, the parliament-like icon is not included in the right side.
This reform reshaped the allocation of forest property rights. After the reform, the villagers’ committee retained forestland ownership, while forestland usufructuary right, timber ownership, and timber usufructuary right were devolved to FUGs. The villagers’ committee only collected very limited forestland usufructuary fees, but was unable to interfere in the forest management by FUGs. The reform also changed the collective-choice rules of managing forests. Before the reform, the forest management rules pertaining to reforestation, tending, patrolling, and harvest were made by village heads, and ordinary farmers were excluded from the decision-making. After the reform, these rules were collectively made by members in each FUG. When making collective decisions within the FUG, each household selected one representative to participate in discussions and voting, and those having migrated to cities could entrust others with voting. Formal decisions were made after all household representatives approved.
3.3. Economic Development, Demographic Trends, and their Effects (S1, S2, S5, RU4, U8)
In the 2000s, China’s rapid economic development and urbanization led to a huge demand for building materials and furniture. The high demand for timber, as well as the deregulation of timber circulation channels, made timber price soar. The price of Chinese fir timber with a diameter of 12 cm increased from less than 200 CNY/m3 (29 USD/m3) in 2000 to 1200 CNY/m3 (171 USD/m3) in 2010. In contrast to Chinese fir, Masson pine underwent a sluggish market due to the closure of paper mills and the outbreak of the pine worm disease, and the value of mixed forests was also limited due to the high cost of managing heterogeneous tree species in the stand. For these reasons, FUGs almost gave up producing timber from Masson pine and mixed forests.
Moreover, rapid economic development led to the large-scale outmigration of X Village. In the late 1990s, some farmers in Sha County discovered the business opportunities from the booming catering industry, and starting snack businesses in cities quickly became popular among farmers. In the early 2000s, an increasing number of farmers in X Village, especially the young people, migrated to cities. The outmigration of young generations led to the labor shortage in the rural forestry sector and elevated the wage rate. Since silvicultural operations in Sha County were labor-intensive, the increase in wage rate substantially elevated silvicultural costs, especially forest regeneration costs. Figure 3 shows that forest regeneration costs have considerably increased from 2004 to 2016, and this is true no matter whether inflation is considered or not. In particular, 2007 and 2012 are two turning points that witnessed an obvious increase in forest regeneration costs.
Figure 3.
Increase in forest regeneration (including reforestation and tending) costs per ha. Note: Data is derived from three sources: officials from the township forest station and the county-level forest bureau, managers of FUGs, and the Forest Logging and Silvicultural Farm of Sha County. Forest regeneration costs may vary according to the specific techniques and standards adopted, and the data in this figure is the average. The inflation rate data was derived from the Statistical Yearbook of Sha County.
Outmigration increased farmers’ income, resulted in livelihood diversification, and decreased farmers’ reliance on forests. The trends of outmigration, income increase, and farmers’ decreasing reliance on forests are shown in Figure 4. Note that the forest-related income in Figure 4 includes income from all forest-related sources, and the amount of timber-specific income was lower. An illustration can be made with simple calculations. In X Village, one FUG comprised approximately 250 members and managed less than 25 ha of Chinese fir, which means the per capita holding of Chinese fir was only 0.1 ha. In 2009, the price of Chinese fir was 1100 CNY/m3 (157 USD/m3), the total costs of forest regeneration and later management were over 13,500 CNY/ha (1929 USD/ha), the average timber output rate was 105 m3/ha, and the rotation of Chinese fir was 26 years. If inflation and opportunity costs are not considered, each farmer could only obtain (1100 × 105 − 13,500) × 0.1/26 = 392 CNY (56 USD) per year from forest management. In contrast, the annual per capita income in 2009 was 7994 CNY (1142 USD). Therefore, timber income only accounted for approximately 5% of farmers’ overall income.
Figure 4.
Outmigration, income increase, and income diversification. Note: Data is derived from the Rural Economy Statistical Form and the Rural Economy Benefit-sharing Statistical Form.
3.4. Interactions Regarding Forestland Transfer (I3)
After forests were devolved to FUGs, farmers within the FUG needed to collectively determine how to manage forest stands that varied in tree ages. From an economic perspective, mature forests must be harvested before timber volumes decreased, and farmers posed no objections to this. For young and middle-aged forests, however, farmers held various opinions. Farmers debated whether they should transfer these immature forests out of FUGs to external timber merchants or retain these forests until they became mature. Some farmers were against the transfer of immature forests because they had no urgent financial needs, and they believed timber price might increase in the future. Others, however, were eager to transfer immature forests for reasons such as they had pressing financial needs, timber price changes were unpredictable, the villagers’ committee might expropriate forests from FUGs, and FUG leaders might embezzle timber revenue.
In collective discussions, the opinions of transferring immature forests out of FUGs gradually prevailed. In this process, the old people played a significant role. Since timber forests had a long rotation, the old people could not afford to wait, and thus hoped to liquidate forest assets as soon as possible. Although the old people were not the majority in the total population, they had disproportionate leverage in making decisions because many young people migrated to cities and were uninvolved in collective decision-making. Although some members were still against transferring immature forests, they signed their names on the resolution document of forest transfer due to social pressure.
Within two years after the reform, almost all pure Chinese fir stands were transferred out of FUGs to timber merchants at a price ranging from 15,000 CNY/ha (2143 USD/ha) to 22,500 CNY/ha (3214 USD/ha). However, farmers had not expected that when these transferred forests were harvested a few years later, the timber price soared to over 75,000 CNY/ha (10,714 USD/ha). Farmers were regretful because most of the benefits from the timber price increase were accrued by external timber merchants. The premature forestland transfers also catalyzed the collective action dilemma of making investments in forest regeneration, which will be elucidated in the next section.
3.5. Interactions Regarding Forest Regeneration
3.5.1. Financial Predicament of FUGs (I7)
In Sha County, the tradition of forest transfer transactions is that after harvesting forests, the transferee would return the cut-over land to the original forest owner (transferor), and the transferor would then be responsible for forest regeneration. Based on this tradition, FUGs were responsible for reforesting the returned cut-over land, and they should reserve funds for forest regeneration when making forest transfer transactions. However, three FUGs reserved no funds. The leader of FUG 3 said: “The transferred forests were middle-aged forests, and they would not be harvested and reforested until 10 years later. Therefore, we did not think about reserving funds for reforestation.”
Four FUGs reserved a small part of revenue for reforestation; however, since farmers did not expect the huge increase in forest regeneration costs, the reserved funds were insufficient. For example, in 2006, FUG 4 transferred a forestland plot of 6.13 ha at the price of about 24,000 CNY/ha (3429 USD/ha) and reserved 20,000 CNY (2857 USD) for regeneration. However, when forests were harvested and the cut-over sites were returned to FUGs in 2008, total forest regeneration costs had surpassed 9000 CNY/ha (1286 USD/ha). Since the reserved funds could not cover the cost of standard forest regeneration operations, reforestation and later-period management were not properly conducted.
3.5.2. Collective Action Dilemma of Raising Funds (U5, I5)
To overcome the financial shortage, one approach was to raise funds from FUG members. Since forest regeneration costs were completely affordable to FUG members, this approach seemed feasible. However, in practice, no FUGs successfully organized the collective action of raising funds mostly because their members were reluctant to contribute. The low enthusiasm for contributing to forest regeneration resulted from many factors. First, as described in Section 3.1.2, the Chinese fir would unfold buds from stumps after timber harvest, and this sprout reforestation method incurred low costs. Although sprout reforestation led to lower subsequent timber output, many members still preferred this method because they did not rely on forests for livelihoods and had limited concerns regarding future timber outputs. In addition, compared to the revenue that farmers received through forest transfer, the costs of forest regeneration were too high, causing a strong feeling of loss for many farmers. One farmer complained: “We gave away our forests to outsiders and we even need to pay for reforestation? No way!” Furthermore, some farmers opposed raising funds for high-quality forest regeneration operations because they did not consider the timber production function important for forests. As shown in Figure 5, in the questionnaire survey, 44% of respondents did not agree that producing timber was the primary function of forests. This result helps to explain why many farmers were uninterested in making reforestation investments.
Figure 5.
The perceived most important function of forests. Note: Data is from the household structured questionnaire survey (n = 53).
The high interest heterogeneity in forest management led to farmers’ different opinions on the number of forest investments to be made. As shown in Figure 6, the respondents gave different answers to how much they were willing to contribute to forest regeneration activities, and these divergent responses indicate the difficulty for the FUG to reach a consensus on how much each member should contribute. Moreover, the cost of standard forest regeneration processes is around 1000 CNY, which is higher than the intended contributions of most farmers. Therefore, it is difficult for FUGs to raise money from their members to conduct high-quality forest regeneration activities.
Figure 6.
Number of intended contributions to forest regeneration of farmers. Note: Data is from the household structured questionnaire survey (n = 53). Mu is a commonly used measurement unit of area in rural China, and 1 mu = 667 m2 = 1/15 ha.
FUG leaders were also unenthusiastic about organizing the collective action of raising funds for high-quality regeneration operations. The passive attitudes of FUGs leaders arose for many reasons. First, timber revenue was equally distributed among all FUG members, and FUG leaders only received very limited additional subsidies. According to the interviews with FUG heads, the annual subsidy of FUG heads was 240 CNY (34 USD), 480 CNY (69 USD), and 1200 CNY (171 USD) in 2004, 2010, and 2015, respectively. In contrast, the Rural Economy Statistical Form shows that the annual per capita income in X Village was 4500 CNY (643 USD), 8500 CNY (1214 USD), and 15,000 CNY (2143 USD), respectively, in these three years. Therefore, the subsidies were insufficient to incentivize FUGs leaders to organize collective actions for their groups. Moreover, since most well-educated people had migrated to cities, it was difficult for FUGs to find competent leaders, and most FUG leaders lacked leadership and skills to coordinate the different interests of group members and properly arrange timber production operations. Furthermore, FUG heads were elected every three years, and, due to outmigration, the turnover rate of FUG leaders was high. In seven FUGs, six had changed their leaders since the reform. The high turnover rate made FUG leaders reluctant to make forest management plans conducive to long-term economic viability.
3.5.3. Establishing the Collective Share-Holding Forest Farm
As time went on, an increasing number of forests were harvested, and the cut-over sites were returned to FUGs. It became pressing for the village to find a solution to the question of forest regeneration. In 2009, the villagers’ committee proposed to retrieve the cut-over sites from FUGs and establish a collective share-holding forest farm to manage forests. In the villager representatives’ assembly, 85% of representatives voted for this proposal. According to the constitution of the forest farm, the forest farm would take over the cutover sites returned to FUGs and be responsible for administering forest regeneration activities; the office expenses of the forest farm and the forest regeneration costs were assumed by the villagers’ committee; the villagers’ committee could claim 30% of all timber revenue when planted trees became mature and harvested in the future, and the remaining 70% of timber revenue would be equally allocated among all villagers. At present, approximately 130 ha of forestlands originally managed by FUGs have been transferred to the forest farm, and the role of FUGs in community forest management has substantially declined.
3.6. Analysis
3.6.1. Outcomes of the Forest Devolution Reform: Efficiency and Equity (O1)
The forest devolution reform succeeded in granting farmers sufficient forest rights, and FUGs replaced the villagers’ committee to play key roles in community forestry. However, to a great extent, the reform failed to enhance forest management as expected by policymakers. Forest management after the reform suffered from limited investments and forest regeneration dilemmas, which posed threats to the long-term efficiency of timber production. In addition, due to the transfer of immature forests, FUG members derived no benefits from the timber price increase. The majority of timber revenue was acquired by external timber merchants, while farmers had to bear the increased forest regeneration costs. This revenue distribution outcome could hardly be considered equitable.
3.6.2. Counteracting Effects of Socio-Economic Changes on Forest Devolution
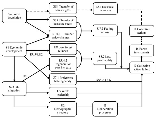
The collective action dilemma of managing forests after the reform was closely connected with the exogenous changes of socio-economic contexts, as shown in Figure 7.
Figure 7.
Relationships between forest devolution, socio-economic changes, and forest management outcomes after the reform. Note: The solid line shows the counteracting effects of forest devolution on forest investments, while the dashed line shows the expected positive effect of forest devolution. RU5, RU2, U9, GS5.2, and GS6 are moderating factors. RU5: small per capita forestland holdings. RU2: long rotation of Chinese fir. U9: high labor intensity of timber production operations. GS5.2: equal-per capita benefit-sharing rule. GS6: unanimous consent decision-making rule.
Socio-economic changes reduced the profitability of timber production and decreased farmers’ incentives in making forest investments. Economic development led to outmigration, income increases, and livelihood diversification, which reduced the reliance of FUG members on forest income (S1→U8) and increased the interest heterogeneity of FUG members over forest management (S1→U7.1). In contrast to the decrease in the reliance on forests, the costs of timber production operations considerably increased due to the labor shortage (S1→S2→RU4.2). The limited reliance on forest income and the increased timber production costs substantially reduced the profitability of timber production (U8, RU4.2→S5.2). Therefore, farmers lacked enthusiasm about the collective fundraising for forest regeneration (S5.2→I7).
Socio-economic changes also increased the variability of market conditions and made farmers lose profits in the forest transfer. As shown in the case, economic development and the devolution reform induced higher timber price (S1, S4→RU4.2) and higher costs of forest regeneration services (S1→S2→RU4.2). It was difficult for farmers to expect these changes, however. Farmers transferred immature forests out of FUGs at a low price and made insufficient financial preparations for forest regeneration activities in the future (S4→GS5.1). As a result, farmers obtained very limited earnings from forest transfer, but had to assume the high forest regeneration costs. Farmers had a strong feeling of loss (GS5.1, RU4.1→U7.2) and were reluctant to contribute to forest investments (U7.2→I7).
Socio-economic changes counteracted the effects of forest devolution policies not only by compromising the incentives of individual farmers, but also by elevating the cost of collective actions. Due to outmigration, the older generations, who had a higher discount rate and wished to liquidate forest assets earlier, dominated the collective decision-making of managing forests (S2→U2→I3). Outmigration also impaired community leadership, and FUG leaders lacked the willingness and capacity to promote collective actions conducive to forest management (S2→U5→I7).
It should be noted that exogenous socio-economic changes counteracted the effectiveness of forest devolution by interacting with a set of biophysical and institutional factors. For example, farmers’ low reliance on forest income pertained to the small per capita forestland holdings (RU5) of X Village and the long rotation of Chinese fir (RU2). In addition, outmigration increased the costs of forest regeneration because the silvicultural operations in Sha County were labor-intensive, and thus, sensitive to labor price changes (U9). Finally, the collective action dilemma of managing forests was associated with certain institutional arrangements. For example, the unanimous agreement decision-making rule increased the cost of forming collective actions (GS6), and the equal-per capita benefit-sharing rule (GS5.2) weakened the incentives of FUG leaders to contribute to FUG governance.
4. Discussion
This section revolves around three topics. First, we check the internal validity of the above findings by exploring the rival explanations of the forest management dilemma in our case. Next, we situate our findings into the broader literature on forest tenure reforms and draw certain generalizable insights. Finally, the external validity of our findings is examined.
This study, up to now, has explained the collective action dilemma after forest devolution by focusing on the role of socio-economic changes; however, more discussions are needed to explore whether rival explanations exist. Previous research has found multiple reasons for the failure of forest devolution policies. The most common one is devolution policies are rhetorical than substantial, and the rights devolved are insufficient [1,6,9,10]. Another important reason is that policymakers may fail to consider the interfaces of politics between the state, donors, village elites, and ordinary forest users [8,11,12,13]. Forest devolution is also likely to fail if it undermines the interests of the disadvantaged groups and attempts to achieve ecological sustainability by sacrificing economic viability [6,10].
The above reasons, however, cannot effectively explain the forest management dilemma in our case. In X Village, the forest rights devolved to FUGs were sufficient; farmers managed forests of their own free will, and neither the villagers’ committee nor the government interfered in the management of FUGs; forests were managed for economic purposes, and farmers had equal access to timber revenue; the majority of farmers had no livelihood pressures and could afford the expenses needed for high-quality timber production operations. In our case, the collective action failure should be attributed to factors such as farmers’ low interest in managing forests, variable market conditions, and the weak leadership of FUGs, all of which were closely related to socio-economic changes.
We can gain more insights by situating our study in the broader literature on forest devolution. First, this study enriches the literature by presenting a novel approach of restructuring forest tenure: devolving forests from the community to the subcommunity level. Existing studies have illustrated diversified forest tenure restructuring approaches including transferring forest management powers from upper- to lower-level governments, from central ministries from their local branches, from administrative bodies to local communities, and from the government to households [10,40,41,42]. In our study, however, forests were devolved from a large, centralized community organization to small, self-organizing groups, which can be considered a devolution within the community. Therefore, this study complements previous studies on the diversified local practices of forest tenure reforms.
Moreover, this study sheds light on the relationship between property rights, individual incentives, and forest management outcomes. Existing research has pointed out that transferring sufficient property rights to local users is crucial for incentivizing them to make forest investments and manage forests sustainably [2,41,43]. Our study, however, shows that transferring property rights to local users is not the panacea because the incentive structure of forest users is affected by multiple factors, and the policy stimulus may not be the major determinant of individual incentives. In particular, farmers’ dependence on forest-related income changes over time, and the incentive structure of forest users evolves in response to the changes in socio-economic contexts [44,45]. Therefore, the effects of devolution forest policies on individual behaviors vary across different stages of socio-economic development, and successful forest devolution policies must be adaptive to the changes in socio-economic contexts and individual incentive structures. These observations also support the argument that the compatibility with local dynamics is crucial for the success of forest tenure reforms [46,47,48].
Although socio-economic changes pose challenges to the effectiveness of forest devolution, solutions still exist to deal with these challenges. Preventative measures can be taken to avoid the risks associated with socio-economic changes. For example, it may be stipulated that only mature forests can be transferred out of FUGs, or that transferees should be responsible for reforestation, or that the percentage lease should be used to spread the market risks between FUGs and transferees. If these measures were taken, the FUGs in our case could have avoided the reforestation dilemma. Moreover, although the reforestation dilemma has occurred in our case, it is still possible for the FUGs to solve this problem by introducing further institutional changes. One possibility is cooperating with the villagers’ committee, which is the option selected by our case village. This approach, however, may suffer from the rent-seeking of village heads [34], and it applies only to the communities with high democratic governance levels.
Another alternative is devolving forests to individual households instead of FUGs. This approach, which has been implemented in Vietnam, Laos, and many regions of China, enables households to obtain exclusive forestland plots and manage forests independently [46,49,50]. With the individualized forest tenure, farmers can select their favorite way of managing forests and avoid the collective action problem. The disadvantage of this approach is it causes forest parcelization and undermines economies of scale, and small households may find it difficult to obtain external technical and financial support [51,52]. To solve these problems, farmers may need to transfer their forests to specialized managers or establish cooperative forest management organizations [53,54]. Since the socio-economic contexts vary across communities, it is necessary to provide communities with the autonomy of restructuring forest tenure systems in their own ways.
Discussing external validity is significant for case studies. The officials from Sha County Forest Bureau agreed that our findings in X Village could represent the common conditions in Sha County. Generalizing our findings to other areas in China’s collective forest zone, however, should be done with caution. Different from Large-N studies, case studies rely on analytical generalizations instead of statistical generalizations [26,55], and we may still attempt to make generalizations according to the analytical generalization method. Our findings are based on certain key conditions such as economic development and outmigration driven by external forces, labor and capital intensive timber production mode, and small per capita forestland holdings; therefore, our findings are very likely to be valid for communities with these conditions. Studies have shown that the limited dependence on forest income reduces farmers’ incentives to make forest investments [3], and that large-scale outmigration hinders the collective actions of managing resources in rural communities [20,56]. These findings indicate that the problem manifested by our case also exists in other regions of China and the world.
5. Conclusions and Recommendations
This study focuses on a timber production community that devolved forests from the villagers’ committee, a community-level centralized organization, to subcommunal, self-organized FUGs. Using this community as a key case, we explore how socio-economic changes affected the outcomes of forest devolution. In our study, although the devolution reform succeeded in devolving sufficient forest rights to farmers, it failed to provide sufficient incentives for farmers to make forest investments and manage forests efficiently. The reason for the unexpected outcomes is that the positive stimulus caused by devolution policies was compromised by a series of socio-economic changes. Economic development and outmigration led to livelihood diversification and farmers’ low dependence on forests, which reduced farmers’ interest in managing forests. Economic development and outmigration also increased farmer heterogeneity, induced variable market conditions, and undermined community leadership. Finally, farmers lacked incentives and capacities to organize the collective actions of managing forests, and the long-run economic viability of forest management is questionable.
In theory, forest devolution takes effect by empowering and incentivizing local users; however, this study reveals that the effectiveness of forest devolution depends on not only the adequacy of the property rights transfer, but also the socio-economic context. Socio-economic changes may reshape the incentive structure of forest users and counteract the effects of forest devolution policies. Dramatic socio-economic changes are common in developing countries, and require forest policymakers to consider the new changes in local conditions and to evaluate whether forest devolution is compatible with specific social-economic contexts [57]. Moreover, since communities know their local specifics best, more autonomy may be given to communities to design forest management rules that are adaptive to specific local socio-economic contexts.
This study contributes to the literature in multiple aspects. First, we present the challenges of socio-economic changes to the effectiveness of forest devolution policies and reflect on operationalizing forest devolution in a rapidly changing society. Moreover, by focusing on a novel approach of restructuring community forest tenure, this study presents a new policy toolkit for forest policymakers. This study also contributes to understanding the local institutional diversity of China’s forest tenure reform. This is because existing studies on China’s forest tenure reforms tend to focus on the approach of devolving forests to individual households [50,58,59], while this study focuses on devolving forests to FUGs, an approach that has rarely been discussed before.
Several issues are yet to be explored. First, large-N studies may be conducted to explore whether our conclusions can be generalized to other regions. Moreover, this study is based on timber forests managed for maximizing economic values, but forests may also be managed for recreational or environmental purposes. Since there are both synergies and trade-offs between different forest management goals [60], it is necessary to investigate whether the effects of socio-economic changes vary across contexts with different forest management goals. Finally, socio-economic changes in this study largely pertain to economic development and outmigration, but socio-economic changes may arise from other reasons and take other forms. More research is needed to understand how the outcomes of forest devolution are affected by other forms of socio-economic changes.
Author Contributions
Conceptualization and investigation, Z.Y. and H.L.; methodology, Z.Y. and S.K.; formal analysis, Z.Y.; writing—original draft preparation, Z.Y.; writing—review and editing, Z.Y., H.L., and S.K.; supervision, S.K.; funding acquisition, H.L. and S.K. All authors have read and agreed to the published version of the manuscript.
Funding
This research was funded by the National Natural Science Foundation of China [71973145, 71673288], and Natural Science and Engineering Research Council, Canada [RGPIN 203032-13].
Acknowledgments
We are grateful to Jiayun Dong and the students from Fujian A&F University. They provided us with generous help in data collection. We are also thankful to Jushi Yu for helping us draw the GIS map. The comments from two anonymous reviewers are highly appreciated.
Conflicts of Interest
The authors declare no conflict of interest.
References
- Larson, A.M.; Barry, D.; Dahal, G.R. New rights for forest-based communities? Understanding processes of forest tenure reform. Int. For. Rev. 2010, 12, 78–96. [Google Scholar] [CrossRef]
- Edmunds, D.S.; Wollenberg, E.K. Local Forest Management: The Impacts of Devolution Policies; Routledge: Abingdon upon Thames, UK, 2013. [Google Scholar]
- Krul, K.; Ho, P.; Yang, X. Incentivizing household forest management in China’s forest reform: Limitations to rights-based approaches in Southwest China. For. Policy Econ. 2020, 111, 102075. [Google Scholar] [CrossRef]
- Shackleton, S.; Campbell, B.; Wollenberg, E.; Edmunds, D. Devolution and community-based natural resource management: Creating space for local people to participate and benefit. Nat. Resour. Perspect. 2002, 76, 1–6. [Google Scholar]
- Yin, R.; Zulu, L.; Qi, J.; Freudenberger, M.; Sommerville, M. Empirical linkages between devolved tenure systems and forest conditions: Challenges, findings, and recommendations. For. Policy Econ. 2016, 73, 294–299. [Google Scholar] [CrossRef]
- Charnley, S.; Poe, M.R. Community Forestry in Theory and practice: Where are we now? Annu. Rev. Anthr. 2007, 36, 301–336. [Google Scholar] [CrossRef]
- Moeliono, M.; Wollenberg, E.; Limberg, G. The Decentralization of Forest Governance: Politics, Economics and the Fight for Control of Forests in Indonesian Borneo; Earthscan: London, UK; Sterling, VA, USA, 2009; ISBN 978-1-84407-586-7. [Google Scholar]
- Andersson, K. Understanding decentralized forest governance: An application of the institutional analysis and development framework. Sustain. Sci. Pract. Policy 2006, 2, 25–35. [Google Scholar] [CrossRef]
- Ribot, J.C.; Lund, J.F.; Treue, T. Democratic decentralization in sub-Saharan Africa: Its contribution to forest management, livelihoods, and enfranchisement. Environ. Conserv. 2010, 37, 35–44. [Google Scholar] [CrossRef]
- Blaikie, P. Is small really beautiful? Community-based natural resource management in malawi and botswana. World Dev. 2006, 34, 1942–1957. [Google Scholar] [CrossRef]
- Larson, A.M.; Pacheco, P.; Toni, F.; Vallejo, M. The Effects of Forestry Decentralization on Access to Livelihood Assets. J. Environ. Dev. 2007, 16, 251–268. [Google Scholar] [CrossRef]
- Oyono, P.R. The social and organisational roots of ecological uncertainties in Cameroon’s forest management decentralisation model. Eur. J. Dev. Res. 2004, 16, 174–191. [Google Scholar] [CrossRef]
- Wollenberg, E.; Moeliono, M.; Limberg, G.; Iwan, R.; Rhee, S.; Sudana, M. Between state and society: Local governance of forests in Malinau, Indonesia. For. Policy Econ. 2006, 8, 421–433. [Google Scholar] [CrossRef]
- Izquierdo, A.E.; Grau, H.R.; Aide, T.M. Implications of rural-urban migration for conservation of the Atlantic Forest and urban growth in Misiones, Argentina (1970–2030). AMBIO J. Hum. Environ. 2011, 40, 298–309. [Google Scholar] [CrossRef] [PubMed]
- Rudel, T.K. The commons and development: Unanswered sociological questions. Int. J. Commons 2011, 5, 303–318. [Google Scholar] [CrossRef]
- Ostrom, E. Governing the Commons: The Evolution of Institutions for Collective Action; Cambridge University Press: Cambridge, UK, 1990. [Google Scholar]
- Bilsborrow, R.E. Migration, population change, and the rural environment. Environ. Chang. Secur. Proj. Rep. 2002, 8, 69–84. [Google Scholar]
- Cox, M.; Arnold, G.; Tomás, S.V. A review of design principles for community-based natural resource management. Ecol. Soc. 2010, 15, 38. [Google Scholar] [CrossRef]
- Jepson, W. A disappearing biome? Reconsidering land-cover change in the Brazilian savanna. Geogr. J. 2005, 171, 99–111. [Google Scholar] [CrossRef]
- Wang, Y.; Chen, C.; Araral, E. The effects of migration on collective action in the commons: Evidence from rural China. World Dev. 2016, 88, 79–93. [Google Scholar] [CrossRef]
- Aide, T.M.; Grau, H.R. Globalization, migration, and Latin American ecosystems. Science 2004, 305, 1915–1916. [Google Scholar] [CrossRef] [PubMed]
- Mather, A.S.; Needle, C.L. The forest transition: A theoretical basis. Area 1998, 30, 117–124. [Google Scholar] [CrossRef]
- Johnson, C.; Forsyth, T. In the eyes of the state: Negotiating a “rights-based approach” to forest conservation in Thailand. World Dev. 2002, 30, 1591–1605. [Google Scholar] [CrossRef]
- Eisenhardt, K.M. Building theories from case study research. Acad. Manag. Rev. 1989, 14, 532–550. [Google Scholar] [CrossRef]
- Gerring, J. Case Study Research: Principles and Practices; Cambridge University Press: Cambridge, UK, 2006; ISBN 978-0-511-26876-2. [Google Scholar]
- Yin, R.K. Case Study Research: Design and Methods; Sage Publications: Thousand Oaks, CA, USA, 2013. [Google Scholar]
- Miao, G.; West, R.A. Chinese collective forestlands: Contributions and constraints. Int. For. Rev. 2004, 6, 282–298. [Google Scholar] [CrossRef]
- Qin, P.; Xu, J. Forest land rights, tenure types, and farmers’ investment incentives in China: An empirical study of Fujian Province. China Agric. Econ. Rev. 2013, 5, 154–170. [Google Scholar] [CrossRef]
- Xu, J.T.; Hyde, W.F. China’s second round of forest reforms: Observations for China and implications globally. For. Policy Econ. 2018. [Google Scholar] [CrossRef]
- Xu, J.T.; Sun, Y.; Jiang, X.; Li, J. Collective forest tenure reform in China: Analysis of pattern and performance. For. Econ. 2008, 27–38. [Google Scholar]
- Chen, J.; Innes, J.L. The implications of new forest tenure reforms and forestry property markets for sustainable forest management and forest certification in China. J. Environ. Manag. 2013, 129, 206–215. [Google Scholar] [CrossRef]
- Lin, Z.; Dai, F.; Sonnenfeld, D.A. Resolving forest property rights disputes in China: The Bailian case. Syst. Res. Behav. Sci. 2012, 29, 227–231. [Google Scholar] [CrossRef]
- Liu, P.; Ravenscroft, N. Collective action in China’s recent collective forestry property rights reform. Land Use Policy 2016, 59, 402–411. [Google Scholar] [CrossRef]
- Song, Y.; Wang, G.; Burch, W.R.; Rechlin, M.A. From innovation to adaptation: Lessons from 20 years of the SHIFT forest management system in Sanming, China. For. Ecol. Manag. 2004, 191, 225–238. [Google Scholar] [CrossRef]
- Ostrom, E. A general framework for analyzing sustainability of social-ecological systems. Science 2009, 325, 419–422. [Google Scholar] [CrossRef]
- Cox, M. Advancing the diagnostic analysis of environmental problems. Int. J. Commons 2011, 5, 346–363. [Google Scholar] [CrossRef]
- Frey, U.; Cox, M. Building a diagnostic ontology of social-ecological systems. Int. J. Commons 2015, 9, 595–618. [Google Scholar] [CrossRef]
- Hinkel, J.; Cox, M.E.; Schlüter, M.; Binder, C.R.; Falk, T. A diagnostic procedure for applying the social-ecological systems framework in diverse cases. Ecol. Soc. 2015, 20. [Google Scholar] [CrossRef]
- Fleischman, F.; Boenning, K.; Garcia-Lopez, G.; Mincey, S.; Schmitt-Harsh, M.; Daedlow, K.; Lopez, M.C.; Basurto, X.; Fischer, B.; Ostrom, E. Disturbance, response, and persistence in self-organized forested communities: Analysis of robustness and resilience in five communities in southern Indiana. Ecol. Soc. 2010, 15. [Google Scholar] [CrossRef]
- Narh, P.; Lambini, C.; Sabbi, M.; Pham, V.; Nguyen, T. Land sector reforms in Ghana, Kenya and Vietnam: A comparative analysis of their effectiveness. Land 2016, 5, 8. [Google Scholar] [CrossRef]
- Larson, A.M.; Soto, F. Decentralization of natural resource governance regimes. Annu. Rev. Environ. Resour. 2008, 33, 213–239. [Google Scholar] [CrossRef]
- Agrawal, A.; Gupta, K. Decentralization and participation: The governance of common pool resources in Nepal’s Terai. World Dev. 2005, 33, 1101–1114. [Google Scholar] [CrossRef]
- Ribot, J.C.; Larson, A.M. Democratic Decentralisation through a Natural Resource Lens: Cases from Africa, Asia and Latin America; Routledge: Abingdon upon Thames, UK, 2013. [Google Scholar]
- Wunder, S.; Angelsen, A.; Belcher, B. Forests, livelihoods, and conservation: Broadening the empirical base. World Dev. 2014, 64, S1–S11. [Google Scholar] [CrossRef]
- Rasmussen, L.V.; Watkins, C.; Agrawal, A. Forest contributions to livelihoods in changing agriculture-forest landscapes. For. Policy Econ. 2017, 84, 1–8. [Google Scholar] [CrossRef]
- Lambini, C.K.; Nguyen, T.T. A comparative analysis of the effects of institutional property rights on forest livelihoods and forest conditions: Evidence from Ghana and Vietnam. For. Policy Econ. 2014, 38, 178–190. [Google Scholar] [CrossRef]
- Nygren, A. Community-based forest management within the context of institutional decentralization in Honduras. World Dev. 2005, 33, 639–655. [Google Scholar] [CrossRef]
- Gbedomon, R.C.; Floquet, A.; Mongbo, R.; Salako, V.K.; Fandohan, A.B.; Assogbadjo, A.E.; Glèlè Kakaї, R. Socio-economic and ecological outcomes of community-based forest management: A case study from Tobé-Kpobidon forest in Benin, Western Africa. For. Policy Econ. 2016, 64, 46–55. [Google Scholar] [CrossRef]
- Boutthavong, S.; Hyakumura, K.; Ehara, M.; Fujiwara, T. Historical changes of land tenure and land use rights in a local community: A case study in Lao PDR. Land 2016, 5, 11. [Google Scholar] [CrossRef]
- Xie, L.; Berck, P.; Xu, J. The effect on forestation of the collective forest tenure reform in China. China Econ. Rev. 2016, 38, 116–129. [Google Scholar] [CrossRef]
- Xie, Y.; Gong, P.; Han, X.; Wen, Y. The effect of collective forestland tenure reform in China: Does land parcelization reduce forest management intensity? J. For. Econ. 2014, 20, 126–140. [Google Scholar] [CrossRef]
- Hatcher, J.; Straka, T.; Greene, J. The size of forest holding/parcelization problem in forestry: A literature review. Resources 2013, 2, 39–57. [Google Scholar] [CrossRef]
- Atmiş, E.; Günşen, H.B.; Lise, B.B.; Lise, W. Factors affecting forest cooperative’s participation in forestry in Turkey. For. Policy Econ. 2009, 11, 102–108. [Google Scholar] [CrossRef]
- Hull, R.B.; Ashton, S. Forest cooperatives revisited. J. For. 2008, 106, 100–105. [Google Scholar]
- Mitchell, J.C. Case and situation analysis. Sociol. Rev. 1983, 31, 187–211. [Google Scholar] [CrossRef]
- Robson, J.; Klooster, D.; Worthen, H.; Hernández-Díaz, J. Migration and agrarian transformation in Indigenous Mexico. J. Agrar. Chang. 2017, 18, 299–323. [Google Scholar] [CrossRef]
- Kant, S.; Berry, R.A. A theoretical model of optimal forest resource regimes in developing economies. J. Inst. Theor. Econ. Z. Für Gesamte Staatswiss. 2001, 331–355. [Google Scholar]
- Liu, P.; Yin, R.; Li, H. China’s forest tenure reform and institutional change at a crossroads. For. Policy Econ. 2016, 72, 92–98. [Google Scholar] [CrossRef]
- Xie, Y.; Wen, Y.; Zhang, Y.; Li, X. Impact of property rights reform on household forest management investment: An empirical study of southern China. For. Policy Econ. 2013, 34, 73–78. [Google Scholar] [CrossRef]
- Agrawal, A.; Benson, C.S. Common property theory and resource governance institutions: Strengthening explanations of multiple outcomes. Environ. Conserv. 2011, 38, 199–210. [Google Scholar] [CrossRef][Green Version]
| 1 | X is an administrative village, which is the formal, lowest-level administrative division in China. One administrative village may have multiple natural villages. The term “natural village” is used in the sense of rural neighborhoods, as opposed to administrative divisions. Households within the same natural village usually reside close, while different natural villages within one administrative village may be geographically dispersed. |
| 2 | Note that only part of forest property rights was devolved in the reform. In China’s context, forest property rights mainly include four types of rights: forestland ownership, forestland usufructuary right, tree (timber) ownership, and tree (timber) usufructuary right. As a socialist country, China stipulates that land ownership should only be held by the state or the collective. Rural forestland in China is generally owned by the collective. China’s forest devolution reforms did not change the collective ownership of forestland but transferred forestland usufructuary right, tree (timber) usufructuary right, and tree (timber) ownership from the collective to households. |
© 2020 by the authors. Licensee MDPI, Basel, Switzerland. This article is an open access article distributed under the terms and conditions of the Creative Commons Attribution (CC BY) license (http://creativecommons.org/licenses/by/4.0/).






