Abstract
Energy-efficient consumption has become a strategic priority to mitigate global climate change and enhance national energy security. While social media has reshaped online consumption behavior, the mechanisms through which these digital platforms influence energy-efficient purchasing remain underexplored. This study extends the Theory of Planned Behavior (TPB) by integrating price perception variables and applies multi-group structural equation modeling to examine how social media shapes Chinese consumers’ intentions to purchase energy-efficient air conditioning. The results show that (1) social media exposure strengthens energy-efficient purchasing intentions indirectly via behavioral attitude, subjective norm, and perceived behavioral control; (2) price perception is negatively associated with purchase intention; and (3) these effects vary by age cohort, gender, and income—Generation Z and female consumers are more susceptible to social media influence, while low-income groups exhibit heightened price sensitivity. These findings advance TPB theory and offer guidance for digital platform policies aimed at promoting energy-efficient consumption.
1. Introduction
Rapid industrialization and rising household consumption have intensified environmental pressures worldwide [1,2]. Excessive resource use has further degraded ecosystems, exacerbating environmental deterioration [3,4]. In response to global calls for sustainable development, energy-efficient consumption has evolved from a niche practice into a mainstream preference [5]. Air-conditioning units—indispensable in modern homes and workplaces—are critical to efforts in energy conservation and emission reduction [2,6]. According to the International Energy Agency, refrigeration and air conditioning equipment account for approximately 15% of global building energy consumption [7]. Moreover, standardized energy-efficiency ratings for air conditioning are of key importance in refrigeration equipment, and air conditioning units enable consumers to make informed, energy-efficient purchasing decisions [8,9]. Driven by growing demand for low-carbon lifestyles, the acquisition of high-efficiency air conditioners has become increasingly prevalent [2,10].
Since Facebook’s launch in 2004, social media, as a pivotal digital platform for information dissemination and interaction, has deeply integrated into contemporary lifestyles [11,12]. Unlike earlier digital platforms, social media leverages interactive technologies to reshape everyday life and consumption patterns [13,14,15]. Social media platforms such as Instagram, Weibo, and Douyin have further transformed the information ecosystem, emerging as significant drivers of consumers’ decision-making [16,17,18]. Against this backdrop, examining the mechanism by which social media influences energy-efficient air conditioning consumption behavior is critical for harnessing digital platforms to advance the low-carbon economy [19,20].
The Theory of Planned Behavior (TPB) has become a foundational framework for investigating consumers’ green consumption behavior [21,22]. Derived from the Theory of Reasoned Action [23], TPB analyzes both behavioral intentions and actual actions and has been widely validated for predicting green purchase intentions and behaviors [24,25,26,27]. Researchers have further adapted TPB to specific consumption contexts by incorporating factors such as information interventions and social trust [28] and perceived emotional and conditional values [29]. Moreover, recognizing the pivotal role of cost considerations, recent studies have begun to include price sensitivity in TPB extensions [30,31]. Given the substantial price gap between energy-efficient and conventional air conditioners, this study integrates price perception into the extended TPB framework to more accurately capture the determinants of energy-efficient purchase intentions.
Although the TPB framework is now widely applied to social media’s influence on consumer behavior, its use in green-product contexts remains nascent. Studies employing TPB to analyze social media’s impact on consumer behavior have proliferated, forging a coherent theoretical foundation [17,18,32]. However, investigations specifically addressing social platforms’ role in green-product consumption have only recently appeared, revealing a critical knowledge gap [33,34]. To account for the fundamental differences between social media and traditional sales channels, TPB requires further adaptation and enrichment [33,35]. While earlier research has explored social media’s effects on general product decisions [32], its depth and breadth of influence on specialized goods—such as energy-efficient air conditioners, which blend environmental attributes and technical complexity—remain underexplored.
To address these gaps, this study aims to explore how social media reshape green-consumption trends, with a focus on energy-efficient air-conditioner purchases, extending the TPB by integrating price perception as a core construct. Employing a cross-sectional survey of 600 Chinese households in 2022 focused on green air-conditioning purchases, we apply structural equation modeling to quantify the effects of social media exposure, attitudes, subjective norms, perceived behavioral control, and price sensitivity on energy-efficient purchase intentions and actual eco-friendly behaviors. We then decompose this effect via a mediated path, analyzing the role that price perception plays in influencing energy-efficient consumption. Price perception mediates the link between perceptual behavior control and behavior intention. To uncover heterogeneity, we conduct multi-group SEM analyses across age, income, and gender, highlighting nuanced demographic differences in these mechanisms. Our findings confirm the hypothesized relationships, reinforce the robustness of the TPB extension, and deepen theoretical insights into digital drivers of sustainable consumption. Finally, by mapping these pathways, we offer actionable guidance for enterprises, marketers, and policymakers aiming to leverage social media in promoting green air-conditioning in diverse market segments.
This study makes two primary contributions to the study of energy-efficient consumption in digital-platform contexts. First, we extend the Theory of Planned Behavior (TPB) by integrating price sensitivity—operationalized as price perception—into the original model, thereby enhancing its explanatory power in context-specific consumption scenarios and offering a novel framework for future research on green consumer behavior. Second, we enrich the empirical investigation by combining Chinese consumers’ real-world demand for energy-efficient air conditioners with a comprehensive regional segmentation analysis to ensure representative market coverage, and by applying multi-group structural-equation modeling (SEM) to assess social media’s influence across gender, income, and age cohorts. Together, these methodological innovations deepen theoretical insights into how digital platforms shape sustainable consumption behaviors and provide actionable guidance for tailored green marketing strategies.
The remainder of this paper is structured as follows. In Section 2, we present a systematic literature review, develop the conceptual framework, and formulate testable hypotheses. Section 3 describes the data sources and empirical methodology. Section 4 reports the analytical results, with particular emphasis on multi-group comparative analysis. Finally, Section 5 concludes by summarizing the key findings, discussing theoretical and practical implications, identifying study limitations, and outlining directions for future research.
2. Literature Review and Hypotheses Development
2.1. Social Media
Social media has transformed consumer–business communication, profoundly shaping green purchasing dynamics. Social platforms enable consumers to participate in more interactive and collaborative buying experiences [36]. More and more scholars are paying attention to the impact of social media on consumer behavior. Studies show that information from social media is the main factor influencing consumers’ decisions [37]. The survey found that more than 70% of consumers’ decisions were influenced by social media [15]. Experts study the impact of social media on the green consumption behavior of the younger generation through subjective norms and perceived green values [17]. Additionally, another study utilized the Theory of Planned Behavior (TPB) model to explore the moderating effect of social media influence on Vietnamese youths’ intention to visit green hotels, based on a sample of 636 participants [38]. Other research on consumers’ green-cosmetics purchase behavior demonstrates that social media significantly influences attitudes and subjective norms—two key antecedents of green-purchase intention [39]. Moreover, as a vital information source, social media molds consumer motivations, which, in conjunction with subjective norms, foster positive intentions toward energy-efficient purchases [32].
Empirical evidence consistently links social media engagement to stronger green-purchase intentions. Multiple studies confirm a positive association between social media use and consumers’ intention to buy eco-friendly products [16,18]. In the United States, research on millennial cohorts reveals that social media engagement and online interpersonal influence both significantly boost green-purchase intention [18]. Similarly, a survey of 303 young consumers in China found that social media not only correlates positively with energy-efficient consumption among Generation Z but also actively stimulates sustainable purchasing behaviors [17]. Moreover, social platforms enhance environmental awareness, thereby shaping subjective norms and consumer perceptions in favor of green products.
Emerging evidence underscores social media’s pivotal role in shaping green-consumption attitudes and intentions. Moreover, social media not only stimulates green-purchase intentions but also deepens consumers’ environmental concerns [40]. In particular, users’ acceptance of green messaging on these platforms has been identified as a key driver of both pro-environmental attitudes and subsequent green-consumption intentions [16].
Taken together, these findings underpin the following hypotheses.
Hypothesis 1a (H1a).
Social media has a positive impact on subjective norms.
Hypothesis 1b (H1b).
Social media has a positive impact on behavioral attitudes.
Hypothesis 1c (H1c).
Social media has a positive impact on behavioral intention.
Hypothesis 1d (H1d).
Social media has a positive impact on perceptual behavior control.
2.2. Behavior Attitude
Behavioral attitude is an overall assessment of a person’s behavior [23], and previous research has shown that behavioral attitude is an important antecedent variable of purchase intention [41]. Behavioral attitude consistently emerges as a significant predictor of purchase intention [42]. For example, a survey of 560 autonomous consumers in Taiwan demonstrated that positive attitudes significantly increase purchase intention [26]. Similarly, by analyzing 435 valid questionnaires found that favorable attitudes positively affect green-purchase intention [43]. Research on organic-food consumers further confirms this relationship, with behavioral attitude exerting a strong, positive influence on consumption intention [44]. Finally, analysis of 620 questionnaire responses similarly revealed a significant positive correlation between attitude and green-purchase intention [45].
Thus, we hypothesize the following:
Hypothesis 2 (H2).
Behavioral attitude has a positive impact on behavioral intention.
2.3. Perceptual Behavioral Control
Perceived behavioral control (PBC)—an individual’s perceived ease or difficulty in performing a behavior—is a critical antecedent of green-purchase intentions [46]. PBC arises from two components: control beliefs (CB)—one’s conviction that factors such as time, money, or opportunity may facilitate or impede a behavior—and perceived power (PP)—one’s evaluation of how strongly those factors affect behavioral execution [41]. Empirical studies consistently show that PBC positively influences green-consumption intentions: for instance, PBC significantly predicts green-purchase intention in a survey of general consumers [26], and a study of 380 low-income households found that both attitude and PBC jointly enhance green-purchase intention [47]. Furthermore, PBC has been shown to exert a robust, positive effect on consumers’ willingness to buy green products [48].
Thus, we hypothesize the following:
Hypothesis 3a (H3a).
Perceptual behavioral control has a positive impact on behavioral intention.
Hypothesis 3a (H3b).
Perceptual behavioral control has a positive impact on price perception.
Hypothesis 3a (H3c).
Perceptual behavioral control has a positive impact on energy-efficient purchasing behavior.
2.4. Price Perception
Researchers in the field of consumer behavior define price sensitivity as the degree to which an individual reacts differently to a product (or service) due to price changes [48]. Price sensitivity is a pivotal determinant of green-purchase decisions for high-value durable goods such as air conditioners [49]. Price sensitivity is defined as the extent to which an individual’s purchase behavior changes in response to price fluctuations [49]. In the context of energy-efficient consumption, price factors assume even greater importance for products with relatively high sticker prices—air conditioners being a prime example. Consequently, this study explicitly incorporates price perception into the extended TPB framework to capture how cost considerations shape consumers’ intentions to buy energy-efficient air conditioners.
Price sensitivity exerts multiple influences on energy-efficient intention or behavior. Price affects the willingness to consume; empirical studies often position price sensitivity as either a direct or indirect antecedent of green-purchase intention [50]. For example, consumers respond more favorably to percentage discounts during green-consumption promotions [51]. Conversely, survey data from 680 Chinese respondents reveal that price sensitivity negatively moderates the effects of environmental responsibility and environmental concern on green-consumption intention [52]. However, this moderating role varies by product type: Tunisian consumers display muted price sensitivity toward high-value local organic olive oil—likely due to its perceived nutritional benefits [53,54]. Likewise, the expected positive effect of consumers’ willingness to pay a premium (WPP) on green-purchase intention does not always materialize [45]. Even among environmentally concerned consumers, the premium pricing of green products can deter actual pro-environmental purchases [52]. In contrast, lower price sensitivity correlates with higher adoption intentions for cost-intensive technologies such as electric vehicles [54]. Notably, when organic products are priced no more than 20% above conventional alternatives, up to 78% of consumers report real-world purchase behavior [55].
Price factors exhibit a nuanced, context-dependent influence on green-purchase intentions. As income levels rise and consumer psychology varies, the strength and direction of price’s impact on sustainable buying decisions can differ markedly across product categories [56]. For some high-value goods—such as electric vehicles or premium organic olive oil—price sensitivity may weaken or even reverse its typical inhibitory effect, whereas for other items, consumers remain highly sensitive to cost premiums. This complexity underscores the need to examine how price perception specifically moderates energy-efficient air-conditioner purchase intentions.
Thus, informed by the foregoing literature review and the unique characteristics of air-conditioner consumption, we propose the following hypotheses:
Hypothesis 4 (H4).
Product price perception has a positive impact on behavioral intention.
2.5. Subjective Norm
Subjective norm—the perceived social pressure to perform a given behavior—is a critical predictor of green-purchase intentions [46]. Subjective norm arises from an individual’s trust in others’ opinions and the motivation to conform to those expectations [57]. Empirical research indicates that factors such as environmental concern, environmental knowledge, and perceived value not only strengthen attitudes but also heighten subjective norms toward energy-efficient consumption [58]. For instance, analysis of 620 questionnaire responses confirms a positive influence of subjective norm on consumers’ green-buying intentions [45]. However, a minority of studies report a negative effect of subjective norms on purchasing behavior—an outcome that appears contingent on specific contextual factors [42].
Thus, we hypothesize the following:
Hypothesis 5 (H5).
Subjective norm has a positive impact on behavioral intention.
2.6. Behavioral Intention
Behavioral intention—an individual’s readiness to perform a behavior—consistently predicts actual green-purchasing behavior. In green-consumption contexts, individuals with strong intentions to buy eco-friendly products are significantly more likely to carry out those purchases [58,59]. For example, one study reported a substantial positive effect of behavioral intention on actual energy-efficient purchases [42]. Moreover, perceived behavioral control, as a key component of behavioral intention, further empowers consumers to translate intentions into green-buying actions [16].
A growing body of research has identified multiple determinants of consumers’ green-purchase intentions. Building on TPB, scholars have shown that environmental attitudes, subjective norms, perceived behavioral control, and social media influence each play a significant role in shaping green-purchase intentions [17,32,37]. For example, stronger pro-environmental attitudes and supportive norms communicated via social platforms consistently predict a higher intention to buy eco-friendly products. Likewise, greater perceived behavioral control—confidence in one’s ability to act—further amplifies those intentions. Collectively, these factors enhance the likelihood that stated intentions will translate into actual green-purchase behavior. Overall, the literature provides robust evidence for this intention–behavior link, underscoring the importance of designing interventions that strengthen consumers’ green intentions to promote sustainable consumption practices.
Thus, we hypothesize the following:
Hypothesis 6 (H6).
Behavior intention has a positive impact on Green Purchasing Behavior.
2.7. Demographic Variables
The core objective of consumer behavior research lies in uncovering the driving factors behind individual decision-making, with demographic variables (age, gender, income) playing a significant role in shaping consumer behavior [60]. A multi-group analysis based on the extended Theory of Planned Behavior (TPB) revealed that age, gender, and income exhibit substantial differences in behavioral decisions related to car-sharing [61], while gender, age, and household income significantly influence the mechanisms underlying low-carbon behaviors [62]. To further explore the purchasing mechanisms for green energy-efficient air conditioners, this study incorporates demographic grouping (age, gender, income) into the extended TPB framework, aiming to analyze how these variables differentially mediate consumer intentions and behaviors.
Overall, by conducting a paper review of the influencing factors and combining the characteristics of social media and air conditioning consumption, price perception is introduced to expand the TPB model. Drawing on our comprehensive literature review, we develop the conceptual framework—integrating the extended TPB model with price perception and social media influences—as illustrated in Figure 1.
Figure 1.
Extended TPB model and hypothesized framework.
3. Methodology and Data Analysis
To advance energy-saving consumption research, some studies conduct market analyses from the supply side, proposing a multi-energy trading market model based on price matching to effectively analyze energy-saving markets [63]. Other researchers focus on technical optimization and resource allocation strategies to promote energy-efficient consumption [64]. This paper investigates energy-saving consumption from the consumer behavior perspective. We develop a conceptual framework that extends the TPB theory by embedding social media influence and price perception into the context of energy-efficient air-conditioner consumption. Specifically, the model integrates two novel constructs—social media influence as an additional information channel augmenting traditional subjective norms, and price perception as a context-specific predictor—alongside core TPB variables (attitude, subjective norm, and perceived behavioral control). These antecedents collectively drive green-purchase intentions, which in turn lead to actual energy-efficient buying behavior. Grounded in an exhaustive literature review, this framework (Figure 1) enables empirical validation of the pathways through which social media shapes consumers’ decisions to purchase energy-efficient air conditioners.
We designed the questionnaire by integrating key TPB constructs with social media features and the specific requirements of green air-conditioner consumption. The survey employed a five-point Likert scale to measure each construct [27,32,44]. We assessed scale reliability using Cronbach’s α: both the overall scale and each subscale exceeded 0.80, demonstrating strong internal consistency and supporting the credibility of our data.
We then evaluated measurement validity using both exploratory and confirmatory factor analyses. First, exploratory factor analysis (EFA) confirmed that each construct exhibited clean, unidimensional factor structures with all loadings above acceptable thresholds. Building on these findings, we conducted a confirmatory factor analysis (CFA) in AMOS 21.0 to assess construct, convergent, and discriminant validity. The CFA yielded excellent fit—CFI and TLI values exceeded 0.95, RMSEA and SRMR fell below 0.06 and 0.08, respectively—and all average variance extracted (AVE) and composite reliability metrics satisfied recommended criteria, thereby confirming the robustness of our measurement model.
We employ hypothesis testing and multi-group SEM to unravel both the direct and indirect pathways through which social media shapes green-consumption behavior. Nine hypotheses—covering direct effects, mediation, and moderation—were evaluated using structural-equation modeling, and all received empirical support. Mediation analyses (via bootstrapped indirect-effect estimates) clarified how social media exposure influences green-purchase intentions through attitude, subjective norms, perceived behavioral control, and price perception. We then conducted multi-group comparisons across gender, age, and income cohorts, revealing that the strength of key paths varies significantly by demographic segment. This dual approach not only validates our conceptual framework but also provides a rigorous methodological template and actionable insights for tailoring digital-marketing strategies to diverse consumer groups.
3.1. Sample Data Statistics
We collected a stratified sample of 600 valid responses from Chinese consumers, as shown in Table 1, applying regional weights to reflect market differences. The sample size of each region was determined based on the consumption of air conditioners. The region with large air conditioner sales had a high proportion of the sample size. Northwest China and East China had large air conditioner consumption. Therefore, each accounted for 20%, respectively, other regions accounted for 15%. Thus, to account for higher air-conditioner sales, East and South China were intentionally oversampled [65]. The ages were divided into three groups: Generation Z (born between 1995 and 2010), Generation Y (born between 1981 and 1994), and Generation X (born before 1980) [66]. The sample comprised 292 men (48.7%) and 308 women (51.3%), achieving near-equal gender balance. Respondents were distributed evenly across three age cohorts, each representing roughly one-third of the sample. In terms of education, 63.5% held a bachelor’s degree, 17.3% a master’s, 14.2% an undergraduate diploma or lower, and 5.0% a doctoral degree.
Table 1.
Description of respondents’ demographics (n = 600).
According to the calculation results shown in Table 2 and Table 3, the means of each variable and dimension in this questionnaire survey are basically between 3.1 and 3.4, with an above-average score, and the absolute values of the skewness and kurtosis coefficients are all less than 2, indicating that the data meet the conditions for approximate normal distribution.
Table 2.
Descriptive statistics of variable scores.
Table 3.
Descriptive statistics of scores for each dimension.
3.2. Reliability Verification
We evaluated scale reliability using Cronbach’s α and item-to-total correlations. Cronbach’s α for each construct exceeded 0.80 (Table 4), and subscale α-coefficients were likewise above 0.80, indicating high internal consistency. Item-to-total correlations (CITC) all surpassed 0.40, and deleting any item did not increase its construct’s α, confirming that each item contributes meaningfully to its scale. Overall, these diagnostics demonstrate that our measurement instrument is both stable and highly credible.
Table 4.
Reliability test of questionnaire survey results.
3.3. Exploratory Factor Analysis of Variables
We assessed scale validity through both exploratory and confirmatory factor analyses. First, exploratory factor analysis (EFA) established structural validity: the Kaiser–Meyer–Olkin measure of sampling adequacy was 0.849 (exceeding the 0.70 threshold), and Bartlett’s test of sphericity was significant (χ2, p < 0.001), confirming data suitability for factor extraction. For the social media construct, EFA yielded two factors that together explained 80.5% of the variance; all items loaded on their intended factors in the rotated solution with communalities above 0.50 (Table 5). Building on these results, we conducted confirmatory factor analysis (CFA) to evaluate construct validity, examining fit indices, standardized factor loadings, composite reliability (CR), and average variance extracted (AVE), all of which met recommended thresholds.
Table 5.
Exploratory factor analysis of social media.
The same method was adopted to calculate the factor analysis results of the remaining variables, respectively. For the behavioral attitude variable, the overall KMO = 0.849 > 0.7, and Bartlett’s test of sphericity was significant at the p < 0.001 level; for the perceptual behavior control variable, the overall KMO = 0.872 > 0.7, and Bartlett’s test of sphericity was significant at the p < 0.001 level; for the subjective norm variable, the overall KMO = 0.884 > 0.7, and Bartlett’s test of sphericity was significant at the p < 0.001 level; for the behavioral intention variable, the overall KMO = 0.890 > 0.7, and Bartlett’s test of sphericity was significant at the p < 0.001 level; for the price perception variable, the overall KMO = 0.840 > 0.7, and Bartlett’s test of sphericity was significant at the p < 0.001 level; for the Green Purchasing Behavior variable, the overall KMO = 0.895 > 0.7, and Bartlett’s test of sphericity was significant at the p < 0.001 level. Therefore, these variables were highly suitable for factor analysis. The communalities of each item factor were higher than 0.5, indicating that the factors had a strong representativeness for the items.
3.4. Confirmatory Factor Analysis of the Overall Model
Based on the exploratory factor analysis results, we further examined the structural validity and convergent validity. The test results of the model’s structural validity indicate that among the calculated results of each fit index, χ2/df = 1.131 < 3, RMSEA = 0.015 < 0.08, SRMR = 0.030 < 0.08, IFI = 0.992 > 0.9, TLI = 0.992 > 0.9, CFI = 0.992 > 0.9. To sum up, all the fit indices of the variables in the questionnaire survey results meet the requirements of the analysis standards. The model has a good fit, a high overall fitness, and the questionnaire possesses strong structural validity, as shown in Table 6.
Table 6.
Confirmatory factor analysis model fit degree.
We employed composite reliability (CR) and average variance extracted (AVE) as indicators for evaluating the convergent validity of the questionnaire. When CR exceeds 0.7 and AVE surpasses 0.5, it indicates that the items within a construct measure a consistent underlying concept, demonstrating adequate convergent validity. Conversely, lower values suggest divergent measurement orientations among items under the same construct. Using standardized factor loading parameters derived from confirmatory factor analysis (CFA), the CR and AVE were calculated. The results indicated that all constructs and their dimensions in the model achieved CR values above 0.8 and AVE values exceeding 0.5, thereby confirming strong convergent validity across all variables, as shown in Table 7.
Table 7.
Convergent validity test results.
4. Results and Analysis
4.1. Regression Analysis and Hypothesis Testing
Based on theoretical analysis, research hypotheses were proposed. In this study, the AMOS 21.0 software was employed to establish the structural equation model of the comprehensive influence relationships among variables, as shown in Figure 2, aiming to compare the causal influence relationships between variables.
Figure 2.
Schematic diagram of the structural equation model.
The test results of the model’s structural validity revealed that among the calculated results of each fit index, as shown in Table 8, χ2/df = 1.337 < 3, RMSEA = 0.024 < 0.08, SRMR = 0.059 < 0.08, IFI = 0.980 > 0.9, TLI = 0.979 > 0.9, CFI = 0.980 > 0.9. To sum up, all the fit indices of the model structure met the requirements of the analysis standards and possessed strong structural validity.
Table 8.
Fit of the structural equation model.
In the results of regression coefficient calculation and testing, social media has a significant positive influence on subjective norm, with the standardized regression coefficient β = 0.458 and the significance test result p < 0.001, so the original hypothesis H1a is established. Social media has a significant positive influence on behavioral attitude, with the standardized regression coefficient β = 0.553 and the significance test result p < 0.001, so the original hypothesis H1b is established. Social media has a significant positive influence on behavioral intention, with the standardized regression coefficient β = 0.248 and the significance test result p < 0.001, so the original hypothesis H1c is established. Social media has a significant positive influence on perceptual behavior control, with the standardized regression coefficient β = 0.512 and the significance test result p < 0.001, so the original hypothesis H1d is established.
Behavioral attitude has a significant positive influence on behavioral intention, with the standardized regression coefficient β = 0.199 and the significance test result p < 0.001, so the original hypothesis H2 is established.
Perceptual behavior control has a significant positive influence on behavioral intention, with the standardized regression coefficient β = 0.144 and the significance test result p = 0.009 < 0.01, so the original hypothesis H3a is established. Perceptual behavior control has a significant positive influence on price perception, with the standardized regression coefficient β = 0.309 and the significance test result p < 0.001, so the original hypothesis H3b is established. Perceptual behavior control has a significant positive influence on Green Purchasing Behavior, with the standardized regression coefficient β = 0.272 and the significance test result p < 0.001, so the original hypothesis H3c is established.
Price perception has a significant negative influence on behavioral intention, with the standardized regression coefficient β = −0.131 and the significance test result p = 0.004 < 0.01, so the original hypothesis H4 is established.
Subjective norm has a significant positive influence on behavioral intention, with the standardized regression coefficient β = 0.275 and the significance test result p < 0.001, so the original hypothesis H5 is established.
Behavioral intention has a significant positive influence on Green Purchasing Behavior, with the standardized regression coefficient β = 0.514 and the significance test result p < 0.001, so the original hypothesis H6 is established.
The test of the influence relationships among variables is in Table 9, and the test results of the influence relationships among variables are shown in Figure 3.
Table 9.
Test of the influence relationships among variables. Note: → means “from A to B”, show the direction of influence conduction.
Figure 3.
Test results of the influence relationships among variables.
4.2. Mediation Effect Analysis
Based on the test results of the direct influence relationships, we further analyze the significance of each indirect influence relationship in the model. Among them, the mediation effect sizes are all corrected for bias by sampling 5000 times using the bootstrap method. According to the test results of each mediating relationship, the indirect effect sizes of social media on behavioral intention and energy-efficient purchasing behavior through variables such as behavioral attitude, perceptual behavior control, subjective norm, and price perception all reach a significant level, with the 95% confidence intervals not containing zero, as shown in Table 10. In addition, the indirect effect sizes of perceptual behavior control on behavioral intention and energy-efficient purchasing behavior through price perception also reach a significant level, with the 95% confidence intervals not containing zero. Thus, each indirect influence relationship in the model is established.
Table 10.
Mediation effect analysis results.
4.3. Comparison of Multiple Sets of Results
After specifically comparing the standardized regression influence coefficients in each model, the standardized coefficients of each regression path are basically the same in the multi-group analysis of gender and age, which is also consistent with the results of the equivalence test of the restricted model. However, in the multi-group analysis of different monthly income levels, the influence relationships among variables in the high-income group are significantly lower than those in the other two income groups. The coefficient values are relatively low or do not reach the significance level. In contrast, the influence relationships among variables in the low-income group are relatively strong, and the standardized regression coefficients are significantly higher than those in the middle-income and high-income sample groups. This is shown in Table 11.
Table 11.
Results of the influence relationships among variables in multi-group structural equation models.
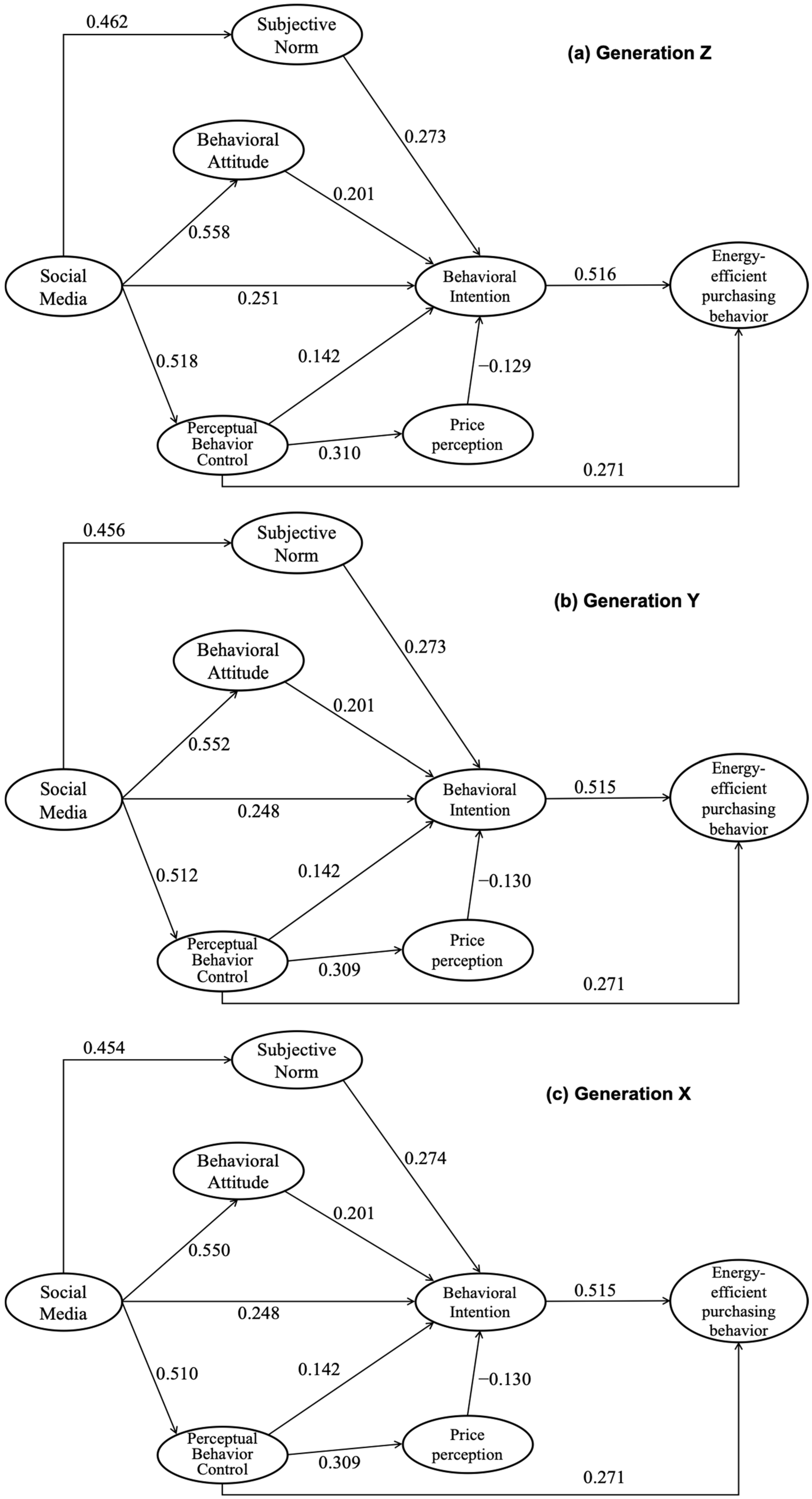
The analysis results show that Generation Z is the most significantly influenced by social media in green purchasing. Specifically, the impacts of social media on the perceptual behavior control and subjective norm of Generation Z are more significant than those of Generation Y and Generation X. When it comes to purchasing green air conditioning, female consumers are more likely to be influenced by social media. Another significant characteristic is that the higher the income level, the less significant the influence of social media is, indicating that low-income groups are more easily influenced by social media when buying green air conditioning.
5. Discussion
5.1. Structural Equation Analysis Based on the Extended TPB Model
Our extended TPB analysis reveals that price perception significantly and negatively influences consumers’ intention to purchase energy-efficient air conditioners. Empirical data show a clear inverse relationship: as perceived cost rises, green-purchase intention declines. This result aligns with consumer-behavior theories that underscore cost–benefit trade-offs in decision-making: when consumers overestimate purchase costs, their intention to buy diminishes [67]. In the green-air-conditioning market—despite growing environmental awareness—economic rationality remains paramount. Elevated price perceptions trigger risk-aversion, impeding the transition from intent to actual purchase. These insights not only validate the TPB framework in green-consumption contexts but also signal to manufacturers and marketers that, while green attributes enhance product value, pricing must be calibrated carefully to respect consumers’ price elasticity and avoid market rejection.
5.2. Sociological Insights into the Impact of Social Media from a Generational Perspective
Age-related differences significantly shape how social media influences green-consumption behavior, with Generation Z exhibiting the highest responsiveness. Our multi-group comparison (Figure 4) reveals marked generational disparities: Generation Z shows the strongest effects of social media exposure on perceived behavioral control and subjective norm. As true digital natives, Gen Z consumers integrate social platforms into their socialization, using virtual networks to form identity and internalize group norms. Compared to Generations Y and X, they rely more heavily on online communities and are particularly susceptible to influencers and trending topics, thereby reinforcing their green-consumption norms. Furthermore, social media’s interactive functionalities bolster Gen Z’s perceived ability to enact eco-friendly purchases, making green buying feel readily attainable. This pattern exemplifies social-learning theory and underscores the need for marketers to tailor communication strategies to Generation Z’s digital preferences.
Figure 4.
Multi-group analysis and test results of the generation group.
5.3. Psychological Insights into the Impact of Social Media from a Gender Perspective
Multi-group analysis shows that female consumers are markedly more responsive to social media influence in green air-conditioner purchases (Figure 5). Psychological research indicates that women generally exhibit higher empathy and environmental sensitivity, making them especially receptive to emotional narratives and scenario-based marketing conveyed via social platforms. Moreover, peer recommendations and rich visual product presentations align with women’s information-processing preferences, activating their concerns for family well-being and environmental stewardship and thereby strengthening their purchase intentions. This evidence highlights how marketing-psychology principles—by tailoring social media content to gender-specific traits—can effectively engage the female segment in sustainable consumption.
Figure 5.
Test results of the multi-group analysis of the gender group.
5.4. Economic Insights into the Impact of Social Media from an Income Perspective
Multi-group comparisons (Figure 6) reveal an inverse relationship between household income and social media influence on green–air–conditioner purchases: lower-income consumers are more impacted by social media content. Economically, budget-constrained consumers face higher relative search costs, so the abundant, free information on social platforms reduces their decision-making burden and serves as a primary information source. Conversely, higher-income groups—less sensitive to cost considerations—can afford missteps and instead prioritize factors such as brand equity and premium service experiences, diminishing the relative importance of social media signals. These findings suggest that manufacturers should segment the market by income level and deploy cost-effective, social media–driven marketing strategies to stimulate green demand among lower-income consumers.
Figure 6.
Test results of multi-group analysis for the income group.
6. Conclusions and Policy Implications
6.1. Conclusions
This study explores the impact and its mechanisms through which social media influences energy-efficient consumption behavior, focusing on air conditioning—a representative essential good—as a case study. Amid the exponential growth of the digital economy and widespread social media adoption, this study examines emerging energy-efficient consumption trends. By integrating price perception as a critical factor to extend the TPB framework, we empirically examine the impact of consumer exposure to social media on air conditioning purchase behaviors and systematically uncover their underlying drivers. The principal findings are as follows:
(1) Price perception strengthens the TPB framework. Integrating price sensitivity into TPB significantly increases its explanatory power for green air-conditioning purchases, improving model fit and robustness across alternative specifications.
(2) Social media drives energy-efficient consumption intentions and behaviors. Empirical results show that exposure to social media content positively and significantly influences both consumers’ intentions to purchase green air conditioners and their actual eco-friendly purchasing behavior.
(3) Price sensitivity moderates social media’s impact. Multi-group analyses reveal that the effect of social media on green-purchase intentions is contingent on consumers’ price sensitivity: the influence is stronger among low-price-sensitivity respondents and attenuated among highly price-sensitive groups.
(4) Demographic heterogeneity shapes underlying mechanisms. Stratified by age, income, and gender, the pathways differ in strength and form—e.g., younger and higher-income segments exhibit stronger social media effects, while gender differences emerge in perceived behavioral control—underscoring the need for targeted strategies.
These conclusions highlight the multifaceted role of price perception and social media in steering energy-efficient consumption, demonstrate the value of extending TPB with economic factors, and point to demographic-tailored interventions for promoting sustainable purchasing in the digital era.
6.2. Theoretical and Managerial Implications
This study makes several contributions to theoretical research.
(1) Extension of the TPB Framework. By integrating price perception into the traditional Theory of Planned Behavior (TPB), this study highlights the importance of economic considerations in energy-efficient consumption decisions. The negative association between price perception and purchase intention underscores that financial constraints act as a barrier, even when behavioral attitudes and norms are favorable. This extension enriches TPB by incorporating a critical real-world factor often overlooked in traditional models, enhancing its applicability to pro-environmental behaviors in cost-sensitive contexts.
(2) Mechanisms of Digital Influence. The findings reveal how social media indirectly shapes purchase intentions through attitude, subjective norms, and perceived behavioral control. This clarifies the influence pathways through which digital social media platforms operate, such as social media fosters subjective norms like family and friend influence, and helps to add pro-environmental intentions. Social media may amplify positive attitudes via targeted content or normative messaging, thereby refining understanding of digital interventions in behavioral change.
(3) Heterogeneity in Consumer Responses. The multi-group analysis demonstrates that the effects of social media and price perception vary significantly across age, gender, and income cohorts. For example, Generation Z and women exhibit higher susceptibility to social media influence, while low-income groups prioritize price. This reveals that theoretical models like TPB must account for contextual moderators (e.g., demographic factors) to capture the complexity of real-world decision-making, advancing theories of technology adoption and environmental behavior.
This study has several managerial implications for enterprises.
(1) Targeted Digital Marketing Strategies. Through multiple sets of comparative analyses, the paper finds that different groups have different levels of participation in social media activities. The platform should give priority to Generation Z and female consumers, taking advantage of their higher participation in social content to further carry out publicity and precise content push. This can amplify the perceived behavioral control and subjective norms, thereby promoting energy-efficient consumption behavior. Social media algorithms could prioritize energy-efficient product promotions for these high-impact demographics and further stimulate the generational values and enable the younger generation to take sustainability as a life choice.
(2) Price Sensitivity Mitigation. Based on the analysis of price perception in the paper, to counter the negative impact of price perception among low-income groups, policymakers or retailers could offer discounts, installment plans, or energy-saving rebates to reduce upfront costs. Clear comparisons of long-term energy savings versus purchase prices on digital platforms must be provided to reframe cost–benefit perceptions.
This study advances both theory and practice by demonstrating how digital platforms can be leveraged to promote sustainability while accounting for economic realities and demographic diversity. For policymakers and firms, it provides actionable insights to design inclusive, platform-specific interventions that maximize energy-efficient consumption.
6.3. Limitations and Future Research
Despite its contributions, this study has several limitations and suggests avenues for future research. First, although we obtained 600 valid responses across China’s administrative regions, restricting the sample to a single country may limit the findings’ representativeness and generalizability to other cultural or socioeconomic contexts. Second, our TPB extension included price sensitivity but omitted key drivers—such as cultural values, policy incentives (e.g., green appliance subsidies), and psychological constructs like environmental self-efficacy—which may mediate or moderate social media’s effects. Third, the cross-sectional design precludes causal inference; future research should adopt longitudinal and cross-national designs to capture dynamic, culturally nuanced relationships between social media engagement and energy-efficient consumption behavior.
Author Contributions
Conceptualization: Z.Z. and N.R.; methodology: Z.Z. and C.S.; introduction: Z.Z. and N.R.; literature review and hypotheses development: C.S. and Z.Z.; methodology and data analysis: Z.Z. and C.S.; results and analysis: N.R. and C.S.; discussion: Z.Z. and N.R.; conclusions: Z.Z. and N.R.; limitations and future research directions: Z.Z. and N.R. All authors have read and agreed to the published version of the manuscript.
Funding
This paper was funded by the National Social Science Foundation of China, Project Number: 23BMZ066.
Institutional Review Board Statement
The study was conducted in accordance with the Declaration of Helsinki, and approved by the Ethics Committee of Business School of Nanning University (5 November 2024).
Informed Consent Statement
Informed consent was obtained from all subjects involved in the study.
Data Availability Statement
The data are available on request.
Acknowledgments
We extend sincere appreciation to all participants who generously participated in the survey.
Conflicts of Interest
The authors declare no conflicts of interest.
References
- Ivanova, D.; Stadler, K.; Steen-Olsen, K.; Wood, R.; Vita, G.; Tukker, A.; Hertwich, E.G. Environmental impact assessment of household consumption. J. Ind. Ecol. 2016, 20, 526–536. [Google Scholar] [CrossRef]
- Olatunde, T.M.; Okwandu, A.C.; Akande, D.O. Reviewing the impact of energy-efficient appliances on household consumption. Int. J. Sci. Technol. Res. Arch. 2024, 6, 1–11. [Google Scholar] [CrossRef]
- Vega, E. The Abyss of Abundance: Consumer Overconsumption and the Road to Environmental Collapse; Fordham University: New York, NY, USA, 2024. [Google Scholar]
- Chen, N.; Usman, M. Energy Use, Energy Depletion, and Environmental Degradation: Exploitation of Natural Resources. In Natural Resources Forum; Wiley Online Library: Hoboken, NJ, USA, 2025. [Google Scholar]
- Balcıoğlu, Y.S.; Bıyıklar, M.A.; Güven, E. Global trends in green consumption: Analyzing market acceptance and sentiment through Instagram data mining. Curr. Psychol. 2025, 44, 693–716. [Google Scholar] [CrossRef]
- Chua, K.; Chou, S.; Yang, W.; Yan, J. Achieving better energy-efficient air conditioning—A review of technologies and strategies. Appl. Energy 2013, 104, 87–104. [Google Scholar] [CrossRef]
- Marzouk, O.A. Summary of the 2023 Report of TCEP (Tracking Clean Energy Progress) by the International Energy Agency (IEA), and Proposed Process for Computing a Single Aggregate Rating. In E3S Web of Conferences; EDP Sciences: Les Ulis, France, 2025. [Google Scholar]
- Ortiz-Peña, A.; Honrubia-Escribano, A.; Gómez-Lázaro, E. Electricity Consumption and Efficiency Measures in Public Buildings: A Comprehensive Review. Energies 2025, 18, 609. [Google Scholar] [CrossRef]
- She, X.; Cong, L.; Nie, B.; Leng, G.; Peng, H.; Chen, Y.; Zhang, X.; Wen, T.; Yang, H.; Luo, Y. Energy-efficient and-economic technologies for air conditioning with vapor compression refrigeration: A comprehensive review. Appl. Energy 2018, 232, 157–186. [Google Scholar] [CrossRef]
- Elantary, A.R. Energy Consumption Patterns in Residential Buildings: A Comparative Study of Air Conditioning Systems. Yanbu J. Eng. Sci. 2025. [Google Scholar] [CrossRef]
- Skopek, J. Introduction and overview to the Research Handbook on Digital Sociology. In Research Handbook on Digital Sociology; Edward Elgar Publishing: Cheltenham, UK, 2023; pp. 2–22. [Google Scholar]
- Bobzien, L.; Verwiebe, R.; Kalleitner, F. Visualizing Age-Specific Digital Platform Usage in Germany. Socius 2025, 11, 23780231251319360. [Google Scholar] [CrossRef]
- Kane, G.C.; Alavi, M.; Labianca, G.; Borgatti, S.P. What’s different about social media networks? A framework and research agenda. MIS Q. 2014, 38, 275–304. [Google Scholar] [CrossRef]
- Tiago, M.T.P.M.B.; Veríssimo, J.M.C. Digital marketing and social media: Why bother? Bus. Horiz. 2014, 57, 703–708. [Google Scholar] [CrossRef]
- Stephen, A.T. The role of digital and social media marketing in consumer behavior. Curr. Opinión Psychol. 2016, 10, 17–21. [Google Scholar] [CrossRef]
- Wu, M.; Long, R. How does green communication promote the green consumption intention of social media users? Environ. Impact Assess. Rev. 2024, 106, 107481. [Google Scholar] [CrossRef]
- Xie, S.; Madni, G.R. Madni, Impact of social media on young generation’s green consumption behavior through subjective norms and perceived green value. Sustainability 2023, 15, 3739. [Google Scholar] [CrossRef]
- Bedard, S.A.N.; Tolmie, C.R. Millennials’ green consumption behaviour: Exploring the role of social media. Corp. Soc. Responsib. Environ. Manag. 2018, 25, 1388–1396. [Google Scholar] [CrossRef]
- Liang, H.; Jia, L.; Meng, Y. Meng, Impacts of government social media on public engagement in low-carbon practices focusing on Japan. Environ. Res. 2024, 263, 120019. [Google Scholar] [CrossRef] [PubMed]
- Li, F. Effects of consumers’ engagement in pro-environment activities on social media on green consumption behaviour. Asia Pac. J. Mark. Logist. 2025, 37, 403–421. [Google Scholar] [CrossRef]
- Emekci, S. Green consumption behaviours of consumers within the scope of TPB. J. Consum. Mark. 2019, 36, 410–417. [Google Scholar] [CrossRef]
- Liu, M.T.; Liu, Y.; Mo, Z. Moral norm is the key: An extension of the theory of planned behaviour (TPB) on Chinese consumers’ green purchase intention. Asia Pac. J. Mark. Logist. 2020, 32, 1823–1841. [Google Scholar] [CrossRef]
- Fishbein, M.; Ajzen, I. Belief, attitude, intention, and behavior: An introduction to theory and research. Philos. Rhetor. 1977, 6, 244–245. [Google Scholar]
- Ajzen, I.; Fishbein, M. Attitudes and the attitude-behavior relation: Reasoned and automatic processes. Eur. Rev. Soc. Psychol. 2000, 11, 1–33. [Google Scholar] [CrossRef]
- Ajzen, I. Perceived behavioral control, self-efficacy, locus of control, and the theory of planned behavior 1. J. Appl. Soc. Psychol. 2002, 32, 665–683. [Google Scholar] [CrossRef]
- Wu, S.-I.; Chen, J.-Y. A model of green consumption behavior constructed by the theory of planned behavior. Int. J. Mark. Stud. 2014, 6, 119. [Google Scholar] [CrossRef]
- Tang, C.; Han, Y.; Ng, P. Green consumption intention and behavior of tourists in urban and rural destinations. J. Environ. Plan. Manag. 2023, 66, 2126–2150. [Google Scholar] [CrossRef]
- Zhao, X.; Fan, L.; Xu, Y. An investigation of determinants of green consumption behavior: An extended theory of planned behavior. Innov. Green Dev. 2025, 4, 100198. [Google Scholar] [CrossRef]
- Wei, Y.; Zhang, L. Research on the factors that influence the consumption intention for intangible cultural heritage tourism products: Based on the TPB and TCV. Curr. Issues Tour. 2025, 1–19. [Google Scholar] [CrossRef]
- Kumar, N.; Mohan, D. Sustainable apparel purchase intention: Collectivist cultural orientation and price sensitivity in extended TPB model. J. Revenue Pricing Manag. 2021, 20, 149–161. [Google Scholar] [CrossRef]
- Hsu, C.-L.; Chang, C.-Y.; Yansritakul, C. Exploring purchase intention of green skincare products using the theory of planned behavior: Testing the moderating effects of country of origin and price sensitivity. J. Retail. Consum. Serv. 2017, 34, 145–152. [Google Scholar] [CrossRef]
- Kumar, A.; Pandey, M. Social media and impact of altruistic motivation, egoistic motivation, subjective norms, and ewom toward green consumption behavior: An empirical investigation. Sustainability 2023, 15, 4222. [Google Scholar] [CrossRef]
- Zhang, C.; Tang, L.; Zhang, J.; Wang, Z. Using social network analysis to identify the critical factors influencing residents’ green consumption behavior. Systems 2023, 11, 254. [Google Scholar] [CrossRef]
- Aurélio, M.; Maia, J.V.S.M.; Leocadio, A.L.; Guimarães, D.B. Aurélio, M.; Maia, J.V.S.M.; Leocadio, A.L.; Guimarães, D.B. A Generational Comparison of the Influence of Social Media on Sustainable Consumer Behavior. In Digital Transformation Initiatives for Agile Marketing; IGI Global: Hershey, PA, USA, 2025; pp. 303–342. [Google Scholar]
- Yanyan, Z.; Pek, C.-K.; Cham, T.-H. The effect of social media exposure, environmental concern and consumer habits in green consumption intention. J. Strategy Manag. 2023, 16, 747–766. [Google Scholar] [CrossRef]
- Ajzen, I. The theory of planned behavior. Organ. Behav. Hum. Decis. Process. 1991, 50, 179–211. [Google Scholar] [CrossRef]
- Dzreke, S.S.; Dzreke, S. Influence of Social Media on Consumer Behavior: Investigating How Social Media Platforms Shape Consumer Purchasing Decisions and Loyalty. Open J. Bus. Manag. 2025, 13, 1154–1175. [Google Scholar] [CrossRef]
- Luong, T.B.; Nguyen, D.T.A. Examining social media influence’s role in the TPB model for young Vietnamese visiting green hotels. J. Ecotourism 2025, 24, 20–42. [Google Scholar] [CrossRef]
- Testa, F.; Sarti, S.; Frey, M. Are green consumers really green? Exploring the factors behind the actual consumption of organic food products. Bus. Strategy Environ. 2019, 28, 327–338. [Google Scholar] [CrossRef]
- Choi, D.; Johnson, K.K. Influences of environmental and hedonic motivations on intention to purchase green products: An extension of the theory of planned behavior. Sustain. Prod. Consum. 2019, 18, 145–155. [Google Scholar] [CrossRef]
- Testa, F.; Pretner, G.; Iovino, R.; Bianchi, G.; Tessitore, S.; Iraldo, F. Drivers to green consumption: A systematic review. Environ. Dev. Sustain. 2021, 23, 4826–4880. [Google Scholar] [CrossRef]
- Yadav, R.; Pathak, G.S. Determinants of consumers’ green purchase behavior in a developing nation: Applying and extending the theory of planned behavior. Ecol. Econ. 2017, 134, 114–122. [Google Scholar] [CrossRef]
- Lien, C.Y.; Huang, C.W.; Chang, H.J. The influence of green consumption cognition of consumers on behavioural intention-A case study of the restaurant service industry. Afr. J. Bus. Manag. 2012, 6, 7888–7895. [Google Scholar]
- Xie, C.; Wang, R.; Gong, X. The influence of environmental cognition on green consumption behavior. Front. Psychol. 2022, 13, 988585. [Google Scholar] [CrossRef]
- Ali, M.; Ullah, S.; Ahmad, M.S.; Cheok, M.Y.; Alenezi, H. Assessing the impact of green consumption behavior and green purchase intention among millennials toward sustainable environment. Environ. Sci. Pollut. Res. 2023, 30, 23335–23347. [Google Scholar] [CrossRef]
- Al Mamun, A.; Mohamad, M.R.; Yaacob, M.R.B.; Mohiuddin, M. Intention and behavior towards green consumption among low-income households. J. Environ. Manag. 2018, 227, 73–86. [Google Scholar] [CrossRef] [PubMed]
- Yadav, R.; Pathak, G.S. Young consumers’ intention towards buying green products in a developing nation: Extending the theory of planned behavior. J. Clean. Prod. 2016, 135, 732–739. [Google Scholar] [CrossRef]
- Lichtenstein, D.R.; Ridgway, N.M.; Netemeyer, R.G. Price perceptions and consumer shopping behavior: A field study. J. Mark. Res. 1993, 30, 234–245. [Google Scholar] [CrossRef]
- Stall-Meadows, C.; Davey, A. Green marketing of apparel: Consumers’ price sensitivity to environmental marketing claims. J. Glob. Fash. Mark. 2013, 4, 33–43. [Google Scholar] [CrossRef]
- Tseng, C.H. The effect of price discounts on green consumerism behavioral intentions. J. Consum. Behav. 2016, 15, 325–334. [Google Scholar] [CrossRef]
- Yue, B.; Sheng, G.; She, S.; Xu, J. Impact of consumer environmental responsibility on green consumption behavior in China: The role of environmental concern and price sensitivity. Sustainability 2020, 12, 2074. [Google Scholar] [CrossRef]
- Ghali-Zinoubi, Z.; Toukabri, M. The antecedents of the consumer purchase intention: Sensitivity to price and involvement in organic product: Moderating role of product regional identity. Trends Food Sci. Technol. 2019, 90, 175–179. [Google Scholar] [CrossRef]
- Hahnel, U.J.; Ortmann, C.; Korcaj, L.; Spada, H. What is green worth to you? Activating environmental values lowers price sensitivity towards electric vehicles. J. Environ. Psychol. 2014, 40, 306–319. [Google Scholar] [CrossRef]
- Malik, C.; Singhal, N.; Tiwari, S. Antecedents of consumer environmental attitude and intention to purchase green products: Moderating role of perceived product necessity. Int. J. Environ. Technol. Manag. 2017, 20, 259–279. [Google Scholar] [CrossRef]
- Cicia, G.; Del Giudice, T.; Scarpa, R. Consumers’ perception of quality in organic food: A random utility model under preference heterogeneity and choice correlation from rank-orderings. Br. Food J. 2002, 104, 200–213. [Google Scholar] [CrossRef]
- Singh, S.; Sonnenburg, S. Brand performances in social media. J. Interact. Mark. 2012, 26, 189–197. [Google Scholar] [CrossRef]
- Pop, R.-A.; Săplăcan, Z.; Alt, M.-A. Alt, Social media goes green—The impact of social media on green cosmetics purchase motivation and intention. Information 2020, 11, 447. [Google Scholar] [CrossRef]
- Chi, N.T.K. Understanding the effects of eco-label, eco-brand, and social media on green consumption intention in ecotourism destinations. J. Clean. Prod. 2021, 321, 128995. [Google Scholar] [CrossRef]
- Ajzen, I.; Fishbein, M. A Bayesian analysis of attribution processes. Psychol. Bull. 1975, 82, 261. [Google Scholar] [CrossRef]
- Firdaus, F.S.; Ikhsan, R.B.; Fernando, Y. Predicting purchase behaviour of Indonesian and French Muslim consumers: Insights from a multi-group analysis. J. Islam. Mark. 2023, 14, 1229–1259. [Google Scholar] [CrossRef]
- Li, L.; Zhang, Y. An extended theory of planned behavior to explain the intention to use carsharing: A multi-group analysis of different sociodemographic characteristics. Transportation 2023, 50, 143–181. [Google Scholar] [CrossRef]
- Wang, C.; Zhan, J.; Wang, H.; Yang, Z.; Chu, X.; Liu, W.; Teng, Y.; Liu, H.; Wang, Y. Multi-group analysis on the mechanism of residents’ low-carbon behaviors in Beijing, China. Technol. Forecast. Soc. Chang. 2022, 183, 121956. [Google Scholar] [CrossRef]
- Zhang, N.; Yan, J.; Hu, C.; Sun, Q.; Yang, L.; Gao, D.W.; Guerrero, J.M.; Li, Y. Price-matching-based regional energy market with hierarchical reinforcement learning algorithm. IEEE Trans. Ind. Inform. 2024, 20, 11103–11114. [Google Scholar] [CrossRef]
- Zheng, J.; Du, B.; Du, H.; Kang, J.; Niyato, D.; Zhang, H. Energy-efficient resource allocation in generative ai-aided secure semantic mobile networks. IEEE Trans. Mob. Comput. 2024, 23, 11422–11435. [Google Scholar] [CrossRef]
- Pfeffermann, D. The use of sampling weights for survey data analysis. Stat. Methods Med. Res. 1996, 5, 239–261. [Google Scholar] [CrossRef]
- Seemiller, C.; Grace, M. Generation Z: A Century in the Making; Routledge: London, UK, 2018. [Google Scholar]
- Sidarus, N.; Palminteri, S.; Chambon, V. Cost-benefit trade-offs in decision-making and learning. PLoS Comput. Biol. 2019, 15, e1007326. [Google Scholar] [CrossRef] [PubMed]
Disclaimer/Publisher’s Note: The statements, opinions and data contained in all publications are solely those of the individual author(s) and contributor(s) and not of MDPI and/or the editor(s). MDPI and/or the editor(s) disclaim responsibility for any injury to people or property resulting from any ideas, methods, instructions or products referred to in the content. |
© 2025 by the authors. Licensee MDPI, Basel, Switzerland. This article is an open access article distributed under the terms and conditions of the Creative Commons Attribution (CC BY) license (https://creativecommons.org/licenses/by/4.0/).





