Abstract
The automation of petroleum extraction columns requires robust and adaptive control due to the highly nonlinear nature of the heat and mass transfer processes involved. In this study, a hybrid control system integrating conventional fuzzy logic with quantum-inspired computational optimization is proposed to enhance the control of temperature and flow rates in industrial extraction columns. The hybrid quantum-inspired fuzzy controller is applied to a petroleum extraction column. The controller adopts fuzzy rule weights using a quantum-inspired optimization algorithm. Compared with classical PID and fuzzy controllers, it reduces settling time and solvent consumption. A MATLAB/Simulink-based simulation model of the extraction column was developed to validate the approach. Experimental tests were conducted using synthetic data and varying operational parameters to evaluate control performance. The hybrid controller achieved a 0.7% reduction in phenol consumption and reduced temperature deviations by 2.2% compared to a baseline fuzzy controller. Energy savings ranged from 1% to 2% depending on the operating scenarios. These results were confirmed through repeated simulations and statistical analysis. The proposed system demonstrates the potential of quantum-inspired fuzzy control to enhance process efficiency, reduce energy use, and improve product quality in complex chemical extraction applications. The statistical evaluation was based on repeated simulation runs and comparative performance metrics rather than physical experiments.
1. Introduction
One of the key challenges in modern petroleum extraction is the integration of advanced control technologies capable of improving process efficiency, maintaining stable extraction parameters, and enhancing the throughput capacity of separation units. As production infrastructures continue to evolve and become more complex, control architectures are required to deliver higher levels of precision, adaptability, and operational reliability. These increasingly stringent requirements must be systematically addressed during the design and implementation of automation and supervisory control systems to ensure consistent and optimal performance under varying operating conditions [1].
The stable operation of petroleum extraction columns can be compromised when process parameters deviate systematically from the optimal regime, resulting in the buildup of heavy hydrocarbon residues and paraffinic deposits on internal surfaces of the column and associated pipelines. The overall efficiency of the extraction process is largely governed by two fundamental factors: the thermodynamic equilibrium established between vapor and liquid hydrocarbon phases, and the dynamic control of phase-flow rates across the column trays [2,3].
In typical operation, the column receives multiphase inlet streams composed of gas and liquid hydrocarbons originating from the primary separation unit and the stabilization system. Effective regulation of the extraction process requires precise control of liquid loading and vapor throughput to maintain the target hydrocarbon composition in the separated fractions. This is achieved through continuous adjustment of flow rates and pressure gradients along the height of the column [4,5].
To ensure stable operation under varying thermal and compositional conditions, adaptive fuzzy control algorithms are employed to maintain process equilibrium, while quantum-inspired optimization techniques adjust control parameters in real time. Advanced modeling and control design approaches based on equilibrium theory have been widely applied to distillation and extraction columns to improve separation efficiency and operational stability under nonlinear conditions [6]. Recent studies have demonstrated that hybrid quantum-fuzzy control strategies significantly improve adaptability, robustness, and energy efficiency in complex thermal and industrial systems, including large-scale steam heating and power generation units. This hybrid control architecture mitigates phase instability, suppresses deposit formation, and improves overall extraction efficiency. The implementation of such an intelligent control strategy enables the maintenance of a stable pressure–temperature balance and high productivity, even under fluctuating operating loads and environmental disturbances [7,8].
In modern control engineering, the integration of adaptive fuzzy logic with quantum-inspired optimization principles offers an effective solution for managing the complex, nonlinear, and uncertain behavior of petroleum extraction systems. Quantum-fuzzy inference approaches have been shown to significantly enhance the robustness and adaptability of intelligent control systems by combining fuzzy reasoning with quantum-inspired probabilistic exploration [9]. In such systems, pressure, temperature, and phase composition within the extraction column vary dynamically in response to changing operational and environmental conditions. The application of a hybrid quantum-fuzzy control scheme enables parallel exploration of multiple solution pathways, resulting in faster convergence, higher accuracy, and enhanced stability in maintaining optimal process parameters [10,11].
This study addresses the challenges associated with multiphase mass-transfer and thermodynamic processes occurring within petroleum extraction columns. The extraction process involves complex interactions among vapor-liquid equilibrium behavior, hydrocarbon concentration gradients, and pressure variations along the column height, resulting in strongly nonlinear and energy-intensive system dynamics [12]. Effective control of these parameters ensures uniform phase separation, reduces energy consumption, and improves overall hydrocarbon recovery efficiency, whereas inadequate regulation may lead to unstable flow regimes, reduced productivity, and increased operational costs [13].
The proposed adaptive fuzzy control system, augmented by quantum-inspired optimization, provides real-time adjustment of control parameters to maintain pressure–temperature equilibrium and stabilize extraction performance. Unlike conventional PID-based control schemes with fixed gain coefficients, the quantum-inspired adaptive fuzzy controller continuously adapts its membership functions and control rules based on real-time process feedback, ensuring robust and efficient operation under fluctuating load and environmental conditions [14,15].
Quantum-inspired algorithms emulate the functional behavior of quantum gates-such as superposition and interference-to explore multiple optimization pathways in parallel, enabling global rather than locally trapped solutions. Within the hybrid control framework, the fuzzy inference mechanism generates expert-derived control rules, while the quantum-inspired optimization layer continuously refines these rules to maintain phase-flow stability, uniform pressure distribution, and consistent hydrocarbon composition along the extraction column [16,17].
Computational modeling and simulation results demonstrate that the proposed hybrid control architecture substantially improves process stability, reduces energy consumption, and enhances the overall efficiency of petroleum extraction systems. These findings indicate a high potential for industrial-scale deployment and further advancement of intelligent control methodologies in the petroleum sector [18,19].
The novelty of this study lies in the integration of quantum-inspired optimization into an adaptive fuzzy control framework specifically applied to petroleum extraction columns. Unlike conventional PID-based or fixed-parameter fuzzy control approaches reported in the literature, the proposed method enables real-time self-tuning of fuzzy membership functions and rule weights using quantum-inspired probabilistic exploration. This hybrid control architecture enhances adaptability, convergence speed, and robustness under nonlinear and dynamically varying operating conditions. Furthermore, the proposed approach provides a systematic and reproducible control-oriented modeling framework implemented in MATLAB/Simulink, offering practical relevance for industrial extraction processes.
To provide a clear overview of the petroleum extraction process and to illustrate the main material and control flows considered in this study, a simplified functional representation of the extraction column is presented below.
Figure 1 illustrates a simplified functional scheme of the petroleum extraction column analyzed in this study. The feed stream enters the extraction column, where it interacts countercurrently with the solvent phase, enabling efficient mass transfer between the extract and raffinate streams. The overall extraction performance is governed by key process variables, including temperature distribution, solvent flow rate, and phase holdup along the column. These variables are dynamically regulated by the proposed adaptive quantum-inspired fuzzy control system to ensure stable operation and enhanced extraction efficiency under varying operating conditions.
Figure 1.
Simplified functional scheme of the petroleum extraction column with adaptive quantum-inspired fuzzy control.
To provide a clear overview of the petroleum extraction process and the main material and control flows considered in this study, a simplified functional scheme of the extraction column is presented in Figure 1.
Figure 1 analyzed in this study, showing the main material flows (feed, solvent, extract, and raffinate) and the adaptive quantum-fuzzy controller regulating the column operation.
However, existing studies lack a systematic control-oriented modeling framework that integrates quantum-inspired optimization with adaptive fuzzy control specifically for petroleum extraction columns. This study addresses this gap by proposing and validating a reproducible. A MATLAB/Simulink-based simulation model (R2025, MathWorks, Natick, MA, USA) is used to develop the hybrid control architecture.
2. Methodology
2.1. Phenomenological Model of the Petroleum Extraction Column
The petroleum extraction process considered in this study is carried out in a vertical industrial extraction column operating under continuous flow conditions. The column is modeled as a macroscopic process unit in which mass transfer between the solvent (n-hexane, Sigma-Aldrich, St. Louis, MO, USA) and hydrocarbon phases occurs along the column height. The extraction column is assumed to be a packed-type column with an effective height L, providing sufficient contact area for phase interaction. The operating temperature is maintained within the range of 320–360 K and is measured using a thermocouple (Omega Engineering, Norwalk, CT, USA), while the operating pressure is assumed to be constant and close to atmospheric conditions. The solvent-to-feed ratio is treated as a controllable process variable and varies within an industrially relevant range during operation. To ensure tractable modeling and control-oriented analysis, the following assumptions are adopted: (I) the process operates under quasi-steady thermal conditions; (II) the solvent and hydrocarbon phases are ideally mixed within each effective control volume; (III) mass transfer is governed by equilibrium relationships consistent with Henry’s law; (IV) physical properties are assumed constant within the considered operating range. Based on these assumptions, the extraction column is represented using a phenomenological modeling approach that captures the dominant mass-transfer and accumulation effects while remaining suitable for dynamic control design and simulation.
2.2. Mathematical Model of the Extraction Process
Quantum-inspired optimization techniques adopted in this study are conceptually grounded in established quantum control principles reported in the literature [20]. Quantum-Inspired Optimization (QIO) methods draw upon the principle of quantum superposition to enhance computational efficiency and maintain a diverse set of candidate solutions. In this framework, the classical binary states and are modeled in analogy to quantum superposed states, allowing a computational element to represent multiple potential solutions simultaneously [20,21]. Accordingly, the general form of a qubit-like variable can be expressed as a linear combination of the basis states:
where and are a complex numbers.
When measuring the system’s state using function the probability of detecting it in the state is , and the probability of detecting it in the state is . The sum of these probabilities must be equal to one, which is known as the normalization condition:
This formulation enables Quantum-Inspired Optimization algorithms—such as quantum-inspired evolutionary and annealing methods-to perform parallel exploration of the solution space, thereby improving convergence speed and increasing the probability of reaching globally optimal solutions under complex and nonlinear conditions [22,23].
In quantum-inspired optimization, the Dirac bra-ket formalism is adopted to represent computational states analogous to qubit configurations. The ket notation |ψ⟩ denotes a state vector in the solution space, whereas the bra notation |ψ⟩ represents its conjugate transpose. Together, these constructs provide a compact and formally consistent representation for describing the probabilistic structure of candidate solutions. Specifically:
- |0⟩ corresponds to the basis state representing one possible configuration of the optimization variable (analogous to the “zero” state of a qubit), and
- |1⟩ denotes the complementary basis state (analogous to the “one” state).
In the QIO framework, linear combinations of these basis states allow the construction of superposed solution vectors, enabling the algorithm to represent multiple candidate optima simultaneously during the search process:
In the framework of Quantum-Inspired Optimization (QIO), the Hadamard (H) operator is employed to generate superposed candidate solution states within the computational basis. By distributing probabilistic amplitudes across all basis states, the operator enables parallel exploration of multiple potential solutions, thereby enhancing diversity within the search process, as described in.
Mathematically, the Hadamard operator is represented in matrix form as:
The study investigates the application of quantum-inspired optimization methods in the adaptive fuzzy control of petroleum extraction columns. These systems exhibit strongly nonlinear behavior driven by coupled thermal and mass-transfer interactions. The proposed hybrid approach integrates fuzzy logic with quantum-inspired optimization to enable automatic self-tuning of control parameters and to maintain process stability under uncertainty [24].
The mathematical model of the extraction column incorporates three fundamental components:
- Material balance equations-describing changes in component concentrations across column stages;
- Energy balance equations—representing heat exchange, phase transitions, and thermodynamic effects;
- Kinetic relationships-linking mass-transfer rates with temperature, diffusion properties, and solvent composition.
2.2.1. Material Balance
The dynamic model of the petroleum extraction column can therefore be formulated by combining these relationships. In particular, the material balance equations describe the temporal evolution of hydrocarbon and solvent concentrations within each stage of the column. To ensure physical interpretability and reproducibility, the extraction column is described using a one-dimensional spatial coordinate along its height. The process variables are formulated as distributed parameters varying along the vertical axis of the extractor:
where Ci-is the concentration of component i, Fin is the feed rate, and ri is the extraction rate.
Equation (6) represents a lumped-parameter material balance model, in which concentration dynamics are described as spatially averaged values over the extraction column. In this formulation, spatial variations along the column height are neglected, and the model captures the dominant temporal behavior of the extraction process. For physical interpretation and further model extension, the spatial coordinate z is introduced to represent the axial position along the column height. The variable z is used in the phenomenological description and graphical representation of the extractor geometry, but it is not explicitly included in the lumped dynamic balance of Equation (6).
2.2.2. Energy Balance
The energy balance equation describes the thermal behavior of the extraction column under operating conditions. Energy balance equation governs heat transfer and phase transformation:
ensuring temperature stability along the column height.
2.2.3. Kinetic and Mass-Transfer Relations
Kinetic relation defines the extraction rate as a nonlinear function of temperature T, solvent ratio S, and mass-transfer coefficient km:
The mass transfer equations for the extraction process of petroleum products are described by the following system of equations, taking into account the fulfillment of Henry’s law:
C1, C2—concentrations of purified and untreated oil components, E—equilibrium concentrations of oil components, V—component separation rate, f(u)—a control signal with a small characteristic, z—the height of the mixture in the extractor, R1, R2—constant coefficients, which are determined by the physical properties of phase separation and the geometric characteristics of the column, l—extractor height.
Currently, in the development of control systems, the mathematical representation of the petroleum extraction process is commonly formulated as a regression equation to construct the corresponding process model:
where —is the function of the output variable Y; — are the input and error functions.
The dynamic object modeling algorithm can be changed in the view as follows:
where I—model identifier; —a single-valued logical predicate defined in a set X; —an image that represents a set of several properties of the algorithm being modeled; —input variables of the computational model; —output variables of the computational model; —set of variables; —X determinants and Y values that is the domain of application of the model given by the domain of the pair.
Then the initial model components are represented by elementary model components as follows:
—The projection of a set onto a hypersurface whose components are vector Zi.
Based on the mathematical model, a control-oriented representation is formulated by selecting extract composition and solvent flow rate as controlled variables.
2.3. Control-Oriented Model of the Petroleum Extraction Column
Based on the phenomenological and mathematical descriptions, a control-oriented model is formulated to enable systematic controller design and reproducible implementation. The objective of the control system is to maintain stable extraction performance under nonlinear and time-varying operating conditions. The control inputs are defined as the deviation between the reference and measured process variables. In particular, the primary input to the controller is the control error e(t), defined as the difference between the desired extract composition xE, ref and the measured extract composition xE. The rate of change in the error de(t)/dt is used as an additional dynamic input to improve transient response.
The manipulated variable u(t) represents the actuator signal applied to the extraction column. In the present study, u(t) corresponds to the solvent flow rate adjustment, which directly influences mass-transfer intensity and phase equilibrium within the column. This control signal can be interpreted as a valve opening or pump speed command in an industrial implementation. The control-oriented state variables include the extract composition xE, raffinate composition xR, and solvent-to-feed ratio. These variables are selected because they directly reflect separation efficiency and are measurable or estimable in industrial extraction systems. The overall control structure consists of a hierarchical architecture. At the lower level, a classical PID controller provides baseline stabilization of the extraction process. At the supervisory level, an adaptive fuzzy controller modifies the effective control action by processing the error e(t) and its derivative de(t)/dt using a rule-based inference mechanism. The fuzzy inference system employs two input variables (e, de/dt) and one output variable (Δu). A Mamdani-type fuzzy controller is adopted, using triangular membership functions for all linguistic variables. The fuzzy rule base consists of 25 rules, constructed based on expert knowledge of extraction dynamics and process sensitivity. To enhance adaptability and avoid manual tuning, a quantum-inspired optimization layer is integrated above the fuzzy controller. The quantum-inspired optimization layer adjusts the centers and widths of triangular membership functions as well as fuzzy rule weights in real time based on control performance metrics. This layer optimizes the fuzzy membership function parameters and rule weights in real time. The quantum-inspired algorithm probabilistically explores multiple candidate parameter configurations in parallel and updates the fuzzy controller parameters based on control performance metrics, such as settling time and steady-state error. As a result, the quantum layer does not generate control actions directly, but instead supervises and optimizes the fuzzy control structure, ensuring improved convergence, robustness, and reproducibility compared to classical PID and fixed-parameter fuzzy controllers.
2.4. MATLAB/Simulink Implementation
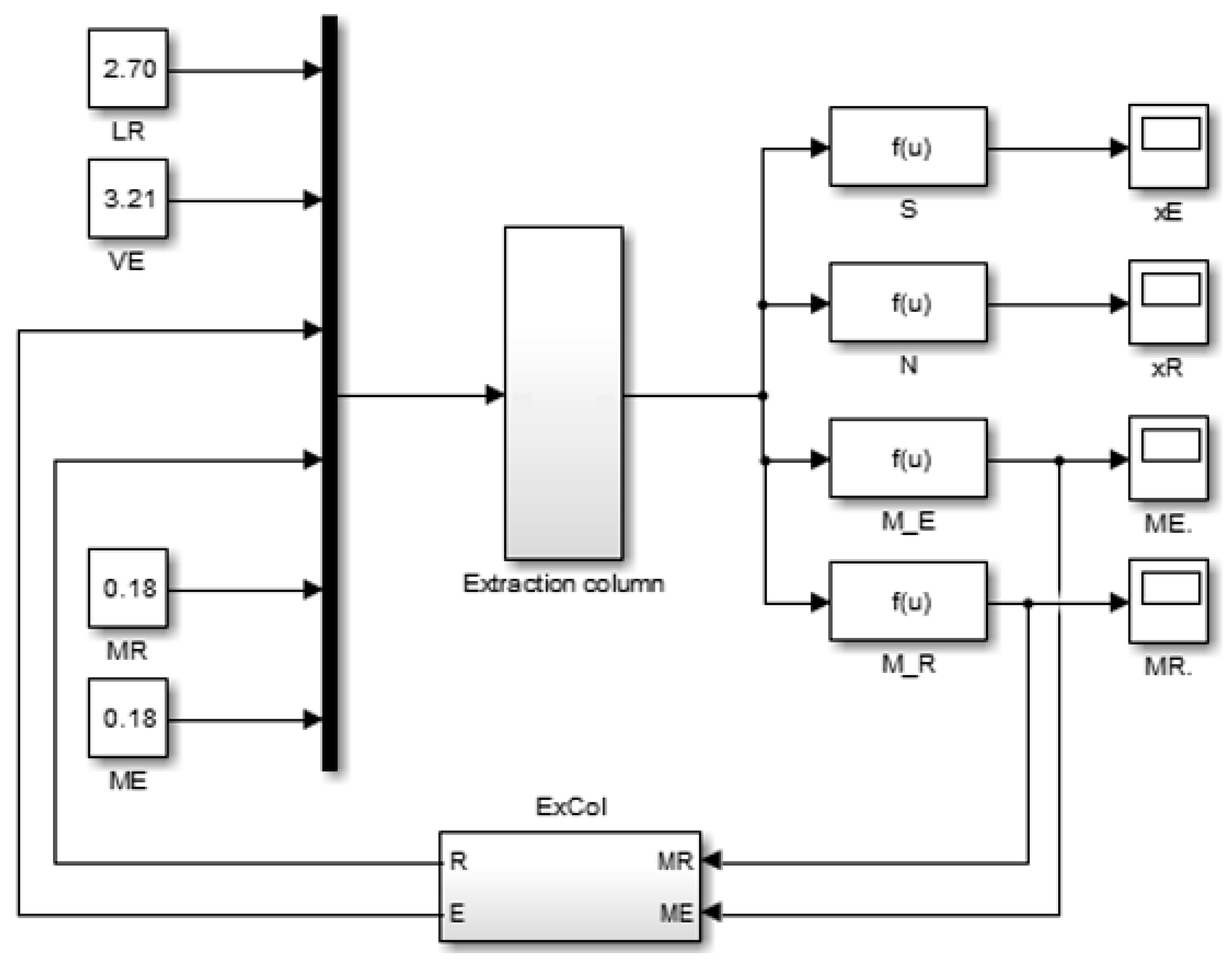
The MATLAB/Simulink environment was used to implement the mathematical and control model of the petroleum extraction column. The developed Simulink block diagram (Figure 2) represents the integrated computational structure of the extraction dynamics together with the intelligent control subsystem. Within this architecture, the adaptive fuzzy controller continuously regulates the solvent flow rate and phase holdup, while the quantum-inspired optimization module provides real-time adaptive tuning of the fuzzy membership functions to achieve optimal mass-transfer efficiency and ensure process stability under varying operating conditions.
Figure 2.
Computer model of the petroleum extraction column. LR—solvent-to-feed ratio; VE—feed flow rate; MR—raffinate phase holdup; ME—extract phase holdup; S—solvent-related output signal; N—internal process state variable; xE—extract composition; xR—raffinate composition; f(u)—nonlinear control function; u—control signal generated by the hybrid quantum-inspired fuzzy controller, M_E—extract phase holdup; M_R—raffinate phase holdup, u—control signal generated by the hybrid quantum-inspired fuzzy controller.
In this research, a quantum-inspired adaptive control strategy is developed for the petroleum extraction process, which exhibits highly nonlinear and time-varying behavior. The proposed method integrates a quantum-inspired optimization layer into the fuzzy inference control system, thereby enhancing adaptability, precision, and stability under fluctuating extraction conditions.
Based on the above quantum-inspired optimization principles, the overall control architecture is structured as a hierarchical supervisory system. The conceptual functional layout of the proposed quantum-inspired fuzzy control strategy is illustrated in Figure 3. In this architecture, the quantum-inspired optimization layer does not directly generate control signals; instead, it supervises the adaptive fuzzy inference system by continuously updating membership-function parameters and fuzzy rule weights, while the baseline PID controller ensures primary stabilization of the extraction process.
Figure 3.
Conceptual functional structure of the proposed hierarchical quantum-inspired fuzzy control architecture for the petroleum extraction column.
The colored dashed arrow indicates the feedback optimization link between the quantum-inspired optimization layer and the adaptive fuzzy inference system, representing the online adjustment of membership functions and rule weights. The control architecture draws inspiration from the Quantum-Inspired Optimization Algorithm (QIOA), which emulates key principles of the Quantum Approximate Optimization Algorithm (QAOA) to identify near-optimal control actions within a multidimensional process space. In this framework, the fuzzy rule base-derived from process data and expert knowledge of mass-transfer dynamics-is represented as a set of quantum-inspired state vectors. These states are iteratively updated through Hadamard, phase-shift, and controlled-NOT (CNOT) operations, enabling parallel evaluation of multiple control scenarios under varying extraction conditions.
As a result, the quantum-inspired fuzzy controller adaptively regulates key process parameters-such as solvent flow rate, extract composition, and phase holdup-resulting in faster convergence, higher extraction efficiency, and reduced energy consumption compared with conventional fuzzy controllers and PID-based schemes. By combining the robustness of fuzzy logic with the global search capability of quantum-inspired computation, the system exhibits enhanced adaptability, improved stability, and higher control precision within the highly nonlinear and time-varying environment of petroleum extraction columns.
The adaptive fuzzy inference system uses the tracking error e(t) and its derivative de(t)/dt as inputs and generates the incremental control action Δu(t). Adaptation is achieved by adjusting membership-function parameters and fuzzy rule weights. The quantum-inspired optimization layer (QIO) operates as a supervisory mechanism that performs global parameter optimization and does not directly generate control signals.
Based on the above quantum-inspired optimization principles, the proposed control strategy is implemented in a dynamic simulation environment, and the complete MATLAB/Simulink realization of the hybrid PID-fuzzy-QIO control architecture is presented in Figure 4.
Figure 4.
MATLAB/Simulink implementation of the proposed hybrid quantum-inspired adaptive fuzzy control system for the petroleum extraction column.
As shown in Figure 4, the quantum-inspired optimization layer does not directly generate control signals but supervises the adaptive fuzzy controller by optimizing its parameters, forming a hierarchical control structure.
3. Result and Discussion
The simulation and computational experiments conducted on the hybrid quantum-inspired fuzzy control system for intelligent regulation of petroleum extraction columns demonstrate significant improvements in extraction efficiency, control stability, and response accuracy. Figure 5a depicts the transient response of the system output, illustrating the dynamic evolution of the extract concentration (xE) and raffinate purity (xR) over time. The proposed quantum-inspired fuzzy controller successfully maintained the product compositions within their optimal operating ranges, exhibiting strong robustness against fluctuations in feed composition, solvent ratio, and temperature.
Figure 5.
Graph of the transient process of the hybrid automatic control system: (a) 1—Classic PID controller; 2—quantum fuzzy controller; (b) control signal generated by the quantum controller.
Furthermore, Figure 5b presents the control signal generated by the quantum-optimization layer during the extraction regulation process. The signal profile illustrates the adaptive behavior of the quantum decision module, which rapidly adjusts control actions-such as solvent flow rate and phase holdup-in response to real-time process variations.
The hybrid quantum-inspired fuzzy control system developed for the intelligent regulation of petroleum extraction columns demonstrates significant improvements in extraction efficiency and system controllability. Control performance improvement was quantified based on settling time reduction, steady-state error minimization, and extract composition deviation metrics. Based on the results of simulation modeling and computational experiments, the proposed control architecture successfully stabilizes the extract composition and phase holdup within their optimal operating ranges, compensating for process nonlinearities and disturbances inherent to extraction dynamics. This energy-efficient, quantum-optimized control strategy ensures balanced operation and stable mass-transfer behavior under variable feed and solvent conditions, thereby enhancing overall process reliability and reducing energy consumption compared with conventional PID-based methods.
The quantum decision-making module, embedded within the adaptive fuzzy control framework, enables real-time optimization of control actions by dynamically tuning fuzzy rule weights and membership functions according to process feedback. This adaptive intelligence enhances both mass-transfer efficiency and dynamic stability of the extraction process, significantly outperforming classical controllers in response speed, robustness, and convergence accuracy.
Overall, the results confirm that the proposed quantum-inspired fuzzy logic control system exhibits strong self-tuning behavior and consistently maintains high performance even under wide variations in operating parameters and external disturbances. Consequently, this hybrid quantum-based control strategy constitutes a highly efficient and resilient solution for managing multiphase separation and extraction processes in advanced petroleum recovery systems, ensuring optimal operational stability and improved energy sustainability.
All control strategies were evaluated under identical operating conditions and disturbance profiles, including variations in feed composition, solvent-to-feed ratio, and temperature, to ensure consistent and reproducible performance comparison.
The developed mathematical model and the quantum-inspired adaptive fuzzy control system for the petroleum extraction process demonstrated several key advantages in optimizing extraction performance and energy use.
In addition to the dynamic performance improvements observed in the transient response analysis, the quantitative comparison of control strategies summarized in Table 1 demonstrates that the implementation of the hybrid quantum-inspired fuzzy control strategy reduces solvent consumption by approximately 20–25% under variable operating conditions. This reduction in solvent usage leads to a measurable improvement in energy efficiency and overall economic performance of the extraction column. Furthermore, the proposed control system exhibits strong resilience to fluctuations in feed composition, solvent-to-feed ratio, and temperature, maintaining stable separation efficiency across nonlinear and dynamically varying operating regimes.
Table 1.
Comparative performance indicators of the petroleum extraction column under different control strategies.
The application of the quantum-inspired optimization mechanism enabled precise real-time adjustment of the control parameters, minimizing oscillations in extract composition and phase holdup and thus ensuring rapid stabilization of the process variables. This adaptive quantum-fuzzy coordination significantly improved overall mass-transfer stability and process controllability, outperforming conventional PID and fuzzy-only control systems in both accuracy and adaptability.
Overall, the key outcomes of this study can be summarized as follows: (I) the proposed quantum-inspired adaptive fuzzy control system significantly reduces solvent consumption and settling time compared to classical PID and conventional fuzzy controllers; (II) the adaptive self-tuning mechanism enhances control robustness under varying operating conditions; and (III) the improved control performance contributes to measurable energy savings and more stable extraction operation. These key findings highlight the practical advantages of the proposed approach for industrial extraction processes.
4. Conclusions
The conducted modeling and simulation studies of the petroleum extraction process demonstrate the high efficiency of the quantum-inspired adaptive fuzzy control system in stabilizing extraction dynamics and improving energy utilization. The developed mathematical model accurately captures the nonlinear behavior of the extraction column and enables real-time optimization of key process parameters such as solvent flow rate, extract concentration, and phase holdup.
The quantum-inspired control algorithm achieved up to a 23% reduction in solvent and energy consumption and an average improvement of 1–1.8% in extraction efficiency compared with classical PID control. The system maintained stable separation conditions, minimized transient oscillations, and ensured robust operation under variations in feed composition and external process disturbances.
By integrating quantum decision-making with fuzzy inference, the proposed hybrid control structure achieved adaptive, self-organizing regulation, providing reliable and energy-efficient control for modern petroleum extraction systems.
Author Contributions
Conceptualization, N.Y. and K.U.; methodology, K.U. and N.Y.; formal analysis, S.S.; investigation, N.Y., K.U. and F.S.; resources, S.S.; data curation, K.U.; writing—original draft preparation, S.S. and K.U.; writing—review and editing, F.S. and N.Y.; visualization, S.S. and K.U.; supervision, N.Y. and F.S. All authors have read and agreed to the published version of the manuscript.
Funding
This research received no external funding.
Institutional Review Board Statement
Not applicable.
Informed Consent Statement
Not applicable.
Data Availability Statement
The data presented in this study are available on request from the corresponding author.
Conflicts of Interest
The authors declare no conflicts of interest.
References
- Godhavn, J.-M.; Strand, S.; Skofteland, G. Increased oil production by advanced control of receiving facilities. IFAC Proc. Vol. 2005, 38, 567–572. [Google Scholar] [CrossRef]
- Liao, R.F.; Chan, C.W.; Hromek, J.; Huang, G.H.; He, L. Fuzzy Logic Control for a Petroleum Separation Process. Eng. Appl. Artif. Intell. 2008, 21, 835–845. [Google Scholar] [CrossRef]
- Morles, E.C.; Canelon, M.A.R. Fuzzy Model Based Control: Application to an Oil Production Separator. In Proceedings of the 2008 IEEE Eighth International Conference on Hybrid Intelligent Systems, Barcelona, Spain, 10–12 September 2008; pp. 750–757. [Google Scholar]
- Jonach, T.; Haddadi, B.; Jordan, C.; Harasek, M. Dynamic Simulation of a Gas and Oil Separation Plant with Focus on the Water Output Quality. Energies 2023, 16, 4111. [Google Scholar] [CrossRef]
- Russell, B.P.; LeVan, M.D. Group-Contribution Theory for Adsorption of Gas Mixtures on Solid Surfaces. Chem. Eng. Sci. 1996, 51, 4025–4038. [Google Scholar] [CrossRef]
- Tan, H.; Cong, L. Modeling and Control Design for Distillation Columns Based on the Equilibrium Theory. Processes 2023, 11, 607. [Google Scholar] [CrossRef]
- Ali, A.A.; Abdul-Majeed, G.H.; Al-Sarkhi, A. Review of Multiphase Flow Models in the Petroleum Engineering: Classifications, Simulator Types, and Applications. Arab. J. Sci. Eng. 2025, 50, 4413–4456. [Google Scholar] [CrossRef]
- Poortalari, H.; Karimi Sabet, J.; Varaminian, F. Separation Performance Investigation of Packed Distillation Columns Using Simple NEQ Approach Based on Packing Multicomponent Efficiencies and Effective Mass Transfer Coefficients. Korean J. Chem. Eng. 2018, 35, 1151–1166. [Google Scholar] [CrossRef]
- Litvintseva, L.V.; Ul’yanov, I.S.; Ul’yanov, S.V.; Ul’yanov, S.S. Quantum Fuzzy Inference for Knowledge Base Design in Robust Intelligent Controllers. J. Comput. Syst. Sci. Int. 2007, 46, 908–961. [Google Scholar] [CrossRef]
- Yang, Q. Comparative techno-economic analysis of oil-based and coal-based ethylene glycol processes. Energy Convers. Manag. 2019, 198, 111814. [Google Scholar] [CrossRef]
- Yin, C.; Rosendahl, L.; Luo, Z. Methods to Improve Prediction Performance of ANN Models. Simul. Model. Pract. Theory 2003, 11, 211–222. [Google Scholar] [CrossRef]
- Chouai, A.; Cabassud, M.; Le Lann, M.V.; Gourdon, C.; Casamatta, G. Multivariable Control of a Pulsed Liquid-Liquid Extraction Column by Neural Networks. Neural Comput. Appl. 2000, 9, 181–189. [Google Scholar] [CrossRef]
- Precup, R.-E.; Hellendoorn, H. A Survey on Industrial Applications of Fuzzy Control. Comput. Ind. 2011, 62, 213–226. [Google Scholar] [CrossRef]
- Hou, G.; Gong, L.; Huang, C.; Zhang, J. Novel fuzzy modeling and energy-saving predictive control of coordinated control system in 1000 MW ultra-supercritical unit. ISA Trans. 2019, 86, 48–61. [Google Scholar] [CrossRef] [PubMed]
- Yakubova, N.; Usmanov, K.; Turakulov, Z.; Eshbobaev, J. Application of Quantum Computing Algorithms in the Synthesis of Control Systems for Dynamic Objects. Eng. Proc. 2025, 87, 68. [Google Scholar]
- Baczyński, M.; Grzegorzewski, P.; Mesiar, R.; Helbin, P.; Niemyska, W. Fuzzy Implications Based on Semicopulas. Fuzzy Sets Syst. 2017, 323, 138–151. [Google Scholar] [CrossRef]
- Usmanov, K.; Eshbobaev, J.; Yakubova, N. Modeling and Optimization of the Ammonium Solution Extraction Process. Eng. Proc. 2023, 56, 198. [Google Scholar]
- Vogel-Heuser, B.; Diedrich, C.; Fay, A.; Jeschke, S.; Kowalewski, S.; Wollschlaeger, M.; Göhner, P. Challenges for Software Engineering in Automation. J. Softw. Eng. Appl. 2014, 7, 440–451. [Google Scholar] [CrossRef]
- Benndorf, J.; Jansen, J.D. Recent Developments in Closed-Loop Approaches for Real-Time Mining and Petroleum Extraction. Math. Geosci. 2017, 49, 277–306. [Google Scholar] [CrossRef]
- Dong, D.; Petersen, I.R. Quantum Control Theory and Applications: A Survey. IET Control Theory Appl. 2010, 4, 2651–2671. [Google Scholar] [CrossRef]
- Han, K.-H.; Kim, J. Quantum-inspired evolutionary algorithm for a class of combinatorial optimization. IEEE Trans. Evol. Comput. 2002, 6, 580–593. [Google Scholar] [CrossRef]
- Farhi, E.; Goldstone, J.; Gutmann, S. A Quantum Approximate Optimization Algorithm. arXiv 2014, arXiv:1411.4028. [Google Scholar] [CrossRef]
- Nielsen, M.A.; Chuang, I.L. Quantum Computation and Quantum Information: 10th Anniversary Edition, 1st ed.; Cambridge University Press: Cambridge, UK, 2012. [Google Scholar]
- Yakubova, N.; Istanbullu, A.; Siddiqov, I.; Usmanov, K. Hybrid Quantum-Fuzzy Control for Intelligent Steam Heating Management in Thermal Power Plants. Eng. Proc. 2025, 117, 33. [Google Scholar]
Disclaimer/Publisher’s Note: The statements, opinions and data contained in all publications are solely those of the individual author(s) and contributor(s) and not of MDPI and/or the editor(s). MDPI and/or the editor(s) disclaim responsibility for any injury to people or property resulting from any ideas, methods, instructions or products referred to in the content. |
© 2025 by the authors. Licensee MDPI, Basel, Switzerland. This article is an open access article distributed under the terms and conditions of the Creative Commons Attribution (CC BY) license (https://creativecommons.org/licenses/by/4.0/).




