Abstract
This paper presents an adaptive event-triggered control strategy for guaranteeing predefined tracking performance of uncertain nonlinear underactuated underwater vehicles (UUVs) in the three-dimensional space. Compared with the related results in the literature, the main contribution of this paper is to develop a nonlinear error transformation approach for ensuring predefined three-dimensional tracking performance under the underactuated property of 6-DOF UUVs and limited network resources. A nonlinear tracking error function is designed using a linear velocity rotation matrix and a time-varying performance function. An adaptive event-triggered control scheme using the nonlinear tracking error function and neural networks is constructed to ensure the practical stability of the closed-loop system with predefined three-dimensional tracking performance. In the proposed control scheme, auxiliary stabilizing signals are designed to resolve the underactuated problem of UUVs. Simulation results are presented to illustrate the effectiveness of the theoretical methodology.
1. Introduction
Control of nonlinear underwater vehicles is attracting much research attention recently, due to its practical application in submarine survey, exploration, oceanographic mapping, and region search for deep-sea wrecks [1,2,3,4,5,6]. The initial studies have focused on the planar or depth control design of underwater vehicles in the two-dimensional space [7,8,9,10,11]. However, these studies in the two-dimensional space provide limited solutions to various tracking problems in the practical three-dimensional underwater environment. For more practical application, three-dimensional control approaches have been studied for nonlinear underwater vehicles described by 5-degrees-of-freedom (5-DOF) or 6-DOF kinematics and dynamics. In [12], a path following controller was designed for 5-DOF underwater vehicles with ocean current disturbances. A ocean current observer to detect an external current was designed for trajectory tracking of 5-DOF underactuated underwater vehicles (UUVs) [13]. In [14,15], fuzzy-based or neural-network control techniques were developed for uncertain 5-DOF UUVs with external disturbances. To deal with uncertain 6-DOF models with the roll motion, three-dimensional trajectory tracking control designs were developed using several control techniques such as backstepping control [16,17] and sliding mode control [18]. However, in the aforementioned results, the transient and steady-state performance metrics of tracking errors cannot be designed a priori. To preselect the tracking performance metrics of underwater vehicles, the prescribed performance design technique [19] has been combined with the control methodologies of underwater vehicles [20,21,22,23]. In [21], a region tracking controller with predefined transient performance was designed for fully actuated underwater vehicles in presence of an ocean current and a thruster fault. Neural-network-based prescribed performance control designs were investigated for uncertain 5-DOF UUVs [22] and 6-DOF fully actuated underwater vehicles [20]. In [23], a prescribed performance control design was developed for 6-DOF UUVs. Despite these efforts, the controllers designed in [20,21,22,23] should be continuously updated and thus cannot be used in the network-based control environment with limited communication bandwidth. Since underwater acoustic communication has limited bandwidth, low propagation speed, and high energy consumption, the data transmission for the network-based control should be kept to a minimum amount [24]. Thus, it is significant to investigate an event-triggered control design issue for ensuring predefined three-dimensional tracking performance under the underactuated property of 6-DOF UUVs and limited network resources.
Event-triggered control strategies have been proposed to address control problems of linear and nonlinear systems under capacity-limited networks [25,26,27,28]. In the event-triggered control, the signal transmission burden can be reduced in the communication network because control inputs are executed only when certain triggering conditions are satisfied. Owing to this advantage, adaptive event-triggered control approaches have been actively developed for uncertain nonlinear systems [29,30,31,32]. However, the event-triggered control of underwater vehicles was only studied to design a depth controller in the two-dimensional space [33]. To the best of our knowledge, no studies have been reported thus far on the event-triggered control problem for ensuring predefined three-dimensional tracking performance of uncertain 6-DOF UUVs.
On the basis of the above discussion, the purpose of this paper is to present an adaptive event-triggered control strategy with predefined three-dimensional tracking performance for uncertain nonlinear 6-DOF UUVs. It is assumed that all nonlinearities in the dynamics of the UUV are unknown. Compared with the related results [20,21,22,23,33] in the literature, the main contribution of this study is to develop an error-transformation-based adaptive event-triggered tracking law for achieving predefined three-dimensional tracking performance while overcoming the underactuated problem of the nonlinear 6-DOF dynamics. To this end, a nonlinearly transformed tracking error function using a linear velocity rotation matrix and a time-varying performance function is presented. A neural-network-based adaptive event-triggered control scheme is recursively designed to ensure predefined three-dimensional tracking performance of the uncertain UUV where neural networks are employed to approximate unknown nonlinearities. In the proposed control scheme, auxiliary stabilizing signals using neural networks are derived to deal with the underactuated control design problem. We rigorously prove that the resulting event-triggered tracker ensures the practical stability of the closed-loop system and the exclusion of Zeno behavior.
The rest of this paper is outlined as follows. In Section 2, we introduce the 6-DOF kinematics and dynamics of uncertain nonlinear UUVs and formulate the predefined three-dimensional tracking performance control problem. A neural-network-based adaptive event-triggered tracker is constructed using the nonlinearly transformed tracking error function and the auxiliary stabilizing signals, and the closed-loop stability is analyzed in Section 3. Simulation studies are given in Section 4. Finally, we conclude in Section 5.
2. Problem Formulation
The kinematics for the position and attitude of an UUV can be described by
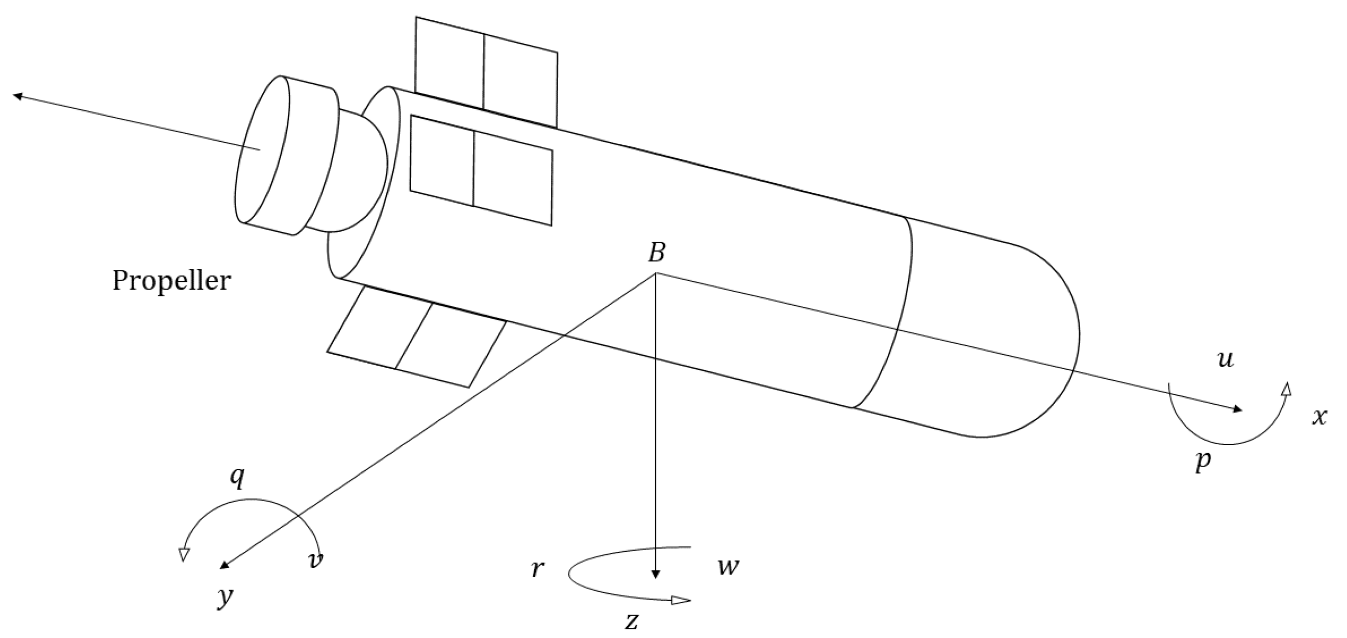
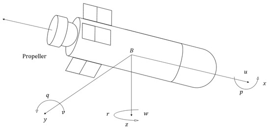
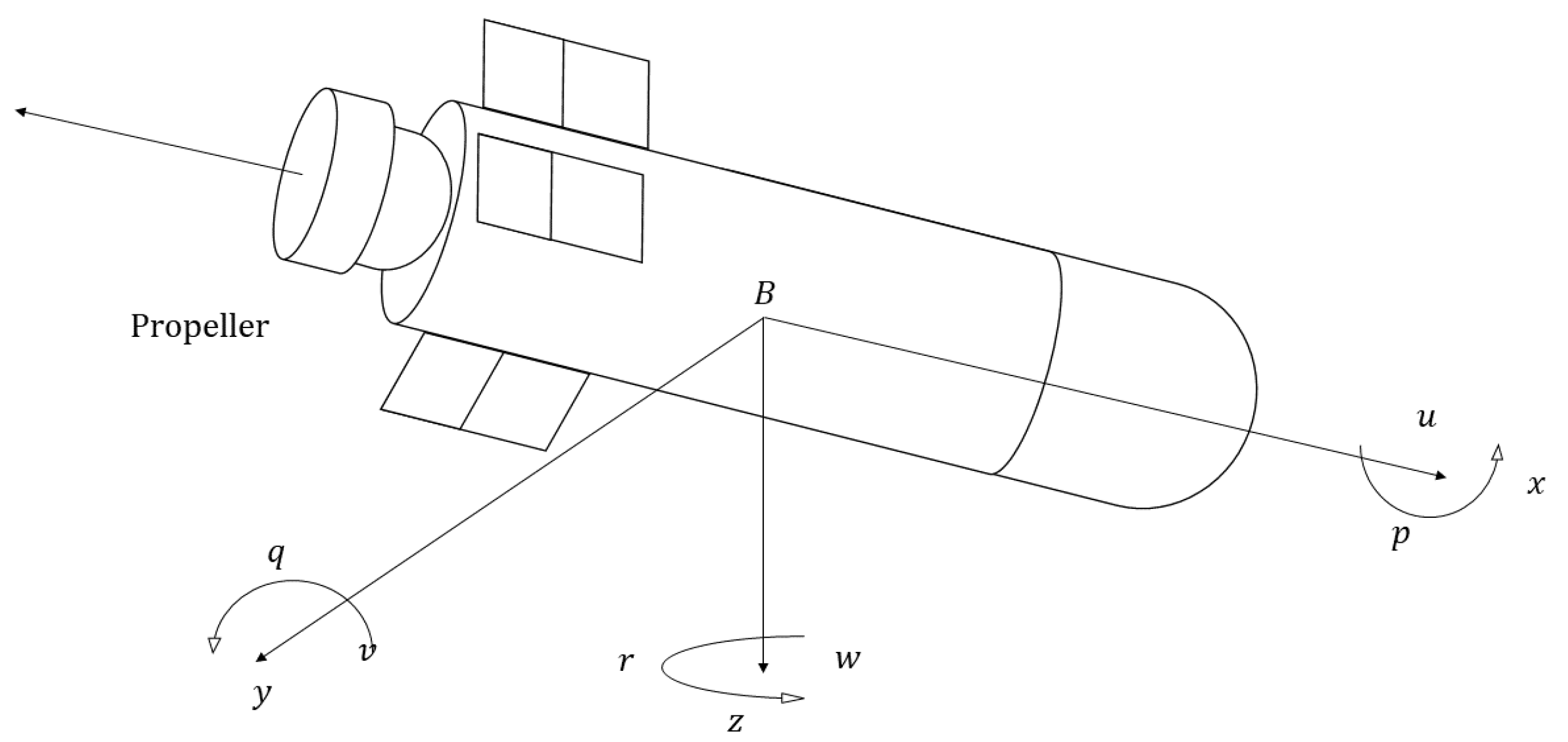
where ; x, y, and z are the positions of the center of gravity in an inertial coordinate frame, ; , , and denote roll, pitch, and yaw angles, respectively, ; u, v, and w are surge, sway, and heave velocities, respectively, and ; p, q, and r denote the roll, pitch, and yaw angular velocities in the body-fixed frame, respectively. Here, the linear velocity rotation matrix and and the angular velocity transformation matrix are given by
with , , and . The structure of the neutrally buoyant UUV concerned in this paper is depicted in Figure 1.
Figure 1.
The structure of the UUV.
The dynamics of the UUV is given by
where ; and are the matrix of the rigid-body mass and the added mass, respectively, is a vector derived by the Coriolis and damping matrices, is a vector induced from the gravitation and the buoyancy of the UUV, and is a vector denoting the control forces and moments. In this paper, the torpedo-shaped UUV model is considered to deal with the tracking problem. The torpedo-shaped UUV cannot move directly to the y- or z-direction in the body reference frame and the roll movement is undesirable in the practical UUV [34]. Thus, the underactuated torque vector is considered in this paper. The detailed definitions of M, C, and G are presented in Appendix A. For more details for the model of UUVs, see [35,36].
Assumption 1.
The nonlinear function vectorsandare unknown for the control design.
Assumption 2.
The desired three-dimensional trajectoryand its derivativesandare bounded.
Problem 1.
Our problem is to design an adaptive event-triggered control law τ for ensuring predefined three-dimensional tracking performance of the uncertain UUV described by (1) and (2) so that the position trajectory η of the UUV follows the desired trajectory in the three-dimensional space.
3. Adaptive Event-Triggered Control with Predefined Three-Dimensional Tracking Performance
In this section, an adaptive event-triggered control methodology using an error transformation function and stabilizing auxiliary signals is established to ensure predefined three-dimensional tracking performance of the UUV. The dynamic surface design procedure using the predefined performance concept is derived step by step.
Step 1: Let us consider the kinematics (1) and define the position errors . Then, to ensure predefined three-dimensional tracking performance under the underactuated property, we define the nonlinearly transformed error surface as
where , and denotes the radius of error surface with the design constant . Here, the design constant is selected relatively small compared to the length of the UUV, and , , is defined as
where and are design constants, and is the performance function with design parameters , , and satisfying and .
Lemma 1.
If, is ensured for allwhere.
Proof.
Let us define where . From the definition of , there exists a constant such that . Then, from , are bounded where . Thus, there exist constants and such that . Using the bijective property [37], it holds that . Owing to , we have for all . □
Remark 1.
In (3), and ρ are combined with the nonlinear error function vector Φ in order to design the underactuated control scheme with the predefined three-dimensional tracking performance. From Lemma 1, the boundedness of the error surface vector leads to the satisfaction of the inequality for all where . That is, the bounds of the transient and steady-state performance of the position errors can be predefined by selecting the design parameters , , and functions . Thus, the predefined three-dimensional tracking performance is ensured provided that . Accordingly, the primary focus of this study is to design an adaptive event-triggered control scheme for ensuring the boundedness of .
The time derivative of is represented by
where , with , , and . Here, is the diagonal matrix.
Then, we have
Using (6), we obtain that
where and
Here, means the element of the matrix H.
Using the dynamic surface design concept [38], we define the error surface vector with , , and , and the boundary layer error vector where is the virtual control vector and is the filtered signal vector of virtual control laws , , and that is obtained by the first-order low-pass filter
where is the small constant.
Using the error surface vector e and the boundary layer error c, (7) becomes
The virtual control vector is presented as
where ; , , are positive constants.
Substituting (10) to (9) gives
We choose a Lyapunov function . Then, the time derivative of is represented by
where due to the skew symmetric matrix K
Step 2: To design the underactuated torque vector , we define the error surface vector where and . Here, , , and in are the auxiliary stabilizing signals to be designed later.
Using (2), the time derivative of is obtained as
where .
For the online approximation of unknown nonlinear function vector , radial basis function neural networks [39] are employed. Then, F can be approximated over the compact set as follows
where denotes the input vector of radial basis function neural networks, the optimal weighting matrix is defined as satisfying with an unknown constant , with , is the Frobenius norm, denotes the Gaussian function vector ; with , and is a reconstruction error vector such as with an unknown constant .
An adaptive event-triggered tracking law is presented as
where denotes the update time of the control torque with , , and and are design constants. When the event-triggering condition (16) is satisfied, the tracking law is updated at and is set to given by
where ; , , and denote positive design parameters, , , and are estimates of , , and , respectively, with a constant , and denotes an estimate of . Here, , , are elements of the vector with . The dynamics of the auxiliary stabilizing signals , , and are designed as
where ; , , and are the positive design parameters, and
The adaptive laws for , , and are designed as
where , , ; , is a constant, , and are positive design constants.
Let us consider a Lyapunov function as
where and are estimation errors, , and means the trace of the matrix.
By substituting (13) and (14) into the time derivative of (21), is obtained as
It holds that and with and . Then, using the property for and the event-triggering condition (16), we have .
Then, using and the definition of the matrix M, we have
Substituting and (23) into (22) and using (17) and (18), we obtain
where .
Lemma 2.
[39]forand any positive constant ϑ.
By substituting (19) and (20) into (24) and using Lemma 2, becomes
Remark 2.
In the dynamics (2) of the torpedo-shaped UUV, the underactuated control torque vector should be designed. That is, the first, fifth, and sixth dynamic equations in (2) only have the control torques , , and , respectively. Thus, the the auxiliary stabilizing signals are required for the state equations for v, ω, and p (i.e., the second, third, and fourth dynamic equations in (2)). In this study, the auxiliary stabilizing signals , , and in (18) are presented to design the underactuated control torque vector while ensuring the predefined three-dimensional tracking performance and the stability of the closed-loop system. Because of these auxiliary stabilizing signals, the UUV dynamics (2) is stably controlled by using the only three control inputs , , and .
We analyze the predefined three-dimensional tracking performance and stability of the closed-loop system and the exclusion of Zeno behavior of the proposed event-triggered scheme in the following theorem.
Theorem 1.
Consider the kinematics and dynamics of the uncertain UUV (i.e., (1) and (2)). For initial conditions satisfying with a constant , the adaptive event-triggered tracking law (17) guarantees that
- (i)
- all the closed-loop signals are semi-globally uniformly ultimately bounded;
- (ii)
- the predefined three-dimensional tracking performance is ensured (i.e.,, , );
- (iii)
- there exists an inter-event timesuch that.
Proof.
The dynamics of the boundary layer error c is represented by
where and is a continuous function.
We define the Lyapunov function to prove this theorem. Using (12), (25), and (26), becomes
where is a continuous function. Using the inequalities , , and with constants , (27) becomes
where .
Let us define compact sets and with a constant . Then, there exists a constant such that on . By selecting with a constant , we have
where ; is the minimum eigenvalue of . Because of on , is satisfied on . Then, it is ensured that on when and thus denotes an invariant set. It is proved that all closed-loop signals are semi-global uniform ultimate bounded. This completes the proof of Theorem 1—(i).
By integrating with respect to time, we have . Using , it holds that . That is, is bounded (i.e., , ). From Lemma 1, the predefined three-dimensional tracking performance is ensured (i.e., , , ). This completes the proof of Theorem 1—(ii).
To show the exclusion of Zeno behavior of the proposed event-triggering scheme, we prove that there exists a minimum value of inter-event times such that for .
For all , we consider
where ; , , and are given by
From the boundedness of all the closed-loop signals, there exists a constant such that . Integrating during and using the event-triggering condition (16) yield . By defining , it holds that . This completes the proof of Theorem 1—(iii). □
4. Simulation Examples
The parameters of the UUV are borrowed from [35]. The reference signal is given by and the initial position of the UUV is set to . The control parameters of the UUV are chosen as , , , , , , , , and where and . The parameters for performance functions are selected as , , , , , , , , , , , , , , and . For the event-triggering condition, we set and . The event-triggering condition is checked every the sampling time 0.005 s.
The three-dimensional tracking result is shown in Figure 2. In Figure 2, the UUV follows the desired trajectory with good performance. Figure 3 depicts the position tracking errors. Figure 3 reveals that the time responses of the position errors remain within the predefined time-varying performance bounds and for all . The mean square errors of the position errors at the steady-state response are presented in Table 1 where the steady-state response is set to the position errors for s. The outputs of the neural networks are displayed in Figure 4. The event-triggered underactuated control inputs for the UUV are shown in Figure 5. Figure 6 shows the triggered time intervals and the cumulative number of events of the proposed event-triggered control laws. The number of total events of the proposed event-triggered tracker is 2164. Thus, the data required for implementing the proposed tracker are only of the total sampled data 12,000 during 60 s. This implies that the proposed event-triggered control scheme can save the signal transmission burden. From these results, we can see that predefined three-dimensional tracking performance under the underactuated property of the uncertain nonlinear 6-DOF UUV can be achieved by the proposed adaptive event-triggered tracking methodology.
Figure 2.
Three-dimensional tracking result.
Figure 3.
Tracking errors and performance bounds (a) , , and (b) , , and (c) , , and .
Table 1.
Mean square errors of , , and at the steady-state response.
Figure 4.
Outputs of neural networks (a) (b) (c) (d) (e) (f) .
Figure 5.
Event-triggered control laws (a) (b) (c) .
Figure 6.
Inter-event times and the cumulative number of events (a) inter-event times (b) the cumulative number of events.
5. Conclusions
We presented an adaptive event-triggered control method for ensuring predefined three-dimensional tracking performance of uncertain nonlinear 6-DOF UUVs. The nonlinearly transformed error function and the auxiliary stabilizing signals were derived for achieving predefined three-dimensional tracking performance while overcoming the underactuated problem of the nonlinear 6-DOF dynamics. It was shown that the adaptive event-triggered tracker using neural networks achieves the practical stability and predefined tracking performance of the closed-loop system. The main contribution of this work to the event-triggered control of uncertain nonlinear 6-DOF UUVs is that the predefined three-dimensional tracking performance under the underactuated dynamics can be admitted than the conventional event-triggered techniques of underwater vehicles in the two-dimensional space.
Author Contributions
Conceptualization, methodology, software, writing—original draft preparation, J.H.K.; Conceptualization, methodology, writing—review and editing, supervision, S.J.Y. All authors have read and agreed to the published version of the manuscript.
Funding
This research was supported by the National Research Foundation of Korea (NRF) grant funded by the Korea government (NRF-2019R1A2C1004898).
Institutional Review Board Statement
Not applicable.
Informed Consent Statement
Not applicable.
Data Availability Statement
Not applicable.
Conflicts of Interest
The authors declare no conflict of interest.
Appendix A
The matrices and , and the vectors and of the dynamics (2) are defined as [35]
where m is the mass of the UUV, , , and mean the center of gravity of the UUV, , , and represent the center of buoyancy of the UUV, the vehicle weight and the vehicle buoyancy of the UUV are defined as W and F, respectively, , , and denote the inertia tensors of the UUV, , , , , , , , , , and are the added mass parameters of the UUV, , , , , , , , , , , , , , , , , , , , and indicate the parameters of the added mass cross term of the UUV, is the axial drag parameter of the UUV, and the cross flow drag parameters of the UUV are defined as , , , , , , , , and .
References
- Yuh, J. Design and control of autonomous underwater robots: A survey. Auton. Robot. 2000, 8, 7–24. [Google Scholar] [CrossRef]
- Bellingham, J.G.; Rajan, K. Robotics in remote and hostile environments. Science 2007, 318, 1098–1102. [Google Scholar] [CrossRef] [PubMed]
- Farrell, J.A.; Li, W.; Pang, S.; Arrieta, R. Chemical plume tracing experimental results with REMUS AUV. Oceans 2003, 2, 962–968. [Google Scholar]
- Peymani, E.; Fossen, T.I. Path following of underwater robots using lagrange multipliers. Robot. Auton. Syst. 2015, 67, 44–52. [Google Scholar] [CrossRef]
- Sahoo, A.; Dwivedy, S.K.; Robi, P. Advancements in the field of autonomous underwater vehicle. Ocean Eng. 2019, 181, 145–160. [Google Scholar] [CrossRef]
- Ribas, D.; Palomeras, N.; Ridao, P.; Carreras, M.; Mallios, A. Girona 500 auv: From survey to intervention. IEEE/ASME Trans. Mechatron. 2012, 17, 46–53. [Google Scholar] [CrossRef]
- Li, J.H.; Lee, P.M. Design of an adaptive nonlinear controller for depth control of an autonomous underwater vehicle. Ocean Eng. 2005, 32, 2165–2181. [Google Scholar] [CrossRef]
- Shen, C.; Shi, Y.; Buckham, B. Trajectory tracking control of an autonomous underwater vehicle using lyapunov-based model predictive control. IEEE Trans. Ind. Electron. 2018, 65, 5796–5805. [Google Scholar] [CrossRef]
- Taha, E.; Mohamed, Z.; Kamal, Y. Terminal sliding mode control for the trajectory tracking of underactuated Autonomous Underwater Vehicles. Ocean Eng. 2017, 129, 613–625. [Google Scholar]
- Repoulias, F.; Papadopoulos, E. Planar trajectory planning and tracking control design for underactuated AUVs. Ocean Eng. 2007, 34, 1650–1667. [Google Scholar] [CrossRef]
- Cho, G.R.; Li, J.H.; Park, D.; Jung, J.H. Robust trajectory tracking of autonomous underwater vehicles using back-stepping control and time delay estimation. Ocean Eng. 2020, 201, 107131. [Google Scholar] [CrossRef]
- Liang, X.; Qu, X.; Hou, Y.; Zhang, J. Three-dimensional path following control of underactuated autonomous underwater vehicle based on damping backstepping. Int. J. Adv. Robot. Syst. 2017, 14, 1729881417724179. [Google Scholar] [CrossRef]
- Liang, X.; Qu, X.; Hou, Y.; Ma, Q. Three-dimensional trajectory tracking control of an underactuated autonomous underwater vehicle based on ocean current observer. Int. J. Adv. Robot. Syst. 2018, 15, 1729881418806811. [Google Scholar] [CrossRef]
- Wang, J.; Wang, C.; Wei, Y.; Zhang, C. Three-dimensional path following of an underactuated AUV based on neuro-adaptive command filtered backstepping control. IEEE Access 2018, 6, 74355–74365. [Google Scholar] [CrossRef]
- Shojaei, K. Three-dimensional neural network tracking control of a moving target by underactuated autonomous underwater vehicles. Neural Comput. Appl. 2019, 31, 509–521. [Google Scholar] [CrossRef]
- Karkoub, M.; Wu, H.M.; Hwang, C.L. Nonlinear trajectory-tracking control of an autonomous underwater vehicle. Ocean Eng. 2017, 145, 188–198. [Google Scholar] [CrossRef]
- Rezazadegan, F.; Shojaei, K.; Sheikholeslam, F.; Chatraei, A. A novel approach to 6-DOF adaptive trajectory tracking control of an AUV in the presence of parameter uncertainties. Ocean Eng. 2015, 107, 246–258. [Google Scholar] [CrossRef]
- Chu, Z.; Xiang, X.; Zhu, D.; Luo, C.; Xie, D. Adaptive fuzzy sliding mode diving control for autonomous underwater vehicle with input constraint. Int. J. Fuzzy Syst. 2018, 20, 1460–1469. [Google Scholar] [CrossRef]
- Bechlioulis, C.P.; Rovithakis, G.A. Robust adaptive control of feedback linearizable MIMO nonlinear systems with prescribed performance. IEEE Trans. Autom. Control 2008, 53, 532–538. [Google Scholar] [CrossRef]
- Elhaki, O.; Shojaei, K. A robust neural network approximation-based prescribed performance output-feedback controller for autonomous underwater vehicles with actuators saturation. Eng. Appl. Art. Int. 2020, 88, 103382. [Google Scholar] [CrossRef]
- Liu, X.; Zhang, M.; Wang, S. Adaptive region tracking control with prescribed transient performance for autonomous underwater vehicle with thruster fault. Ocean Eng. 2020, 196, 106804. [Google Scholar] [CrossRef]
- Elhaki, O.; Shojaei, K. Neural network-based target tracking control of underactuated autonomous underwater vehicles with a prescribed performance. Ocean Eng. 2018, 167, 239–256. [Google Scholar] [CrossRef]
- Bechlioulis, C.P.; Karras, G.C.; Heshmati-Alamdari, S.; Kyriakopoulos, K.J. Trajectory tracking with prescribed performance for underactuated underwater vehicles under model uncertainties and external disturbances. IEEE Trans. Control Syst. Technol. 2017, 25, 429–440. [Google Scholar] [CrossRef]
- Campos, R.; Gracias, N.; Ridao, P. Underwater multi-vehicle trajectory alignment and mapping using acoustic and optical constraints. Sensors 2016, 16, 387. [Google Scholar] [CrossRef] [PubMed]
- Brockett, R.W.; Liberzon, D. Quantized feedback stabilization of linear systems. IEEE Trans. Autom. Control 2000, 45, 1279–1289. [Google Scholar] [CrossRef]
- Mazo, M.; Tabuada, P. Decentralized event-triggered control over wireless sensor/actuator networks. IEEE Trans. Autom. Control 2011, 56, 2456–2461. [Google Scholar] [CrossRef]
- Li, F.; Gao, L.; Dou, G.; Zheng, B. Dual-side event-triggered output feedback H∞ control for NCS with communication delays. Int. J. Control Autom. Syst. 2018, 16, 108–119. [Google Scholar] [CrossRef]
- Tallapragada, P.; Chopra, N. On event triggered tracking for nonlinear systems. IEEE Trans. Autom. Control 2013, 58, 2343–2348. [Google Scholar] [CrossRef]
- Xing, L.; Wen, C.; Liu, Z.; Su, H.; Cai, J. Adaptive compensation for actuator failures with event-triggered input. Automatica 2017, 85, 129–136. [Google Scholar] [CrossRef]
- Ma, H.; Li, H.; Liang, H.; Dong, G. Adaptive fuzzy event-triggered control for stochastic nonlinear systems with full state constraints and actuator faults. IEEE Trans. Fuzzy Syst. 2019, 27, 2242–2254. [Google Scholar] [CrossRef]
- Qiu, J.; Sun, K.; Wang, T.; Gao, H. Observer-based fuzzy adaptive event-triggered control for pure-feedback nonlinear systems with prescribed performance. IEEE Trans. Fuzzy Syst. 2019, 27, 2152–2162. [Google Scholar] [CrossRef]
- Wang, J.; Liu, Z.; Zhang, Y.; Chen, C.L.P. Neural adaptive event-triggered control for nonlinear uncertain stochastic systems with unknown hysteresis. IEEE Trans. Neural Netw. Learn. Syst. 2019, 30, 3300–3312. [Google Scholar] [CrossRef] [PubMed]
- Batmani, Y.; Najafi, S. Event-triggered H∞ depth control of remotely operated underwater vehicles. IEEE Trans. Syst. Man Cybern. Syst. 2019. [Google Scholar] [CrossRef]
- Bian, J.; Xiang, J. Three-dimensional coordination control for multiple autonomous underwater vehicles. IEEE Access 2019, 7, 63913–63920. [Google Scholar] [CrossRef]
- Prestero, T. Verification of a Six-Degree of Freedom Simulation Model for the REMUS Autonomous Underwater Vehicles. Ph.D. Thesis, Department of Mechanical Engineering, Massachusetts Institute of Technology, Cambridge, MA, USA, 2001. [Google Scholar]
- Fossen, T. Handbook of Marine Craft Hydrodynamics and Motion Control; John Wiley and Sons, Ltd.: Chichester, UK, 2011. [Google Scholar]
- Yoo, S.J. Fault-tolerant control of strict-feedback non-linear time-delay systems with prescribed performance. IET Control Theory Appl. 2013, 7, 1553–1561. [Google Scholar] [CrossRef]
- Swaroop, D.; Hedrick, J.; Yip, P.P.; Gerdes, J. Dynamic surface control for a class of nonlinear systems. IEEE Trans. Autom. Control 2000, 45, 1893–1899. [Google Scholar] [CrossRef]
- Polycarpou, M.M. Stable adaptive neural control scheme for nonlinear systems. IEEE Trans. Autom. Control 1996, 41, 447–451. [Google Scholar] [CrossRef]
Publisher’s Note: MDPI stays neutral with regard to jurisdictional claims in published maps and institutional affiliations. |
© 2021 by the authors. Licensee MDPI, Basel, Switzerland. This article is an open access article distributed under the terms and conditions of the Creative Commons Attribution (CC BY) license (http://creativecommons.org/licenses/by/4.0/).





