Next Article in Journal
Exact Closed-Form Solution for the Oscillator with a New Type of Mixed Nonlinear Restitution Force
Previous Article in Journal
Highly Accurate and Efficient Time Integration Methods with Unconditional Stability and Flexible Numerical Dissipation
 
 
Font Type:
Arial Georgia Verdana
Font Size:
Aa Aa Aa
Line Spacing:
Column Width:
Background:
Article

Evaluating the Performance of Synthetic Double Sampling np Chart Based on Expected Median Run Length

1
Faculty of Computer and Mathematical Sciences, Universiti Teknologi MARA, Cawangan Sarawak, Kota Samarahan 94300, Sarawak, Malaysia
2
Faculty of Engineering, Computing and Science, Swinburne University of Technology Sarawak Campus, Kuching 93350, Sarawak, Malaysia
3
School of Software and Electrical Engineering, Swinburne University of Technology, Melbourne, VIC 3122, Australia
4
Faculty of Applied Sciences, Universiti Teknologi MARA, Cawangan Sarawak, Kota Samarahan 94300, Sarawak, Malaysia
*
Author to whom correspondence should be addressed.
Mathematics 2023, 11(3), 595; https://doi.org/10.3390/math11030595
Submission received: 22 December 2022 / Revised: 18 January 2023 / Accepted: 20 January 2023 / Published: 23 January 2023
(This article belongs to the Section D1: Probability and Statistics)

Abstract

To keep an eye on the status of high-quality processes for fraction nonconforming, the synthetic double sampling (SDS) np chart is a helpful tool. The SDS np chart is a hybrid between the double sampling (DS) np chart and the conforming run length (CRL) chart. The performance of a control chart is typically judged solely using the average run length (ARL). However, as the shape of the run length (RL) distribution varies with the magnitude of the shift in the process fraction nonconforming, the ARL no longer provides clear interpretation of a chart’s performance. Subsequently, enhanced DS np charts that use median run length (MRL) and expected median run length (EMRL) measures, including SDS np with MRL have recently been proposed for addressing this setback. To broaden the functionality of SDS np, in this work, the unexplored use of EMRL as alternative performance measure is developed by means of Markov chain model. Additionally, in both the zero-state (ZS) and steady-state (SS) modes, the novel optimal designs algorithms are described for computing the optimal charting parameters of the SDS np chart, for both MRL1 and EMRL1 minimizations, without any unfavourable feature of bilateral sensitivity. Both the MRL and EMRL performances of SDS np, synthetic np, and DS np charts are compared. Optimal designs charting parameters and sensitivity analyses are provided to aid the practical application of SDS np chart.

1. Introduction

The Shewhart charts, developed by Walter A. Shewhart in the 1920s, are widely used to identify special causes of a process’s variation. Shewhart np charts have the advantage of being simple to use and comprehend, but they are not sensitive enough to pick up on small and moderate changes in the process fraction nonconforming (p). As a result, a number of alternatives to the traditional Shewhart np chart have been taken into consideration, with the main goal of improving the charts’ sensitivity. One alternative that aims to improve upon the traditional Shewhart np chart is the synthetic double sampling (SDS) scheme.
SDS control charts are generally considered as an efficient process monitoring tool because of their exceptional qualities, such as the capacity to detect tiny and moderate process shifts easily even with a small sample size (see examples [1,2]). Very few researchers, up until this point, have expressed interest in designing SDS charts. An SDS scheme which combines the double sampling (DS) X ¯ and conforming run length (CRL) sub-charts was proposed by Khoo et al. [1] for monitoring the process mean. The latter was introduced by Bourke [3] for the purpose of detecting the process fraction nonconforming p shifts. The random variable CRL denotes the number of examined sample points which can be found between two consecutive nonconforming sample points, involving the end nonconforming sample point. They demonstrated that in comparison to the exponential weighted moving average (EWMA), synthetic and DS schemes, the SDS is more sensitive to process shifts. Motivated by Khoo et al. [1], Khoo et al. [2] developed a multivariate SDS T2 chart using the Hotelling T2 statistic. A SDS s chart is suggested by Lee and Khoo [4] to track increases in the process standard deviation. Costa and Machado [5] used Markov chain method to investigate the SS properties of standard SDS and side-sensitive SDS X ¯ charts. The SDS chart outperforms the DS chart in terms of steady-state (SS) ARL. In addition, their investigation revealed that the side-sensitive rule enhances the overall performance of the SDS X ¯ chart, but not enough to surpass the performance of the standard DS X ¯ chart. Using information on auxiliary characteristics, Haq and Khoo [6] proposed an auxiliary information-based (AIB) SDS chart for the process mean by combining the CRL chart with the existing AIB double sampling (AIB DS) chart. You et al. [7] extended the work of the SDS X ¯ chart with known process parameters proposed by Khoo et al. [1] to the estimated process parameters case. They investigated the performance of the SDS X ¯ chart with estimated process parameters, in terms of the average run length (ARL), average number of observations to signal (ANOS) and standard deviation of the run length (SDRL). You [8] looked into the performance of the SDS chart developed by You et al. [7] with known and estimated process parameters using the expected average run length (EARL). This study has shown that the performance criterion EARL can tackle the unknown shift size problem. By adopting the cost model from Lorenzen and Vance [9], Lee and Khoo [10,11] explored the economic and economic statistical designs for the SDS T2 and SDS X ¯ charts, correspondingly. In terms of economic performance, the numerical comparison shows that the SDS chart is superior to the competing charts. Aghaulor and Ezekwem [12] proposed an economic design approach to estimate the parameters of the SDS control chart and DS X ¯ control chart.
For the attribute type control chart, Chong et al. [13] proposed a SDS np chart for detecting increases in the fraction of nonconforming items. They demonstrated that the zero-state (ZS) ARL performance of the SDS np chart outperforms the competing charts. Following Chong et al. [13], Tuh et al. [14] subsequently studied the SDS np chart based on MRL. Their work provides us with the opportunity to continue expanding the suitability of the SDS np chart in the field of attribute data in SPC. There have been earlier reports [15] suggesting not to implement the synthetic scheme since its monitoring effectiveness is only confined to specific change conditions, often in cases in which the occurrence of change is at the start of monitoring. Nevertheless, subsequent work by Malela-Majika [16] rebuffed the negativity surrounding this scheme, concluding that the use of the synthetic scheme with fit optimal parameters remains appropriate and highly sensitive to process shift, particularly under large lower limit of the CRL sub-chart.
It is demonstrated that the zero-state (ZS) and steady-state (SS) modes of the run length (RL) distribution of the synthetic chart are shown to be very different [17,18]. In the ZS mode, it is assumed that the change in the process parameter(s) occurred during the start of monitoring, so that there is a nonconforming sample at time zero. In this way, an out-of-control (OOC) signal will be generated if there is a second nonconforming sample within the next H samples (i.e., when the CRL ≤ H), where H is a specified positive integer. This, according to Davis and Woodall [17], gives the synthetic chart an advantage over other popular charts because of this head-start features. It is crucial to evaluate the SS performance of the synthetic chart [17,18], as its detection of delayed shifts may be slower since the effect of the head-start is lost.
The average run length (ARL)’s lone use as the performance measure for control charts was questioned by numerous researchers. For example, see Teoh et al. [19], Khoo et al. [20], Lee and Khoo [21]. In addition, as pointed out by Graham et al. [22], utilizing the ARL as a performance measure has a number of disadvantages and may overlook some vital statistical properties of control charts. The RL is a positive integer random variable, and it is noted that the RL distribution changes from being significantly right skewed when the process shift is small to being almost symmetric when the process shift is large. In descriptive statistics, the choice of summary measures to describe a distribution is an important aspect. It is well known that when a distribution is right skewed, the mean is larger than the median and hence, it is not a fair representation of a “centre”. In this regard, the median is a better measure of ‘‘central tendency’’ and thus, the median run length (MRL) can provide more meaningful information [23].
The MRL is the 50th percentile of the RL distribution. As commented by Chakraborti [23], a Shewhart X ¯ chart with ± 3 standard deviation width has an IC ARL (ARL0) of 370 but 50% of all the run lengths are less than 257 (i.e., the IC MRL (MRL0) is 257) and about 60–70% of all the run lengths are less than 370. The MRL comes in two types, namely in-control (IC) MRL (MRL0) and OOC MRL (MRL1). When MRL0 is 215, most practitioners will suggest that a control chart certainly detects a false alarm at the 215th sample 50% of the time. This will strengthen practitioners’ confidence when dealing with a few short runs with no assignable causes. When comparing various control charts, to ensure a fair comparison, the MRL0 value is kept at the same value to provide a fair comparison; the one with the smallest MRL1 value outperforms the others. The reason for this is that the lower the MRL1, the faster the shift is observed.
In order to compute the MRL, practitioners need to specify the process shift size in advance. However, quality practitioners are typically unaware of the process shift size. Due to relatively scarce practice-based historical data, quantifying the amount of process transformation is a hard challenge for practitioners. Aside from that, the shift size fluctuates based on unidentified random occurrences. Moreover, if a practitioner considers a certain shift size and utilises its optimal charting parameters, the control chart will perform poorly when a different shift size actually happens. In order to overcome these issues, it is necessary to adopt the expected median run length (EMRL) as an alternative performance measure, which requires simply a range of process shift sizes. Among others, Teoh et al. [24], Tang et al. [25], Qiao et al. [26], Chong et al. [27] and Tuh et al. [28] considered the EMRL performance criterion in their recent studies.
The primary objective of this work is, therefore, to extend the contributions of Tuh et al. [14,28] by employing EMRL as the performance measure in developing the SDS np chart. In this work, both ZS and SS performance evaluations are considered for the charts being studied. This work provides the optimal chart’s design procedures for the SDS np chart based on MRL1 and EMRL1 minimizations (for known and unknown shift sizes cases). For this purpose, the model developed by Tuh et al. [14], which focusses on the optimal charting parameter SDS np when MRL0min of 200, is adopted herein for hitherto unexplored MRL0min of 370.4, as a mean to make performance comparison with the competing charts. As envisioned, for zero-state mode, the SDS np chart possesses both the power of the synthetic chart for rapidly detecting moderate and minor shifts and the advantage of the DS np chart for sensitivity to significant shifts, resulting in a superior and more uniform overall performance. The subsequent sections of this article are organised as follows: A description of the plotting statistic and certain characteristics of the SDS np chart is presented in Section 2. Following a discussion of the RL distribution properties of the SDS np chart in Section 3, Section 4 describes the optimization designs of the proposed SDS np chart, in both ZS and SS mode, using MRL and EMRL performance criterions. In Section 5, the effectiveness of the synthetic np, DS np, and SDS np charts in both known and unknown shift size situations are compared. Section 6 provides an illustration of the implementation of the EMRL-based optimal SDS np chart by including a process that produces ballpoint pen cartridges. In the final section, conclusions are drawn.

2. The Review of SDS np Chart

The SDS np chart proposed by Chong et al. [13], is an integration of the DS np and CRL sub-charts. The CRL stands for the number of examined sampling stages (i) between two consecutive nonconforming sampling stages (taking into account the nonconforming sampling stages at the end). The elements from the two sub-charts are included in the design of the SDS np chart. They are (i) the lower limit H of the CRL sub-chart, and (ii) the DS np sub-chart element that encompasses the initial sample size n1, second sample size n2, the first stage warning limit W, first stage control limit L1 and the second stage control limit L2. It should be noted that H is a positive integer.
The trio of non-integer control limits W, L1 and L2 of the DS np sub-chart are established as W = Ac1 + 0.5, L1 = Re1 − 0.5 and L2 = Ac2 + 0.5 (also described in [13,29], and [30]) to eliminate uncertainty among quality professionals, particularly when the observed quantity of nonconforming items exceeds the control limits.
The IC and OOC processes on the DS np chart are classified as the conforming and nonconforming sampling stages, respectively, on the DS np sub-chart component of the SDS np chart, as shown in Figure 1. The classification of a sampling stage as either conforming or nonconforming depends on the information about the quality characteristic given by the first sample alone or the combined information contained in the first and second samples.
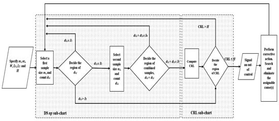
The DS np sub-chart is constructed by first identifying a sampling stage as either conforming or nonconforming based on the process information provided by the first sample or the combined first and second samples. The CRL sub-chart is necessary for determining whether or not the sample is OOC. The following steps are a description of how the SDS np chart operates:
Step 1:
Set the optimal charting parameters W, L1, L2 (on DS sub-chart) and H (on CRL sub-chart).
Step 2:
Consider the first sample of size n1 and count the number of nonconforming items d1 in the sample.
Step 3:
 
(i)
If d1,i ϵ I1, the ith sampling stage is categorized as conforming. Process returns to Step 2.
(ii)
If d1,i ϵ I3, the ith sampling stage is categorized as nonconforming and control flow advances to Step 5.
(iii)
If d1,i ϵ I2, the procedure moves to the second stage of the DS sub-chart. A second sample of size n2 is taken and the number of nonconforming items d2 in the sample is counted. After that, proceed to the next step.
Step 4:
Compute the number of nonconforming items in combined samples d1,i + d2,i. If (d1,i + d2,i) ϵ I4, the ith sampling stage is categorized as conforming and the control flow returns to Step 2. If this is not the case, the sampling stage is categorized as nonconforming, and the control flow moves to Step 5.
Step 5:
Count the number of sampling stages, including the current nonconforming sampling stage, that separate two successive nonconforming sampling stages and is known as CRL value.
Step 6:
If CRL > H, the process is deemed as IC and the control flow goes back to Step 2. Otherwise, the process is judged as OOC and corrective action is required to search and eliminate the assignable cause(s). Then, the process goes back to Step 2.
A nonconforming sample may be present if d1,i ϵ I3 or (d1,i ϵ I2 and (d1,i + d2,i) ϵ I5). The sample’s OOC status can only be determined using the CRL sub-chart. The process is considered as IC if CRL > H. If not, the process is deemed OOC, and corrective action is needed to identify and remove the assignable cause(s). The operation of the SDS np chart is graphically summarized in Figure 2.

3. The Run Length Properties of the SDS np Chart

The Markov chain model provided by Davis and Woodall [17], studied synthetic X ¯ chart, is applied to assess RL properties of the SDS np chart in this work. This approach may be easily expanded to represent the SDS np chart, allowing for the entire RL distribution of the chart to be obtained.
Let A denote the probability that a plotted sample statistic of a sampling stage i falling within the chart limits of the DS np sub-chart can be expressed as [13]
A = A1 + A2
where
A 1 = P ( d 1 , i W ) = d 1 , i = 0 W n 1 ! d 1 , i ! ( n 1 d 1 , i ) ! p d 1 , i ( 1 p ) n 1 d 1 , i
A 2 = P ( W < d 1 , i < L 1 d 1 , i + d 2 , i L 2 )
= d 1 , i = W + 1 L 1 1 [ n 1 ! d 1 , i ! ( n 1 d 1 , i ) ! p d 1 , i ( 1 p ) n 1 d 1 , i ( d 2 , i = 0 L 2 d 1 , i n 2 ! d 2 , i ! ( n 2 d 2 , i ) ! p d 2 , i ( 1 p ) n 2 d 2 , i ) ]
The notations ⌊·⌋ and ⌈·⌉ denote the round down and round up to the nearest integer, respectively. Note that A1 is the probability that d1,i < W at the first stage of the DS sub-chart, while A2 is the probability that W < d1,i < L1 at the first stage of the DS sub-chart and (d1,i + d2,i) < L2 at the second stage of the DS sub-chart. Hence, B = 1 − A.
The partitioned form of the transition probability matrix (TPM) P(H+2, H+2) is [20]
P = ( R r 0 T 1 ) = ( A B 0 0 0 0 0 0 A 0 0 B 0 0 0 A 0 B 0 0 0 0 A B A 0 0 0 0 B 0 0 0 0 0 1 )
with (H + 1) transient states and one absorbing state. The matrix of transient probabilities is denoted by the notation R(H+1, H+1), and it is obtained by cutting off the very last row and the very last column of the matrix P. The vector r meets the condition that r = 1 R 1 (i.e., the row probabilities of P must add up to 1), where 1(H+1, 1) = (1, 1, …, 1)T and 0(H+1, 1) = (0, 0, …, 0)T.
Let RL represent the run length of the SDS np chart, which quantifies how many steps the process to reach the absorbing state. Since the RL is known to be a discrete phase-type random variable for the synthetic chart, its value can be expressed as = {1, 2, 3, …}. Then, under the ZS mode, the cumulative distribution function (cdf) of the RL random variable is [31]
P ( RL ) = s T ( I R ) 1
where the column vector s denotes stationary probability with (H + 1) elements and a single element of one and zero in another location, and I(H+1, H+1) denotes the identity matrix. It should be noted that s = (0, 1, 0, …,0)T [17].
In the case when the process is under SS mode, the cdf of the RL is [20]
P ( RL ) = s c T ( I R ) 1
and it can be calculated by substituting s (in Equation (5)) with sc. Note that sc is the column vector of cyclical SS probability s c T = ( 1 T q ) 1 q [32], and that q may be simply solved using q = ( G R T ) 1 u . In this case, the (H + 1) × (H + 1) matrix G and the (H + 1) column vector u are
G = ( 2 1 1 1 1 0 1 0 0 0 0 0 1 0 0 0 0 0 1 0 0 0 0 0 1 )
and
u = ( 1 0 0 0 0 ) T
Let m be the 100mth percentile of the RL distribution, where 0 < m < 1 . Then, the m of the SDS np chart can be calculated in such a way that [33]
P ( R L m 1 ) m   and   P ( R L m ) > m
The MRL = 0.5 for the SDS np, when m = 0.5 , is therefore defined as
P ( R L 0.5 1 ) 0.5   and   P ( R L 0.5 ) > 0.5
Notably, MRL = MRL0 represents the IC MRL while MRL = MRL1 denotes the OOC MRL, which may be achieved when γ = 1 and γ > 1 , respectively.
The speed at which the SDS np chart can identify an increasing shift in the process fraction nonconforming p with a magnitude of shift γ equal to p1/p0, where p1 > p0, is a measure of the chart’s effectiveness. Note that p = p0 when γ equal to 1, and p = p1 when γ greater than 1. Here, p0 represents the IC fraction nonconforming while p1 represents the OOC fraction nonconforming.
In addition to the MRL, the ZS and SS ARL of the synthetic np chart can be computed through [20]
ARL ZS = s T ( I R ) 1 l
and
ARL SS = s c T ( I R ) 1 l
individually, by means of the Markov chain method. The I, R, l, s and sc have all been defined previously. The average sample size (ASS) in each sampling stage of the DS np sub-chart is expressible via [29]
ASS = n 1 + n 2 [ P ( W < d 1 , i < L 1 | p ]
where P ( W < d 1 , i < L 1 | p ) denotes the probability of taking the second sample of size n2. The IC and OOC ARLs (for both ZS and SS) and ASSs are determined using Equations (11)–(13) when p = p0 and p = p1, correspondingly. The notation p0 denotes the IC fraction of nonconforming items while the notation p1 represents the OOC fraction of nonconforming items.
The computation of the expected median RL (EMRL), also denoted as E ( 0.5 ) when letting α = 0.5 , where a specific value for shift size γ is not required, rather a range of shift sizes is taken into consideration (between minimum and maximum shifts) and can be determined using [34]
EMRL = E ( 0.5 ) = γ min γ max f γ ( γ ) MRL ( γ ) d γ
Note that the EMRL is calculated using a numerical integration over the probability density function (pdf) f γ ( γ ) over a shift size interval ranging from γ min (the integral’s lower limit) to γ max (the integral’s upper limit). By assuming a continuous uniform distribution over the interval ( γ min , γ max ) [35], the pdf f γ ( γ ) is defined as f γ ( γ ) = 1 ( γ max γ min ) where γ max γ min represents the interval length. The values for the expected average run length (EARL) and the expected average sample size (EASS) can therefore also be calculated using [28]
EARL = γ min γ max f γ ( γ ) ARL ( γ ) d γ
and
EASS = γ min γ max f γ ( γ ) ASS ( γ ) d γ
correspondingly.

4. Optimization Designs Procedure

This section presents the computation procedures for determining the optimal charting parameters for the SDS np chart, under both ZS and SS modes, to minimize the (i) MRL1 (described in Section 4.1) and (ii) EMRL1 (described in Section 4.2).

4.1. Computation of the Optimal Charting Parameter for the SDS np Chart to Minimize MRL1

In this section, the optimal charting parameters (n1, n2, W, L1, L2, H) of the SDS np chart, under both ZS and SS modes, is obtained by minimizing MRL1( γ opt ) subject to the achievement of minimum IC MRL (MRL0min) and predetermined IC ASS (ASS0), for a rapid detection γ opt is required. Note that γ opt represents the desired size of a fraction nonconforming shift. The optimization model in Tuh et al. [14] is adopted in this study to compute the optimal charting parameter ( n 1 ,       n 2 ,       W ,       L 1 ,       L 2 ,       H ) combination when IC minimum (MRL0min) is 370.4. The following is a mathematical formulation of the optimization model:
min n 1 ,     n 2 ,     W ,     L 1 ,     L 2 ,     H MRL 1 ( γ o p t )
subject to
MRL 0 MRL 0 min
and
ASS0 = n.
In view of the distinct nature of RL random variable, it is crucial to emphasize herein that MRL takes the form of an integer. Consequently, the occurrence of multiple ( n 1 ,       n 2 ,       W ,       L 1 ,       L 2 ,       H ) combinations with similar minimum MRL1 at a particular γ opt may be observed. In such a scenario, the optimal ( n 1 ,       n 2 ,       W ,       L 1 ,       L 2 ,       H ) combination having the lowest ASS1 is preferred.
The procedure for searching the optimal (n1, n2, W, L1, L2, H) combination, based on the optimization model in (17)–(19) of the SDS np chart based on MRL, is outlined as follows:
Step 1:
Specify the p0, n, MRL0min and γ o p t values. Here, n is the average sample size at every sampling stage when the process is in an IC state.
Step 2:
Set H to one at the start.
Step 3:
Set the initial value of MRL1min to 105 (a relatively large value).
Step 4:
Start with n1 equal to one.
Step 5:
With the current n1 value, the combination of (n1, n2, W, L1, H) is determined for a specified n when γ = 1 , such that the Constraint (19) is fulfilled. The value of n2 is obtained by rearranging Equation (13), i.e., n 2 = ( n n 1 ) P ( W < d 1 , i < L 1 ) , and is rounded up to the nearest integer, where 0 < W < L1.
Step 6:
For the ZS mode, L2 is determined via Constraint (18) together with Equations (5) and (10). For the SS mode, on the other hand, L2 can be obtained by solving Constraint (18) together with Equations (6) and (10). The computed MRL equals to MRL0 when γ = 1 (i.e., p = p0), where L2 > L1. In this step, the possible (n1, n2, W, L1, L2, H) combination is identified.
Step 7:
Once the possible (n1, n2, W, L1, L2, H) combination is determined, MRL1 will be computed for p = p1, by means of Equations (5) and (10) (for ZS mode) or Equations (6) and (10) (for SS mode). If the computed MRL1 is less than the present MRL1min, substitute the newly computed MRL1 for the MRL1min value. The (n1, n2, W, L1, L2, H) combination is saved temporarily as the possible combination. If the (n1, n2, W, L1, L2, H) combination found in the following searching produces identical MRL1min, it will be kept together as a possible combination. Otherwise, if the (n1, n2, W, L1, L2, H) combination results in a larger MRL1 value, it will be ignored.
Step 8:
Once the search with n1 = 1 is complete, n1 is increased by one. Repeat Steps 5–7 for each remaining n1 = 2, 3…, ( n 1 ), in order to find the possible (n1, n2, W, L1, L2, H) combinations that fulfil the Constraints (18) and (19) and having the lowest value of MRL1.
Step 9:
If MRL1min value has been reduced, increase H by 1 and repeat Steps 3–8. Else, proceed to Step 10.
Step 10:
If more than one combination of (n1, n2, W, L1, L2, H) delivers a similar minimum MRL1min value, the combination that produces the smallest OOC average sample size (ASS1) value is chosen as the optimal combination. Additionally, if more than one combination of (n1, n2, W, L1, L2, H) produces similar comparable lowest pair values (MRL1, ASS1), the parameters combination corresponding to the lowest H is taken to be the optimal combination in this case.
Two MATLAB programs are written to compute the optimal (n1, n2, W, L1, L2, H) combination for the SDS np chart, each for the ZS and SS mode apiece, based on the set of input parameters (MRL0min, γ opt , n, p0).

4.2. Computation of the Optimal Charting Parameter for the SDS np Chart to Minimize EMRL1

The MRL-based design (discussed in Section 4.1) can only be implemented if shift size γ can be specified beforehand. By using the method in this section, the optimal charting parameters that improve the sensitivity of the SDS np chart can be obtained even though the exact shift size is not known.
The formulation for the optimization model for the SDS np chart with unknown shift sizes is as follows:
min n 1 ,     n 2 ,     W ,     L 1 ,     L 2 ,     H EMRL 1
subject to
EMRL 0 MRL 0 min
and
EASS 0 = n
Below is a detailed explanation of the procedure to compute the optimal charting parameters.
Step 1:
Specify the desired values of γ min , γ max , n, p0, and MRL 0 min .
Step 2:
Similar to Steps 2 to 5 of the optimization procedure outlined in Section 5.1, but ↓ with
Step 3:
Constraints (21) and (22) in place of Constraints (18) and (19) by minimizing the OOC EMRL (EMRL1) in Equation (20).
Step 4:
For the ZS mode, L2 is based on the Equations (5) and (10) and Constraint (21), in which the computed EMRL equals to EMRL0 (i.e., when p = p0), where L 2 > L 1 . Note that for the case of SS mode, on the other hand, L2 can be obtained by solving Constraint (21) together with Equations (6) and (10). The non-integer setting of W, L1 and L2 are based on operating procedure of DS sub-chart as described in Section 2. In this step, the possible parameters (n1, n2, W, L1, L2, H) combination is identified.
Step 5:
Once the possible (n1, n2, W, L1, L2, H) combination has been identified, EMRL1 is calculated (i.e., when p = p1), by means of Equations (5), (10) and (14) (for ZS mode) or Equations (6), (10) and (14) (for SS mode). If the calculated EMRL1 is lower than the present EMRL1min, substitute the newly computed EMRL1 for the EMRL1min value. The current (n1, n2, W, L1, L2, H) combination is temporarily saved as the possible combination. If the combination (n1, n2, W, L1, L2, H) obtained in the subsequent searching produces an EMRL1min that is comparable to the one being searched for, the combination will be saved as a possible one. If this is not the case, the combination (n1, n2, W, L1, L2, H) will be disregarded if the EMRL1 value that it produces is higher.
Step 6:
Increase n1 by one when the search is finished with n1 = 1. For the remaining n1 = 2, 3…, ( n 1 ), repeat Steps 5 through 7, to look for the possible (n1, n2, W, L1, L2, H) combinations that fulfil Constraints (21)–(22) and have the lowest value of EMRL1.
Step 7:
If the EMRL1min value has been lowered, raise H by 1 and repeat Steps 3–8. Otherwise, move on to Step 10.
Step 8:
If multiple combinations of (n1, n2, W, L1, L2, H) give a similar minimum EMRL1min value, the optimal combination is the one that produces the lowest OOC expected average sample size (EASS1) value. Additionally, if more than one combination of (n1, n2, W, L1, L2, H) produces a similar comparable lowest pair (EMRL1, EASS1) value, the parameter combination corresponding to the lowest H is taken to be the optimal combination in this case.
Two MATLAB programs are written to compute the optimal (n1, n2, W, L1, L2, H) combination for the EMRL-based SDS np chart, for the ZS and SS modes, individually, based on desired values of γ min , γ max , n, p0, and MRL 0 min . The numerical integration method based on the Gauss Legendre Quadrature rule is employed in this section to compute the integral involve computations, for designing EMRL-based SDS np chart. The values of weights (wi) and nodes (xi) can be obtained using the MATLAB coding written by Winckel [36], which is borrowed to build the MATLAB programs for the computations of EMRL1 (or E ( 0.5 ) 1 ), EARL1, and EASS1. Here, a value of N equal to 200 is used for the number of ordinates, following Tuh et al. [28].

5. Comparative Studies

This section is divided into two subsections. The comparison studies of the SDS np chart with the optimal synthetic np and optimal DS np charts in both ZS and SS modes, based on MRL and EMRL (for known and unknown shift sizes cases), are covered in Section 5.1 and Section 5.2, respectively.

5.1. Performance Analysis of the SDS np Chart Based on MRL

In this section, the performance of the SDS np chart is evaluated using MRL as the chart’s performance criterion. The IC MRL (MRL0) and the OOC MRL (MRL1) are the two types of MRLs that are frequently used. The MRL1 value should be low in a good control chart to allow for quick detection of an OOC condition, while the MRL0 value should be large to prevent overly frequent false alarms. The different input parameter combinations from MRL0min = {370.4}, IC p0 = {0.005, 0.01, 0.02}, n = {25, 50, 100, 200, 400, 800} and shift size γ o p t = {1.5, 2.0, 3.0} are considered. The input combination parameters applied in this work have been adopted by De Araujo Rodrigues et al. [29], Chong et al. [13] and Lee and Khoo [37] for use in their own research on DS np, SDS np and synthetic np charts, respectively. The code developed herein has also been tested with the optimal charting parameters for SDS np chart based on ARL developed by Chong et al. [13], with exact similar output (ARL and ASS values) obtained, henceforth confirming the validity and reliability of the methodology.
The optimal charting parameters (n1, n2, W, L1, L2, H) of the SDS np chart, in ZS and SS, as well as the corresponding MRL0 and ARL0 are presented in Table 1. These optimal charting parameters (n1, n2, W, L1, L2, H) aid quality practitioners to choose the optimal parameters of the MRL-based SDS np chart in the implementation of the SDS np chart. For example, when the process is in SS mode, γ o p t = 2.0 , p0 = 0.01 and n = 50, optimal parameters (n1, n2, W, L1, L2, H) = (16, 229, 0.5, 2.5, 5.5, 11). In addition, Table 1 gives a comparison between the ARL0 and MRL0 values of the SDS np chart. It is noted that all the MRL0 values are smaller than the corresponding ARL0 values.
Numerical comparison in Table 2 shows that there is a significant difference between the MRL1 and ARL1 values of the SDS np chart, for both ZS and SS modes. For example, MRL1 = 11 when γ opt = 1.5 , p0 = 0.005 and n = 100, MRL0min = 370.4 and in the ZS mode implies that the SDS np chart gives an OOC signal not later than the 11th sample about half of the time, although ARL1 = 32.13. Interestingly, the SDS np chart’s SS MRL1 is seen to be larger than the ZS MRL1. This suggests that because its head-start feature is no longer present, its SS performance is worse than the ZS performance.
The MRL1 performances of the SDS np chart are compared with the synthetic np and DS np charts in this section. Note that the MRL1 for the synthetic np and DS np charts in Table 2 are taken from Lee and Khoo [37] and Tuh et al. [30], correspondingly. It is clearly seen in Table 2, the SDS np chart outperforms the synthetic np and DS np charts for all shift sizes, in ZS mode, with the SDS np chart giving lower MRL1 than the competing charts for identical (γopt, p0, n, MRL0min) combination. However, when the process is under SS mode, the optimal SDS np chart surpasses the synthetic np chart but does not demonstrate considerable improvement in comparison to the DS np chart in signalling the process fraction nonconforming shift. Overall, the SDS np chart outperforms the DS np chart when γ opt = 1.5 and np0 = 0.5 for different combinations of (n, p0) = (100, 0.005) and (50, 0.01). This result is consistent with the conclusion reached by Costa and Machado [5]. They used SS ARL to measure the performance of the SDS X ¯ chart.

5.2. Performance Analysis of the SDS np Chart Based on EMRL

The SDS np chart’s optimal charting parameters (n1, n2, W, L1, L2, H), can be achieved by minimizing the OOC expected median run length (EMRL1), are shown in Table 3 and Table 4. In Table 5, the EMRL1 performance of the synthetic np, DS np and SDS np charts are compared. The process in ZS and SS modes are considered. The parameter combinations of MRL0min = 370.4, p0  {0.005, 0.01, 0.02}, n  {25, 50, 100, 200, 400, 800} and two intervals of process shift sizes: (i) ( γ min , γ max ] = ( 1.1 , 2.0 ] and (ii) ( γ min , γ max ] = ( 2.0 , 3.0 ] . Results presented in the columns 8–10 of Table 3 and Table 4 were extracted from the work by Tuh et al. [28] in order to provide clear performance comparison discussions herein. They used EMRL to measure the performance of DS np chart. Two MATLAB programs that incorporate the optimization procedure described in Lee and Khoo [37], by means of minimizing EMRL1 is written to compute the optimal charting parameters for the synthetic np chart, based on the ZS and SS modes, individually. The optimal charting parameters and corresponding EMRL0 and EARL0 values are displayed in columns 5–7 of Table 3 and Table 4.
For example, Table 3 demonstrates that when the process is in ZS mode with p0 = 0.01, MRL0min = 370.4, n = 100 and ( γ min , γ max ] = ( 1.1 , 2.0 ] , optimal synthetic np, optimal DS np and optimal SDS np charts give (UCLS, HS) = (3.5, 5), (n1, n2, W, L1, L2) = (27, 2454, 1.5, 4.5, 34.5) and (n1, n2, W, L1, L2, H) = (34, 1453, 1.5, 4.5, 20.5, 37), correspondingly. The lowest EMRL1 (listed in Table 5) value is produced by the synthetic np, DS np and SDS np charts with these optimal charting parameters, while the EMRL0 is at least 370.4. Subsequently, the corresponding values of (EMRL0, EARL0) for the optimal synthetic np, DS np and SDS np chart, are computed as (408, 614.58), (385, 554.77) and (371, 613.95), individually.
In Table 5, the EMRL1 and EARL1 values for the OOC case, in ZS and SS modes, can be obtained using the optimal charting parameters of the synthetic np, DS np and SDS np charts (in Table 3 and Table 4). For instance, when p0 = 0.005, n = 200, MRL0min = 370.4 and ( γ min , γ max ] = ( 2.0 , 3.0 ] , Table 4 gives (n1, n2, W, L1, L2, H) = (130, 506, 1.5, 5.5, 6.5, 5) as the optimal charting parameters for the SDS np chart. With these optimal charting parameters, (EMRL1, EARL1) = (3.47, 4.54) when process is in SS mode. Numerical results in Table 3 and Table 4 clearly show that the EMRL0 values are lower than EARL0 of the optimal SDS np chart when the process is IC ( γ = 1 ). For instance, when the process is in ZS mode, the SDS np chart gives EARL0 = 610.92 when p0 = 0.01, n = 200, ( γ min , γ max ] = ( 1.1 , 2.0 ] and MRL0min = 370.4 (in Table 3). Practitioners might conclude that a false alarm occurs to every 610,92th sample fifty percent of the time. In reality, this value lies between the 60th (=535) and 70th (=746) percentiles of the RL distribution, and the false alarm occurs prior to the 610.92nd sample, or by the 372nd sample (EMRL0 = 372), fifty percent of the time.
On the other hand, for the OOC condition (see Table 5), in ZS mode, when p0 = 0.02, n = 100, ( γ min , γ max ] = ( 2.0 , 3.0 ] and MRL0min = 370.4, the SDS np chart gives EARL1 = 16.92, while EMRL1 = 9.13, showing a trivial difference between the EARL1 and EMRL1 values. This indicates that when there is a substantial amount of right-skewed in the RL distribution, the average is significantly higher than the median. On the other hand, when there is symmetric distribution, the average is located quite near to the median. As a result of this, the use of EMRL is advised as a performance metric rather than the EARL because the EMRL provides a more understandable interpretation for the performance SDS np chart.
Results in Table 5 demonstrate that the SS EMRL1 is larger than ZS EMRL1 in all interval shift sizes of the SDS np chart. This indicates that the SS EMRL1 performance of the SDS np chart is worse than its ZS performance. This is due to the fact that the SS performance calculates how long it will take for the SDS np chart to signal in this case once the head-start’s effects have gradually disappeared. As can be seen in Table 5, the optimal SDS np chart outperforms the synthetic np and DS np charts for all shift sizes ( γ min , γ max ] , under ZS mode, with the SDS np chart giving lower EMRL1 than the competing charts for identical p0, n, MRL0min and ( γ min , γ max ] combination. When the process is in SS mode, the SDS np chart surpasses the synthetic np chart while performing differently compared to the DS np chart. Table 5 also demonstrates that the SDS np chart does not perform any better than the DS np chart in identifying process fraction nonconforming shifts, particularly those with large shift sizes interval ( γ min , γ max ] = ( 2.0 , 3.0 ] . This observation is in good agreement with the results reported by Costa and Machado [5], where they studied the SS behaviour of the synthetic and side-sensitive synthetic double sampling charts.
The numerical and graphical analysis shown in Table 6 and Figure 3, using the optimal parameters by minimizing EMRL1 to compute the MRL1 when unknown shift size is an option, providing γ ( γ min , γ max ] , yields remarkable results. The optimal charting parameters for the EMRL-based SDS np chart can be obtained from Table 3 and Table 4.
The MRL1 of the MRL-based design chart is presented in Table 6 for the ease of comparison and reference. The computed MRL1 values can be found in Table 2. The MRL1 values for both MRL-based and EMRL-based design charts when γ = 1.2 are also added to this section for a thorough comparison. Here, n = 100 is chosen for wide coverage to guarantee that all situations are taken into account. As can be observed in Table 6 for the SDS np chart with EMRL-based design, the MRL1 computed using (n1, n2, W, L1, L2, H) is very close to the MRL1 computed using specific shift sizes (MRL-based design chart) provided that γ = ( γ min , γ max ] . For instance, by investigating Table 3 and Table 4, when n = 100, p0 = 0.01 and ( γ min , γ max ] = ( 1.1 , 2.0 ] , the optimal charting parameters for the SDS np chart is (n1, n2, W, L1, L2, H) = (34, 1453, 1.5, 4.5, 20.5, 37) (for ZS mode) or (36, 1271, 1.5, 4.5, 18.5, 48) (for SS mode), obtained by minimizing EMRL1. These optimal charting parameters yield MRL1 = {28, 10, 5} in ZS mode (or MRL1 = {56, 16, 7} in SS mode) for γ = { 1.2 ,     1.5 ,     2.0 } , while the MRL-based design chart gives MRL1 = {25, 7, 3} in ZS mode (or MRL1 = {54, 15, 5} in SS mode).
For better comparison of the MRL- and EMRL-based SDS np designs under both ZS and SS modes, graphical summaries have also been plotted and furnished in Figure 3. The three SDS np charts are designed by considering a minimum OOC MRL at γ 1.2, 1.5, 2.0} shifts. Evidently, when the shift size is close to the value for which they have been designed, the MRL-based SDS np chart can perform slightly better than the EMRL-based DS np chart. On the contrary, the EMRL-based DS np chart performs better than its MRL-based counterpart for all other shift sizes, particularly when the actual shift differs significantly from the specified size. These observations are consistent with the conclusion drawn by Tang et al. [38]. In their work, the performance of EWMA and AEWMA methods at detecting a wide range of shifts are compared. Thus, in the event when γ ( γ min , γ max ] , the optimal parameters provided in Table 3 and Table 4 (which are found by minimizing EMRL1) can be used as a substitute for the optimal parameters by assuming a known shift size directly and reliably.

6. An Illustrative Example

In this section, an example is considered to illustrate the implementation of the optimal EMRL-based SDS np chart. This example can be obtained from Oakland [39]. The data is related to the process of producing ballpoint pen cartridges. The inspected number of defectives found in 50 sample (m = 50) of size n = 100 is selected at random every hour from the process is listed in Table 7. Therefore, based on the data, the process fraction nonconforming is computed as 0.02 using the relevant equation, p ¯ = d n .
As illustrated in Figure 4, the np chart with three-sigma control limits is built in phase I to determine if the process is under control. The centre line (CL), lower control limit (LCL), and upper control limit (UCL) were calculated as follows:
C L = n p ¯ = 100 × 0.02 = 2 LCL = n p ¯ 3 n p ¯ ( 1 p ¯ )   = 100 × 0.02 3 100 × 0.02 ( 1 0.02 )   = 2.2   0 UCL = n p ¯ + 3 n p ¯ ( 1 p ¯ ) = 100 × 0.02 + 3 100 × 0.02 ( 1 0.02 ) = 6.2
All the points fall within the control limits, indicating that the process is under control. As a result, the IC process fraction nonconforming (p0) for phase II process monitoring stage through p 0 = j = 1 m p j m = j = 1 m d j m × n = 100 50 × 100 = 0.02 may be estimated.
It is imperative that a significant assignable cause that raises the fraction of nonconforming to 0.028 must be identified as soon as possible. Consequently, γ = 0.028 0.02 = 1.4 . Herein, n = 100, p0 = 0.02, ( γ min , γ max ] = ( 1.1 , 2.0 ] , and MRL0min = 370.4 are preferred. The procedures in Section 2 are adopted to construct the SDS np chart. The optimal charting parameters of the SDS np chart by considering the process under SS mode, shown in Table 4 is (n1, n2, W, L1, L2, H) = (25, 846, 1.5, 5.5, 24.5, 36).
The data in Table 8 are simulated using RStudio software; the first ten samples are generated under the IC situation with p0 = 0.02, and the next twenty samples are generated under the OOC situation with p1 = 0.028. At the first stage of the DS sub-chart, a binomial distribution with parameters (n1, p0) = (25, 0.02) for the IC situation and (n1, p1) = (25, 0.028) for the OOC situation is used to simulate the number of nonconforming items d1 depicted on the DS np sub-chart. The number of nonconforming items d2 depicted at the second stage of the DS np sub-chart is determined by the parameters of the binomial distribution, which are (n2, p0) = (846, 0.02) for the IC and (n2, p1) = (846, 0.028) for the OOC situations, respectively.
The thirty sampling stages in Table 8 are plotted on the DS np sub-chart in Figure 5a. One can see that the process stays at the stage 1 of the DS sub-chart for sampling stages 1 through 10, as the points lie below 1.5 (<W) are considered to be conforming. At the sampling stage i =11, a first sample of size n1 = 25 is taken and d1 = 2 nonconforming items are observed. As d1 = 2 falls in the interval W < d1 < L1, take the second sample of size n2 = 846 and number of nonconforming d2 = 29 is observed and yields d1 + d2 = 31 (see Table 8). Sampling stage i = 11 is categorised as nonconforming because d1 + d2 > L2 (L2 = 24.5). To investigate the process condition further (whether the condition is IC or OOC), the CRL sub-chart (Figure 5b) is required. The number of conforming sampling stages between two non-conforming ones (including the present nonconforming stage) is computed as CRL = 1. The first OOC signal appears at sampling stage 11 because CRL = 1 < H = 36.
The process of taking the first sample and likely the second, for each sampling stages is continued until sampling stage i = 26, here d1 + d2 = 38 is seen for d1 = 3 (W < d1 < L1) and d2 = 35. Hence, sampling stage i = 26 is categorised as nonconforming because d1 + d2 > L2. The nonconforming sampling stages are also seen at sampling stages i = 28 and 29. This leaves the nonconforming sampling stages of i = 11, 26, 28, and 29 as OOC states.

7. Conclusions

This study investigates the MRL and EMRL performances of the SDS control chart for detecting increasing shifts in process fraction nonconforming. When compared to ARL, MRL is a better performance criterion to use. It is demonstrated that the claims for its superior performance over the synthetic np and DS np charts are based on the fact that ZS mode has a hidden feature that gives it a head-start. However, for the majority of SPC applications, it is more crucial to assess the control chart’s statistical performance after a prolonged time of IC operation (i.e., when the process is in SS mode), when it is necessary to detect a shift in the process. It has been discussed how to employ the Markov chain to perform MRL SS analyses for the SDS chart for attribute data. This method has been used to compare the SDS np chart with the synthetic np and the DS np charts for a wide range of cases. These comparisons adequately demonstrate that the performance of the SDS np chart does not significantly outperform the DS np chart. Overall, the SDS np chart outperforms the DS np chart when γ opt = 1.5 and np0 = 0.5 for different combinations of (n, p0) = (100, 0.005) and (50, 0.01). Note that the optimization designs based on minimizing the EMRL offer the practitioners with the optimal parameter for the chart which performs favourably for a range of shift sizes, i.e., from the lower to upper range of shift sizes when the actual shift size is unknown in advance. In short, the optimal charting parameters reported in this study are helpful to quality practitioners since these results enable the SDS np chart to be implemented quickly.

Author Contributions

M.H.T., conceptualization, methodology, software, formal analysis, investigation, data curation, project administration, writing—original draft. C.M.L.K. and H.S.C.; software, validation, resources, writing—review and editing. M.F.L. and Y.H.R.C.; validation, visualization, writing—review and editing. All authors have read and agreed to the published version of the manuscript.

Funding

This research received no external funding.

Institutional Review Board Statement

Not applicable.

Informed Consent Statement

Not applicable.

Data Availability Statement

The data that support the findings of this study are available from the corresponding author, upon reasonable request.

Acknowledgments

Immense recognition is rendered to all Computational Laboratory personnel for their support and constructive input.

Conflicts of Interest

The authors declare no conflict of interest.

References

  1. Khoo, M.B.C.; Lee, H.C.; Wu, Z.; Chen, C.H.; Castagliola, P. A synthetic double sampling control chart for the process mean. IIE Trans. 2010, 43, 23–38. [Google Scholar] [CrossRef]
  2. Khoo, M.B.C.; Wu, Z.; Castagliola, P.; Lee, H.C. A multivariate synthetic double sampling T2 control chart. Comput. Ind. Eng. 2013, 64, 179–189. [Google Scholar] [CrossRef]
  3. Bourke, P.D. Detecting a shift in fraction nonconforming using run-length control charts with 100% inspection. J. Qual. Technol. 1991, 23, 225–238. [Google Scholar] [CrossRef]
  4. Lee, M.H.; Khoo, M.B.C. Synthetic double sampling s chart. Commun. Stat.-Theory Methods 2017, 46, 5914–5931. [Google Scholar] [CrossRef]
  5. Costa, A.F.B.; Machado, M.A.G. The steady-state behavior of the synthetic and side-sensitive synthetic double sampling charts. Qual. Reliab. Eng. Int. 2015, 31, 297–303. [Google Scholar] [CrossRef]
  6. Haq, A.; Khoo, M.B.C. A synthetic double sampling control chart for process mean using auxiliary information. Qual. Reliab. Eng. Int. 2019, 35, 1803–1825. [Google Scholar] [CrossRef]
  7. You, H.W.; Khoo, M.B.C.; Lee, M.H.; Castagliola, P. Synthetic double sampling X ¯ chart with estimated process parameters. Qual. Technol. Quant. Manag. 2015, 12, 579–604. [Google Scholar] [CrossRef]
  8. You, H.W. Performance of synthetic double sampling chart with estimated parameters based on expected average run length. J. Probab. Stat. 2018, 2018, 7583610. [Google Scholar] [CrossRef]
  9. Lorenzen, T.J.; Vance, L.C. The economic design of control charts: A unified approach. Technometrics 1986, 28, 3–10. [Google Scholar] [CrossRef]
  10. Lee, M.H.; Khoo, M.B.C. Economic-statistical design of synthetic double sampling T2 chart. Commun. Stat.-Theory Methods 2019, 48, 5862–5876. [Google Scholar] [CrossRef]
  11. Lee, M.H.; Khoo, M.B.C. The economic and economic statistical designs of synthetic double sampling X ¯ chart. Commun. Stat.-Simul. Comput. 2019, 48, 2313–2332. [Google Scholar] [CrossRef]
  12. Aghaulor, C.D.; Ezekwem, C. An economic design of a modified synthetic double sampling control chart for process monitoring. Int. J. Eng. Res. Technol. 2016, 5, 445–460. [Google Scholar]
  13. Chong, Z.L.; Khoo, M.B.C.; Castagliola, P. Synthetic double sampling np control chart for attributes. Comput. Ind. Eng. 2014, 75, 157–169. [Google Scholar] [CrossRef]
  14. Tuh, M.H.; Kon, C.M.L.; Chua, H.S.; Lau, M.F.; Chang, R.Y.H. A study of synthetic double sampling np chart based on median run length. In Proceedings of the 2022 3rd International Conference on Artificial Intelligence and Data Sciences (AiDAS), Ipoh, Malaysia, 7–8 September 2022. [Google Scholar]
  15. Knoth, S. The case against the use of synthetic control charts. J. Qual. Technol. 2016, 48, 178–195. [Google Scholar] [CrossRef]
  16. Malela-Majika, J.C. Modified side-sensitive synthetic double sampling monitoring scheme for simultaneously monitoring the process mean and variability. Comput. Ind. Eng. 2019, 130, 798–814. [Google Scholar] [CrossRef]
  17. Davis, R.B.; Woodall, W.H. Evaluating and improving the synthetic control chart. J. Qual. Technol. 2002, 34, 200–208. [Google Scholar] [CrossRef]
  18. Bourke, P.D. Performance comparisons for the synthetic control chart for detecting increases in fraction nonconforming. J. Qual. Technol. 2008, 40, 461–475. [Google Scholar] [CrossRef]
  19. Teoh, W.L.; Khoo, M.B.C.; Castagliola, P.; Chakraborti, S. Optimal design of the double sampling X ¯ chart with estimated parameters based on median run length. Comput. Ind. Eng. 2014, 67, 104–115. [Google Scholar] [CrossRef]
  20. Khoo, M.B.C.; Wong, V.H.; Wu, Z.; Castagliola, P. Optimal design of the synthetic chart for the process mean based on median run length. IIE Trans. 2012, 44, 765–779. [Google Scholar] [CrossRef]
  21. Lee, M.H.; Khoo, M.B.C. Optimal designs of multivariate synthetic |S| control chart based on median run length. Commun. Stat.-Theory Methods 2017, 46, 3034–3053. [Google Scholar] [CrossRef]
  22. Graham, M.A.; Chakraborti, S.; Mukherjee, A. Design and implementation of CUSUM exceedance control charts for unknown location. Int. J. Prod. Res. 2014, 52, 5546–5564. [Google Scholar] [CrossRef]
  23. Chakraborti, S. Run length distribution and percentiles: The Shewhart chart with unknown parameters. Qual. Eng. 2007, 19, 119–127. [Google Scholar] [CrossRef]
  24. Teoh, W.L.; Chong, J.K.; Khoo, M.B.C.; Castagliola, P.; Yeong, W.C. Optimal designs of the variable sample size chart based on median run length and expected median run length. Qual. Reliab. Eng. Int. 2017, 33, 121–134. [Google Scholar] [CrossRef]
  25. Tang, A.; Castagliola, P.; Sun, J.; Hu, X. Optimal design of the adaptive EWMA chart for the mean based on median run length and expected median run length. Qual. Technol. Quant. Manag. 2019, 16, 439–458. [Google Scholar] [CrossRef]
  26. Qiao, Y.; Sun, J.; Castagliola, P.; Hu, X. Optimal design of one-sided exponential EWMA charts based on median run length and expected median run length. Commun. Stat.-Theory Methods 2022, 51, 2887–2907. [Google Scholar] [CrossRef]
  27. Chong, Z.L.; Tan, K.L.; Khoo, M.B.C.; Teoh, W.L.; Castagliola, P. Optimal designs of the exponentially weighted moving average (EWMA) median chart for known and estimated parameters based on median run length. Commun. Stat.-Simul. Comput. 2022, 51, 3660–3684. [Google Scholar] [CrossRef]
  28. Tuh, M.H.; Kon, C.M.L.; Chua, H.S.; Lau, M.F. Optimal Statistical Design of the Double Sampling np chart based on Expected Median Run Length. Front. Appl. Math. Stat. 2022, 8, 993152. [Google Scholar] [CrossRef]
  29. De Araujo Rodrigues, A.A.; Epprecht, E.K.; De Magalhaes, M.S. Double-sampling control charts for attributes. J. Appl. Stat. 2011, 38, 87–112. [Google Scholar] [CrossRef]
  30. Tuh, M.H.; Lee, M.H.; Lau, M.F.; Then, P.H.H. Performance of the double sampling np chart based on the median run length. Adv. Math. Sci. J. 2020, 9, 7429–7438. [Google Scholar] [CrossRef]
  31. Brook, D.; Evans, D.A. An approach to the probability distribution of CUSUM run length. Biometrika 1972, 59, 539–549. [Google Scholar] [CrossRef]
  32. Champ, C.W. Steady-state run length analysis of a Shewhart quality control chart with supplementary runs rules. Commun. Stat.-Theory Methods 1992, 21, 765–777. [Google Scholar] [CrossRef]
  33. Gan, F.F. The run length distribution of a cumulative sum control chart. J. Qual. Technol. 1993, 25, 205–207. [Google Scholar] [CrossRef]
  34. You, H.W.; Khoo, M.B.C.; Castagliola, P.; Qu, L. Optimal exponentially weighted moving average charts with estimated parameters based on median run length and expected median run length. Int. J. Prod. Res. 2016, 54, 5073–5094. [Google Scholar] [CrossRef]
  35. Castagliola, P.; Celano, G.; Psarakis, S. Monitoring the coefficient of variation using EWMA charts. J. Qual. Technol. 2011, 43, 249–265. [Google Scholar] [CrossRef]
  36. Winckel, G.; Legendre-Gauss Quadrature Weights and Nodes. MATLAB Central File Exchange 2022. Available online: https://www.mathworks.com/matlabcentral/fileexchange/4540-legendre-gauss-quadrature-weights-and-nodes (accessed on 5 January 2022).
  37. Lee, M.H.; Khoo, M.B.C. Optimal design of synthetic np control chart based on median run length. Commun. Stat.-Theory Methods 2017, 46, 8544–8556. [Google Scholar] [CrossRef]
  38. Tang, A.; Castagliola, P.; Sun, J.; Hu, X. The effect of measurement errors on the adaptive EWMA chart. Qual. Reliab. Eng. Int. 2018, 34, 609–630. [Google Scholar] [CrossRef]
  39. Oakland, J.S. Statistical Process Control, 6th ed.; Routledge: New York, NY, USA, 2007. [Google Scholar]
Figure 1. Graphical view at (a) first stage and (b) second stage of the DS sub-chart’s operation.
Figure 1. Graphical view at (a) first stage and (b) second stage of the DS sub-chart’s operation.
Mathematics 11 00595 g001
Figure 2. The operational flow chart for the SDS np chart.
Figure 2. The operational flow chart for the SDS np chart.
Mathematics 11 00595 g002
Figure 3. Comparison of the MRL values under (a) ZS and (b) SS for MRL- and EMRL-based SDS np designs.
Figure 3. Comparison of the MRL values under (a) ZS and (b) SS for MRL- and EMRL-based SDS np designs.
Mathematics 11 00595 g003
Figure 4. The standard np with three-sigma control limits.
Figure 4. The standard np with three-sigma control limits.
Mathematics 11 00595 g004
Figure 5. (a) DS np sub-chart of the SDS np chart for minimizing EMRL1. (b) CRL sub-chart of the SDS np chart for minimizing EMRL1.
Figure 5. (a) DS np sub-chart of the SDS np chart for minimizing EMRL1. (b) CRL sub-chart of the SDS np chart for minimizing EMRL1.
Mathematics 11 00595 g005
Table 1. Optimal charting parameters for the MRL-based SDS np chart, in ZS and SS modes, together with their corresponding values of MRL0 and ARL0, when RL0min = 370.4.
Table 1. Optimal charting parameters for the MRL-based SDS np chart, in ZS and SS modes, together with their corresponding values of MRL0 and ARL0, when RL0min = 370.4.
γ opt p 0 nZSSS
(n1, n2, W, L1, L2, H)MRL0ARL0(n1, n2, W, L1, L2, H)MRL0ARL0
1.50.005100(25, 636, 0.5, 3.5, 6.5, 11)375580.45(18, 951, 0.5, 2.5, 8.5, 26)378544.97
200(40, 880, 0.5, 3.5, 8.5, 7)400608.15(91, 1427, 1.5, 4.5, 12.5, 29)383552.31
400(46, 1719, 0.5, 3.5, 13.5, 4)374562.28(152, 1404, 1.5, 5.5, 13.5, 16)374539.96
800(457, 1744, 3.5, 8.5, 16.5, 2)376557.36(198, 2310, 1.5, 7.5, 19.5, 9)371535.20
0.0150(10, 418, 0.5, 2.5, 7.5, 11)375580.09(8, 543, 0.5, 3.5, 9.5, 41)397572.40
100(20, 439, 0.5, 3.5, 8.5, 7)413627.46(47, 659, 1.5, 4.5, 11.5, 17)382551.47
200(126, 564, 2.5, 5.5, 11.5, 4)378566.98(76, 703, 1.5, 5.5, 13.5, 16)377543.74
400(166, 1016, 2.5, 6.5, 17.5, 2)391579.12(99, 1155, 1.5, 6.5, 19.5, 9)376542.89
0.0225(5, 208, 0.5, 2.5, 7.5, 11)396610.51(4, 270, 0.5, 2.5, 9.5, 43)406584.77
50(10, 219, 0.5, 2.5, 8.5, 7)400607.77(24, 315, 1.5, 4.5, 11.5, 25)392565.75
100(44, 254, 1.5, 6.5, 10.5, 4)382573.43(38, 354, 1.5, 4.5, 13.5, 14)375540.14
200(115, 431, 3.5, 7.5, 16.5, 2)399590.67(51, 548, 1.5, 6.5, 18.5, 6)386556.41
2.00.005100(39, 345, 0.5, 2.5, 4.5, 4)414620.41(33, 441, 0.5, 2.5, 5.5, 13)398574.43
200(185, 287, 2.5, 3.5, 5.5, 3)412614.77(122, 626, 1.5, 4.5, 7.5, 9)379547.17
400(385, 469, 4.5, 5.5, 8.5, 4)411616.25(295, 571, 2.5, 6.5, 8.5, 4)384553.92
800(362, 869, 1.5, 4.5, 12.5, 1)373548.07(703, 829, 5.5, 7.5, 14.5, 2)380548.66
0.0150(19, 179, 0.5, 2.5, 4.5, 4)371557.17(16, 229, 0.5, 2.5, 5.5, 11)401578.69
100(92, 155, 2.5, 3.5, 5.5, 3)386575.39(61, 314, 1.5, 4.5, 7.5, 9)380548.12
200(192, 253, 4.5, 5.5, 8.5, 4)383575.35(143, 335, 2.5, 5.5, 9.5, 7)379546.40
400(182, 429, 1.5, 4.5, 12.5, 1)376552.38(351, 421, 5.5, 7.5, 14.5, 2)387557.61
0.0225(6, 175, 0.5, 1.5, 6.5, 4)393589.85(8, 114, 0.5, 2.5, 5.5, 2)395569.72
50(46, 78, 2.5, 3.5, 5.5, 3)403600.33(29, 188, 1.5, 3.5, 8.5, 11)411593.04
100(96, 128, 4.5, 5.5, 8.5, 4)398597.17(75, 134, 2.5, 5.5, 8.5, 5)373537.64
200(92, 210, 1.5, 4.5, 12.5, 1)378555.17(176, 205, 5.5, 7.5, 14.5, 2)410591.77
3.00.005100(91, 137, 1.5, 2.5, 3.5, 4)397596.05(90, 155, 1.5, 2.5, 3.5, 4)388559.79
200(152, 354, 1.5, 2.5, 7.5, 1)373548.49(153, 275, 1.5, 3.5, 5.5, 5)393566.75
400(153, 500, 0.5, 2.5, 10.5, 1)379557.69(150, 511, 0.5, 2.5, 8.5, 1)376542.55
800(254, 802, 0.5, 3.5, 12.5, 1)395581.14(254, 802, 0.5, 3.5, 12.5, 1)419604.29
0.0150(32, 66, 0.5, 2.5, 3.5, 7)389592.05(44, 96, 1.5, 2.5, 4.5, 10)410591.51
100(76, 177, 1.5, 2.5, 7.5, 1)381560.19(76, 141, 1.5, 3.5, 5.5, 5)385555.44
200(77, 247, 0.5, 2.5, 10.5, 1)375551.78(131, 206, 1.5, 3.5, 9.5, 1)373537.46
400(125, 405, 0.5, 3.5, 11.5, 1)377553.85(126, 403, 0.5, 3.5, 11.5, 1)385555.39
0.0225(22, 48, 1.5, 2.5, 3.5, 3)377562.22(10, 82, 0.5, 3.5, 4.5, 7)372536.59
50(38, 88, 1.5, 2.5, 7.5, 1)399585.89(38, 70, 1.5, 3.5, 5.5, 5)416600.56
100(38, 125, 0.5, 2.5, 9.5, 1)405594.47(38, 125, 0.5, 2.5, 8.5, 1)385555.19
200(94, 202, 1.5, 4.5, 13.5, 1)384563.94(94, 202, 1.5, 4.5, 13.5, 1)407586.72
Table 2. MRL1 comparison between SDS np, DS np and synthetic np charts with associated ARL1 of the SDS np chart, in ZS and SS modes, when MRL0min = 370.4.
Table 2. MRL1 comparison between SDS np, DS np and synthetic np charts with associated ARL1 of the SDS np chart, in ZS and SS modes, when MRL0min = 370.4.
γ opt p 0 nZSSS
MRL1 ARL1MRL1 ARL1
Synthetic npDS npSDS npSynthetic npDS npSDS np
1.50.00510047261132.1372262536.18
2003214721.0047141521.19
400138412.50258912.97
8007426.7913457.35
0.015048261131.0674262535.55
1003215721.1848151521.93
200148411.92258912.91
4007426.7913457.34
0.022546251131.3873252535.49
503415720.9650151521.46
100148412.01268912.91
2007426.8213457.56
2.00.00510099412.20249913.11
2005539.6113557.37
4003324.506334.66
8002213.733223.27
0.015099411.53249913.13
1005539.1413557.32
2003324.366334.39
4002213.793223.23
0.022599412.53249912.77
505539.1313557.25
1003324.346334.58
2002213.883223.27
3.00.0051004324.317346.10
2002213.754223.01
4001113.372123.01
8001111.432122.08
0.01504323.717345.76
1002213.734222.97
2001113.392123.02
4001111.282121.88
0.02254324.267334.48
502213.714222.95
1001112.702123.02
2001111.272121.87
Table 3. Optimal charting parameters for the SDS np, synthetic np and DS np charts, based on EMRL, in ZS mode, together with their corresponding MRL0 and ARL0 values, when MRL0min = 370.4.
Table 3. Optimal charting parameters for the SDS np, synthetic np and DS np charts, based on EMRL, in ZS mode, together with their corresponding MRL0 and ARL0 values, when MRL0min = 370.4.
γminγmaxp0nSynthetic npDS np SDS np
(UCLS, HS)EMRL0EARL0(n1, n2, W, L1, L2)EMRL0EARL0(n1, n2, W, L1, L2, H)EMRL0EARL0
1.12.00.005100(2.5, 9)385590.91(38, 3985, 1.5, 3.5, 27.5)393566.84(13, 1379, 0.5, 2.5, 11.5, 53)372633.82
200(3.5, 5)395594.89(59, 3979, 1.5, 4.5, 29.5)375540.25(73, 2441, 1.5, 5.5, 18.5, 47)374630.58
400(5.5, 7)371565.02(144, 7069, 2.5, 7.5, 48.5)372536.36(178, 3653, 2.5, 7.5, 26.5, 32)372608.27
800(8.5, 4)387581.47(374, 10324, 4.5, 10.5, 69.5)372536.07(324, 5869, 3.5, 9.5, 40.5, 23) 376601.11
0.0150(2.5, 9)401614.90(23, 1230, 1.5, 3.5, 19.5)393566.43(4, 1167, 0.5, 3.5, 16.5, 67)371646.62
100(3.5, 5)408614.58(27, 2454, 1.5, 4.5, 34.5)385554.77(34, 1453, 1.5, 4.5, 20.5, 37) 371613.95
200(5.5, 7)384583.76(66, 4670, 2.5, 6.5, 60.5)382551.07(49, 1747, 1.5, 5.5, 25.5, 34) 372610.92
400(8.5, 4)399597.97(189, 4974, 4.5, 10.5, 67.5)375541.40(158, 3221, 3.5, 10.5, 43.5, 25) 372599.10
0.0225(2.5, 10) 393604.97(11, 719, 1.5, 3.5, 21.5)371535.00(2, 580, 0.5, 2.5, 16.5, 72) 375657.63
50(3.5, 5)437657.15(13, 1373, 1.5, 4.5, 37.5)383551.81(19, 567, 1.5, 5.5, 17.5, 45)371623.17
100(5.5, 7)411624.13(37, 1679, 2.5, 8.5, 46.5)371534.37(24, 921, 1.5, 4.5, 26.5, 35)371610.23
200(8.5, 4)423633.12(93, 2728, 4.5, 9.5, 72.5)373537.32(84, 1314, 3.5, 9.5, 37.5, 26)376605.55
2.03.00.005100(2.5, 9)385590.91(58, 1223, 1.5, 4.5, 12.5)389560.71(38, 357, 0.5, 3.5, 4.5, 4) 386579.25
200(3.5, 5)395594.89(98, 1175, 1.5, 5.5, 13.5)378544.67(139, 398, 1.5, 4.5, 5.5, 2)397588.41
400(5.5, 6)433653.89(143, 1599, 1.5, 5.5, 17.5)381549.64(184, 920, 1.5, 6.5, 9.5, 2)373552.82
800(8.5, 4)387581.47(497, 2850, 4.5, 11.5, 28.5)372537.15(362, 869, 1.5, 4.5, 12.5, 1)373548.07
0.0150(2.5, 9)401614.90(32, 442, 1.5, 4.5, 10.5)416599.25(19, 179, 0.5, 2.5, 4.5, 4) 371557.17
100(3.5, 5)408614.58(49, 590, 1.5, 5.5, 13.5)376542.01(34, 228, 0.5, 3.5, 5.5, 2) 388575.09
200(5.5, 7)384583.76(116, 756, 2.5, 7.5, 17.5)399575.89(102, 360, 1.5, 6.5, 8.5, 2)378561.09
400(8.5, 4)399597.97(252, 1340, 4.5, 10.5, 27.5)372536.00(182, 429, 1.5, 4.5, 12.5, 1)376552.38
0.0225(2.5, 9)437667.82(16, 225, 1.5, 4.5, 10.5)399575.27(8, 114, 0.5, 2.5, 5.5, 10) 385592.78
50(3.5, 5)437657.15(26, 253, 1.5, 4.5, 12.5)387558.17(17, 112, 0.5, 3.5, 5.5, 2) 419620.78
100(5.5, 7)411624.13(58, 381, 2.5, 7.5, 17.5)395569.92(51, 180, 1.5, 5.5, 8.5, 2) 387574.02
200(8.5, 4)423633.12(126, 675, 4.5, 12.5, 27.5)371535.05(92, 210, 1.5, 4.5, 12.5, 1)378555.17
Table 4. Optimal charting parameters for the SDS np, synthetic np and DS np charts, based on EMRL, in SS mode, together with their corresponding MRL0 and ARL0 values, when MRL0min = 370.4.
Table 4. Optimal charting parameters for the SDS np, synthetic np and DS np charts, based on EMRL, in SS mode, together with their corresponding MRL0 and ARL0 values, when MRL0min = 370.4.
γminγmaxp0nsynthetic npDS npSDS np
(UCL, H)EMRL0EARL0(n1, n2, W, L1, L2) EMRL0EARL0(n1, n2, W, L1, L2, H)EMRL0EARL0
1.12.00.005100(2.5, 11)386556.01(38, 3985, 1.5, 3.5, 27.5)393566.84(10, 1840, 0.5, 3.5, 13.5, 63)373536.97
200(3.5, 6)382550.78(59, 3979, 1.5, 4.5, 29.5)375540.25(77, 2151, 1.5, 5.5, 16.5, 45)372535.99
400(5.5, 8)385555.83(144, 7069, 2.5, 7.5, 48.5)372536.36(94, 3784, 1.5, 5.5, 26.5, 33)373538.41
800(8.5, 4)435626.65(374, 10324, 4.5, 10.5, 69.5)372536.07(333, 5334, 3.5, 10.5, 37.5, 27)371534.75
0.0150(2.5, 12)373537.54(23, 1230, 1.5, 3.5, 19.5)393566.43(7, 633, 0.5, 2.5, 10.5, 51) 371534.36
100(3.5, 6)394568.15(27, 2454, 1.5, 4.5, 34.5)385554.77(36, 1271, 1.5, 4.5, 18.5, 48)373537.57
200(5.5, 8)398573.32(66, 4670, 2.5, 6.5, 60.5)382551.07(51, 1610, 1.5, 6.5, 23.5, 30)371535.09
400(8.5, 4)446643.83(189, 4974, 4.5, 10.5, 67.5)375541.40(165, 2768, 3.5, 9.5, 38.5, 27)371535.37
0.0225(2.5, 13)377544.15(11, 719, 1.5, 3.5, 21.5)371535.00(3, 374, 0.5, 2.5, 11.5, 43) 374539.15
50(3.5, 6)420605.65(13, 1373, 1.5, 4.5, 37.5)383551.81(18, 646, 1.5, 4.5, 18.5, 41)371535.20
100(5.5, 9)384553.16(37, 1679, 2.5, 8.5, 46.5)371534.37(25, 846, 1.5, 5.5, 24.5, 36)373537.26
200(8.5, 5)387558.47(93, 2728, 4.5, 9.5, 72.5)373537.32(82, 1431, 3.5, 9.5, 39.5, 29)371534.99
2.03.00.005100(2.5, 11)386556.01(58, 1223, 1.5, 4.5, 12.5)389560.71(32, 458, 0.5, 3.5, 5.5, 12) 384553.69
200(3.5, 6)382550.78(98, 1175, 1.5, 5.5, 13.5)378544.67(130, 506, 1.5, 5.5, 6.5, 5) 378545.23
400(5.5, 8)385555.83(143, 1599, 1.5, 5.5, 17.5)381549.64(192, 833, 1.5, 6.5, 9.5, 4) 382550.83
800(8.5, 4)435626.65(497, 2850, 4.5, 11.5, 28.5)372537.15(559, 851, 3.5, 6.5, 13.5, 2)387558.73
0.0150(2.5, 12)373537.54(32, 442, 1.5, 4.5, 10.5)416599.25(16, 228, 0.5, 3.5, 5.5, 13) 373538.29
100(3.5, 6)394568.15(49, 590, 1.5, 5.5, 13.5)376542.01(65, 254, 1.5, 4.5, 6.5, 5) 373537.67
200(5.5, 8)398573.32(116, 756, 2.5, 7.5, 17.5)399575.89(96, 417, 1.5, 5.5, 9.5, 4)380548.67
400(8.5, 4)446643.83(252, 1340, 4.5, 10.5, 27.5)372536.00(279, 428, 3.5, 6.5, 13.5, 2)398573.67
0.0225(2.5, 13)377544.15(16, 225, 1.5, 4.5, 10.5)399575.27(8, 113, 0.5, 3.5, 5.5, 14) 379546.74
50(3.5, 6)420605.65(26, 253, 1.5, 4.5, 12.5)387 558.17(30, 166, 1.5, 4.5, 7.5, 7) 377543.71
100(5.5, 9)384553.16(58, 381, 2.5, 7.5, 17.5)395 569.92(48, 208, 1.5, 5.5, 9.5, 4) 402579.42
200(8.5, 5)387558.47(126, 675, 4.5, 12.5, 27.5)371535.05(111, 248, 2.5, 5.5, 12.5, 1)383551.69
Table 5. EMRL1 and EARL1 comparisons between the SDS np, synthetic np and DS np charts, in both ZS and SS modes, when MRL0min = 370.4.
Table 5. EMRL1 and EARL1 comparisons between the SDS np, synthetic np and DS np charts, in both ZS and SS modes, when MRL0min = 370.4.
γminγmaxp0nZSSS
EMRL1 EARL1EMRL1 EARL1
Synthetic npDS npSDS np Synthetic npDS npSDS np
1.12.00.00510062.3338.7322.1743.2677.1638.7337.3352.15
20047.9824.9214.5027.4556.4724.9224.8334.57
40027.5815.889.2017.1637.7615.8816.1722.34
80018.729.855.5910.1326.679.859.9713.59
0.015064.5939.3522.6142.9274.8739.3536.8351.74
10049.3524.8414.4127.4457.7824.8424.8334.45
20028.2816.139.1917.1138.5216.1316.1322.28
40019.109.865.5810.0227.089.869.9213.54
0.022562.2337.5022.6942.7375.4037.5036.7351.79
5052.1124.6414.3327.2660.5224.6424.7234.42
10029.7715.729.1316.9237.2115.7216.0322.05
20019.849.725.5610.0323.989.729.8913.42
2.03.00.0051005.745.242.876.0511.615.245.617.42
2003.162.801.903.986.292.803.474.54
4002.071.671.162.033.511.672.252.71
8001.161.011.001.872.191.012.002.04
0.01505.785.172.835.9411.455.175.567.31
1003.172.781.903.956.322.783.444.50
2002.071.571.161.983.511.572.242.70
4001.161.011.001.892.191.012.002.03
0.02255.895.083.224.9611.455.085.537.22
503.192.841.893.956.392.843.354.32
1002.071.541.151.963.481.542.232.68
2001.161.001.001.912.181.002.002.12
Table 6. MRL1 values computed using the optimal charting parameters of the EMRL-based SDS np chart and the MRL-based SDS np chart for n = 100 and MRL0min = 370.4.
Table 6. MRL1 values computed using the optimal charting parameters of the EMRL-based SDS np chart and the MRL-based SDS np chart for n = 100 and MRL0min = 370.4.
p0Type of SDS np Chartmin, γmax]ZSSS
MRL1MRL1
γ = 1.2γ = 1.5γ = 2.0γ = 3.0γ = 1.2γ = 1.5γ = 2.0γ = 3.0
0.005EMRL-based design chart(1.1, 2.0]43167-812613-
(2.0, 3.0] --2 --4
MRL-based design chart-371142812594
0.01EMRL-based design chart(1.1, 2.0]28105-56167-
(2.0, 3.0] --1 --2
MRL-based design chart-25731541552
0.02EMRL-based design chart(1.1, 2.0]2063-3795-
(2.0, 3.0] --1 --2
MRL-based design chart-1642135932
Table 7. Data related to the process of producing ballpoint pen cartridges. Source Oakland [39].
Table 7. Data related to the process of producing ballpoint pen cartridges. Source Oakland [39].
Sample, jSample Size, nNumber of Defectives, dSampleSample Size, nNumber of Defectives, d
11002261004
21002271002
31002281000
41002291002
51001301002
61004311005
71003321003
81004331003
91001341002
101003351000
111001361003
121000371001
131002381001
141005391001
151000401004
161000411002
171003421002
181001431002
191003441003
201002451002
211000461003
221001471001
231006481001
241000491001
251001501001
Total5000 d = 100
Table 8. Simulated dataset for the EMRL-based SDS np chart.
Table 8. Simulated dataset for the EMRL-based SDS np chart.
Sampling Stage, iFirst Sample
(n1 = 25)
d1
Second Sample
(n2 = 846)
d2
d1 + d2CRL
11
20
30
41
50
60
70
80
91
100
11229311
120
130
141
150
161
170
180
191
200
211
220
231
241
251
263353815
270
28231332
29232341
300
Disclaimer/Publisher’s Note: The statements, opinions and data contained in all publications are solely those of the individual author(s) and contributor(s) and not of MDPI and/or the editor(s). MDPI and/or the editor(s) disclaim responsibility for any injury to people or property resulting from any ideas, methods, instructions or products referred to in the content.

Share and Cite

MDPI and ACS Style

Tuh, M.H.; Kon, C.M.L.; Chua, H.S.; Lau, M.F.; Chang, Y.H.R. Evaluating the Performance of Synthetic Double Sampling np Chart Based on Expected Median Run Length. Mathematics 2023, 11, 595. https://doi.org/10.3390/math11030595

AMA Style

Tuh MH, Kon CML, Chua HS, Lau MF, Chang YHR. Evaluating the Performance of Synthetic Double Sampling np Chart Based on Expected Median Run Length. Mathematics. 2023; 11(3):595. https://doi.org/10.3390/math11030595

Chicago/Turabian Style

Tuh, Moi Hua, Cynthia Mui Lian Kon, Hong Siang Chua, Man Fai Lau, and Yee Hui Robin Chang. 2023. "Evaluating the Performance of Synthetic Double Sampling np Chart Based on Expected Median Run Length" Mathematics 11, no. 3: 595. https://doi.org/10.3390/math11030595

APA Style

Tuh, M. H., Kon, C. M. L., Chua, H. S., Lau, M. F., & Chang, Y. H. R. (2023). Evaluating the Performance of Synthetic Double Sampling np Chart Based on Expected Median Run Length. Mathematics, 11(3), 595. https://doi.org/10.3390/math11030595

Note that from the first issue of 2016, this journal uses article numbers instead of page numbers. See further details here.

Article Metrics

Back to TopTop