Abstract
The Home Literacy Environment (HLE) plays a key role in children’s literacy development. While previous research has mainly focused on the quantity of literacy activities, the role of the quality of parent–child interactions within the HLE in children’s literacy development has been relatively understudied. Using a sample of N = 500 preschoolers (Mage = 60.97; SDage = 4.61; 51% girls; 38% migration background) in Germany, this study examines the quantity and quality of the early HLE: their (1) interrelation, (2) contributions to emergent literacy skills in preschool, and (3) long-term effects on literacy outcomes by the end of Grade 2, controlling for child and family characteristics. Results from a manifest structural equation model indicate that the quantitative informal and formal HLE, as well as the quality of the HLE, were partly positively associated with children’s literacy skills (vocabulary, phonological awareness, and letter knowledge) in the penultimate year of preschool (T1) and a year later (T2). Only the quantitative formal HLE predicted spelling skills at the end of Grade 2 (T3). These findings suggest that the early HLE is mainly associated with emergent literacy skills during preschool. Sustained quantitative and qualitative literacy support throughout primary school may be necessary for long-term literacy success.
1. Introduction
Emergent literacy skills acquired during preschool years serve as important predictors of subsequent literacy skills, including spelling, reading, and reading comprehension (Cabell et al., 2022; Ennemoser et al., 2012; Gibson et al., 2021). Consequently, understanding the significance of developing emergent literacy skills in preschool children and identifying the factors that foster these skills at an early age is essential for supporting children’s educational progress and literacy development (Gibson et al., 2021).
In this context, the Home Literacy Environment (HLE) plays a crucial role, as the activities, resources, and parent–child interactions at home in the first years of life build the basis for language and literacy development before formal instruction begins (Bronfenbrenner, 1979; Sénéchal & LeFevre, 2002). To date, much empirical work has focused on the quantity (i.e., frequency) of literacy-related activities within the HLE, such as shared book reading, typically assessed through parental self-reports (e.g., Bus & van IJzendoorn, 1999; Cheung et al., 2021; Kam Tse et al., 2017; S.-Z. Zhang et al., 2023a). These studies have established that a more frequent engagement within the HLE (i.e., onset and frequency of shared reading situations, number of books at home, frequency of child and parental reading as well as parental teaching) supports vocabulary growth, narrative skills, phonological awareness, and letter knowledge. Similarly, meta-analytic findings indicate that the quantity of the HLE is positively associated with children’s reading comprehension (Dong et al., 2020), vocabulary (Flack et al., 2018), and oral language skills (Mol & Bus, 2011).
However, empirical studies considering not only the quantity, but also the quality of parent–child interactions remain scarce, even though the quality of parent–child interactions has also been positively associated with children’s literacy skills such as vocabulary, letter knowledge, and reading comprehension (e.g., Lehrl et al., 2020). Assessing both aspects of the HLE (i.e., quantity and quality) is important to understand their working mechanisms on children’s literacy development, as simply frequently engaging in literacy activities may not be sufficient if the quality of the underlying parent–child interactions is low. Here, how parents engage with children during such activities (e.g., verbal distancing, nonverbal behavior, use of questions, level of free speech, conversational shares, and cognitive stimulation) could be equally or even more important than the quantity of these interactions. Despite its potential, the qualitative aspect of the HLE (i.e., quality of the HLE) remains underexplored in empirical work, and observational findings often involve small samples, which limits the generalizability of these results (Hindman et al., 2014).
Using a large sample, the present study aims to address this gap by examining the complex interconnections among these two aspects of the HLE as well as their impact on children’s literacy development during a pivotal developmental period from preschool to the end of Grade 2 after controlling for child (age, sex, intelligence) and family (socioeconomic status [SES], migration background) characteristics.
1.1. Literacy Skills Development from Preschool to Primary School
As school content is conveyed through language, with texts being used increasingly as a source of information at higher grade levels and assessments taking place in written form, the importance of spelling, reading, and reading comprehension skills for a child’s educational path becomes evident (Niklas, 2011).
Within this context, it is important to consider that the development of spelling and reading skills unfolds along a continuum that has its origins very early in a child’s life, rather than beginning only at school entry (Whitehurst & Lonigan, 1998). Emergent literacy skills encompass the skills, knowledge, and attitudes that are developmental precursors of reading and writing. These emergent skills consist of two domains (Whitehurst & Lonigan, 1998): inside-out skills and outside-in skills. Inside-out skills reflect the extent to which children understand the principles for converting written symbols into spoken sounds and vice versa when writing and reading, thus enabling decoding processes. Key components of these skills include recognizing letter names (letter-name knowledge), understanding letter-sound correspondences (letter-sound knowledge), and developing phonological awareness, which is the ability to develop a precise understanding and use of a language’s structure or phonology (Sénéchal et al., 2004). Typical tasks for phonological awareness include syllable segmentation, rhyme recognition, and identifying or manipulating the sound structure of words.
Outside-in skills, such as vocabulary, context, and narrative understanding skills, involve contextual information and are required to generate understanding of the written and spoken context, thus facilitating reading comprehension (Cabell et al., 2022). Being proficient in emergent literacy is crucial for learning to spell and to read, and for reading comprehension (Furnes et al., 2024; The NICHD Early Child Care Research Network, 2005; Ouellette & Shaw, 2014). Here, inside-out skills (i.e., letter knowledge and phonological awareness) are especially important at the early stages of reading acquisition, as they support decoding processes, while outside-in skills (i.e., vocabulary) play a more prominent role later in the development of reading comprehension (Lonigan, 2007).
Reading and spelling skills encompass complex, interconnected abilities that develop over time. Reading skills require the integration and coordination of multiple abilities, including letter knowledge, grapheme–phoneme correspondence, and semantic understanding (Storch & Whitehurst, 2002). During initial reading development, children must decode written letters by linking them to their phonetic representations and blending these sounds to construct complete words (Whitehurst & Lonigan, 1998). Also, having rich vocabulary fosters reading comprehension (Torppa et al., 2022). Conversely, proficient spelling requires writing the appropriate letters in the correct sequence and format as established by linguistic conventions (Martin-Chang et al., 2014; Treiman et al., 2023).
1.2. The Home Literacy Environment
Children are usually exposed to literacy and language before formal instruction begins in primary school. Here, the role of literacy-based activities and interactions parents provide for their children within the HLE is essential. Drawing from ecological theories (e.g., Bronfenbrenner, 1979) and sociocultural frameworks (e.g., Vygotsky et al., 1980), parent–child interactions and daily learning practices within families foster the acquisition of early literacy skills (Wirth et al., 2023).
In Bronfenbrenner’s (1979) ecological framework, the family represents a core component of the child’s microsystem, which is the immediate environment where direct activities and parent–child interactions take place and social roles are established. For example, when parents engage in shared book reading, discuss stories, or encourage letter and sound recognition, they create meaningful literacy experiences that support language development and comprehension skills. From a social-constructivist point of view (Vygotsky et al., 1980), children can acquire higher literacy skills when their learning is supported by the guidance or help of a more knowledgeable person, such as children’s parents, in their zone of proximal development. For example, when a parent encourages a child to write their name or compose a short sentence and offers prompts such as reminding them of letter sounds or spelling patterns, the parent provides targeted support that helps the child bridge the gap between the child’s current ability level and the literacy skills that emerge from this learning process.
The strong relation between the HLE and children’s literacy development has been extensively investigated across diverse international contexts (for a comparative analysis across 25 nations, see Park, 2008; for Asian countries, see Cheung et al., 2021; Kam Tse et al., 2017; Lai et al., 2022; S.-Z. Zhang et al., 2023b; for a review of different countries, see Georgiou & Inoue, 2025; for low- and middle-income countries, see Nag et al., 2024). These studies provide empirical evidence of the positive association of the HLE with children’s literacy development both in the short- and the long-term, with parents offering educational resources and learning experiences, including access to books, a high frequency of shared reading, and engagement in teaching activities.
Although a comprehensive definition of the HLE remains lacking (e.g., Lehrl et al., 2021), Sénéchal and LeFevre (2002) developed a widely recognized and empirically validated framework for the conceptualization of the HLE (for an overview, see Georgiou & Inoue, 2025). The Home Literacy Model characterizes the multi-faceted HLE through two primary dimensions: formal (or code-related) and informal (or meaning-related) activities. Formal activities encompass direct parental teaching, which fosters letter identification, phonetic knowledge, name writing, and word recognition (Inoue et al., 2020; Krijnen et al., 2020; Torppa et al., 2022). In contrast, informal activities support implicit learning through experiences and literacy-based resources such as the onset and frequency of shared book reading, child and parent reading behavior, and the number of books at home. These activities enhance children’s vocabulary development, language skills, and reading proficiency (e.g., Inoue et al., 2020; Lenhart et al., 2022; Torppa et al., 2022; for meta-analyses, see Dowdall et al., 2020; Fitton et al., 2018).
In addition to how often parents engage with their children in formal and informal literacy activities, that is, the quantity (or frequency) of home learning experiences, the quality of parent–child interactions during these activities also plays a crucial role in children’s development (e.g., Lehrl et al., 2020; Lehrl et al., 2013). The quality of the HLE can be assessed by using observational data of the HLE, for example, during shared reading situations (e.g., Hindman et al., 2014). Examples of code-related practices include offering children the opportunity to read one or more words in the text or encouraging them to identify letters and their corresponding sounds and to use anagrams, rhymes, alliterations or to make puns. Meaning-related practices during shared book reading involve referring to the immediate context or ongoing activity, labeling and describing pictures (including pointing to images), clarifying implicit connections in the text by providing additional information, linking the story to personal experiences, pointing to material in the room, and fetching something that matches the pictures and supports conversations. During a shared reading situation, Lehrl et al. (2020) additionally assessed the quality of oral language use as an example of meaning-related practices, as well as the quality of interactions involving letters and the use of cues to support phonological awareness as examples of code-related practices.
Empirical findings from observational data suggest that toddlers and young children benefit most, when parents actively involve them in the reading process by using open-ended questions (Ünlütabak et al., 2022), engaging in discussions about the story, and expanding on their children’s comments through meaningful verbal exchanges (Hindman et al., 2008, 2014; de Jong & Leseman, 2001; Lehrl et al., 2013). These findings can be explained by the zone of proximal development, where parents might adapt to children’s cognitive and literacy skills level and thus support their learning with scaffolding techniques (Vygotsky et al., 1980). Moreover, findings suggest that parents tend to provide meaning-based practices more frequently during shared book reading, such as referring to book illustrations or expanding the presented story to children’s own lives, rather than focusing on code-related practices, such as talking about letters or sounds while reading (Hindman et al., 2014).
1.3. Family Background Characteristics, the Home Literacy Environment, and Children’s Literacy Skills
Children’s literacy development is not only shaped by the HLE and thus proximal factors, but also by distal influences (e.g., SES, migration background). Therefore, studies on developmental outcomes should account for both proximal and distal factors as key predictors of children’s learning growth (X. Zhang et al., 2023).
For example, children from economically disadvantaged backgrounds (i.e., from a low SES and/or migration background) frequently exhibit literacy developmental delays upon entering preschool (Valcárcel Jiménez et al., 2025), and this achievement gap continues during primary school (McElvany et al., 2023) and secondary school (Lewalter et al., 2023).
In addition, family background characteristics are not only associated with children’s literacy development but also with the HLE. Parents with higher levels of education are typically more engaged in their children’s learning, which can foster stronger academic performance (Inoue et al., 2025). Similarly, families with greater financial resources tend to allocate more funds toward their children’s educational experiences such as providing enriching learning materials and cognitively and linguistically stimulating learning activities within the home environment (Coddington et al., 2014). For instance, parents with higher education and income provide access to literacy resources and extracurricular activities for their children more often, which foster their children’s vocabulary, phonological awareness, and word reading (Inoue et al., 2025).
Practices, resources, and interactions within the HLE might also depend on the culture of the country children grow up with, as well as on the family language spoken at home. For example, researchers in Germany found that parents of children with a migration background tend to engage in more teaching than informal activities (Novita & Kluczniok, 2022; Valcárcel Jiménez et al., 2025). This pattern may be explained by several factors. First, parents with migration backgrounds, at least in Germany, often hold strong educational aspirations for their children and may view explicit teaching as an effective means of promoting school readiness and academic success (Becker & Gresch, 2016). Furthermore, in some cultural contexts, learning is traditionally understood as teacher-directed rather than play-based, which can influence parental beliefs and practices surrounding early literacy development (Liu & Chung, 2025).
Within this context, it must be noted that in Germany, SES and migration background are strongly associated with each other in such a way that families with a migration background more often have a low SES (Weis et al., 2019). Consequently, it is important to consider their association with the HLE when investigating children’s literacy development. Overall, distal family factors should be considered to better understand individual variations in the HLE and in children’s literacy development.
1.4. Home Literacy Environment and Children’s Literacy Development from Preschool to Primary School
As the family serves as the primary context for socialization and usually offers children their earliest exposure to language and literacy, examining the impact of the early HLE on the long-term literacy development is crucial (Niklas & Schneider, 2017). In addition, according to ecological frameworks (e.g., Bronfenbrenner, 1979), which view learning as a cumulative and continuously developing process, early environmental experiences may have lasting effects on children’s development.
Although research generally suggests a positive impact of the early HLE on children’s literacy development over time, its short- and long-term effects may differ. For example, analyzing a sample from the United Kingdom, Gibson et al. (2021) found that the early HLE (assessed when the children were about two years) was positively associated with children’s literacy skills at school entry three years later and during the middle years of primary school (ages 7–9, Grade 2). However, no significant direct associations were found between the early HLE and literacy outcomes at the end of primary school (around age 11, Grade 4). Instead, literacy skills in Grade 2 mediated the relation between the early HLE and later literacy achievement, highlighting the indirect long-term effect of early home literacy experiences through emergent literacy skills. Similar findings were found considering different alphabetic orthographies (for German, see Niklas & Schneider, 2013; for English, Dutch, German, and Greek, see Inoue et al., 2020; for Turkish, see Ergül et al., 2025).
Further, Hamilton et al. (2016) found in a sample of preschool children in England, that storybook exposure at age 4 significantly predicted oral language skills at age 5, which in turn predicted reading comprehension at age 6. Moreover, parental literacy instruction at the age of 4 positively predicted emergent decoding and phonological awareness, which in turn predicted reading and spelling at the age of 6.
Additionally, Silinskas et al. (2020) found in Finland that parental teaching and shared reading positively predicted children’s independent reading (i.e., the frequency with which children voluntarily read or look at children’s books on their own) at the end of Grade 1 after controlling for children’s early literacy skills. In contrast, word reading was predicted by early literacy skills only and not by the HLE. Niklas and Schneider (2017) partly supported these findings by showing that the early HLE was significantly associated with early literacy skills in preschool and also predicted later reading and spelling in the middle of Grade 4, though not at the end of Grade 1 (see also Niklas & Schneider, 2013). The results suggested that the early HLE not only supports emergent literacy skills but also contributed to children’s longer-term developmental growth directly, even when accounting for child and family variables as well as for emergent literacy skills.
Taken together, these findings generally suggest that the quantity of the early HLE indirectly predicts later literacy outcomes through its influence on emergent literacy skills. Despite this, all of the aforementioned studies largely overlooked the key role that the quality of parent–child interactions can play in children’s literacy development (Lehrl et al., 2013).
Lehrl et al. (2012) found that the quality of the HLE (operationalized via observations of shared reading situations using the items “quality of question use”, “quality of oral language”, “interactions regarding letters”, and “use of cues to phonological awareness”) was positively associated with various emergent literacy skills in preschool and in Grade 1 and 2. Further, Lehrl et al. (2013) reported that asking open-ended questions and using stimulating language during a shared book reading situation when children were three years old were positively associated with children’s vocabulary a year later. Similar to these findings, engaging children in cognitively challenging tasks, such as asking questions about the book, the characters, and the actions, as well as encouraging them to make connections between different parts of the story and ideas about the story content during shared reading, was associated with higher story comprehension scores (van Steensel et al., 2024).
However, studies simultaneously considering the quantity and quality of the HLE show inconsistent findings. For example, findings from a study conducted by Lehrl et al. (2020) suggest that not the quality of parent–child interactions but the quantity of formal HLE activities and children’s book exposure were significant predictors of language skills at ages 5–6. The authors found that the association between the quantity of the HLE (book exposure and formal literacy activities) and later reading was mediated by emergent literacy skills. Similarly, Sonnenschein and Munsterman (2002) found that shared reading frequency was the only significant correlate of children’s early literacy skills. In contrast, the quality of the reading interaction was the only significant predictor of children’s motivations for reading, but not for literacy skills.
All these studies conceptualized the quantity and quality of the HLE and literacy skills in different ways, which leads to challenges when interpreting the findings. Moreover, only few studies assessed different aspects of the HLE using both parental surveys and observational methods (for an exception, see Lehrl et al., 2012, 2013, 2020), and even fewer studies differentiated between informal and formal aspects of the HLE across different assessment methods. In addition, most studies used parental questionnaires to assess the quantity of HLE only, and we still need more information about the association of the quality of the HLE with children’s literacy development. Assessing the quantity and quality of the HLE within a multi-method perspective is essential for obtaining a more comprehensive and valid understanding of the HLE and its associations with children’s literacy development, and for identifying which early literacy experiences within the family may have long-term effects on children’s literacy development.
By employing a large sample within a longitudinal design as well as parental surveys and observations and direct child assessments, measuring both, quantity and quality of the HLE interactions, the study provides more robust evidence for the association between different aspects of the HLE and children’s literacy development. These findings will provide educators and policymakers with important insights and will support the development of interventions within the early HLE.
2. The Present Study
The present study investigates the short- and long-term effects of the quantity and quality of the HLE on children’s literacy development from preschool until the end of Grade 2, using data from parental surveys and observations of the families during a shared reading situation. Consequently, this study addresses three primary research questions controlling for child (sex, age, intelligence) and family (SES, migration background) characteristics:
- To what extent are the quantitative and qualitative aspects of the HLE related? In other words: To what extent are the quantity and quality of the HLE related? We expect quantitative informal aspects of the HLE to be positively associated with the quality of the HLE (H1a) and quantitative formal aspects of the HLE to be positively associated with the quality of the HLE (H1b).
- To what extent do both HLE aspects predict emergent literacy in preschool? According to ecological theory (Bronfenbrenner, 1979) and empirical findings (e.g., Gibson et al., 2021; Niklas & Schneider, 2013), we expect the early HLE to positively predict literacy skills directly during preschool (T1 and T2). Specifically, quantitative informal aspects of the HLE should be more strongly associated with vocabulary (H2a), whereas quantitative formal aspects of the HLE should be more strongly associated with phonological awareness and letter knowledge (H2b). Further, the quality of the HLE should be positively associated with all emergent literacy skills (vocabulary, phonological awareness, and letter knowledge) at T1 (H2c). Similarly, we expect the HLE to predict greater learning growth in emergent literacy skills one year later. Specifically, we expect the quantitative informal HLE to predict vocabulary growth (H2d), and the quantitative formal HLE to predict particularly PA and letter knowledge (H2e). In addition, we expect the quality of the HLE to predict greater learning growth in all three emergent literacy skills (H2f).
- To what extent do quantitative and qualitative aspects of the HLE predict longer-term literacy outcomes (spelling, reading, and reading comprehension) by the end of Grade 2 (T3)? There is mixed evidence concerning the direct (e.g., Niklas & Schneider, 2013; Silinskas et al., 2020) and indirect (e.g., Ergül et al., 2025; Hamilton et al., 2016) effects of the HLE on literacy development via emergent literacy skills. We expect that the quantitative informal HLE (H3a), the quantitative formal HLE (H3b), and the quality of the HLE (H3c) indirectly predict later literacy skills (T3) via emergent literacy skills (T2).
- In a cross-sectional exploratory approach, we investigate whether more frequent informal and formal literacy-based activities at home are more closely associated with children’s outcomes at T1 when the quality of the HLE is greater. Consequently, we explore whether the quality of the HLE acts as a moderator for the associations between the quantitative aspects of the HLE and children’s literacy skills (H4).
3. Method
3.1. Sample
Families in this study were recruited through multiple channels, including the preschools the children attended, a social media campaign, telephone outreach conducted by a market research institute, and personalized invitation letters sent in collaboration with the Administrative Office of the Government Department of Munich (Germany). Parents provided written informed consent, and data collection took place within the framework of an app-based intervention and a large-scale longitudinal study conducted in southern Germany (Project Learning4Kids; Niklas et al., 2020, 2022). The study received approval from the European Research Council Executive Agency and the ethics committee of the University of Munich (Germany).
Due to the COVID-19 pandemic, recruitment was carried out in two separate cohorts. In total, N = 500 preschool children and their families participated in the study (Cohort 1 (T1): n = 190 children, Mage = 63.58 months, SD = 4.42, 51% girls; Cohort 2 (T1): n = 310 children, Mage = 59.36 months, SD = 3.94, 52% girls). Results of mean comparisons showed that children from the second cohort were significantly younger (t(365) = 10.797; p < 0.001; Cohen’s d = 1.02), showed lower non-verbal intelligence (t(453) = 3.093; p = 0.002; Cohen’s d = 0.27), and their families had a higher SES (t(339) = −5.817; p < 0.001; Cohen’s d = −0.56), and provided more frequent informal HLE activities (t(311) = −4.361; p < 0.001; Cohen’s d = −0.43) and quality (t(390) = −2.496; p < 0.01; Cohen’s d = −0.23) of the HLE.
3.2. Procedure
Child assessments were conducted by trained research assistants during home visits, which took place on a single day between June and August 2020 (T1) for cohort 1, and between February and April 2021 (T1) for cohort 2. Each visit lasted approximately two hours and included direct assessments of children’s skills and the observation of a shared reading situation. Parents were also asked to complete a survey. Follow-up assessments were conducted one year later (T2) during home visits before the end of preschool and two years later at the end of Grade 2 (T3) for both cohorts during home or school visits. Consequently, although the two cohorts were assessed at different times, the intervals between T1, T2, and T3 were almost identical across cohorts.
Families were re-contacted for each assessment wave via email and/or telephone, and individual appointments for data collection were scheduled accordingly, enabling continued participation from the penultimate year of kindergarten through Grade 2. At the final measurement point, data was available for 338 out of the initial 500 children.
Missing data analysis revealed no significant differences between children who discontinued participation and those who remained in the study regarding sex, age, migration background, and literacy skills at T1. However, children who discontinued participation showed a significantly lower SES (t(180) = 2.359; p = 0.019; Cohen’s d = 0.27), lower non-verbal intelligence (t(179) = 2.155; p = 0.033; Cohen’s d = 0.25), and a significantly lower informal quantity (t(274) = 2.241; p = 0.026; Cohen’s d = 0.23) and quality of the HLE (t(270) = 2.585; p = 0.010; Cohen’s d = 0.26).
As part of an app-based intervention conducted between T1 and T2 within the framework of the project (Niklas et al., 2020, 2022), families were randomly assigned to one of four groups: (1) literacy intervention, (2) numeracy intervention, (3) tablet-control, or (4) business-as-usual control. During the initial six months after T1, families in the two intervention groups were provided with either literacy or numeracy applications. Following this period, the intervention swapped tablets, so that families initially assigned to numeracy apps subsequently received literacy apps, and vice versa. Families who received tablets with literacy and numeracy apps (n = 302) were grouped as the intervention condition, while those who received other types of apps or no tablet (n = 198) comprised the control group. Due to random assignment, these groups were comparable concerning children’s literacy competencies and child and family characteristics at T1, as confirmed by the results of mean-comparison analysis (p values between 0.27 and 0.97). For the current study, the intervention itself was not the focus of investigation and it is described for transparency reasons only. The intervention was included as a control variable in the analyses to account for potential influences on the outcome variables.
This study was not pre-registered; however, the data analysis scripts are available on the Open Science Framework (OSF): https://osf.io/kg5cf/?view_only=fd8916a22fea4a309491f534193c8e3e (accessed on 11 January 2026).
3.3. Test Instruments
For a summary of all descriptive statistics and measures of internal consistency, see Table 1.
Table 1.
Descriptive Statistics for all Study Variables.
3.3.1. Parental Survey
Parents completed a researcher-developed questionnaire (see supplemental materials) that has been used in several previous studies (e.g., Niklas & Schneider, 2017) at T1. The survey comprised sections assessing the quantity of the HLE, family SES, and migration background. The survey was translated into the eleven most commonly spoken foreign languages in our sample (e.g., English, Turkish, Arabic, Russian, Vietnamese, etc.), and families received surveys in the language they felt most comfortable with.
- Quantity of the Home Literacy Environment
Both quantitative informal and formal aspects of the HLE were assessed with 15 items. The quantitative informal HLE was assessed using nine questions about the onset and frequency of shared reading at home (e.g., “How often do you and your partner read to your child at the moment?”), the number of books at home, and the frequency of children’s and parental reading. The quantitative formal HLE was measured using five items about emergent literacy teaching (e.g., “At home, I specifically explain my child letters and how to write them”). All items were rescaled to a 5-point Likert scale (from 0 to 4), with higher values indicating a greater frequency of both HLE aspects. For the analysis, the mean scores of both constructs were z-standardized.
- Socioeconomic Status
Based on previous research, we created an index (e.g., Duncan & Magnuson, 2003; Ensminger & Fothergill, 2003; Sirin, 2005) comprising the highest level of prestige of parental occupation, parents’ highest educational qualification, and net household income. The Magnitude-Prestige Scale (Wegener, 1988) ranges from 20.00 (unskilled laborer) to 186.8 (physician). On average, the Wegener score in our sample was 101.03 (SD = 36.47). Around 66% of the parents had a university degree or a higher qualification, and 23.4% of families reported a monthly income of EUR 7401 or more (median = EUR 5001–5800). The three indicators were z-transformed, averaged, and again z-standardized.
- Migration Background
A migration background (here measured as German and/or a language other than German spoken at home) was reported for 41% of the families in cohort 1 and 36% of the families in cohort 2. In total, 38% of the families in the sample had a migration background and spoke 43 different languages (e.g., Croatian, Vietnamese, French, Turkish, Arabic, English, Chinese, Polish). Additionally, 42% of families reported that either the child or at least one parent was born outside of Germany. The correlation between the country of origin and spoken language at home was r = 0.81 (p = 0.01). Consequently, we chose to operationalize migration background based on the language spoken at home, as children’s language exposure is strongly associated with their literacy development (Dubowy et al., 2011).
3.3.2. Observations of Parent–Child Shared Reading
To assess the quality of the verbal parent–child interactions (and thus the quality of the HLE), parents received a six-page children’s book in German (“Teddy Theo”, from “Assessing narrative and reading competencies in 4- to 5-year-old children” [EuLe 4–5], Meindl & Jungmann, 2019). The book provided by the research team was not commercial and, therefore, unknown to the parents. During the semi-standardized picture book reading task, parents were told to read the book aloud just as they normally would when reading a picture book to their children. They were also told that there were no right or wrong ways to do it. Meanwhile, the research assistant who visited the family stayed unnoticed in the background and took notes. The observation scale (see instructions for the observations in the supplemental materials) was an adaptation from Kuger et al. (2005) and included seven different aspects of shared reading using a 7-point Likert scale (from 1 to 7): verbal distancing, nonverbal behavior, use of questions, level of free speech, conversational shares, letters and words, and phonological cues. An example of verbal distancing is as follows: a score of 1 indicates that “the parent is speaking with another person in the room and is not referring to the pictures,” whereas a score of 7 indicates that “the parent talks with the child about the pictures, and additional conversations take place that relate to the child’s everyday life”. For the analysis, the mean score of the seven items was z-standardized. Therefore, the assessment of quality of the HLE was grounded in a direct, naturalistic observation of parent–child shared reading interactions, operationalized in a Likert scale to translate these observational judgements into analyzable data.
3.3.3. Children’s Non-Verbal Intelligence and Literacy Skills
Children’s non-verbal intelligence was measured at T1. Literacy skills were assessed at T1, one year later (T2), and two years later at the end of Grade 2 (T3) with an extensive battery of standardized tests in German, as this is the language of instruction in preschools and schools in Germany.
- Non-Verbal Intelligence
Children’s non-verbal intelligence was tested with the “Columbia Mental Maturity Scale” (Burgemeister et al., 1972). Children had to identify and select the one object out of five that did not fit the other ones (maximum = 57). For the analysis, the mean score was z-standardized.
- Productive and Receptive Vocabulary
To assess productive vocabulary at T1 and T2, 15 items from the “Active Vocabulary Test for 3- to 5-Year-old Children—Revision” (AWST-R; Kiese-Himmel, 2005) were used. Children were required to name 15 picture cards, a total of four verbs (e.g., “throw”) and 11 nouns (e.g., “lighthouse”). Nine sets (12 items per set) from the German version of the “Peabody Picture Vocabulary Test” (PPVT; A. Lenhard et al., 2015) were used to assess receptive vocabulary. For this test, children were presented with four pictures and had to point to the correct picture (e.g., “Point with your finger to foot”). Both tests were z-standardized, averaged, and z-standardized.
- Phonological Awareness
Two subtests of the “Würzburger Preschool Test” (WVT; Endlich et al., 2017) measuring phonological awareness were used. The first one was a rhyming task with eight items. Children had to decide which one of the four words, which were also shown in pictures, did not rhyme with the others (e.g., “See—Tee—Tisch—Klee”). The second one was an initial phoneme identification task with eight items. Children were asked to identify and name the first sound of a word (e.g., “Nase” and “Nnnn…ase” as answer). To prevent ceiling effects, we added three additional more difficult items to each test at T2, resulting in a total of 11 items for each test. Both tests were z-standardized, averaged, and z-standardized.
- Productive and Receptive Letter Knowledge
Both productive and receptive letter knowledge were assessed with subtests of the WVT (Endlich et al., 2017) using ten items. In the productive letter knowledge test, children had to actively name letters (e.g., “What is the name of this letter?” /Z/ as answer). Both, the letter sound and the letter name were accepted as correct answers. In the receptive letter knowledge test, children had to identify the correct letter among four letters presented to them (e.g., U-O-I-V. “Can you show me /O/?”). To prevent ceiling effects, three additional, more difficult items were added to each test at T2, resulting in 13 items for each test. Both tests were z-standardized, averaged, and z-standardized.
- Spelling
A standardized German Spelling Test for Grades 1 and 2 (DERET 1–2+; Stock & Schneider, 2008) was used to assess children’s spelling abilities via short dictations at T3. Children needed to write down five sentences (a total of 52 words). For each whole word correctly written, children scored 1 point, and the sum score was z-standardized and used for the analyses.
- Word reading
Word reading abilities were assessed with the “Würzburger Silent Reading Test—Revised” (WLLP-R; Schneider et al., 2011) at T3. For this task, children needed to read a word next to four related pictures in a row. Then, they needed to decide which picture aligned best with the word they had read and then mark the right picture within a total time of five minutes A total of 100 words were presented, and the results were z-standardized.
- Reading comprehension
Three subsets of the “Reading Comprehension Test for Grade 1 to Grade 6 Test” (ELFE; W. Lenhard & Schneider, 2006) were used at T3 to assess children’s reading comprehension within 13 min. For the word reading comprehension task, children were given a picture and needed to decide which of the four words aligned with the picture and then mark it. In total, 72 pictures were presented to the children. In the sentence reading comprehension task, children were required to select the correct word from five alternatives to complete the sentence meaningfully. A total of 28 sentences were presented to the children. For the text comprehension task, children read a short story (1–4 sentences) followed by a question, and they had to decide which answer corresponded to the sentence was correct. This subtest assessed children’s ability to extract relevant information from a short text and draw inferences from this information. A total of 20 short stories were presented to the children. A sum score value for all tests (total of 120 correct answers) was built and then z-standardized for the analysis.
4. Statistical Analysis
The present study is based on quantitative analyses and does not constitute a qualitative investigation, as observational data were quantified using standardized rating scales.
First, we analyzed the theoretically grounded factor structure of the HLE using confirmatory factor analysis (CFA) with robust maximum likelihood estimation (MLR). Results are presented in the supplemental materials (see Figure S1).
Second, to examine the association of both quantity and quality of the early HLE with children’s literacy development, we conducted a manifest structural equation model (i.e., SEM, path analysis) using R 4.3.0 (R Core Team, 2022). To evaluate the model fit, several goodness-of-fit indices were considered (Hu & Bentler, 1999): the root mean square error of approximation (RMSEA, ≤0.06), the comparative fit index (CFI, ≥0.95), and the standardized root mean squared residuals (SRMR, ≤0.08). We included the χ2-goodness-of-fit statistic in our report; however, this measure can be overly sensitive to minor model misalignments and sample size (Chen, 2007). We considered modification indices consistent with theoretical principles to improve model fit (Schumacker & Lomax, 2010); however, no changes were necessary. To estimate indirect and total effects, we calculated bias-corrected 95%-confidence intervals (C.I.) by utilizing the bootstrap procedure with 1000 bootstrap draws (Mackinnon et al., 2004). The full information maximum likelihood method (FIML) was used as the estimation algorithm to account for missing values (Newman, 2014).
Additionally, we analyzed the presence of multicollinearity using the variance inflation factor (VIF), with values greater than five usually indicating multicollinearity (Stevens, 2009). Due to suppressor effects caused by multicollinearity issues between emergent literacy skills at T1 and T2 (rvocabulary [T1–T2] = 0.85 **, rphonological awareness [T1–T2] = 0.59 **, rletter knowledge [T1–T2] = 0.71 ** and VIF values between 1.83 and 4.34), we did not use T1 emergent literacy skills as predictors of literacy skills at the end of Grade 2. After this, all VIF values ranged from 1.02 to 2.23, indicating no strong multicollinearity issues.
Path analysis was built using the lavaan R-package (Rosseel, 2012) to test the predictive role of the quantity and quality of the HLE in children’s literacy skills at three different measurement points, while controlling for child age, sex, non-verbal intelligence, family SES and migration background. In this model, we also examined the mediating effects of emergent literacy skills at T2 on the relations between the quantity and quality of the HLE and children’s later literacy skills.
5. Results
5.1. Descriptive and Correlational Analyses
Table 1 provides an overview of the descriptive statistics, and Table 2 shows the correlations between the study variables.
Table 2.
Correlational Analysis.
Girls showed significantly greater non-verbal intelligence than boys, as well as better letter knowledge skills at T1 and reading abilities at T3. Older children lived in significantly lower quantitative informal and qualitative HLEs. Compared to younger children, they showed greater non-verbal intelligence and better vocabulary at T1 as well as higher letter knowledge at T1 and T2, and better reading abilities at T3.
Families with a higher SES provided greater quantitative informal but lower quantitative formal HLEs. These families also provided a higher quality of the HLE. Children from families with a higher SES showed greater non-verbal intelligence at T1 as well as better literacy skills at all measurement points. Additionally, families with a migration background had a lower SES and provided lower quantitative informal but higher quantitative formal HLEs. Families with a migration background also showed a lower quality of the HLE. Children with a migration background were outperformed by children without migration background in vocabulary and phonological awareness skills at T1 and T2; however, no significant differences were found concerning letter knowledge skills at T1 and T2, and reading, spelling, and reading comprehension skills at T3.
The quantitative informal HLE as well as the quality of the HLE were positively correlated with each other and with children’s literacy skills at all measurement points. The quantitative formal HLE was not significantly associated with the quality of the HLE. Moreover, the formal HLE was only significantly associated with letter knowledge at T1 and T2, and spelling at T3. Children’s literacy skills were positively associated with each other through all measurement points.
5.2. Relations Between Quantity and Quality of the Home Literacy Environment and Children’s Literacy Development
In our manifest SEM (see Figure 1 and Tables S1–S5 in the supplemental materials for all statistical results), we tested the relations between the quantity and quality of the HLE and children’s literacy skills from the penultimate year of preschool and a year later until the end of Grade 2, while controlling for child sex, age, non-verbal intelligence, family SES, and migration background as well as for cohort and intervention effects. The goodness-of-fit indices indicate a good model fit (χ2(37) = 111.693, p < 0.001; RMSEA = 0.064; CFI = 0.979; SRMR = 0.043).
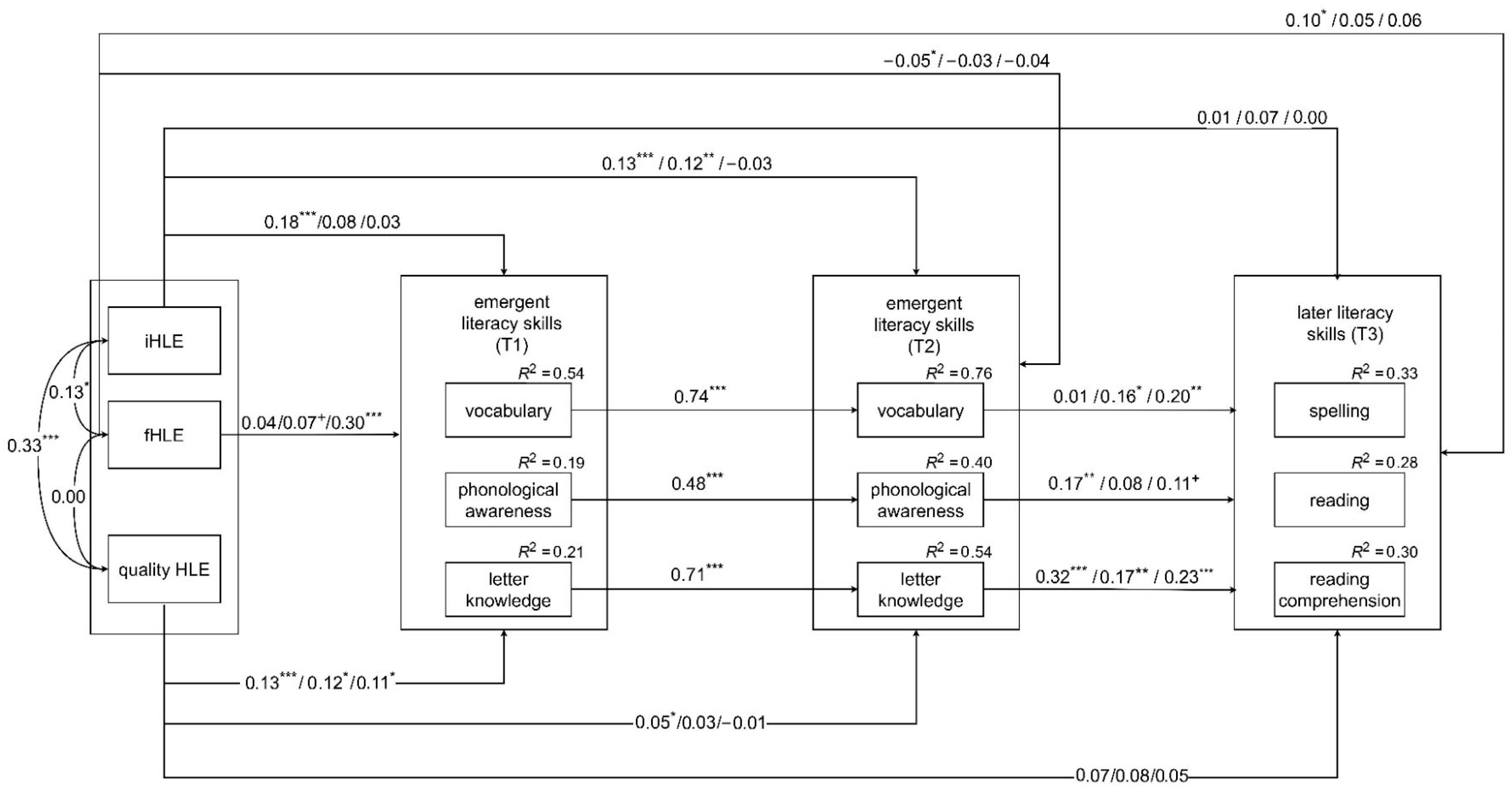
Figure 1.
Summarized Results of the Structural Equation Model: Relations Between Home Literacy Environment and the Development of Literacy Skills from Preschool to the End of Grade 2. Note. HLE = home literacy environment; iHLE = quantitative informal HLE; fHLE = quantitative formal HLE. All variables were z-standardized. Standardized regression coefficients are shown. The first estimate on each of the paths of the HLE on literacy skills indicates the predictive relation with vocabulary, the second with phonological awareness, and the third estimate with letter knowledge, respectively. All paths are controlled for child (sex, age, intelligence), family background characteristics (SES, migration background), and for cohort and intervention effects. All literacy skills are correlated to each other in each measurement point. *** p < 0.001; ** p < 0.01; * p < 0.05; + p < 0.10.
The results show that only the quantitative informal (H1a; r = 0.33, p < 0.001), but not the quantitative formal (H1b; r = 0.00, p = 0.985) HLE was positively associated with the quality of the HLE after controlling for child and family characteristics. Consequently, families with a higher frequency of shared reading, a greater number of books, and a more frequent parental reading behavior provided higher-quality parent–child interactions during shared book reading, and vice versa.
Additionally, the quantitative informal HLE was only significantly and positively associated with vocabulary (H2a, β = 0.18; p < 0.01) at T1. The formal HLE was only positively associated with letter knowledge at T1 (H2b, β = 0.30; p < 0.001), but not with phonological awareness (H2b, β = 0.07; p = 0.067). The quality of the HLE was positively related to all literacy skills (H2c, βvocabulary = 0.13; p < 0.001; βphonological awareness = 0.12; p < 0.05; βletter knowledge = 0.11; p < 0.05).
One year later and after controlling for emergent literacy skills at T1, the quantitative informal HLE significantly and positively predicted vocabulary growth (H2d, β = 0.13; p < 0.001) and growth in phonological awareness (H2d, β = 0.12; p < 0.01). However, the formal HLE negatively predicted lower vocabulary growth (H2e, β = −0.05; p < 0.05), whereas the quality of the HLE significantly and positively predicted a greater vocabulary growth (H2f, β = 0.05; p < 0.05).
In addition, results indicate a direct effect of the formal HLE on spelling. Here, children who lived in a quantitative greater formal HLE showed better spelling skills (β = 0.10; p < 0.05) at the end of Grade 2. However, the early HLE (whether quantitative informal, formal, or in terms of quality) did not significantly predict reading abilities or reading comprehension at the end of Grade 2. When testing for indirect effects (see Table S5), we found that the quantitative informal HLE positively predicted children’s vocabulary, which in turn was marginally associated with better reading skills (H3a, β = 0.02; p = 0.061) and significantly better reading comprehension (H3a, β = 0.03; p = 0.017). No significant indirect effects were found for the formal HLE on spelling via phonological awareness (H3b, β = −0.01; p = 0.390) and letter knowledge (H3b, β = −0.01; p = 0.328). For the quality of the HLE, we only found that high-quality parent–child interactions tended to indirectly foster children’s reading comprehension through vocabulary (H3c, β = 0.01; p = 0.088); however, this association was not statistically significant and small.
Further, we found negative interaction effects between the quantitative informal HLE and the quality of the HLE on vocabulary (Figure S2, β = −0.09; p = 0.009) and letter knowledge (Figure S3, β = −0.11; p = 0.020). Consequently, the quality of the HLE moderated the effect of the quantitative informal HLE on children’s literacy skills at T1 (H4, see Table S6).
Additional findings from the model (see Tables S1–S4) also indicate that children with a migration background showed poorer vocabulary and phonological awareness skills in the penultimate year of preschool (T1) after controlling for other child and family characteristics. One year later (T2), children with a migration background showed a poorer vocabulary growth. Similar results were found at the end of Grade 2 for spelling, reading skills, and reading comprehension, with no significant differences in later literacy skills between children with and without a migration background.
In general, family SES was also positively associated with literacy skills over time. Girls showed significantly better letter knowledge skills at T1 and reading skills at T3 compared to boys. Older children showed better emergent literacy skills at T1, better phonological awareness at T2, and better reading skills at T3. Intelligence was positively associated with a better vocabulary at T1, and better phonological awareness and letter knowledge growth at T2, as well as with better spelling and reading comprehension skills at T3.
Significant cohort effects were found for literacy skills at T3: Children from cohort 2 showed significantly better spelling but poorer reading skills compared to those from cohort 1. These results can be explained by the fact that children from cohort 2 had a higher SES and lived in higher quantity and quality HLEs, but were younger than children from cohort 1.
Significant intervention effects were also found: Children in the intervention group, who played with literacy and numeracy apps, showed a greater growth in phonological awareness and letter knowledge skills at T2 after controlling for emergent literacy skills at T1. These children also showed lower spelling skills at the end of Grade 2, when controlled for all other variables.
In addition, all emergent literacy skills at T1 and T2 as well as later literacy skills at T3 were positively associated with each other within each measurement point. Specifically, reading and reading comprehension were strongly related (r = 0.76, p < 0.001).
6. Discussion
The aims of this longitudinal study were to investigate how different aspects (quantity and quality) of the HLE are associated with each other and to what extent they predict the development of literacy skills from preschool (T1–T2) to the end of Grade 2 (T3) after controlling for child and family characteristics as well as for baseline emergent literacy skills. Expanding the studies of Lehrl et al. (2012, 2013, 2020), our study contributes to the body of research on the HLE and children’s literacy development by considering both aspects of the HLE within the German context.
Regarding the link between the quantity and quality of the HLE (H1), we found that the quantitative informal aspect of the HLE (H1a; r = 0.33, p < 0.001), but not the quantitative formal aspect of the HLE (H1b; r = 0.00, p = 0.985) was significantly associated with the quality of the HLE. Our findings align with previous research, which shows that the quantity of informal HLE activities was positively and significantly associated with the quality of verbal parent–child interactions (r = 0.27/0.26/0.47, p < 0.05; Lehrl et al., 2012, 2013, 2020). Similar results were found for the positive associations between the quality of shared reading on the one hand and the onset of shared reading (r = 0.48, p < 0.05) and the number of (children’s) books at home (r = 0.45/0.52, p < 0.05) on the other hand (Marjanovič-Umek et al., 2019). However, the quantity of formal HLE practices was not significantly associated with the quality of shared reading interactions (r = 0.00/0.09/−0.05; Lehrl et al., 2012, 2013, 2020). These findings are not surprising, as some research suggests that parents tend to offer more meaning-based practices during shared reading, such as referring to the book’s pictures and comparing the story with children’s lives, rather than using the book to talk about and teach letters or sounds (Hindman et al., 2014; Sonnenschein & Munsterman, 2002). Furthermore, in our study, the quantitative aspects of the informal HLE had a stronger focus on the frequency of reading and reading behaviors, which is reflected in the positive correlation with the quality of the HLE, which was assessed during a shared reading situation.
Regarding the link between the aspects of the HLE and literacy development (H2) during the penultimate year of preschool (T1), we further found that the quantitative informal HLE was positively associated with vocabulary (H2a). The quantitative formal HLE was positively associated with letter knowledge (H2b) and the quality of the HLE was significantly associated with all emergent literacy skills (H2c). A year later (T2), the quantitative informal HLE was associated with vocabulary and phonological awareness growth (H2d). The quantitative formal HLE negatively predicted vocabulary growth (H2e) and the quality of the HLE only predicted vocabulary growth (H2f). The non-significant associations of the quality of the HLE with letter knowledge and phonological awareness growth may be explained by the relatively low frequency of teaching-oriented practices during shared reading compared to code-focused activities, which is also found in some studies (Sonnenschein & Munsterman, 2002).
Consequently, our findings support the empirically well-documented stronger associations of the informal HLE aspects with vocabulary, as well as the link between formal HLE and letter knowledge (e.g., Ergül et al., 2025; Inoue et al., 2020; Sénéchal & LeFevre, 2002). In addition, our findings indicate that these associations are partly maintained longitudinally, and that the quality of the HLE was associated with various literacy skills, most strongly with vocabulary. However, because of the correlational design, these positive associations must be interpreted with caution. It is possible that children with more advanced literacy skills or literacy interest elicit greater parental engagement, including increased participation in literacy-based activities, more frequent book exposure or parental teaching, and richer verbal interactions during shared reading (Liu et al., 2024).
Overall, these findings partly suggest that prior knowledge, rather than the HLE, is the key driver of literacy growth over time. While the HLE does not always appear to predict learning growth, it influences the initial level of children’s literacy skills, and early differences in emergent literacy skills tend to persist over time. Consequently, early home learning environments are particularly important for building a broad foundation of precursor literacy skills.
Regarding the long-term impact of the early HLE on later literacy skills (H3), we identified a significant positive indirect effect of the quantitative informal HLE on reading comprehension through its influence on vocabulary (H3a). In addition, the quantitative informal HLE showed marginal indirect effects on spelling through phonological awareness and on reading through vocabulary; however, these effects did not reach statistical significance (p values between 0.054 and 0.061).
As previous research suggests (Lehrl et al., 2013; Torppa et al., 2022), we expected the quantitative formal HLE to foster letter knowledge, which in turn promotes spelling (H3b). Our non-significant findings contradict the decoding route, where parents’ engagement in explicit literacy instruction at home is associated with letter knowledge and phonological awareness, which then support the development of reading fluency (Torppa et al., 2022). However, the quantitative formal HLE was a direct predictor of spelling and consequently, parental teaching of formal aspects of language was directly associated with children’s later orthographical knowledge. This finding supports previous research, which found the early HLE to be significantly associated with later reading and spelling skills in Grade 2 and 4 (Niklas & Schneider, 2017; Silinskas et al., 2020). Taken together, our results align well with the Home Literacy Model by Sénéchal and LeFevre (2002), in which the differentiation of an informal (more closely associated with linguistic measures) and a formal (more closely associated with literacy measures) HLE is suggested.
The quality of the HLE also showed a marginal tendency to indirectly support reading comprehension through vocabulary (H3c), although this effect failed to reach significance (p = 0.088). Prior studies found such associations, in which early shared reading experiences were linked to children’s vocabulary growth in preschool, which later fed into their reading comprehension (Torppa et al., 2022).
Given that our model explained relatively little variance in these literacy outcomes by the end of Grade 2 (R2 between 0.28 and 0.33), it is likely that the predictors included did not sufficiently capture the skills or home environments most directly responsible for later reading development. Consequently, the absence of indirect effects may be due to the fact that we did not include Grade 1 spelling, reading, and reading comprehension skills as well as predictors of later literacy skills at Grade 2, nor the HLE at that age.
Lastly, we explore whether the quality of the HLE acts as a moderator for the associations between the quantity of the HLE and children’s literacy skills at preschool (H4). Our analyses further showed negative interaction effects between the quantitative informal HLE and the quality of the HLE on vocabulary and letter knowledge. Consequently, as long as the quantity of the informal HLE is high, the quality of the HLE has little impact on children’s vocabulary and letter knowledge. However, when informal HLE activities are infrequent (such as when parents begin reading aloud to their child later, engage in shared reading less frequently, when children seldom explore books independently, when parents themselves do not engage in regular reading, and when households possess a limited number of books), the quality of the HLE (such as questioning strategies, active involvement of the child during shared reading, and instruction in letter knowledge) is especially important for children’s vocabulary and letter knowledge skills. These results are supported by meta-analyses on dialogic reading (e.g., Mol et al., 2008), which is most effective when adults actively engage children through open-ended questions, prompts, and feedback, thereby transforming children from passive listeners into active participants during shared reading.
The quality of the HLE may thus partially compensate for limited informal literacy experiences. Supporting families with fewer opportunities for regular literacy engagement is important. Social interactionist theory (Vygotsky et al., 1980) emphasizes the role of responsive scaffolding and contingent verbal input in promoting early literacy. Tailoring intervention components to both the quantity and quality of the HLE may therefore optimize outcomes and reduce early literacy disparities.
7. Limitations
This study also has some limitations that need to be addressed. Despite the longitudinal design, a causal interpretation of these findings should be avoided due to possible confounding variables. For example, unmeasured factors such as parental attitudes (Niklas et al., 2025), genetic factors (Torppa et al., 2022), and the participation in the app-based intervention, could account for some of the variance in the observed associations.
Parental self-report questionnaires were used to assess the quantity of the HLE, which may be subject to social desirability or recall bias. However, such measures remain a cost-effective and practical approach for large-scale studies. To address known limitations of self-report data, the present study complemented parental surveys with direct observational assessments of parent–child shared reading, allowing us to capture both quantitative aspects (frequency and availability) and qualitative aspects (interaction quality) of the HLE. This multimethod approach extends previous research by providing a more nuanced assessment of HLE quantity and quality.
The book we used for the observations and thus the assessment of the quality of the HLE was in German, possibly disadvantaging families with a migration background, who might have limited German knowledge. These families might have felt discomfort during the shared book reading situation, which might partly explain the negative correlation between migration background and the quality of the HLE. In addition, parental proficiency in German was not assessed, although a substantial proportion of families reported using languages other than German at home. Future studies should include measures of parents’ language proficiency to better disentangle migration background effects from qualitative aspects of the HLE. Moreover, future research should also include a broader HLE survey that recognizes HLE practices of families from diverse cultural backgrounds, avoiding Eurocentric questionnaires and considering different HLE indicators that embrace culturally diverse practices.
Further, the observations were conducted by several persons and observation biases may have influenced their ratings. Given the time-intensive nature of direct observations, each family was assessed by a single research assistant. Consequently, no interrater reliability (e.g., Cohen’s kappa) was calculated, which limits the interpretability of the observational coding. While potential raters bias (Hoyt & Kerns, 1999) cannot be fully excluded, all 25 research assistants involved in the study received extensive training, including video-based examples and detailed instructions on the application of the coding instruments. Across raters, the difference between the lowest and highest mean values was 1.70 scale points (ranging from 3.13 to 4.83), and the corresponding difference in standard deviations was 1.03 (ranging from 0.46 to 1.48). These values suggest some variability across raters but no extreme clustering or outliers. Nevertheless, the lack of interrater reliability remains a methodological constraint and should be considered when interpreting the results.
The quality of the HLE was operationalized using a standardized 7-point Likert scale rating based on direct observations of parent–child shared reading. While this approach allowed for systematic, reliable, and comparable assessments across dyads, it necessarily translates context-sensitive interactions into numerical scores. As such, the measure captures quality in a structured, observationally informed manner rather than constituting qualitative data in the methodological sense. Future research could complement standardized observational ratings with qualitative methods (e.g., detailed interaction transcripts or interviews) to more fully capture the complexity and nuance of shared reading practices in the home.
Our observations involved semi-standardized stimuli (the same book for all children), which might be perceived by the families as artificial, and thereby reduce ecological validity. For example, our instrument (Teddy Theo’s book) was not adapted to the reading interest of each child or to their prior knowledge, being thus too easy or difficult to follow for some children. Consequently, the findings regarding the quality of the HLE are limited to the observed shared reading situation, which represents a point-in-time assessment. Consequently, conclusions about the quality of books available in the home or about the actual quality of parents’ reading interactions in everyday contexts should be drawn cautiously.
It is also important to note that our assessment focused solely on children’s literacy skills in German. As a result, the associations identified in our study may differ if literacy in the children’s first languages, particularly among those with a migration background, were considered.
8. Theoretical and Practical Implications
This study addresses a crucial gap in the literature by directly comparing the quantity and quality of the HLE and examining their longitudinal effects on children’s literacy development using different operationalizations (parental surveys and observations) of the HLE as well as standardized tests to assess children’s literacy skills. While policy recommendations and parental guidelines often emphasize increasing the frequency of literacy activities, this research additionally investigates whether enhancing the quality of interactions through more responsive and engaging practices matters equally or more than simple quantity.
Overall, these results highlight the importance of the HLE on children’s literacy development. Future studies should aim to develop a comprehensive, globally applicable model of the HLE that captures both quantitative and qualitative aspects of the HLE, as well as distinctions between formal and informal learning activities. Such a model would improve the generalizability of results and facilitate meaningful comparisons across studies. By integrating these two aspects of the HLE into one statistical model, it is unlikely that the observed effect of one aspect of the HLE is actually due to another aspect not accounted for in the model, showing the unique effect of the quantity and quality of the early HLE on children’s literacy development after controlling for child and family characteristics (Lehrl et al., 2020). Additionally, meta-analyses that consider the association of different HLE operationalizations with specific children’s literacy skills and their development would be helpful to provide an overview of the results from all presented studies.
This research contributes to the debate about dosage versus quality in educational interventions. The differential effects of HLE quantity and quality suggest that theoretical models of literacy development should account for both dimensions (Lehrl et al., 2020), with quality potentially serving as a moderator of quantity effects. These findings have significant implications for parent education programs, emphasizing not just how often, but how well parents should engage in literacy activities, in particular when shared reading is not performed regularly.
Rather than simply encouraging parents to read more frequently with their children, programs should focus on teaching parents specific strategies to create high-quality interactions during shared reading. This includes training in responsive questioning, vocabulary elaboration, and connecting book content to children’s experiences and prior knowledge. For instance, intervention research (Aram, 2006) supports the beneficial relation between shared reading programs and improvements in children’s letter recognition, vocabulary acquisition, and phonological awareness. Dialogic reading program interventions, where parents are taught to use open-ended questions, to use function- and attribute-based inquiries, to provide appropriate responses, and to avoid straight reading and questions that could be answered by pointing to the pictures, positively impact children’s vocabulary development (Mol et al., 2008; Whitehurst & Lonigan, 1998). Interventions targeting the early HLE are essential, as the HLE exerts a direct impact on emergent literacy skills during preschool and both indirect and direct effects on later literacy skills.
To validate these findings, future research in early childhood should include observational measures of interaction quality, not just frequency reports, when assessing the HLE. This has implications for screening and intervention planning, particularly for identifying families who may benefit from quality-focused rather than quantity-focused support. Also, expanding the focus beyond literacy skills and identifying which HLE activities foster children’s motivation for reading could be potentially beneficial for children’s literacy development (Sonnenschein & Munsterman, 2002). Future research should thus consider the motivation route, whereby shared reading in the early years is related to greater independent reading engagement in elementary school, which ultimately predicts reading comprehension (Torppa et al., 2022).
The findings can guide policy recommendations regarding early childhood education and parental involvement. Investment in professional development for early childhood educators and parents should prioritize teaching interaction strategies that enhance the quantity and quality of literacy experiences.
9. Conclusions
This study examined the role of home-based factors in children’s literacy development by distinguishing between the quantity and quality of the HLE. Drawing on observational and self-reported data, our longitudinal findings provide evidence that both aspects of the HLE play a meaningful role in supporting children’s literacy skills, especially during preschool. These results hold important implications for the design of interventions and policies aimed at reducing literacy disparities, particularly for families facing structural challenges such as economic disadvantage or multilingual backgrounds. Comprehensive approaches targeting multiple aspects of the HLE are crucial for providing equitable access to literacy-based experiences and for promoting children’s long-term educational outcomes.
Supplementary Materials
The following supporting information can be downloaded at https://www.mdpi.com/article/10.3390/educsci16020197/s1.
Author Contributions
Conceptualization, F.N.; methodology, M.V.J.; formal analysis, M.V.J.; investigation, M.V.J., T.S., Ö.C. and F.N.; resources, F.N.; writing—original draft, M.V.J.; writing—review and editing, M.V.J., T.S., Ö.C., J.S. and F.N.; visualization, M.V.J.; supervision, F.N.; project administration, F.N.; funding acquisition, F.N. All authors have read and agreed to the published version of the manuscript.
Funding
This research was funded by the European Research Council (ERC) under the European Union’s Horizon 2020 research and innovation program, 801980.
Institutional Review Board Statement
For all research activities in this project, ethics is an integral part from beginning to end. In addition to the approval by the European Research Council Executive Agency, the thorough ethical evaluation also included ethical evaluation and approvals of the project by (1) The ethics committee of the Faculty of Psychology and Educational Sciences, University of Munich (LMU, 54_Niklas_c, 17 December 2018), (2) The department responsible for the implementation and management of research projects in public day care centers in Munich: the Department of Education and Sports, Munich (19 June 2019), and(3) The ministry responsible for the implementation and management of research projects in public schools in Bavaria: the Bavarian Ministry of Education (IV.7-BO7106/123/13, 28 November 2019). Further, an external ethics advisor with the relevant independent expertise to monitor the ethical concerns in this project was appointed.
Informed Consent Statement
Informed consent was obtained from all subjects involved in the study.
Data Availability Statement
The materials necessary to attempt to replicate the findings presented here are publicly accessible on OSF: https://osf.io/kg5cf/?view_only=fd8916a22fea4a309491f534193c8e3e and https://osf.io/6tegr/ accessed on 11 January 2026.
Conflicts of Interest
The authors declare no conflicts of interest.
References
- Aram, D. (2006). Early literacy interventions: The relative roles of storybook reading, alphabetic activities, and their combination. Reading and Writing: An Interdisciplinary Journal, 19(5), 489–515. [Google Scholar] [CrossRef]
- Becker, B., & Gresch, C. (2016). Bildungsaspirationen in Familien mit Migrationshintergrund [Educational aspirations in families with a migration background]. In C. Diehl, C. Hunkler, & C. Kristen (Eds.), Ethnische Ungleichheiten im Bildungsverlauf [Ethnic inequalities in educational trajectories] (pp. 73–115). Springer Fachmedien Wiesbaden. [Google Scholar] [CrossRef]
- Bronfenbrenner, U. (1979). Contexts of child rearing: Problems and prospects. American Psychologist, 34(10), 844–850. [Google Scholar] [CrossRef]
- Burgemeister, B., Blum, L., & Lorge, J. (1972). Columbia mental maturity scale. Harcourt Brace Jovanovich. [Google Scholar]
- Bus, A. G., & van IJzendoorn, M. H. (1999). Phonological awareness and early reading: A meta-analysis of experimental training studies. Journal of Educational Psychology, 91(3), 403–414. [Google Scholar] [CrossRef]
- Cabell, S. Q., Gerde, H. K., Hwang, H., Bowles, R., Skibbe, L., Piasta, S. B., & Justice, L. M. (2022). Rate of growth of preschool-age children’s oral language and decoding skills predicts beginning writing ability. Early Education and Development, 33(7), 1198–1221. [Google Scholar] [CrossRef]
- Chen, F. F. (2007). Sensitivity of goodness of fit indexes to lack of measurement invariance. Structural Equation Modeling: A Multidisciplinary Journal, 14(3), 464–504. [Google Scholar] [CrossRef]
- Cheung, S. K., Dulay, K. M., Yang, X., Mohseni, F., & McBride, C. (2021). Home literacy and numeracy environments in Asia. Frontiers in Psychology, 12, 578764. [Google Scholar] [CrossRef]
- Coddington, C. H., Mistry, R. S., & Bailey, A. L. (2014). Socioeconomic status and receptive vocabulary development: Replication of the parental investment model with Chilean preschoolers and their families. Early Childhood Research Quarterly, 29(4), 538–549. [Google Scholar] [CrossRef]
- de Jong, P. F., & Leseman, P. P. (2001). Lasting effects of home literacy on reading achievement in school. Journal of School Psychology, 39(5), 389–414. [Google Scholar] [CrossRef]
- Dong, Y., Wu, S. X.-Y., Dong, W.-Y., & Tang, Y. (2020). The effects of home literacy environment on children’s reading comprehension development: A meta-analysis. Educational Sciences: Theory & Practice, 20(2), 63–82. [Google Scholar] [CrossRef]
- Dowdall, N., Melendez-Torres, G. J., Murray, L., Gardner, F., Hartford, L., & Cooper, P. J. (2020). Shared picture book reading interventions for child language development: A systematic review and meta-analysis. Child Development, 91(2), e383–e399. [Google Scholar] [CrossRef] [PubMed]
- Dubowy, M., Duzy, D., Pröscholdt, M. V., Schneider, W., Souvignier, E., & Gold, A. (2011). Was macht den “Migrationshintergrund” bei Vorschulkindern aus? Ein Vergleich alternativer Klassifikationskriterien und ihr Zusammenhang mit deutschen Sprachkompetenzen [What constitutes ‘migration background’ in preschool children? A comparison of alternative classification criteria and their correlation with German language competencies]. Schweizerische Zeitschrift für Bildungswissenschaften, 33, 355–376. [Google Scholar] [CrossRef]
- Duncan, G. J., & Magnuson, K. A. (2003). Off with hollingshead: Socioeconomic resources, parenting, and child development. In M. H. Bornstein (Ed.), Socioeconomic status, parenting, and child development. Lawrence Erlbaum. [Google Scholar]
- Endlich, D., Berger, N., Küspert, P., Lenhard, W., Marx, P., Weber, J., & Schneider, W. (2017). WVT: Würzburg preschool test: Assessment of literacy and mathematical (precursor) abilities and linguistic competencies in the last year of kindergarten (german version). Hogrefe. [Google Scholar]
- Ennemoser, M., Marx, P., Weber, J., & Schneider, W. (2012). Spezifische Vorläuferfertigkeiten der Lesegeschwindigkeit, des Leseverständnisses und des Rechtschreibens [Specific precursor skills of reading speed, reading comprehension, and spelling]. Zeitschrift für Entwicklungspsychologie und Pädagogische Psychologie, 44(2), 53–67. [Google Scholar] [CrossRef]
- Ensminger, M., & Fothergill, K. (2003). A decade of measuring SES: What it tells us and where to go from here. In M. H. Bornstein (Ed.), Socioeconomic status, parenting, and child development (pp. 13–27). Lawrence Erlbaum. Available online: https://www.routledge.com/Socioeconomic-Status-Parenting-and-Child-Development/Bornstein-Bradley/p/book/9780415654272 (accessed on 11 January 2026).
- Ergül, C., Akoğlu, G., Ökcün-Akçamuş, M. Ç., & Kılıç-Tülü, B. (2025). Home literacy environment and literacy acquisition in Turkish. In G. Georgiou, & T. Inoue (Eds.), Literacy studies, perspectives from cognitive neurosciences, linguistics, psychology and education: Vol. 26. Home literacy environment and literacy acquisition: Evidence from different languages and contexts (1st ed., Vol. 26, pp. 173–186). Springer Nature Switzerland; Imprint Springer. [Google Scholar] [CrossRef]
- Fitton, L., McIlraith, A. L., & Wood, C. L. (2018). Shared book reading interventions with English learners: A meta-analysis. Review of Educational Research, 88(5), 712–751. [Google Scholar] [CrossRef]
- Flack, Z. M., Field, A. P., & Horst, J. S. (2018). The effects of shared storybook reading on word learning: A meta-analysis. Developmental Psychology, 54(7), 1334–1346. [Google Scholar] [CrossRef]
- Furnes, B., Elwér, Å., Samuelsson, S., Treiman, R., & Olson, R. K. (2024). The stability and developmental interplay of word reading and spelling: A cross-linguistic longitudinal study from kindergarten to grade 4. Reading and Writing, 37(9), 2411–2428. [Google Scholar] [CrossRef]
- Georgiou, G., & Inoue, T. (Eds.). (2025). Literacy studies, perspectives from cognitive neurosciences, linguistics, psychology and education: Vol. 26. Home literacy environment and literacy acquisition: Evidence from different languages and contexts (1st ed.). Springer Nature Switzerland; Imprint Springer. [Google Scholar] [CrossRef]
- Gibson, J. L., Newbury, D. F., Durkin, K., Pickles, A., Conti-Ramsden, G., & Toseeb, U. (2021). Pathways from the early language and communication environment to literacy outcomes at the end of primary school; The roles of language development and social development. Oxford Review of Education, 47(2), 260–283. [Google Scholar] [CrossRef]
- Hamilton, L. G., Hayiou-Thomas, M. E., Hulme, C., & Snowling, M. J. (2016). The home literacy environment as a predictor of the early literacy development of children at family-risk of dyslexia. Scientific Studies of Reading, 20(5), 401–419. [Google Scholar] [CrossRef] [PubMed]
- Hindman, A. H., Connor, C. M., Jewkes, A. M., & Morrison, F. J. (2008). Untangling the effects of shared book reading: Multiple factors and their associations with preschool literacy outcomes. Early Childhood Research Quarterly, 23(3), 330–350. [Google Scholar] [CrossRef]
- Hindman, A. H., Skibbe, L. E., & Foster, T. D. (2014). Exploring the variety of parental talk during shared book reading and its contributions to preschool language and literacy: Evidence from the early childhood longitudinal study-birth cohort. Reading and Writing, 27(2), 287–313. [Google Scholar] [CrossRef]
- Hoyt, W. T., & Kerns, M.-D. (1999). Magnitude and moderators of bias in observer ratings: A meta-analysis. Psychological Methods, 4(4), 403–424. [Google Scholar] [CrossRef]
- Hu, L., & Bentler, P. M. (1999). Cutoff criteria for fit indexes in covariance structure analysis: Conventional criteria versus new alternatives. Structural Equation Modeling: A Multidisciplinary Journal, 6(1), 1–55. [Google Scholar] [CrossRef]
- Inoue, T., Manolitsis, G., de Jong, P. F., Landerl, K., Parrila, R., & Georgiou, G. K. (2020). Home literacy environment and early literacy development across languages varying in orthographic consistency. Frontiers in Psychology, 11, 1923. [Google Scholar] [CrossRef] [PubMed]
- Inoue, T., Zhang, S.-Z., Su, M., Meng, Y., Shu, H., & Georgiou, G. K. (2025). Are parental influences on emergent literacy and word reading skills the same across socioeconomic contexts? A multisite study in China. Journal of Educational Psychology, 117(4), 603–625. [Google Scholar] [CrossRef]
- Kam Tse, S., Zhu, Y., Yan Hui, S., & Ng, H. W. (2017). The effects of home reading activities during preschool and Grade 4 on children’s reading performance in Chinese and English in Hong Kong. Australian Journal of Education, 61(1), 5–23. [Google Scholar] [CrossRef]
- Kiese-Himmel, C. (2005). AWST-R—Active vocabulary test for 3- to 5-year-old children. Hogrefe. [Google Scholar]
- Krijnen, E., van Steensel, R., Meeuwisse, M., Jongerling, J., & Severiens, S. (2020). Exploring a refined model of home literacy activities and associations with children’s emergent literacy skills. Reading and Writing, 33(1), 207–238. [Google Scholar] [CrossRef]
- Kuger, S., Pflieger, K., & Rossbach, H.-G. (2005). Familieneinschätzskala [Family rating scale]. DFG. Forschergruppe BiKS. [Google Scholar]
- Lai, J., Ji, X. R., Joshi, R. M., & Zhao, J. (2022). Investigating parental beliefs and home literacy environment on chinese kindergarteners’ English literacy and language skills. Early Childhood Education Journal. Advance online publication. [Google Scholar] [CrossRef]
- Lehrl, S., Ebert, S., Blaurock, S., Rossbach, H.-G., & Weinert, S. (2020). Long-term and domain-specific relations between the early years home learning environment and students’ academic outcomes in secondary school. School Effectiveness and School Improvement, 31(1), 102–124. [Google Scholar] [CrossRef]
- Lehrl, S., Ebert, S., & Rossbach, H.-G. (2013). Facets of preschoolers’ home literacy environments. What contributes to reading literacy in primary school? In S. Weinert (Ed.), Schriften aus der Fakultät Humanwissenschaften der Otto-Friedrich-Universität Bamberg: Vol. 14. The development of reading literacy from early childhood to adolescence: Empirical findings from the Bamberg BiKS longitudinal studies (pp. 35–62). Univ. of Bamberg Press. [Google Scholar]
- Lehrl, S., Ebert, S., Roßbach, H.-G., & Weinert, S. (2012). Die Bedeutung der familiären Lernumwelt für vorläufer schriftsprachlicher Kompetenzen im Vorschulalter. Journal of Family Research, 24(2), 115–133. [Google Scholar] [CrossRef]
- Lehrl, S., Linberg, A., Niklas, F., & Kuger, S. (2021). The home learning environment in the digital age-associations between self-reported “Analog” and “Digital” home learning environment and children’s socio-emotional and academic outcomes. Frontiers in Psychology, 12, 592513. [Google Scholar] [CrossRef]
- Lenhard, A., Lenhard, W., Segerer, R., & Suggate, S. (2015). PPVT-peabody picture vocabulary test (4th ed., German version). Pearson. [Google Scholar]
- Lenhard, W., & Schneider, W. (2006). Ein Leseverständnistest für Erst- bis Sechstklässler (ELFE 1–6) [A Reading comprehension test for grade 1 to grade 6]. Hogrefe. [Google Scholar]
- Lenhart, J., Suggate, S. P., & Lenhard, W. (2022). Shared-reading onset and emergent literacy development. Early Education and Development, 33(4), 589–607. [Google Scholar] [CrossRef]
- Lewalter, D., Diedrich, J., Goldhammer, F., Köller, O., & Reiss, K. (2023). PISA 2022. Waxmann. Advance online publication. [Google Scholar] [CrossRef]
- Liu, C. C., & Chung, K. K. H. (2025). The role of the home literacy environment in Chinese children’s language and literacy skills. In G. Georgiou, & T. Inoue (Eds.), Literacy studies, perspectives from cognitive neurosciences, linguistics, psychology and education: Vol. 26. Home literacy environment and literacy acquisition: Evidence from different languages and contexts (1st ed., Vol. 26, pp. 187–202). Springer Nature Switzerland; Imprint Springer. [Google Scholar] [CrossRef]
- Liu, C. C., Zhang, X., & Cheung, W. M. (2024). The longitudinal interplay of mothers’ and fathers’ literacy teaching and Chinese preschool children’s literacy interest and word reading abilities. Reading and Writing. Advance online publication. [Google Scholar] [CrossRef]
- Lonigan, C. J. (2007). Vocabulary development and the development of phonological awareness skills in preschool children. In R. K. Wagner, A. E. Muse, & K. R. Tannenbaum (Eds.), Vocabulary acquisition: Implications for reading comprehension (pp. 15–31). Guilford Press. [Google Scholar]
- Mackinnon, D. P., Lockwood, C. M., & Williams, J. (2004). Confidence limits for the indirect effect: Distribution of the product and resampling methods. Multivariate Behavioral Research, 39(1), 99. [Google Scholar] [CrossRef]
- Marjanovič-Umek, L., Hacin, K., & Fekonja, U. (2019). The quality of mother–child shared reading: Its relations to child’s storytelling and home literacy environment. Early Child Development and Care, 189(7), 1135–1146. [Google Scholar] [CrossRef]
- Martin-Chang, S., Ouellette, G., & Madden, M. (2014). Does poor spelling equate to slow reading? The relationship between reading, spelling, and orthographic quality. Reading and Writing, 27(8), 1485–1505. [Google Scholar] [CrossRef]
- McElvany, N., Lorenz, R., Frey, A., Goldhammer, F., Schilcher, A., & Stubbe, T. C. (Eds.). (2023). IGLU 2021: Lesekompetenz von Grundschulkindern im internationalen Vergleich und im trend über 20 Jahre. Waxmann. [Google Scholar]
- Meindl, M., & Jungmann, T. (2019). EuLe 4–5. Erzähl- und lesekompetenzen erfassen bei 4- bis 5-jährigen kindern [EuLe 4-5. Assessment of narrative and reading competencies of 4- to 5-year-old children]. Testzentrale. [Google Scholar]
- Mol, S. E., & Bus, A. G. (2011). To read or not to read: A meta-analysis of print exposure from infancy to early adulthood. Psychological Bulletin, 137(2), 267–296. [Google Scholar] [CrossRef]
- Mol, S. E., Bus, A. G., de Jong, M. T., & Smeets, D. J. H. (2008). Added value of dialogic parent–Child book readings: A meta-analysis. Early Education and Development, 19(1), 7–26. [Google Scholar] [CrossRef]
- Nag, S., Vagh, S. B., Dulay, K. M., Snowling, M., Donolato, E., & Melby-Lervåg, M. (2024). Home learning environments and children’s language and literacy skills: A meta-analytic review of studies conducted in low- and middle-income countries. Psychological Bulletin, 150(2), 132–153. [Google Scholar] [CrossRef]
- Newman, D. A. (2014). Missing Data. Organizational Research Methods, 17(4), 372–411. [Google Scholar] [CrossRef]
- Niklas, F. (2011). Vorläuferfertigkeiten im Vorschulalter zur Vorhersage der Schulfähigkeit, späterer Rechenschwäche und Lese- und Rechtschreibschwäche: Diagnostik, Zusammenhänge und Entwicklung in Anbetracht der bevorstehenden Einschulung. [Preschool precursor skills for predicting school readiness, later mathematical difficulties, and reading and spelling difficulties: Assessment, associations, and development in anticipation of school entry] Zugl.: Würzburg, Univ., Diss., 2010. In Schriftenreihe Schriften zur pädagogischen Psychologie: Vol. 48. Kovač. [Google Scholar]
- Niklas, F., Annac, E., & Wirth, A. (2020). App-based learning for kindergarten children at home (Learning4Kids): Study protocol for cohort 1 and the kindergarten assessments. BMC Pediatrics, 20(1), 554. [Google Scholar] [CrossRef]
- Niklas, F., Birtwistle, E., Wirth, A., Schiele, T., & Mues, A. (2022). App-based learning for kindergarten children at home (Learning4Kids): Study protocol for cohort 2 and the school assessments. BMC Pediatrics, 22(1), 705. [Google Scholar] [CrossRef]
- Niklas, F., Mues, A., Valcárcel Jiménez, M., Schiele, T., Birtwistle, E., & Wirth, A. (2025). Empirische Arbeit: Die Familiäre Lernumwelt als Mediator zwischen Elterneinstellungen und schriftsprachlichen und mathematischen Kompetenzen im Vorschulalter [Empirical study: The family learning environment as a mediator between parental attitudes and early literacy and numeracy skills in preschool children]. Psychologie in Erziehung und Unterricht, 72(2), 133–147. [Google Scholar] [CrossRef]
- Niklas, F., & Schneider, W. (2013). Home Literacy Environment and the beginning of reading and spelling. Contemporary Educational Psychology, 38(1), 40–50. [Google Scholar] [CrossRef]
- Niklas, F., & Schneider, W. (2017). Home learning environment and development of child competencies from kindergarten until the end of elementary school. Contemporary Educational Psychology, 49, 263–274. [Google Scholar] [CrossRef]
- Novita, S., & Kluczniok, K. (2022). Receptive vocabulary of preschool children with migration backgrounds: The effect of home literacy activities. Early Child Development and Care, 192(11), 1728–1743. [Google Scholar] [CrossRef]
- Ouellette, G., & Shaw, E. (2014). Oral vocabulary and reading comprehension: An intricate affair. L’année Psychologique, 114(4), 623–645. [Google Scholar] [CrossRef]
- Park, H. (2008). Home literacy environments and children’s reading performance: A comparative study of 25 countries. Educational Research and Evaluation, 14(6), 489–505. [Google Scholar] [CrossRef]
- R Core Team. (2022). R: A language and environment for statistical (Version 2023.06.0) [Computer software]. R Core Team.
- Rosseel, Y. (2012). lavaan: An R Package for Structural Equation Modeling. Journal of Statistical Software, 48(2), 1–36. [Google Scholar] [CrossRef]
- Schneider, W., Blanke, I., Faust, V., & Küspert, P. (2011). Würzburger leise Leseproberevision (WLLP-R). Ein Gruppentest für die Grundschule [Würzburger silent reading test—Revision (WLLP-R). A group test for elementary school]. Hogrefe. [Google Scholar]
- Schumacker, R. E., & Lomax, R. G. (2010). A Beginner’s guide to structural equation modeling (3rd ed.). Routledge. [Google Scholar]
- Sénéchal, M., & LeFevre, J.-A. (2002). Parental involvement in the development of children’s reading skill: A five-year longitudinal study. Child Development, 73(2), 445–460. [Google Scholar] [CrossRef] [PubMed]
- Sénéchal, M., Ouellette, G., & Young, L. (2004). Testing the concurrent and predictive relations among articulation accuracy, speech perception, and phoneme awareness. Journal of Experimental Child Psychology, 89(3), 242–269. [Google Scholar] [CrossRef] [PubMed]
- Silinskas, G., Sénéchal, M., Torppa, M., & Lerkkanen, M.-K. (2020). Home literacy activities and children’s reading skills, independent reading, and interest in literacy activities from kindergarten to grade 2. Frontiers in Psychology, 11, 1508. [Google Scholar] [CrossRef]
- Sirin, S. R. (2005). Socioeconomic status and academic achievement: A meta-analytic review of research. Review of Educational Research, 75(3), 417–453. [Google Scholar] [CrossRef]
- Sonnenschein, S., & Munsterman, K. (2002). The influence of home-based reading interactions on 5-year-olds’ reading motivations and early literacy development. Early Childhood Research Quarterly, 17(3), 318–337. [Google Scholar] [CrossRef]
- Stevens, J. (2009). Applied multivariate statistics for the social sciences (5th ed). Routledge. [Google Scholar]
- Stock, C., & Schneider, W. (2008). Deutscher Rechtschreibtest für das erste und zweite Schuljahr (DERET 1–2+) [German spelling test for grade 1 and 2]. Hogrefe. [Google Scholar]
- Storch, S. A., & Whitehurst, G. J. (2002). Oral language and code-related precursors to reading: Evidence from a longitudinal structural model. Developmental Psychology, 38(6), 934–947. [Google Scholar] [CrossRef]
- The NICHD Early Child Care Research Network. (2005). Pathways to reading: The role of oral language in the transition to reading. Developmental Psychology, 41(2), 428–442. [Google Scholar] [CrossRef]
- Torppa, M., Vasalampi, K., Eklund, K., & Niemi, P. (2022). Long-term effects of the home literacy environment on reading development: Familial risk for dyslexia as a moderator. Journal of Experimental Child Psychology, 215, 105314. [Google Scholar] [CrossRef]
- Treiman, R., Hulslander, J., Olson, R. K., Samuelsson, S., Elwér, Å., Furnes, B., & Byrne, B. (2023). Predicting later spelling from kindergarten spelling in U.S., Australian, and Swedish children. Scientific Studies of Reading, 27(5), 428–442. [Google Scholar] [CrossRef]
- Ünlütabak, B., Aktan-Erciyes, A., Yılmaz, D., Kandemir, S., & Göksun, T. (2022). Parental input during book reading and toddlers’ elicited and spontaneous communicative interactions. Journal of Applied Developmental Psychology, 81, 101436. [Google Scholar] [CrossRef]
- Valcárcel Jiménez, M., Heine, J.-H., Schiele, T., Mues, A., & Niklas, F. (2025). The role of parental attitudes, home literacy environment, and migration background in preschool children’s emergent literacy skills. Journal of Applied Developmental Psychology, 99, 101830. [Google Scholar] [CrossRef]
- van Steensel, R., Gouw, B., Liefers, S., & van Aspert, T. (2024). Cognitively challenging talk during shared reading: Effects of parent gender, child gender and relations with story comprehension. Journal of Early Childhood Literacy, 24(4), 839–861. [Google Scholar] [CrossRef]
- Vygotsky, L. S., Cole, M., Jolm-Steiner, V., Scribner, S., & Souberman, E. (1980). Mind in society. Harvard University Press. Advance online publication. [Google Scholar] [CrossRef]
- Wegener, B. (1988). Kritik des Prestiges [Prestige criticism]. Westdeutscher Verlag. [Google Scholar]
- Weis, M., Müller, K., Mang, J., Heine, J. K., Mahler, N., & Reiss, K. (2019). Soziale Herkunft, Zuwanderungshintergrund und Lesekompetenz [Social background, migration background, and reading competence]. In K. Reiss, M. Weis, E. Klieme, & O. Köller (Eds.), PISA 2018. Grundbildung im internationalen Vergleich [PISA 2018. Basic education in international comparison] (pp. 129–160). Waxmann. [Google Scholar]
- Whitehurst, G. T., & Lonigan, C. J. (1998). Child Development and Emergent Literacy. Child Development, 69(3), 848–872. [Google Scholar]
- Wirth, A., Stadler, M., Birtwistle, E., & Niklas, F. (2023). New directions in the conceptualization and operationalization of the home learning environment. Journal of Educational Psychology. Advance online publication. [Google Scholar] [CrossRef]
- Zhang, S.-Z., Inoue, T., Cao, G., Li, L., & Georgiou, G. K. (2023a). Unpacking the effects of parents on their children’s emergent literacy skills and word reading: Evidence from urban and rural settings in China. Scientific Studies of Reading, 27(4), 355–374. [Google Scholar] [CrossRef]
- Zhang, S.-Z., Inoue, T., & Georgiou, G. K. (2023b). Examining the relations between mothers’ reading skills, home literacy environment, and Chinese children’s word reading across contexts. Reading and Writing. Advance online publication. [Google Scholar] [CrossRef]
- Zhang, X., Lau, C., & Su, Y. (2023). Home environment and development of English as a second/foreign language for young children in asian contexts: A systematic review and meta-analysis. Early Education and Development, 34(1), 274–305. [Google Scholar] [CrossRef]
Disclaimer/Publisher’s Note: The statements, opinions and data contained in all publications are solely those of the individual author(s) and contributor(s) and not of MDPI and/or the editor(s). MDPI and/or the editor(s) disclaim responsibility for any injury to people or property resulting from any ideas, methods, instructions or products referred to in the content. |
© 2026 by the authors. Licensee MDPI, Basel, Switzerland. This article is an open access article distributed under the terms and conditions of the Creative Commons Attribution (CC BY) license.
