A Preliminary Determination of Mechanical and Suspension Properties of Waste Mulch Film and Cotton Stalk
Abstract
1. Introduction
2. Materials and Methods
2.1. Materials
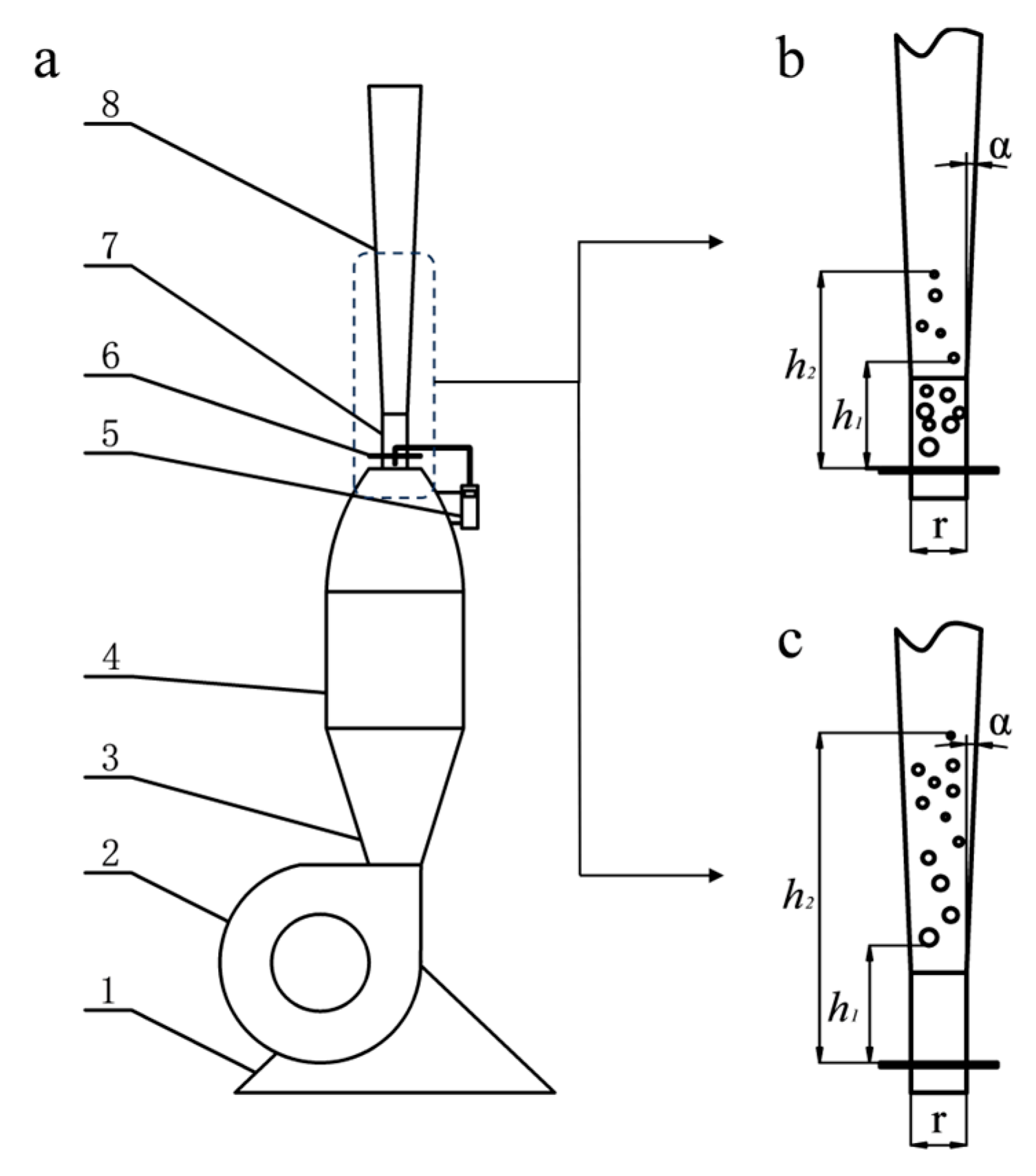
2.2. Equipment
2.3. Methods
2.3.1. Mechanical Properties Test
2.3.2. Suspension Properties Test
3. Results
3.1. Mechanical Properties of the Waste Mulch Film and Cotton Stalk
3.1.1. Tensile Properties of the Waste Mulch Film
3.1.2. Shear Properties of the Cotton Stalk
3.2. Suspension Properties of the Waste Mulch Film and Cotton Stalk
3.2.1. Suspension Properties of the Waste Mulch Film
3.2.2. Suspension Properties of the Cotton Stalk
3.2.3. Comparison of the Suspension Properties
4. Discussion
5. Conclusions
Author Contributions
Funding
Institutional Review Board Statement
Data Availability Statement
Conflicts of Interest
References
- Yang, J.L.; Ren, L.Q.; Zhang, N.H.; Liu, E.K.; Sun, S.K.; Ren, X.L.; Jia, Z.K.; Ting, W.E.; Zhang, P. Can Soil Organic Carbon Sequestration and Carbon Management Index Be Improved by Changing the Film-Mulching Methods in Semiarid Region? J. Integr. Agric. 2023, in press. [Google Scholar] [CrossRef]
- Xiao, L.; Wei, X.; Wang, C.; Zhao, R. Plastic Film Mulching Significantly Boosts Crop Production and Water Use Efficiency but Not Evapotranspiration in China. Agric. Water Manag. 2023, 275, 108023. [Google Scholar] [CrossRef]
- Anzalone, A.; Cirujeda, A.; Aibar, J.; Pardo, G.; Zaragoza, C. Effect of Biodegradable Mulch Materials on Weed Control in Processing Tomatoes. Weed Technol. 2010, 24, 369–377. [Google Scholar] [CrossRef]
- McIntosh, H.; Guédot, C.; Atucha, A. Plastic mulches improve yield and reduce spotted-wing drosophila in primocane raspberry. Sci. Hortic. 2023, 320, 112203. [Google Scholar] [CrossRef]
- Ingman, M.; Santelmann, M.V.; Tilt, B. Agricultural water conservation in china: Plastic mulch and traditional irrigation. Ecosyst. Health Sustain. 2015, 1, 1–11. [Google Scholar] [CrossRef]
- Wei, J.I.; Xuejun, Z.H.; Youchun, D.I.; Shenghe, B.A.; Weipeng, L.I.; Xincheng, Z.H. Experiment on Suspension Separation of Residual Film and Impurity Based on Edem Fluent Coupling. Trans. Chin. Soc. Agric. Mach. 2022, 53, 89–98. [Google Scholar]
- Yang, L.; Heng, T.; He, X.; Yang, G.; Zhao, L.; Li, Y.; Xu, Y. Spatial-Temporal Distribution and Accumulation Characteristics of Residual Plastic Film in Cotton Fields in Arid Oasis Area and the Effects on Soil Salt Transport and Crop Growth. Soil Tillage Res. 2023, 231, 105737. [Google Scholar] [CrossRef]
- Yu, Y.; Zhang, Z.; Zhang, Y.; Jia, H.; Li, Y.; Yao, H. Abundances of Agricultural Microplastics and Their Contribution to the Soil Organic Carbon Pool in Plastic Film Mulching Fields of Xinjiang, China. Chemosphere 2023, 316, 137837. [Google Scholar] [CrossRef] [PubMed]
- Shen, Y.; Liang, C.; Liu, Y.; Tian, M.; Qian, X. Agricultural Film Utilization Status in China and Its Pollution Control Measures. Mod. Agric. Sci. Technol. 2023, 12, 147–151+159. [Google Scholar]
- Yu, W.; Ling, Y.; Xia, X.; Adili, T. Current Situation of Recycling Used Mulch on Farmland in Xinjiang and Suggestions for Countermeasures. Xinjiang Agric. Sci. Technol. 2023, 2, 43–44. [Google Scholar]
- Chen, J.L.; Yun, J.; Qi, G.; Li, F.; Zhang, Y.; Liu, X.; Xing, S. Design and Test of Quality Index for Farmland Residual Film Recovery Operation. Agric. Eng. 2017, 7, 7–10. [Google Scholar]
- Ma, L.; Chen, D.; Zhou, G. Technologies and Machinery of Waste Agricultural Plastic Film Granulitization in China. China Resour. Compr. Util. 2015, 1, 13–17. [Google Scholar]
- Tang, H.; Xu, W.; Zhao, J.; Xu, C.; Wang, J. Comparison of Rice Straw Compression Characteristics in Vibration Mode Based on Discrete Element Method. Biosyst. Eng. 2023, 230, 191–204. [Google Scholar] [CrossRef]
- Carrasco, F.; Pagès, P.; Pascual, S.; Colom, X. Artificial aging of high-density polyethylene by ultraviolet irradiation. Eur. Polym. J. 2001, 37, 1457–1464. [Google Scholar] [CrossRef]
- Guo, H.; Yu, X.D.; Jin, W.; He, N.D.; Guo, W.H. Establishment of Prediction Model for Tensile Mechanics of Plastic Film and Prediction of Film Thickness. J. Chin. Agric. 2020, 41, 173–178. [Google Scholar]
- Jing, S.; Zhang, F.; Chen, X.; Fu, D.; Zhang, Z.; Wu, X. Unidirectional Tensile Tearing Characteristics of the Film at Different Speeds. Jiangsu Agric. Sci. 2019, 47, 225–230. [Google Scholar]
- Wang, K.; Luo, X.; Chen, X.; Hu, B.; Chen, Y. Tension-Test Design and Research of Residual Film for Spring-Tooth Holding Device. J. Gansu Agric. Univ. 2018, 53, 181–186. [Google Scholar]
- Jiaxi, Z.; Xuenong, W.; Li, Z.; Yongxin, J.; Haichun, Z.; Xuanfeng, L.; Yuanyuan, Q.; Xiangjin, W.; Shanshan, Z. Effects of Mechanical Tensile Properties of Plastic Film on Plastic Recycling Method. Trans. Chin. Soc. Agric. Eng. 2015, 31, 41–47. [Google Scholar]
- Aydın, İ.; Arslan, S.J. Mechanical properties of cotton shoots for topping. Ind. Crop. Prod. 2018, 112, 396–401. [Google Scholar] [CrossRef]
- Li, C.H.; Yang, X.H.; Xu, P. Study on the Movement Dynamics of Waste Plastic Film in the Separation Chamber. Mech. Sci. Technol. Aerosp. Eng. 2013, 32, 744–746+50. [Google Scholar]
- Guo, W.; Kan, Z.; Zhang, R.; Guo, S.; An, H.; Cong, T. Analysis of Material Character Based on Mesh Roller-Type Cotton and Film Remnant Separator. Trans. CSAE 2011, 27 (Suppl. 2), 1–5. [Google Scholar]
- Li, K.; Peng, Q.; Niu, M.; Kang, J.; Liu, F.; Zhang, G.; Wang, X. Simulation Calculation Method of Parameters of Air Separation Equipment Based on Cfd-Dpm. Agric. Equip. Veh. Eng. 2023, 61, 1–6. [Google Scholar]
- Tang, H.; Xu, C.; Zhao, J.; Wang, J. Stripping Mechanism and Loss Characteristics of a Stripping-Prior-to-Cutting Header for Rice Harvesting Based on Cfd-Dem Simulations and Bench Experiments. Biosyst. Eng. 2023, 229, 116–136. [Google Scholar] [CrossRef]
- ISO 1184-1983; Determination of Tensile Properties of Films. ISO: Geneva, Switzerland, 1983.
- Gb/T26551-2011; Livestock Machinery—Fodderchopping. Standards Press of China: Beijing, China, 2011.
- ISO 3129-2012; Wood—Sampling Methods and General Requirements for Physical and Mechanical Testing of Small Clear Wood Specimens. ISO: Geneva, Switzerland, 2012.
- Hou, H.; Cui, Q.; Guo, Y.; Zhang, Y.; Sun, D.; Lai, S.; Liu, J. Design and Test of Air- Sweeping Suspension Velocity Testing Device for Cleaning Threshed Materials of Grain and Oil Crops. Trans. Chin. Soc. Agric. Eng. 2018, 34, 43–49. [Google Scholar]
- Tang, H.; Xu, F.; Xu, C.; Zhao, J.; Wang, Y.J. The Influence of a Seed Drop Tube of the inside-Filling Air-Blowing Precision Seed-Metering Device on Seeding Quality. Comput. Electron. Agric. 2023, 204, 107555. [Google Scholar] [CrossRef]
- Briassoulis, D. Mechanical behaviour of biodegradable agricultural films under real field conditions. Polym. Degrad. Stab. 2006, 91, 1256–1272. [Google Scholar] [CrossRef]
- Guo, K.; Cao, M.; Gu, F.; Wu, F.; Yang, H.; Xu, H.; Hu, Z. Mechanical Properties of Metallocene Linear Low-Density Polyethylene Mulch Films Correlate with Ultraviolet Irradiation and Film Thickness. Sustainability 2023, 15, 6713. [Google Scholar] [CrossRef]
- Cai, H.; Simayi, N.; Zhang, S.; Yang, J.; Maimaitijiang, Y. Research of the Relativity between Natural Aging and Artificial Accelerated Aging of Agricultural Plastic Film. Xinjiang Agric. Sci. 2010, 47, 1580–1583. [Google Scholar]
- Ding, L.; Chen, Y.; Ge, Y.; Wang, L. Research on the Shear Mechanical Properties of Cotton Stalks. J. Chin. Agric. Mech. 2016, 37, 116–118. [Google Scholar]
- Shen, X.Y.; Wang, P.; Jiang, S.; Xu, S.Y. Study on Mechanical Property of Compression and Shearing of Cotton Stalks. J. Agric. Mech. Res. 2010, 32, 155–158. [Google Scholar]
- Gao, T.; Yan, Y.; Li, F.; Li, Y.; Tian, F.; Chen, C.; Song, Z. Shear Mechanical Properties of Cotton Stalks at the Harvesting Time Based on Response Surface Methodology. China Sci. 2016, 11, 2542–2547. [Google Scholar]
- Shi, N.; Guo, K.; Fan, Y.; Liu, B.; Yuan, X. Peeling and Shearing Mechanical Performance Test of Cotton Stalks in Extrusion State. Trans. Chin. Soc. Agric. Eng. 2017, 33, 51–58. [Google Scholar]











| Specimen | Classification | Quantity |
|---|---|---|
| Waste mulch film | 0.50 g | 3 |
| 1.25 g | 3 | |
| 2.00 g | 3 | |
| Cotton stem | D ≤ 7.5 mm | 10 |
| D > 7.5 mm | 10 | |
| Cotton rhizome | D ≤ 12.2 mm | 10 |
| D > 12.2 mm | 10 | |
| Cotton root | D ≤ 4.0 mm | 10 |
| D > 4.0 mm | 10 |
| Waste Mulch Film Quantity (g) | First Suspension Velocity (m/s) | Second Suspension Velocity (m/s) | Total Suspension Velocity (m/s) |
|---|---|---|---|
| 0.50 | 0.63~0.78 | 2.06~2.80 | 0.63~2.80 |
| 1.25 | 0.93~1.06 | 2.39~3.00 | 0.93~3.00 |
| 2.00 | 1.02~1.13 | 2.42~3.09 | 1.02~3.09 |
| Specimen | Diameter (mm) | First Suspension Velocity (m/s) | Second Suspension Velocity (m/s) | Total Suspension Velocity (m/s) |
|---|---|---|---|---|
| Cotton stem | D ≤ 7.5 | 4.30~5.14 | 6.10~9.10 | 4.30~9.10 |
| D > 7.5 | 4.61~5.54 | 6.15~10.13 | 4.61~10.13 | |
| Cotton rhizome | D ≤ 12.2 | 6.26~6.82 | 9.48~12.26 | 6.26~12.26 |
| D > 12.2 | 7.10~7.83 | 10.11~13.18 | 7.10~13.18 | |
| Cotton root | D ≤ 4.0 | 4.07~4.99 | 4.64~8.03 | 4.07~8.03 |
| D > 4.0 | 4.20~5.16 | 4.80~8.22 | 4.20~8.22 |
Disclaimer/Publisher’s Note: The statements, opinions and data contained in all publications are solely those of the individual author(s) and contributor(s) and not of MDPI and/or the editor(s). MDPI and/or the editor(s) disclaim responsibility for any injury to people or property resulting from any ideas, methods, instructions or products referred to in the content. |
© 2023 by the authors. Licensee MDPI, Basel, Switzerland. This article is an open access article distributed under the terms and conditions of the Creative Commons Attribution (CC BY) license (https://creativecommons.org/licenses/by/4.0/).
Share and Cite
Guo, K.; Cao, M.; Yang, H.; Luo, W.; Qin, M.; Wu, F.; Gu, F.; Hu, Z. A Preliminary Determination of Mechanical and Suspension Properties of Waste Mulch Film and Cotton Stalk. Agriculture 2023, 13, 1572. https://doi.org/10.3390/agriculture13081572
Guo K, Cao M, Yang H, Luo W, Qin M, Wu F, Gu F, Hu Z. A Preliminary Determination of Mechanical and Suspension Properties of Waste Mulch Film and Cotton Stalk. Agriculture. 2023; 13(8):1572. https://doi.org/10.3390/agriculture13081572
Chicago/Turabian StyleGuo, Kai, Mingzhu Cao, Hongguang Yang, Weiwen Luo, Mingyang Qin, Feng Wu, Fengwei Gu, and Zhichao Hu. 2023. "A Preliminary Determination of Mechanical and Suspension Properties of Waste Mulch Film and Cotton Stalk" Agriculture 13, no. 8: 1572. https://doi.org/10.3390/agriculture13081572
APA StyleGuo, K., Cao, M., Yang, H., Luo, W., Qin, M., Wu, F., Gu, F., & Hu, Z. (2023). A Preliminary Determination of Mechanical and Suspension Properties of Waste Mulch Film and Cotton Stalk. Agriculture, 13(8), 1572. https://doi.org/10.3390/agriculture13081572

