Abstract
In this study, a tree-whitening machine was designed based on the collaborative operation of multiple spray nozzles. This research utilized infrared ranging, ultrasonic detection, and spraying devices in order to realize the accurate spraying of trees and improve the efficiency and quality of spraying. The test results show that the working efficiency of the machine is 300 trees/h, the spraying coverage is up to 96.5%, and the applicable trunk circumference range is 500–1250 mm, which is more advantageous than the American UltraMaxII695 high-pressure electric spraying machine, the domestic HT20 machine, etc. Furthermore, it improves the working efficiency by 7.1%, the spraying coverage by 6.7%, and the expansion of the adaptable trunk circumference range by 20%, as well as having further advantages.
1. Introduction
By whitewashing trees, sunlight absorption and water evaporation can be effectively reduced [1]. This involves brushing the trunks with prepared lime water and applying insect repellents, and it is an important part of winter tree-greening management [2,3,4]. It is seen as an important means of tree protection, as the tree’s ability to withstand disease is enhanced, and a solid foundation for its healthy growth is established. After the trunk is whitened, it can reflect approximately half of the sunlight [5], which, in turn, can effectively prevent the temperature of the trunk from changing too fast and, thus, reduce the temperature difference between day and night, preventing the occurrence of frost damage [6,7]. A mixture of solvents is used that is composed of many different materials [8], including lime water, table salt, and powdered sulfur. This liquid not only inhibits the propagation of bacteria but also effectively removes pests from the bark, thus protecting the plant [9]. In addition to this, trunk “whitewashing” also plays an aesthetic role and can act as a safety warning [10]. Tree-whitening robotic manipulators, high-speed instruments, part infrastructures, and various models are popular applications that use cantilever beams that are anchored via an intermediate lumped mass of concrete within their base [11,12].
Foreign tree-whitening machine models are mainly electric handheld sprayers; for example, the United States UltraMaxII695 high-pressure electric sprayer, due to the geographical environment, as well as cultural reasons, is rarely used in winter trunk whitening, so there are few international research reports on tree-brushing and -whitening devices [13,14]. Handheld electric sprayers are very important for reducing workload, improving the quality of spraying, and improving product competitiveness; however, they cannot completely replace manual labor, as workers are still required to hold the spray nozzle when spraying tree trunks.
With the increasing area of tree cover in the country, the need for automatic tree-whitening devices is becoming increasingly important [15,16]. Zhang Tianhui et al. designed an automatically liftable tree-whitening machine that uses a hydraulic pump to deliver the whitening agent stored in a lime slurry tank to a ring sprayer, which can then be adjusted according to the thickness of the tree trunks, with a spraying coverage of 90.4%, a spraying efficiency of 2000 pcs/day, and a coating unit capacity of 40 L/bucket. Haichao Li et al. [17] presented the structure of a tree-whitening machine that can be used to achieve the whitening of trees via mechanized techniques. The mechanism of this machine is very simple, with three different manipulator sizes. It can resist extremely high, medium, and low temperatures, and it is dimensionally stable. However, the design of the mechanical arm can only target specific tree diameters when spraying, and it cannot be used to whitewash inclined trees, which is a great limitation. It has a spraying coverage of 85.6%, a spraying efficiency of 1600 pcs/day, and a paint unit capacity of 50 L/bucket. Liu Jing et al. [18] invented a new machine for automatic tree whitewashing. By adopting the design of a wheel-legged rack and pinion, it can easily cross obstacles and meet the needs of various complex environments; however, its design focuses on the movement of the device and does not offer much improvement in terms of design or specific spraying work, with a spraying coverage rate of 88.7%, a spraying efficiency of 1600 pcs/day, and a coating device capacity of 45 L/bucket. Gao Yanyu et al. [19] designed an automatic lifting tree-whitening program to enable devices to adapt to different tree diameters. It achieves this by automatically adjusting the opening of the slurry-spraying device and by controlling the slurry-spraying height via a sliding connection with its screw. However, there is no relevant prototype, and there are no experimental analysis data. Chen Shibin et al. produced a spray–brush combination planetary tree-whitening machine for the winter whitening of urban green belt trees and other environmental trees. This uses the principle of planetary motion and trunk fixation to achieve efficient, continuous, and automatic tree whitening. However, the structure is too complicated and difficult to realize. Its spraying coverage rate is 96.6%, its spraying efficiency is 24,000 pcs/day, and the capacity of the paint device is 40 L/bucket.
Wei Lei [20] invented a tree-whitening device comparable to a machine that is able to automize tree whitewashing, but it does not need power, as it automatically pumps the whitening liquid into the rolling brush, eliminating the need to dip the rolling brush into the whitening liquid, saving energy and time. The handlebar is telescopic, allowing it to achieve the different heights required for whitening, and the device includes a rangefinder, making it convenient for determining the height required for whitening. Compared with the machine studied in this article, this machine is able to realize the automatic application of the white coating liquid, and, at the same time, it can be equipped with a greater capacity of the white coating liquid, making it more advantageous in terms of range. The manual working device invented by Wei Lei can also offer a higher working efficiency than its alternative, achieved through the automation of the application of the white coating. Deng Weiwei [21] invented an inline tree-whitening machine. The upper end of the track for this machine includes a mobile device, the upper end of which is fixed to the whitening device. This solves the problem of the low efficiency of manual whitening, and it helps achieve the requirement that all surfaces of a tree must be uniformly coated with the lime slurry in order for the machine to successfully whiten it. Compared with the machine studied in this paper, this machine has a center-of-gravity adjustment mechanism, and it has an inverted trapezoidal track chassis. This structure can improve the machine’s ability to cross obstacles in complex environments, compared with the inline whitening machine invented by Deng Weiwei, which can work better in complex trees. Jin Yonggang [22] invented a spraying machine for tree whitening, which was designed to realize the whitening function by injecting the whitening agent from the inlet of the spray tank and continuously sucking out the air in the plunger pump, thereby sucking the whitening agent in the spray tank into the plunger pump, which then enters the spraying pipe on the side of the plunger pump to spray from the spraying nozzle. Compared with the machine studied in this article, this machine is able to control the closing angle of the spraying device, the movement speed, and the pressure change of the spraying pump via a movement mechanism so as to realize the precise spraying of trees and improve the efficiency and quality of spraying. It has a better whitening quality than the tree-whitening machine invented by Jin Yonggang.
In view of the above situation, the current designs of automatic tree-whitening machines still remain in the programming or prototype stage, and the key technology of automatic tree whitening has not yet been studied to solve the problems of spraying efficiency, spraying quality, paint waste, etc. For this reason, this project systematically examined an intelligent spraying method for tree whitewashing based on the cooperative operation of multiple spray nozzles, and it developed an intelligent tree-whitewashing machine that can realize intelligent profiling positioning, the precise control of spray pressure, and a uniform and full spraying coverage so as to improve the efficiency and quality of spraying and lay a foundation for the development of this work. The structural design of the machine’s key components, the design of the core spray holding mechanism, and static and kinematic simulation analyses were carried out. The design of the control system, measured via a test of the machine efficiency of 300 trees/h/hour, can adapt to a trunk circumference in the range of 500–1250 mm, has a spraying angle adjustment range between 80 and 140°, and achieves an average spraying coverage of up to 96.5%. Compared with a traditional tree-whitening machine, the working efficiency is increased by 7.1%, the range of the trunk circumference can be adapted to expand by 20%, the adjustment of the spraying angle can be increased, and the average spraying coverage is increased by 6.7%, which is more advantageous. Compared with existing machines, this machine is remote-operated, and the operator only needs to control the machine remotely via a computer to complete its operation; furthermore, the machine is easy to operate, thus improving the efficiency of tree whitewashing, which helps to protect the environment.
2. Materials and Methods
2.1. Structural Design of Key Components
Before designing the tree-whitening machine, the overall program was designed. After researching tree diameters, the design requirements and performance indices were determined. The workflow was analyzed to determine the rationality and feasibility of the program. The schematic design of the mechanical system of a tree-whitening machine is the basis for solving the whitening problem; therefore, this section first determines the mechanical system’s schematic design and the three-dimensional modeling of the key components, such as the spray-holding mechanism, and it verifies the rationality of the key mechanism via static and dynamic analyses.
2.1.1. Tree-Whitewashing Six-Sprayer Strategy
The relevant growth parameters (diameter, trunk height, trunk curvature, etc.) of ornamental gardens and roadside trees were used to establish a parameter library [23,24]. The spraying method was based on six nozzles working together, and it was analyzed. The optimal nozzle position and spraying angle were determined, and full-coverage tree trunk whitewashing was realized. A tree trunk of a certain height was approximated to be composed of countless cross-section circles, and a certain cross-section was taken as the object of study. A, B, C, D, E, and F are the positions of the six spray nozzles, and the six spray nozzles form a combination of spraying, which constitutes a concentric circle with the cross-section circle of the tree trunk, as shown in the figure. The spray nozzles were kept horizontal during the working process, and the spraying range of the six nozzles covered the entire circumference of the trunk by changing the distance between the nozzles and the trunk, as well as the nozzle tension angle. Different parameters, such as the spray angle, distance, and pressure, were studied to explore their influence on the tree surface whitening law, and a corresponding mathematical model was established to determine a workflow model for the automatic tree-whitening machine and the automatic whitening strategy.
It has been shown that the spray angle of the nozzle changes with pressure, and the diameters of various tree trunks are mostly different. If the distance of the nozzle from the tree trunk is fixed, spraying different trees may result in the spraying area not being completely covered or the paint not being sprayed on the tree trunk, causing waste. To solve this problem, the spray angle of the nozzle changes with the size of the trunk diameter and the position of the nozzle, forming a concentric outer circle. The structural design is illustrated in Figure 1.
Figure 1.
Schematic diagram of spraying angle of the six nozzles.
2.1.2. Spray Holding and Mechanism Design
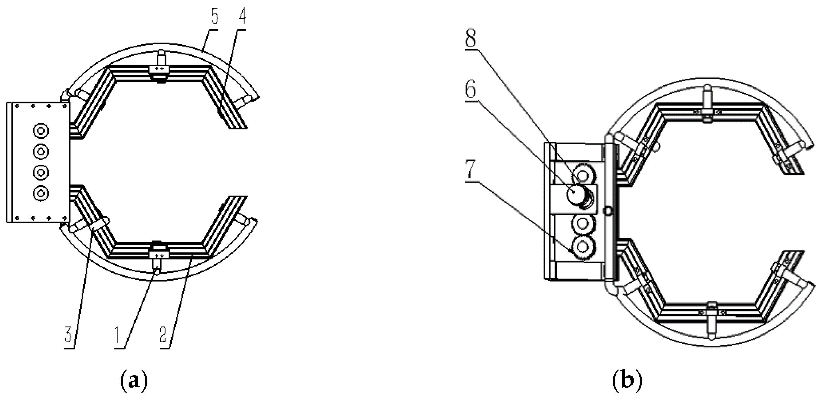
The first spray-holding mechanism consists of an aluminum bracket and gears, clamps, and nozzles, driven by the bottom of a DC gearmotor. Four gears mesh with each other to drive the opening and closing of the aluminum bracket, based on the principle that the smaller the modulus of the gears, the smoother the gears run. The four moduli of the gears are set to 0.5, and the nozzles are connected to the lower part of the aluminum profile via the clamps in a circumferential array. Based on the tree circumference range, the length and angle of the holding arm and the number of nozzles are designed accordingly, and the corresponding installation positions are determined. Among them, a single ring length of the aluminum profile holder is 400 mm, which is connected by 120° aluminum profile connectors. The structural design is shown in Figure 2.
Figure 2.
Structure of spraying device: (a) front view; (b) top view. 1—ultrasonic sensor, 2—aluminum profile bracket, 3—infrared ranging sensor, 4—wide-angle nozzle, 5—feeding tube, 6—DC gear motor, 7—gear, and 8—coupling.
2.1.3. Analysis of the Motion Process of the Transmission Mechanism of the Spraying Device
The transmission mechanism of the spraying device is shown in Figure 3, which consists of four one-mode 40-tooth gears. Through the optical shaft with a diameter of 8 mm and MF148 bearings with an inner diameter of 8 mm, the gears are fixed to a stainless steel bracket, and the motor drives gears no. 1 and no. 4 through gear no. 3 to hold the arm open or closed [25,26,27,28].
Figure 3.
Spray-holding driving mechanism.
The equation of the motion of the drive train is as follows:
where TM is the torque generated by the unfolding motor, TL is the torque of the load, and GD2 is the generating moment of inertia.
The tensioning device corner error is as follows:
where − Δ is the angular error of the kth gear, and is the kth gear ratio.
The (open) equivalent inertia of the motor shaft is :
where is the rotational inertia of gear i (i = 1, 2, 3, 4); is the ratio between gears (i = 1, 2, 3, and 4); d is the diameter of the indexing circle; B is the tooth width; and γ is the density.
Equations (4) and (5) can be obtained by substituting them into Equation (6).
where i is the total transmission ratio.
The total transmission efficiency, , of the transmission mechanism of the spraying device is .
Herein, is the transmission efficiency of the motor, is the transmission efficiency of the coupling, is the transmission efficiency of the bearing, and is the transmission efficiency of the gear.
By checking the table and substituting the data, we obtained = 0.83, which meets the requirements of the device for transmission efficiency.
2.2. Static Analysis
After the modeling was completed, according to the mechanical analysis, the aluminum profile bracket connected to the spraying device was subjected to a large force. To ensure that the aluminum bracket did not deform while the machine was working, a finite element simulation of the part was carried out. The selected material was a 6061 aluminum alloy, and its physical properties are shown in Table 1.
Table 1.
Physical properties of 6061 aluminum alloy.
Based on the physical properties of the material, the mass of the spraying mechanism was calculated to be M1 = 2.202 kg using SolidWorks, and the mass of the lime water in the delivery pipe was M2 = 0.1487104 kg.
The overall weight of the spraying mechanism is as follows:
where M1 is the structural mass of the spraying device (kg), M2 is the mass of the lime water in the spraying device (kg), G is the overall gravity of the spraying device (N), and g is the acceleration due to gravity (9.8 m/s2).
By substituting these parameters into Equation (8), the total gravity of the spraying device was calculated to be 23.03 N. A finite element analysis was performed via a simulation within SolidWorks, and the experimental results are shown in Figure 4.

Figure 4.
Static analysis of support aluminum profiles: (a) stress analysis results; (b) strain analysis results.
In Figure 4, it can be seen that the maximum stress suffered by the support aluminum profile was 4.476 × 105 N/m2, and the maximum strain was 1.771 × 10−3. According to the physical information in Table 1, the maximum stress suffered by the support aluminum profile was much less than the permissible stress of the material, the strain was within the permissible range, and the support aluminum profile met the use requirements.
2.3. Control System Design
2.3.1. Hardware Design
Adopting an I/O interface can realize an effective connection with the industrial production process, which can greatly improve efficiency and reduce costs. Through the I/O interface, the PLC can easily exchange data and communicate with external devices, and it can convert the signals received from external devices into strong electrical signals that can be processed with a CPU, thus realizing the efficient control of external devices. To obtain the best results, the design should accurately assign I/O addresses according to pre-established criteria in order to improve the operational efficiency and reliability of the program.
In Table 2 and Table 3, we can observe how the I/O terminals are assigned in the design of this system.
Table 2.
Delta PLC I/O terminal input table.
Table 3.
Delta PLC I/O terminal output table.
A wiring schematic of the main PLC is shown in Figure 5.
Figure 5.
Main PLC external wiring schematic diagram.
2.3.2. Clamping Transport Device
The control system of the tree-whitening machine includes manual and automatic controls, and the operator can choose the manual/automatic control system for the whitening operation according to the actual working conditions. The automatic/manual control flow is illustrated in Figure 6. Part of a ladder diagram is shown in Figure 7. When X0 is changed from off to on, the automatic process is executed once, and then the manual mode is turned off; when X1 is changed from off to on, the automatic mode is turned off, and the manual mode process is executed.
Figure 6.
Automatic/Manual Control Flowchar.
Figure 7.
Automatic/Manual Control Flowchar.
2.3.3. PID Control Method
The real-time pressure within the system is automatically adjusted using a PID controller, and the PLC uses real-time pressure sensors in the pipeline system to measure the pressure values output to the controller, which can be compared with the pressure and the actual theoretical flow rate values. The error information between the two was calculated to determine the amount of control, and the amount of pressure in the spray pumps was adjusted appropriately to make the theoretical pressure and the actual pressure measured on-site basically the same in order to achieve the closed-loop control of the spray pressure and the closed-loop control system structure shown in Figure 8. The basic- and field-measured pressures were basically the same, thus achieving the closed-loop control of the spray pressure and the closed-loop control system structure schematic shown in Figure 8. The use of the control method for the automatic adjustment of pressure parameters is more sensitive and accurate [29,30].
Figure 8.
Closed-loop system structure sketch.
The control relation equation for the PID controller is as follows [31]:
where M(t)—the output value of the controller;
e(t)—the theoretical pressure and actual pressure deviation value;
Kp—the proportionality coefficient;
TI—the integral time constant;
TD—the differential time constant.
The Delta PLC executes the PID algorithm according to the sampling time in the setup program. The control quantity is derived according to the PID operation law, and the spray pump pressure is adjusted using PWM. After discretizing the above equation, the PID algorithm is
where Mn—the output value of the PID controller at the nth sampling;
SPn—the given value at the nth sampling;
PVn—the value of the process variable at the nth sampling;
PVn− 1—the value of the process variable at the n − 1st sampling moment;
Mx—the integral term at the n − 1st sampling moment;
TS—the sampling time interval, s.
The main flow of the PID control program is illustrated in Figure 9. A ladder diagram of the PID instructions is shown in Figure 10.
Figure 9.
Main program flowchart.
Figure 10.
PID instruction ladder diagram.
After the system is started, initialization is first carried out: First, the level of the barrel is determined. If the level is lower than the set value, an alarm is sounded, and the stirred whitening liquid is poured into the barrel; if the level is normal, it starts to work. Then, when the spraying pump switch is opened, the spraying pump extracts the whitening liquid, and the pressure sensor starts to record the pressure change; when the pressure is larger than the set value, the system sets the pressure of the spraying pump. The theoretical flow rate is calculated, and the pressure and flow rate are set via the PID command module to control the size of the spray pump pressure. When the spray switch is turned off, the system shuts down and stops spraying the whitewashing liquid. The system is also set to manual mode. In manual mode, the spray pump can be manually controlled using the switch controller. Among other things, when in the automatic mode, the spray pump can be manually controlled using the switch controller, and, according to the size of the different tree diameters, the spray pump can be adjusted to increase or decrease the brushing pressure to change the local spraying of the brushing liquid. In addition, during the spraying process, a spraying pressure of less than 0.1 MPa has a very poor spraying effect, and, when the spray pump has a pressure of 0.4 MPa or so, the nozzle fogging effect is the best.
2.4. Kinematic Simulation Analysis of Spraying Mechanisms
The motion process of this device is dominated by gear meshing, and the gear meshing position is a = 1/2 m(Z1 + Z2).
To meet the requirements of the model design and installation, the contact algorithm in the simulation process considers the stiffness of different materials. Because of the need for the two tension arms to move in opposite directions, it is necessary to add a meshing gear to play the role of reverse i = i1 × i2 = −1. The driving properties are presented in Table 4.
Table 4.
Driver attributes.
The forces at the maximum and minimum angles, as well as the gear meshing forces at the rated torque, were analyzed based on the blocking torque of the motor. In the ADAMS model, a rotating pair is used between the gears and housing, and the two tension arms have no motion relative to the gears. A contact algorithm was used between the gears, and the contact properties are shown in Figure 11.
Figure 11.
Gear contact properties: (a) ADAMS gear contact parameters; (b) gear mounting diagram.
During opening and closing, the two arms are limited using bolt heads; therefore, there is also a contact relationship between the bolts and the frame, using the same contact parameters as the gears. In this case, the structural damping is Coulomb friction or dry friction damping. The damping coefficient of the force is 28.
The motion trajectory simulation is shown in Figure 12.
Figure 12.
Spraying device opening limit diagram: (a) maximum opening angle of movement; (b) schematic diagram of the maximum angle of opening; and (c) maximum opening angle local details.
During closure, the bumper heads collide with each other. A diagram of the closure motion is shown in Figure 13.
Figure 13.
Motion closure diagram.
The driving torque during gear rotation was 9 kg·cm, which was 900 N·mm, 5.25 r/min, and 31.5 d/s of the uniform rotation entered in ADAMS. The simulation results are shown in Figure 14.
Figure 14.
Simulation result graphs: (a) blocking torque; (b) torque received by the gear.
The nozzle did not work when there was no reaction force. The motor is blocked when the limit occurs, and its torque can exceed the blocking torque. Therefore, the maximum torque at this time is the blocking torque.
When applied via the load, the driving torque is the blocking torque and reaches 8000 N·mm, at which time the contact force between the gears is as shown in Figure 15.
Figure 15.
Gear contact force.
The bolt head was subjected to a force of 75 N after the plugging rotation stabilized, as shown in Figure 16.
Figure 16.
Force on bolt head.
At the moment of impact at the rated torque, the head of the bolt had an impact with a magnitude of 1791 N, as shown in Figure 17.
Figure 17.
Instantaneous impact of bolt.
After examining the experimental analysis graphs and the mechanical properties of the selected material, it was concluded that the physical properties of the material selected for the machine met the design requirements.
3. Results
To test the actual working efficiency of the prototype, as well as the spraying coverage, we selected trees on the campus of Liaocheng University and on the streets of Dongchangfu District in November 2022 for spraying experiments, and we compared the results with those of manual spraying. Different trunk circumferences were selected for testing, and the ranges of trunk circumferences were 500–800 mm, 800–1250 mm, and >1250 mm. The trees were sprayed with different tensioning angles and moving speeds. After a single completion of spraying, 10 sections were randomly selected on the tree trunk, and the spraying coverage of each section was measured, Figure 18 shows the spraying experiment, and the experimental results are shown in Table 5, Table 6 and Table 7.
Figure 18.
Physical drawing of spraying device.
Table 5.
Trunk circumference of 500–800 mm.
Table 6.
Trunk circumference of 800–1250 mm.
Table 7.
Trunk circumference of >1250 mm.
The experimental results show that, with a trunk circumference in the range of 50–80 cm and a tension angle in the range of 80–100°, the spraying effect was the best, and the average spraying coverage could reach 95.73%; with a trunk circumference in the range of 80–125 cm and a tension angle in the range of 100–120°, the spraying effect was the best, and the average spraying coverage reached up to 96.06%; and with a trunk circumference greater than 125 cm and a tension angle of 120–140°, the spraying effect was the best, and the average spraying coverage was 80.1%. Through repeated spraying, the spraying coverage could be further improved, reaching the spraying requirements. During the experiment, the spraying pump was approximately 0.4 MPa, and the spray nozzle had the best atomization effect and the highest spraying efficiency.
At the end of the spraying experiment, we compared the data of our machine with those of artificial spraying. Our machine’s daily working time was the same as the human working time. The efficiency of artificial whitewashing was 20 trees per hour, and our device’s whitewashing efficiency was 120 trees per hour, far more than that of artificial whitewashing. Our device’s whitewashing coverage exceeded that of artificial whitewashing. The artificial spraying of a tree costs CNY 0.67, and the cost of spraying a tree with our device is CNY 0.2; thus, our device has improved efficiency and reduced expenses. The comparison results are shown in Table 8. In summary, this device is much more cost-effective than manual labor in terms of brushing efficiency, effect, and cost.
Table 8.
Comparison between this device and manual whitewashing.
4. Discussion
Based on the model design, simulation experiments, and trial production of key components, a tree-whitening machine based on a multi-nozzle holder was designed. According to the calculation of 12 h of work per day, manual whitewashing can only whiten 400 trees per day, but our machine can whiten 4000 trees per day. The cost of manual whitewashing is approximately 10 CNY/pc, and the cost of machine operation is approximately 0.5 CNY/pc. In other words, the efficiency of our machine is 10 times that of manual whitewashing, and the cost saving is approximately USD 9.5/pc. Moreover, our machine can be operated by one person, which saves manpower while reducing cost.
Compared with the American UltraMaxII695 high-pressure electric spraying machine, the spraying efficiency of our machine is 300 pcs/h, and the spraying coverage of our machine can reach up to 96.5%.
Compared with the domestic HT20 machine, which has a working efficiency of 120 pcs/h, a spray tank volume of 60 L, and an applicable trunk diameter of 0.6 m or less, our machine has a working efficiency of 350 pcs/h, a spray tank volume of 70 L, and an applicable trunk diameter of 1.45 m or less. In the same spraying environment, our machine can ensure spraying coverage and meet the requirements of tree whitening.
The machine described in this article is suitable for whitewashing trees on both sides of a road or in ordinary wooded areas, but it cannot be used on complex trees and terrains due to the presence of a spraying barrel, which will cause the paint to be sprayed by external forces. In the future, the team hopes to optimize the machine’s whitening mechanism to enable it to whiten trees faster and more efficiently and to design a visual recognition system and a bottom motion system to enable it to visually identify trees and automate tree-whitening work.
Only trees in China need to have their trunks whitened, so the development of our machine was based on the diameter of trees in China. The main ingredients of the paint used in this machine are quicklime; grease; and a raw solution of lithosulfur compounds, which is mainly used to control pests and diseases, delay tree budding, and prevent sunburn. There are no ethical considerations involved in this article, and the paint applied will not pollute the environment, be potentially harmful to trees, or harm roadside pedestrians.
5. Conclusions
Aiming to reduce the manpower and material resources required to manually spray trees in the north of China and to address the problems of existing tree-spraying devices, an automatic tree-spraying device based on the collaborative operation of multiple nozzles was proposed and researched, and its working process is to improve spraying efficiency and quality by imitating the ring structure of trees and to realize the high-efficiency spraying of trees. The mechanism is mainly composed of a spraying device, lifting mechanism, cleaning mechanism, and motion structure. The adaptability of the spraying device to different working environments was studied using a finite element simulation. The results show that the spraying device works well in different environments. In terms of the design and overall structure of the control system of the tree-whitening machine, Delta PLC is used as the controller in the hardware design and sensor selection. The control system software design, measured via a test of the machine efficiency of 300 trees/h/hour, can adapt to trunk circumferences in the range of 500–1250 mm, has a spraying angle adjustment range between 80 and 140°, and achieves an average spraying coverage of up to 96.5%. Compared with the traditional tree-whitening machine, the working efficiency is increased by 7.1%, the range of the trunk circumference can be adapted to expand by 20%, the adjustment of the spraying angle can be increased, and the average spraying coverage is increased by 6.7%, which is more advantageous.
Author Contributions
Conceptualization, S.T. and Y.C.; methodology, Y.Z. and D.W.; investigation, L.Q. and X.Z.; writing—original draft preparation, S.T.; writing—review and editing, L.Q., X.Z. and P.Y.; software, Y.C. and L.Q.; validation, S.T., Y.C., and P.Y.; formal analysis, Y.Z. and X.Z.; project management, S.T., Y.C., and Y.Z.; supervision, S.T. and L.Q.; funding acquisition, S.T. All authors have read and agreed to the published version of the manuscript.
Funding
This paper was supported by the National Key Research and Development Program, and the subject number is 2022YFD2001905.
Institutional Review Board Statement
Not applicable.
Informed Consent Statement
Not applicable.
Data Availability Statement
The data presented in this study are available in article.
Conflicts of Interest
Author Shaomin Teng was employed by the CIMINO Technology Co., Ltd. The remaining authors declare that the research was conducted in the absence of any commercial or financial relationships that could be construed as a potential conflict of interest.
References
- Lin, K. The role of whitewashing trees in winter and summer. J. Yunnan For. 1984, 21, 66. [Google Scholar]
- Chen, X.; Yuan, G.; Huang, L.; Wang, R.; Lei, J.; Chen, C. The Design and the Implementation of the Machinery for Whitewashing the Trunks. Phys. Procedia 2012, 25, 2276–2281. [Google Scholar] [CrossRef][Green Version]
- Tian, Z.; Wang, C.; Zhao, Y.; Sun, Q.; Shangguan, J. Development of an Automatic Tree Coating Machine. Agric. Res. 2018, 8, 505–512. [Google Scholar] [CrossRef]
- Wang, H.; Zong, Z.; Qin, Y.; Du, Y.; Wang, Z.; Zhang, C. Design and Experimental Study of a Smart Tree Whitewash Device Based on Human–Computer Interaction. Inmateh Agric. Eng. 2023, 69, 655–664. [Google Scholar] [CrossRef]
- Zhao, Y.; Tan, Y.; Liu, X. Urban Street tree Recognition Method Based on Machine Vision. In Proceedings of the 2021 6th International Conference on Intelligent Computing and Signal Processing (ICSP), Xi’an, China, 9–11 April 2021; pp. 967–971. [Google Scholar]
- Wang, P. Analysis of Green Technology and Traditional Methods in Pest Control of Landscape Trees. J. Green Tech. 2014, 7, 56–57. [Google Scholar]
- Li, Y. Analysis of green technology and traditional methods in pest control of garden trees. J. Mod. Hortic. 2014, 9, 54. [Google Scholar] [CrossRef]
- Sun, Y. Methods of whitening agent formulation. J. New Agric. 2008, VI, 49. [Google Scholar]
- Zhang, L.; Kuang, Z.; Lin, B. Design and Implementation of Brushing Limestone Control System for Trees Based on Microcomputer. In Proceedings of the 2019 4th International Conference on Intelligent Information Processing, Guangzhou, China, 16–17 November 2019; pp. 282–286. [Google Scholar]
- Manning, A.D.; Fischer, J.; Lindenmayer, D.B. Scattered trees are keystone structures—Implications for conservation. Biol. Conserv. 2006, 132, 311–321. [Google Scholar] [CrossRef]
- Bauomy, H.S.; El-Sayed, A.T. A new six-degrees of freedom model designed for a composite plate through PPF controllers. Appl. Math. Model. 2020, 88, 604–630. [Google Scholar] [CrossRef]
- Bauomy, H.S.; EL-Sayed, A.T. Mixed controller (IRC + NSC) involved in the harmonic vibration response cantilever beam. Meas. Control 2020, 53, 1954–1967. [Google Scholar]
- Nguyen, V.-T.; Constant, T.; Kerautret, B.; Debled-Rennesson, I.; Colin, F. A machine-learning approach for classifying defects on tree trunks using terrestrial LiDAR. Comput. Electron. Agric. 2020, 171, 105332. [Google Scholar] [CrossRef]
- Chen, X.; Wang, S.; Zhang, B.; Luo, L. Multi-feature fusion tree trunk detection and orchard mobile robot localization using camera/ultrasonic sensors. Comput. Electron. Agric. 2018, 147, 91–108. [Google Scholar] [CrossRef]
- Huang, Y. Bulletin on China’s Land Greening Status in 2020. J. Green China 2021, 3, 74–79. [Google Scholar]
- Jiao, Y. Technical essentials of using whitewash to control tree pests and diseases. J. Land Green. 2014, 5, 42–43. [Google Scholar]
- Li, H.; Yuan, W.; Liu, X.; Wang, Y.; Ding, D.; Lin, Z. Design and analysis of a tree whitening machine. J. Mech. Eng. 2015, 24, 188–190. [Google Scholar]
- Liu, J.; Chen, H.; Zhang, M. Design and simulation of tree whitening robot walking device. J. Guilin Univ. Technol. 2015, 35, 413–417. [Google Scholar]
- Gao, Y.; Shi, L.; Yang, L.; Chen, K.; Zhao, Y. Design of an automatic lifting type tree whitening machine. J. For. Mach. Woodwork. Equip. 2017, 45, 37–39. [Google Scholar] [CrossRef]
- Wei, L. A Tree Whitening Device. CN Patent ZL 2018 1 0177020.4, 10 July 2018. [Google Scholar]
- Deng, W. A Method of Inline Tree Whitening Machine. CN Patent ZL 2019 1 0278692.9, 5 July 2019. [Google Scholar]
- Jin, Y. Tree Whitening with Dosing Machine. CN Patent ZL 2015 1 0167592.0, 26 August 2015. [Google Scholar]
- Karadöl, H. Flow and Pressure Control of a Field Sprayer Using Pid Controller. J. Anim. Plant Sci. 2023, 33, 562–569. [Google Scholar] [CrossRef]
- Moltó, E.; Martín, B.; Gutiérrez, A. PM—Power and Machinery. J. Agric. Eng. Res. 2000, 77, 379–384. [Google Scholar] [CrossRef]
- Zhang, T.R.; Chao, X.J.; Guo, L.H.; Zhang, L.; Tang, X.C.; Li, J.Y.; Cheng, J.; Li, Y.N.; Qin, Q. Mechanics of Materials, 1st ed.; Chongqing University Press: Chongqing, China, 2011; p. 231. [Google Scholar]
- Jin, J.; Yuan, J.; Ge, W.; Jin, C.; Qian, S.; Xu, X.; Xu, W.; Zhang, Z. Theoretical Mechanics, 2nd ed.; Nanjing Southeast University Press: Nanjing, China, 2019; p. 299. [Google Scholar]
- Pan, Y. Principles of Mechanics, 1st ed.; Chongqing University Press: Chongqing, China, 2012; p. 241. [Google Scholar]
- He, P.; Li, Q. Fundamentals of Engineering Drawing, 1st ed.; Chongqing University Press: Chongqing, China, 2021; p. 334. [Google Scholar]
- Wang, X.; Hu, Z.; Li, X.; Li, S.; Gai, J.; Wang, F. Design and test of multi-return type variable spraying control system. J. Agric. Mach. 2019, 50, 123–131. [Google Scholar]
- Hu, Z. Research on Variable Spraying and Spray Bar Balance Control System of Potato Sprayer. Master’s Thesis, Shandong University of Technology, Zibo, China, 2019. [Google Scholar]
- Jiang, H.; Zhang, L.; Shi, W. Effects of Operating Parameters for Dynamic PWM Variable Spray System on Spray Distribution Uniformity. J. IFAC Pap. 2016, 49, 216–220. [Google Scholar] [CrossRef]
Disclaimer/Publisher’s Note: The statements, opinions and data contained in all publications are solely those of the individual author(s) and contributor(s) and not of MDPI and/or the editor(s). MDPI and/or the editor(s) disclaim responsibility for any injury to people or property resulting from any ideas, methods, instructions or products referred to in the content. |
© 2023 by the authors. Licensee MDPI, Basel, Switzerland. This article is an open access article distributed under the terms and conditions of the Creative Commons Attribution (CC BY) license (https://creativecommons.org/licenses/by/4.0/).


















