Abstract
A full-scale geophysical observatory in the North Caucasus, which was established to study volcanic activity in the Elbrus area, has been functioning for more than 10 years. Results of experimental studies performed at the observatory, located in the deep tunnel, are presented. Special attention is paid to the stability of metrologically significant parameters of precise information-measuring systems, taking into account different nature noises. Technical characteristics of installed geophysical instruments are given, and the principles of their operation are described. Examples of instrumental observations are also presented; for example, tidal deformations reflecting structural features of the geological environment in the area of the Elbrus volcanic edifice and associated with the presence of magmatic structures were investigated. It was shown that diurnal and semidiurnal harmonics observed in the microvariations of temperature can be caused, among other things, by the influence of tidal effects on the convective component of heat–mass transfer.
1. Introduction
The Caucasus belongs to the geologically active regions of our planet. Present ideas about the geodynamics of the Caucasus as a whole testify in favor of its expansion in the sublatitudinal direction and its compression in the submeridional direction against the background of general uplift accompanied by periodic manifestations of high-magnitude seismicity. Various manifestations of intrusive magmatism and recent volcanism further expand the spectrum of geologic processes occurring in the subsurface. It should be noted that at the end of the last century, volcanologists began to pay special attention to the study of so-called “dormant” volcanoes, which can still be activated [1,2,3]. The presence of active magmatic structures within the boundaries of the Elbrus volcanic center was indicated by crustal anomalies of seismic velocities, the results of the interpretation of magnetotelluric soundings made on the volcano slopes [4], and data on the spatial distribution of the lithosphere tectonic fragmentation degree [5] and seismic Q-factor [6]. Important data about the thermal regime of the volcano were also obtained when analyzing the dynamics of Elbrus glaciers [7,8,9].
Starting from 1998, the geological and geophysical expedition of the Schmidt Institute of Physics of the Earth Russian Academy of Sciences (IPE RAS) and the Institute of Geology of Ore Deposits, Petrography, Mineralogy and Geochemistry (IGEM RAS), which periodically included scientists from other institutes, conducted large-scale field studies in the area of the Elbrus volcanic center. The past eruptions of the Elbrus volcano, including those in historical times, were specified, and it was confirmed that the volcano is in the active stage of its development [10,11].
It became clear that in order to obtain reliable data on the current state of the magmatic feeding system of Elbrus volcano, it is necessary to determine the characteristic size and positioning of its main elements in the host rocks, with the aim being to analyze the dynamic characteristics of individual magmatic structures and their manifestations in various geophysical fields.
In this regard, in 2001, at the initiative of scientists of the IPE RAS, with the support of the Institute for Nuclear Research (INR RAS) and Kabardino-Balkarian State University named after H.M. Berbekov (KBSU), work was initiated on the deployment of a system of continuous multiparameter geophysical instrumental observations in the immediate vicinity of the volcanic edifice on the basis of geophysical laboratories, with the subsequent creation of a full-scale geophysical observatory. The main objective of the North Caucasus Geophysical Observatory is to comprehensively assist fundamental geoscience research with the possibility of minimizing the consequences of geohazards. A distinctive feature of the underground observatory is the low level of noise, which allows it to be used for testing sensors based on new technologies to maintain and improve signal quality and signal coverage. Another useful possibility is the use of the observatory as a supporting point for geophysical expeditions in the mountainous environment of the Elbrus volcanic area [12].
The goal of this work is to present an overview of more than 10 years of observatory operation that monitored the geophysical parameters in the area of the Elbrus volcanic center. Structurally, the work can be divided into two parts. The first one describes in detail the best models of Russian high-precision geophysical instruments, and the second one gives an overview of the obtained measurement data.
2. Establishment of the North Caucasus Geophysical Observatory
The framework of an underground geophysical observatory construction in the North Caucasus was a unique scientific complex of the Baksan Neutrino Observatory (BNO) of the INR RAS, located less than twenty kilometers from the Elbrus volcano, in the Baksan valley (Figure 1). Neutrino astrophysics experiments, conducted here since 1977, have contributed to the development of the underground scientific infrastructure. A geophysical observatory at a depth of 2300 m from the surface was created on this basis. It should be noted that underground low-background physical observatories are used for geophysical measurements in many countries of the world [13]. Let us list the most famous underground geophysical observatories: Gran Sasso National Laboratory (LNGS), Italy; Low Noise Underground Laboratory (LSBB), France; Laboratorio Subterráneo de Canfranc (LSC), Spain; Black Forest Observatory (BFO), Germany; Kamioka, Japan; Deep Underground Gravity Laboratory (DUGL), USA.
Figure 1.
(a) Geographical location (coordinates: 43°16.338′ N, 42°40.878′ E, height: 1740 m, tunnel azimuth: 150°37′) and (b) schematic vertical cross-section of the Andyrchi mountain: 1—crystalline gneiss; 2—plagiogneiss; 3—plagiogranite; 4—glaciers; 5—scintillation telescope; 6—SAI Baksan long-base laser interferometer–strainmeter; 7—gallium-germanium neutrino telescope; 8—geophysical laboratories GL1 and GL2 of the North Caucasus Geophysical Observatory in the deep underground tunnel of the BNO INR RAS.
When creating the North Caucasus Geophysical Observatory, the goal was to achieve the observation of the whole range of geophysical fields in the region. This can be useful for the study of the structure and state of magmatic systems of the Elbrus volcanic center. Presently, two main ways of probing deep magmatic structures of the volcanoes are the analysis of ambient noise fields near the volcanic edifice and the study of induced wave processes arising under external influence [14]. These methods require a preliminary study of the noise conditions in the area of the volcanic structure for the optimal placement of measuring systems, as well as the development of effective methods for collecting, processing, and analyzing the incoming information.
For a successful solution to the problem, it was necessary to create several spatially separated laboratories equipped with complexes of geophysical instruments. Territorially, laboratories No. 1 and No. 2 are located in two separate caves (equipped in side rock cuttings) of the “Main” tunnel at a distance from the entrance of 1500 and 3900 m, respectively (Figure 1). The created laboratories make it possible to carry out long-term measurements of the following geophysical fields: short- and long-period seismic waves, Earth’s free oscillations, tidal deformations of the solid Earth, and variations in the Earth’s magnetic field.
In addition to the two underground laboratories of the North Caucasus Geophysical Observatory, we would like to mention separately a unique geophysical instrument—the Baksan long-base laser interferometer–strainmeter of the Sternberg Astronomical Institute of the Moscow State University (SAI MSU). A strainmeter allows for the study of the Earth’s tides, long-period seismic waves, the Earth’s free oscillations, and technogenic motions in ecologically dangerous areas [15]. The long-base laser strainmeter differs from other geophysical instruments through its very high sensitivity, which requires the organization of special underground facilities for its installation, allowing for the reduction of climatic effects and the level of ambient seismic noise. A review of some underground facilities suitable for such observations in Russia is presented in [16]. To date, there are a small number of precise devices of this type in the world, including several in Russia—in the North Caucasus, Far East, Siberia, and Moscow regions [17].
One of the most important characteristics of the observatory designed to measure weak variations in the Earth’s crust deformations is the background level of ambient seismic noise. Figure 2 shows the microseismic noise level in the North Caucasus Geophysical Observatory, according to the data of the SM3 seismometer of the NEY seismic station of the Geophysical Survey of the Russian Academy of Sciences [18].
Figure 2.
Estimated power spectrum of microseismic noise of the Neytrino (NEY) seismic station. Levels of the low (NLNM) and high (NHNM) noise according to the Peterson model [19] are indicated by gray lines.
Through analyzing Figure 2, we can conclude that the level of ambient seismic noise in the underground laboratory is extremely low at frequencies up to 1 Hz, which allows us to study remote seismic events [19]. At the same time, it should be noted that at frequencies above 5 Hz, there is an increase in the level of background noise, which is apparently associated with the generation of vibrations during the operation of the neutrino telescope ventilation system located 500 m from the station. Seismic data are known to be of primary utility in volcanic monitoring and eruption prediction [20], and their analysis is well developed. For this reason, other geophysical fields are of interest in this work.
3. Instrumentation of the North Caucasus Geophysical Observatory
In this section, we present a review of the internal structure and operation principle of precision instruments developed at the Russian Academy of Sciences. The design of many of them is based on the use of fused quartz. Quartz has a number of advantages—it has a small elastic aftereffect and high resistance to rupture. The homogeneity of the material used in the device’s sensitive system parts minimizes thermal and mechanical stresses. For the manufacturing of quartz sensitive systems, expensive equipment is not required. At present, quartz tiltmeters of various designs, quartz gravimeters, quartz magnetometers, quartz air density meters, quartz gravity variometers, strainmeters, and rotational seismometers are widely used [21,22].
The North Caucasus Geophysical Observatory is equipped with powerful concrete foundations cast on bedrock outcrops (Figure 3); the main and auxiliary information-measuring systems operate in a continuous monitoring mode. Let us briefly describe their design features and the results of the experimental observations.
Figure 3.
Instrumental foundations No. 2 with SM3 seismic station (in the forefront) and No. 3 with installed instruments in underground laboratory No. 2 of the North Caucasus Geophysical Observatory in 2016 (Photo by Spartak Dolov).
3.1. Baksan Laser Interferometer–Strainmeter
Staff at the Laboratory of Laser Interferometry at the SAI MSU have installed a long-base laser interferometer–strainmeter (Figure 1) in the “Main” tunnel of the BNO INR RAS; unique in its characteristics and so far the only such instrument in the European part of Russia, it is an unequal-arm (75 m arm length), vacuum-assisted Michelson interferometer for precision measurements of lithospheric deformations. The instrumental resolution of the sensor for deformation measurement, equal to 2.3 × 10−13, is comparable to that of the best geophysical laser interferometers in the world [23]. The sensitivity threshold is limited by technical fluctuations in the laser frequency, and the frequencies of the order of 1 kHz is 10−16 Hz−1/2. The recording of deformations is accompanied by the registration of meteorological (temperature and pressure channels—Figure 4) and control information (laser frequency fluctuations and vacuum pressure).
Figure 4.
Long-term experimental data recorded by the Baksan laser interferometer–strainmeter of the MSU SAI; from top to bottom, lithospheric deformation (strain) along the measuring arm (75 m) and atmospheric pressure and temperature at the instrument installation point. The black lines show seasonal variations [23].
A data acquisition system was designed to collect the data in five “virtual” frequency channels: low-frequency (0–0.1 Hz), “tremor” (0.1–10 Hz), seismic (<31 Hz), “noise” (envelope of 118 Hz), and seismoacoustic (<1620 Hz). For the early detection of possible volcano-tectonic seismic events associated with the activation of the volcano near-surface fluid-magmatic structures, the continuous monitoring of deformations using the “tremor” channel is carried out, thus contributing to the implementation of integrated geological and geophysical monitoring programs for endogenous hazards in the Elbrus area.
3.2. Tiltmeters
It is known that the inclination of the Earth’s surface as directly measured by tiltmeters is an absolute value and does not depend on the sign of displacements or the resting state of one of the observation points [24,25]. At the same time, the interpretation of tiltmeter observations organized in underground structures, when the instruments are located asymmetrically along the symmetry axes of the observation room, requires taking into account the “cavity effect” that distorts the observed signal [26].
The information-measuring complexes of the North Caucasus Geophysical Observatory include tiltmeter stations of various designs, including a family of quartz tiltmeters designed and manufactured at the IPE RAS [27]. Let us first consider the sensitive system of the quartz tiltmeter QT-2 (Figure 5a).
The presence of a rotating mirror and a micrometer makes it possible to determine the reduced length of the pendulum, the scale of recording, the photoelectric gain, and the stability of the sensitivity of the photoelectric sensor. To control the micrometers of the QT-2 tiltmeter, an instrument for the remote control and determination of the scale of the tiltmeter record was developed [27]. In co-authorship with the Pushkov Institute of Terrestrial Magnetism, Ionosphere and Radio Wave Propagation (IZMIRAN) staff, a quartz tiltmeter of original design with an electromagnetic control and benchmarking system [28], shown in Figure 5b, was developed. The tiltmeter does not contain current leads to the sensitive system, which eliminates the possibility of zero-point drift and ensures the linearity of the instrument readings. The placement of the magnet ends in the middle part of the solenoids, providing a linear relationship between the magnitude of the pendulum deflection and the magnitude of the current in the solenoid circuit.
Figure 5.
Quartz tiltmeters [29]: (a) sensing system of the QT-2 quartz tiltmeter: 1—quartz rod, 2—conical clamp, 3—mounting frame, 4, 5—quartz threads, 6—pendulum, 7—mirror, 8—spring, 9—micrometer, 10—additional mirror, 11—vertical axis, 12—pivoting arm, 13—micrometer, 14—illuminator, 15—differential photocell, 16—recorder; (b) quartz tiltmeter with electromagnetic force control and benchmarking system: 1—mounting frame, 2, 3—quartz threads, 4—horizontal pendulum, 5—mirror, 6, 7—antiparallel permanent magnets, 8, 9—solenoids, 10—illuminator, 11—differential photocell, 12—recorder, 13—power supply, 14—polarity switch, 15—resistance store, 16—microammeter.
Figure 5.
Quartz tiltmeters [29]: (a) sensing system of the QT-2 quartz tiltmeter: 1—quartz rod, 2—conical clamp, 3—mounting frame, 4, 5—quartz threads, 6—pendulum, 7—mirror, 8—spring, 9—micrometer, 10—additional mirror, 11—vertical axis, 12—pivoting arm, 13—micrometer, 14—illuminator, 15—differential photocell, 16—recorder; (b) quartz tiltmeter with electromagnetic force control and benchmarking system: 1—mounting frame, 2, 3—quartz threads, 4—horizontal pendulum, 5—mirror, 6, 7—antiparallel permanent magnets, 8, 9—solenoids, 10—illuminator, 11—differential photocell, 12—recorder, 13—power supply, 14—polarity switch, 15—resistance store, 16—microammeter.

In addition to tiltmeters based on quartz primary sensors, which are significantly dependent on microvariations in ambient temperature, tiltmeters of the NSH series [30,31] with a metal sensitive system have been developed; they have greater noise immunity and long-term stability (Figure 6). The basis of the NSH tiltmeter design is a vertical pendulum with a mass of 100 g on a rotary milling suspension. The 0.5 mm thick metal thread has a thinning with a length of 15 mm and a diameter of 200 µm just below (10 mm from) the suspension point. This ensures that internal deformations of the thread do not distort the pendulum’s displacement. Such a pendulum is always oriented exactly vertically and is maximally protected from noises. The range of measured inclinations is ~2000 ms of arc with an error of 0.1 ms at temperatures from +5 °C to +45 °C (thermostability 500 ms/degree). The frequency range according to the passport ranges from 0 to 0.005 Hz, but in practice, signals up to 0.1 Hz are registered. The voltage conversion coefficient is 5 mV/ms, and zero drift is no more than 800 ms/year [32].
Figure 6.
Design of tiltmeter NSH [31]: 1—protective cap; 2—elastic suspension; 3—flat spring; 4—matching instrument; 5—pendulum; 6—housing; 7—thrust screw; 8—transformer board; 9—rod; 10—ceramic housing; 11—set screw; 12, 13—springs; 14—axle; 15—eccentric; 16—base; 17—support; 18—arretizing knob.
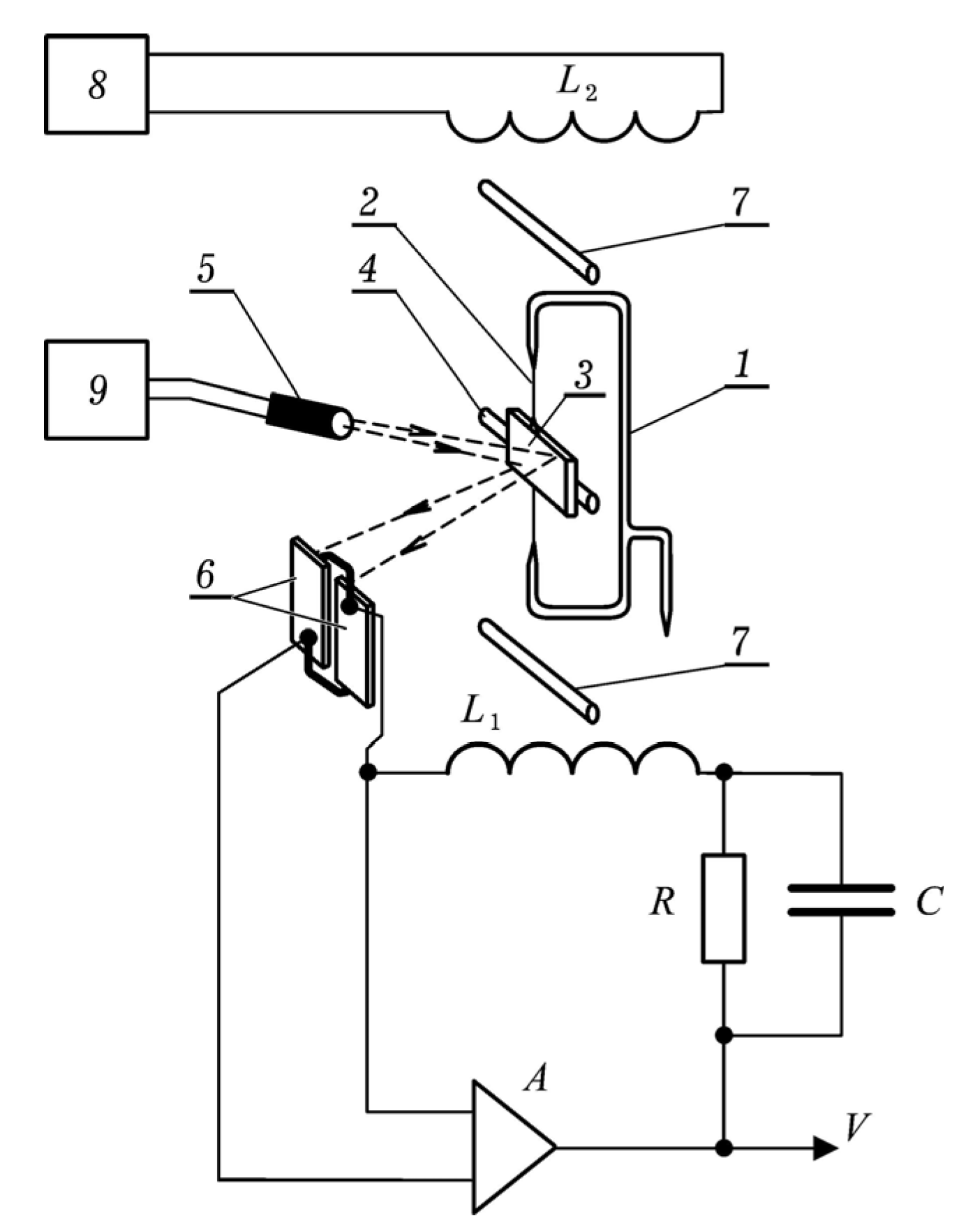
3.3. Three-Component Magnetic Variometer
The magnetic variometer (MVS) based on quartz magnetic sensors [29] is a stationary-type precision observatory instrument designed for the continuous registration of three components (H, D, Z) of the magnetic induction vector. Each component is registered by a separate sensor, the designs of which differ, but the principle of operation is the same. Figure 7 shows a simplified scheme of measuring the D component of the magnetic field.
Figure 7.
Schematic of a quartz magnetometer [29] for measuring the declination of the geomagnetic field: 1—quartz frame, 2—quartz thread, 3—movable mirror, 4—measuring magnet, 5—LED beam, 6—differential photocell, 7—sensitivity adjustment magnets, 8—calibration current stabilizer, 9—stabilized current source.
In the initial state, the LED beam reflected from the mirror symmetrically illuminates both plates of photocells, and the value of the input signal at the amplifier A input is equal to zero. In this case, no current flows through the feedback winding L1. As a result of the field change, a force tending to rotate the measuring magnet along the field acts on the measuring magnet. The rotation of the magnet and the mirror attached to it leads to a violation of the symmetry of the photocell illumination. This changes the input signal magnitude of the amplifier A and, as a result, a current starts to flow through the feedback winding L1.
The location of the winding L1 and the direction of the current flow are such that there is compensation for this in the form of a magnetic field change at the location of the measuring magnet. In other words, the current flowing through the feedback winding L1 keeps the magnetic field at the location of the measuring magnet constant. The magnitude of the output voltage V is proportional to the magnitude of the D component of the magnetic field. The resistance of the resistor R determines the depth of the feedback and thus sets the sensitivity of the instrument. The feedback capacitor C prevents the self-excitation of the system. The coaxial feedback winding L1 is wound to the calibration winding L2, the current in which flows only at the moments of calibration and is set by the calibration current stabilizer. By approaching, removing, and changing sensitivity adjustment magnets orientation relative to the measuring magnet, it is possible to change its sensitivity in the process of the creation of the instrument. The output signal V is fed to the recording system through an active filter suppressing frequencies greater than 1 Hz.
The station is oriented along the magnetic meridian so that the window of the quartz sensor measuring geomagnetic declination is directed to the west. The exact setting is set at a quiet field by rotating the station, reducing the readings of the geomagnetic declination sensor to zero. For comparison, Figure 8 presents magnetograms of the Earth’s magnetic field components’ variations for December 2004 from several stations, including data of observations made at the North Caucasus Geophysical Observatory.
Figure 8.
Magnetograms of variations in H—component of the Earth’s magnetic field at Baksan station (BAKH) in comparison with other stations [29].
3.4. Stationary Quartz Gravimeter
The installation of stationary gravimeters was caused by the need to study the Earth’s tides, taking into account possible effects caused by local inhomogeneous structures of the geological environment in the vicinity of the Elbrus volcanic structure. On the surface of the Earth, the action of the Moon, the Sun, and tidal forces is observed in many phenomena, and one of them is the change in the acceleration of gravity. The total amplitude of tidal changes in gravity acceleration barely exceeds 0.1 mGl, so a gravimeter designed to record tidal changes in gravity acceleration should have an output sensitivity of about 100–500 mm/mGl, and such sensitivity has been achieved.
The construction of the stationary quartz gravimeter SKG-M [27] is shown in Figure 9a and Figure 9b separately shows a schematic of the quartz sensing system.
Figure 9.
Stationary quartz gravimeter SKG-M [29]: (a) general schematics: 1—set screws; 2—base; 3—housing; 4—heat-insulating cover; 5—thermostat; 6—permalloy magnetic shield; 7—screw for setting the measurement range; 8—mounting sleeve; 9—mounting plate; 10—micrometer sensor; 11—control unit housing; 12—control unit; 13—power connectors and output to the recorder; 14—heat-insulating gaskets; 15—calibration mirror; 16—illuminator of the pendulum mirror; 17—internal mounting plate; 18—differential photocell; 19—protective case of the sensitive system; 20—sealing device; 21—quartz sensitive system; (b) quartz sensitive system: 1—quartz threads; 2—measuring frame; 3—twisted threads; 4—measuring spring; 5—range spring; 6—mirror; 7—main spring of the system; 8—lever of the main spring; 9—pendulum suspension.
The measurement range of the SKG-M gravimeter (without adjustments of the range spring) is 14–28 mGl, the duration of the thermostat entering into operating mode is about 50 h, and the drift of the zero point is a significant issue. The applied quartz sensitive system (Figure 9b) allows us to minimize this drift by means of several consecutive adjustments, the first of which ends with the introduction of a positive bias into the system (the pendulum is deflected upwards). Then, by decreasing the angle of twist of the pendulum suspension strings, the drift of the zero point is brought to a value close to zero. After each adjustment, the system is examined for at least 3–4 months, and for the complete adjustment of the quartz sensitive system, it takes 12–16 months.
3.5. Precision Temperature Antenna
It is known that the lack of data on mechanical and physical properties of volcanic magmatic systems limits the development of geodynamic models, which can be overcome by data from precision quartz tiltmeters [33]. These instruments, due to their design features, are sensitive to weak thermal perturbations, which made it necessary to create a temperature monitoring system in the underground laboratory [34,35]. Another separate task is related to the host rock temperature precise measurement; for this purpose, the temperature sensors should be as far away from the heat sources as possible.
To equip the precision system for temperature measurements, two pairs of holes with a diameter of 10 cm and a depth of 4.5 to 5.8 m were drilled into the opposite walls of the underground laboratory room, located above each other at an angle of 30° (upper holes) and 5° (lower holes) to the horizon (Figure 10). This allowed us to separate the primary sensors by 4 m vertically and to exclude moisture accumulation in the zone of their direct contact with the rock massif. All lateral openings are provided with multistage thermal insulation to reduce the influence of the temperature regime of the laboratory working room.
Figure 10.
Vertical cross-section of the underground laboratory room in the plane of the side openings designed for installation of the main elements of the temperature information-measuring system. Notation: Z1–Z8, E1–E4—modules of precision electronic thermometers, gray rectangles—passive plugs made of heat-insulating material to minimize atmospheric convection [36].
The hardware complex of the precision temperature monitoring system with a relative resolution of no worse than 0.001 °C is based on specialized information-measuring modules developed at the IPE RAS [36]. Signals from the primary differential thermometer through the analog amplification and filtering unit are fed to 24-bit ADCs interfaced with digital recorders, which simultaneously implement the functions of remote control and access to experimental data via the Internet in near real time. Before the final installation of the measuring modules deep into the holes in the laboratory room, their comparative calibration was performed with verified mercury thermometers.
These instruments continuously monitor the temperature of the air masses inside the deep tunnel, the temperature of the foundation, and the temperature of the internal volume of the quartz tiltmeter and quartz barograph. This system provides the metrological stability of the underground geophysical observatory.
4. Observation Results
An extensive set of measuring instruments located in one place allows for the data integration of synchronous variations in lithospheric deformations, anomalies of electromagnetic and temperature fields. It seems that only the data of long-term multiparameter observations will allow us to reach a solution to the problem of predicting catastrophic geological processes [37,38].
4.1. Baksan Laser Interferometer–Strainmeter
The data of the Baksan laser interferometer–strainmeter allow, at a qualitatively new level, the study of wave processes in a layered lithosphere complicated by local magmatic structures. Spectral analysis of crust deformations allows us to investigate the resonance features that can be associated with characteristic dimensions of local geological structures [39]. The long-term monitoring of lithospheric deformations allowed us to process representative (more than seventy) records of earthquakes. The method of processing the extremely low-frequency deformation records was as follows: After the arrival of seismic P wave, a four-hour time series was extracted from the full deformation record with a ten-minute delay. The delay was determined by the expected rocks’ Q-factor (attenuation time) of the seismic S wave. The spectral analysis of the obtained time series was used to identify the modes that could be considered as resonant. When statistically averaged over a set of earthquakes, some of these modes were grouped into rather stable families with a pronounced linear character. As an example, Figure 11 presents a generalized spectrum of dominant earthquake modes by the Baksan laser interferometer–strainmeter. It follows that local geologic features have resonant properties responsible for the excitation of these modes. It was found that a number of observed harmonics are associated with high-frequency modes of the Earth’s free oscillations, while others can be associated with eigenfrequencies of local magmatic structures. In order to exclude the influence of the Earth’s global free oscillations, regional earthquakes of medium magnitude (magnitude less than 6), which occurred within a radius not exceeding 600 km from the North Caucasus Geophysical Observatory, were identified (Figure 11 in red). Resonance frequencies, which were obtained by taking into account rather strong teleseismic earthquakes up to magnitudes of 8.3, are shown in blue in Figure 11.
Figure 11.
Generalized spectrum of resonance modes of magmatic structures of Elbrus volcano according to deformation observations. The normalized amplitude of individual harmonics corresponds to the number of earthquakes in which this mode is determined (numbers above the graph are the corresponding period of oscillations in seconds), according to [1,40].
Analyzing Figure 11 and according to [40], we can identify 10 stable modes, the most intense of which have periods 62.1, 64.2, and 67.9 s. The estimation of the Q-factor of the selected resonant modes (Q ≈ 200–600) showed that they belong to fluid-filled rocks, which are probably magmatic structures. The obtained values of the periods and the Q-factors of the resonance modes allowed us to associate them with the near-surface magmatic chamber of Elbrus volcano with characteristic dimensions of about 9 km, filled with gas-saturated magma with a rich content of fluids (30–70%). This result agrees with the data of previous studies, in which the deep magma feeding system and peripheral magmatic chamber of Elbrus volcano were identified on the basis of a comparative analysis of geological and geophysical data (microgravity studies, magnetotelluric profiling, lineament analysis, microseismic sounding, and temperature of carbonaceous mineral waters). According to present-day concepts, the peripheral magma chamber and the deep magma feeding system of the volcano are located at depths of 0–7 and 20–30 km, respectively, and the geothermal gradient under the volcano is 100 °C/km. The magma chamber zone has a diameter of up to 10 km in the sub-latitudinal direction and of 20 km or more in the submeridional direction [1].
4.2. Tiltmeters
Such an instrument was installed in August 2021 in laboratory No. 2 of the North Caucasus Geophysical Observatory on one of the foundations (Figure 12).
Figure 12.
Geophysical instrument complexes on foundation No. 3 (a) and on foundation No. 2 (b) in laboratory No. 2 of the North Caucasus Geophysical Observatory: 1—digital recorders; 2—local network switch; 3—power supply unit of the precision temperature antenna; 4—microbarograph with built-in humidity and temperature sensors [34]; 5—quartz tiltmeter QT-2, 6—three-component magnetic variometer MVS; 7—tiltmeter NSH; 8—electronics unit of tiltmeter NSH; 9, 10—temperature sensors and their sensitive elements, 11—stationary quartz gravimeter SKG-M.
As an example, demonstrating the quality of the NSH instrument installation in a deep tunnel, Figure 13 shows a fragment of the North–South channel inclination record after primary processing [41], with the simultaneous overlay of the theoretical curve of tidal influence calculated in the ATLANTIDA 3.1 program [42].
Figure 13.
Example inclinations registration in a deep tunnel by the NSH instrument using the North–South channel (2) in comparison with the theoretical curve of the Earth’s tide (1) [31].
4.3. Three-Component Magnetic Variometer
The remoteness of anthropogenic activity makes the North Caucasus Geophysical Observatory a convenient place for measuring Earth’s magnetic field, not losing actual geomagnetic observatories to its noise characteristics. The results of the magnetic measurements complete the general picture of the geophysical situation in the area of the Elbrus volcanic center. Figure 14 presents records obtained by the tiltmeter and magnetic variometer of laboratory No. 2, demonstrating changes in the variations in the Earth’s magnetic field during the preparation and development of a remote (hypocenter more than 7000 km away) earthquake.
Figure 14.
Variations of the Earth’s tilt and magnetic field at the stage of preparation and development of the teleseismic event with a magnitude of 6 (area of Taiwan Island, 6 September 2007), registered in laboratory No. 2: BAKH, BAKD, BAKZ—data of the magnetic variometer, BAKN2, BAKE2—data of quartz tiltmeters through the “North–South” and “East–West” channels, respectively [43].
4.4. Precision Temperature Antenna
Results of high-precision temperature measurements at the North Caucasus Geophysical Observatory (Figure 15) have demonstrated that the information-measuring system has achieved the required indicators of sensitivity and stability of operation in deep tunnel conditions. The registered microvariations of temperature demonstrate noticeable diurnal and semidiurnal periodicity, which suggests their natural connection with lunar–solar tides. At the same time, one of the significant consequences of tidal influence is the migration of fluids due to the periodic compaction and decompaction of the Earth’s crust’s fractured structures. In spite of the fact that the cause of daily temperature microvariations in the tunnel may be mostly an atmospheric (“thermobaric”) effect, the hypothesis that the contribution of the convective component of heat and mass transfer to the observed temperature changes seems to be consistent [36].
Figure 15.
Comparison of temperature microvariations in the upper (Z4) and lower (Z1) holes, trend removed, data smoothed by a moving average of 30 neighboring measurements [36].
Figure 16 shows a qualitative comparison of the temperature periodicities observed in the deep tunnel with the theoretical estimate of the gravitational potential vertical component local values, demonstrating a generally stable correlation.
Figure 16.
Qualitative comparison of normalized values of temperature variations over six days in the deep tunnel (measurement points Z1—1 and Z4—2) with the normalized theoretical estimate of local values of the vertical component of the gravitational potential—3 [36].
5. Data Collection, Transmission, and Storage System
One of the key elements of an actual multidisciplinary monitoring system of active volcanoes is an automated system of the collection, transmission, storage, and operational processing of streaming data. Despite the fact that all present monitoring systems are built according to certain schemes, the specifics of each particular measurement system are unique in their own way, since their structure depends on the specific geological structure of the volcanic edifice, availability of power supply systems, locations of instrumentation, etc.
The digital registration system of the North Caucasus Geophysical Observatory is realized on the basis of 24-bit ADC modules “ZET 220” manufactured by Zetlab© company (Russia, Moscow, Zelenograd). One device has 16 in-phase (8 differential) inputs. The modules are located in close proximity to sensors and geophysical instruments. To control their operation and record data, servers based on personal computers are used (Figure 17—control computers 1 and 2). However, the climatic conditions in the deep underground tunnel are shocking for typical computer systems: no air mass movement, high temperature, and humidity of about 90%. Therefore, the servers are installed in a remote ventilated room ~200 m away from the foundations. It should also be noted that in order to reduce electromagnetic interference to the magnetic variometer, the iron devices are maximally distanced from it, and a shielded twisted pair is used for electrical connections. The control computers are connected to the Internet, which allows for the remote control of their settings and data transmission. Due to the large distance of the server room from the geophysical laboratories where measurements are performed, a fiber optic line is used to connect the servers. A prerequisite for obtaining high-quality data is the inclusion of additional recording channels and special sensors in the equipment. These auxiliary channels (Figure 17) control various service parameters characterizing the state of the environment and equipment, i.e., conditions of measurements. The availability of such data allows us to identify signal distortions that arise due to external influences or changes in the characteristics of the equipment. Analyzing the influence of interfering factors, it is possible to improve metrological characteristics of devices using additional signal processing.
Figure 17.
Generalized structural diagram of the multichannel data acquisition system of laboratory No. 2 of the North Caucasus Geophysical Observatory [31].
When collecting long series of experimental data, the convenience of data storage environment is of great importance. The system of data storage and analysis in the North Caucasus Geophysical Observatory was built taking into account the following features [31]: (1) the data are calendar-ordered, and different signals may have unequal sample frequencies and different start dates of observations; (2) the data analysis tools used should provide both the possibility of the interpolation of missing observations and fully functional work with series containing gaps; (3) when new data are received, they should be “attached” to the corresponding series, increasing their length, which results in the requirement to integrate the DBMS used to store observations and the time series analysis system.
Concluding the description of the main data acquisition systems of geophysical instrumental observations, it should be noted that the current hardware complexes of the North Caucasus Geophysical Observatory are designed to help solve a wide range of the most urgent problems in the field of Earth sciences, including the study of regularities of the occurrence, development, and transformation of dangerous endogenous processes at various scales. And the data obtained from geophysical measurements may in the future be included in an international database [44] aimed at developing our understanding of the processes of preparing geological disasters.
6. Conclusions
The establishment of the North Caucasus Geophysical Observatory allowed for a qualitatively new level of knowledge generation in the field of Earth sciences, thus contributing to a deeper understanding of the mechanisms of hazardous endogenous processes mechanisms responsible for the emergence and development of multi-scale natural-technogenic hazards. Within the Elbrus volcanic center, various geophysical methods confirmed the presence of the magma chamber with the possibility of building a full-scale monitoring system for deep magmatic structures. Obtained estimates of the magmatic chamber size allow us to develop eruption scenarios and assess the volcanic hazard of the territory adjacent to the Elbrus volcanic center, which is an important governmental task. In the future, there are plans to equip several additional points of complex geophysical instrumental observations with the possibility of monitoring not only deformations and geomagnetic fields, but also seismic activity and with subsequent access to solving promising problems of identifying medium-term precursors of local catastrophic events.
The system of the acquisition, transmission, and storage of observational data was organized, also containing data on the main metrological parameters, environmental conditions and, technical conditions of the measuring instrument. All this directly contributes to the further development of sensors in terms of new geophysical instrumental observations systems and to the improvement of the algorithmic and hardware–software support of unique scientific installations.
New scientific results obtained on the basis of multidisciplinary observational data allowed us to analyze information not only about the fine structure of wave processes in the vicinity of the Elbrus volcanic structure, but also opened directions for the development of theoretical work in modeling the effects of inhomogeneities of the Earth’s crust and upper mantle in the theory of Earth’s tides.
Author Contributions
Conceptualization, A.S. (Alexey Sobisevich); methodology, Y.K.; software, D.L.; validation, A.D.; formal analysis, S.D.; investigation, Z.D.; resources, A.M.; data curation, K.K.; writing—original draft preparation, A.K.; writing—review and editing, D.P.; visualization, V.G.; supervision, I.P.; project administration, I.S.; funding acquisition, A.S. (Alexey Sentsov) and G.B. All authors have read and agreed to the published version of the manuscript.
Funding
This work was carried out under Contract No. EΠ-32/2024 dated 27 August 2024 with the financial support of the Ministry of Science and Higher Education of the Russian Federation No. 075-15-2024-642, “Study of the processes and patterns of occurrence, development and transformation of catastrophic phenomena in the oceans and on continents using seismoacoustic monitoring methods”.
Data Availability Statement
The raw data supporting the conclusions of this article will be made available by the authors on request.
Acknowledgments
The establishment of the first geophysical observatory in the North Caucasus was largely facilitated by the joint efforts of scientists and specialists of IPE RAS in cooperation with colleagues from BNO INRAS, IGEM RAS, SAI MSU, KBSU, Geophysical Survey RAS and IZMIRAN.
Conflicts of Interest
The authors declare no conflicts of interest.
References
- Gurbanov, A.G.; Sobisevich, A.L.; Sobisevich, L.E.; Nechaev, Y.N.; Arbuzkin, V.N.; Prutskii, N.I.; Trofimenko, E.A.; Grekov, I.I. Activity of Elbrus Volcano (North Caucasus). Russ. J. Earth Sci. 2004, 6, 279291. [Google Scholar] [CrossRef]
- Masurenkov, Y.P.; Sobisevich, A.L.; Likhodeev, D.V.; Shevchenko, A.V. Thermal anomalies of the Northern Caucasus. Dokl. Earth Sci. 2009, 429, 1318–1321. [Google Scholar] [CrossRef]
- Eppelbaum, L.V.; Khesin, B.E. Geophysical Studies in the Caucasus; Springer: Heidelberg, Germany; New York, NY, USA, 2012. [Google Scholar]
- Spichak, V.V.; Borisova, V.P.; Fainberg, E.B.; Khalezov, A.A.; Goidina, A.G. Electromagnetic 3D tomography of the Elbrus volcanic center according to magnetotelluric and satellite data. J. Volcanolog. Seismol. 2007, 1, 53–66. [Google Scholar] [CrossRef]
- Bogatikov, O.A.; Nechaev, Y.V.; Sobisevich, A.L. Application of space technologies for the monitoring of geological structures of the Elbrus volcano. Dokl. Earth Sci. 2002, 387, 993–998. [Google Scholar]
- Zvereva, A.S.; Sobisevich, A.L.; Gabsatarova, I.P. Coda Q in the geophysical environment of the Northeast Caucasus. Izv. Phys. Solid Earth 2024, 60, 122–136. [Google Scholar] [CrossRef]
- Mikhalenko, V.; Sokratov, S.; Kutuzov, S.; Ginot, P.; Legrand, M.; Preunkert, S.; Lavrentiev, I.; Kozachek, A.; Ekaykin, A.; Faïn, X.; et al. Investigation of a deep ice core from the Elbrus western plateau, the Caucasus, Russia. Cryosphere 2015, 9, 2253–2270. [Google Scholar] [CrossRef]
- Tielidze, L.G.; Iacob, G.; Holobâcă, I.H. Mapping of Supra-Glacial Debris Cover in the Greater Caucasus: A Semi-Automated Multi-Sensor Approach. Geosciences 2024, 14, 178. [Google Scholar] [CrossRef]
- Koronovsky, N.V.; Myshenkova, M.S. Elbrus volcano without its glacier cover. Moscow Univ. Geol. Bull. 2023, 78, 1–11. [Google Scholar] [CrossRef]
- Lebedev, V.A.; Vashakidze, G.T. The catalogue of Quaternary volcanoes of the Greater Caucasus based on geochronological, volcanological and isotope-geochemical data. J. Volcanolog. Seismol. 2014, 8, 93–107. [Google Scholar] [CrossRef]
- Shcherbakov, V.; Bindeman, I.; Gazeev, V. Geochemical, Isotopic and Petrological Constraints on the Origin and Evolution of the Recent Silicic Magmatism of the Greater Caucasus. Minerals 2022, 12, 105. [Google Scholar] [CrossRef]
- Likhodeev, D.V.; Dudarov, Z.I.; Zhostkov, R.A.; Presnov, D.A.; Dolov, S.M.; Danilov, K.B. Studying the Deep Structure of Elbrus Volcano by Microseismic Sounding. J. Volcanolog. Seismol. 2017, 11, 413–418. [Google Scholar] [CrossRef]
- Wang, Y.; Jian, Y.F.; He, Y.S.; Miao, Q.Q.; Teng, J.W.; Wang, Z.M.; Rong, L.L.; Qiu, L.Q.; Xie, C.L.; Zhang, Q.S.; et al. Underground laboratories and deep underground geophysical observations. Chin. J. Geophys. 2022, 65, 4527–4542. (In Chinese) [Google Scholar] [CrossRef]
- Larocca, G.; Contrafatto, D.; Cannata, A.; Giudice, G. Multiparametric Monitoring System of Mt. Melbourne Volcano (Victoria Land, Antarctica). Sensors 2023, 17, 7594. [Google Scholar] [CrossRef] [PubMed]
- Milyukov, V.K.; Kopaev, A.V.; Lagutkina, A.V.; Mironov, A.P.; Myasnikov, A.V. Observations of crustal tide strains in the Elbrus area. Izv. Phys. Solid Earth 2007, 43, 922–930. [Google Scholar] [CrossRef]
- Dolgikh, G.I. Construction Principles of an Earth Strain-Metering Antenna. Tech. Phys. Lett. 2020, 46, 307–311. [Google Scholar] [CrossRef]
- Bolsunovskii, M.; Dolgikh, G.; Dolgikh, S.; Chupin, V.; Shvets, V.; Yakovenko, S. Twenty-Meter Laser Strainmeter “Popova Isl”. Sensors 2024, 24, 5788. [Google Scholar] [CrossRef]
- Malovichko, A.A.; Mekhrushev, D.Y.; Gorozhantsev, S.V.; Shevchenko, A.V. New seismic station in the territory of Kabardino-Balkariya. Seism. Instr. 2012, 48, 45–50. [Google Scholar] [CrossRef]
- Naticchioni, L.; Iudochkin, N.; Yushkin, V.; Majorana, E.; Perciballi, M.; Ricci, F.; Rudenko, V. Seismic noise background in the Baksan Neutrino Observatory. Eur. Phys. J. Plus 2022, 137, 124. [Google Scholar] [CrossRef]
- Tilling, R.I. Volcanic hazards and their mitigation: Progress and problems. Rev. Geophys. 1989, 27, 237–269. [Google Scholar] [CrossRef]
- Agnew, D.C. Strainmeters and tiltmeters. Rev. Geophys. 1986, 24, 579–624. [Google Scholar] [CrossRef]
- Kislov, K.V.; Gravirov, V.V. Rotational seismology: Review of achievements and outlooks. Seism. Instr. 2021, 57, 187–202. [Google Scholar] [CrossRef]
- Myasnikov, A.V.; Sobisevich, L.E.; Likhodeev, D.V. The regional tidal response of the geophysical medium. Dokl. Earth Sci. 2022, 503, 205–210. [Google Scholar] [CrossRef]
- Kuzmin, Y.O. Paradoxes of the comparative analysis of ground-based and satellite geodetic measurements in recent geodynamics. Izv. Phys. Solid Earth 2017, 53, 825–839. [Google Scholar] [CrossRef]
- Kuzmin, Y.O. Induced deformations of fault zones. Izv. Phys. Solid Earth 2019, 55, 753–765. [Google Scholar] [CrossRef]
- Harrison, J.C. Cavity and topographic effects in tilt and strain measurements. J. Geophys. Res. 1976, 81, 319–328. [Google Scholar] [CrossRef]
- Sidorin, A.Y. (Ed.) Garmskii Geofizicheskii Poligon (Garm Geophysical Test Site); IFZ AN SSSR: Moscow, Russia, 1990; p. 240. (In Russian) [Google Scholar]
- Lyubimov, V.V. Quartz Devices and Magnetovariation Stations: The History of the Development and Application in Scientific Research (On the 95th Anniversary of V.N. Bobrov, a Legend of Quartz Magnetic Instrumentation from IZMIRAN) (A Review). Geomagn. Aeron. 2022, 62 (Suppl. 1), S1–S9. [Google Scholar] [CrossRef]
- Sobissevitch, A.L.; Gridnev, D.G.; Sobissevitch, L.E.; Kanonidi, K.H. Instrumental equipment of geophysical observatory at North Caucasus. Seism. Instr. 2008, 44, 12–25. [Google Scholar] [CrossRef]
- Shirokov, I.A.; Zharinov, N.A.; Pertsev, B.P.; Anokhina, K.M. Ground tilt variations in the Klyuchevskoi Volcano Area, Kamchatka. J. Volcanolog. Seismol. 2009, 3, 405–413. [Google Scholar] [CrossRef]
- Gravirov, V.V.; Desherevskiy, A.V.; Kuzmin, Y.O.; Likhodeev, D.V.; Sobisevich, A.L.; Shirokov, I.A. Improvements in high-precision tiltmeter instrument systems located in an underground geophysical observatory. Seism. Instr. 2022, 58, 363–378. [Google Scholar] [CrossRef]
- Kuzmin, Y.O.; Fattakhov, E.A.; Shirokov, I.A. Analysis of long-term stability of tilt registration with two instruments of the same pedestal. Seism. Instr. 2021, 57, 269–275. [Google Scholar] [CrossRef]
- Molodensky, S.M. Determination of tidal strain perturbations for a plain topography. Izv. AN SSSR Ser. Fiz. Zemli. 1983, 7, 80–96. (In Russian) [Google Scholar]
- Gridnev, D.G.; Kanonidi, K.K.; Kanonidi, K.D.; Kovaleva, O.V.; Puzich, I.N. Microbarograph. Seism. Instr. 2008, 44, 32–35. [Google Scholar] [CrossRef]
- Likhodeev, D.V.; Gravirov, V.V.; Kislov, K.V. Precision differential thermometers for studying thermal processes at the Northern Caucasus geophysical observatory. Seism. Instr. 2018, 54, 673–676. [Google Scholar] [CrossRef]
- Likhodeev, D.V.; Sobisevich, A.L.; Gravirov, V.V. Tidal effects in the fine temperature variations measured in a deep underground tunnel of the Northern Caucasus geophysical observatory. Dokl. Earth Sci. 2022, 503, 200–204. [Google Scholar] [CrossRef]
- Ferreira, A.M.G.; d’Oreye, N.F.; Woodhouse, J.H.; Zürn, W. Comparison of fluid tiltmeter data with long-period seismograms: Surface waves and Earth’s free oscillations. J. Geophys. Res. 2006, 111, B11307. [Google Scholar] [CrossRef]
- Ricco, C.; Petrosino, S.; Aquino, I.; Del Gaudio, C.; Falanga, M. Some Investigations on a Possible Relationship between Ground Deformation and Seismic Activity at Campi Flegrei and Ischia Volcanic Areas (Southern Italy). Geosciences 2019, 9, 222. [Google Scholar] [CrossRef]
- Milyukov, V.K.; Myasnikov, A.V. A model for a new peripheral shallow magma chamber beneath the Elbrus volcanic center. J. Volcanolog. Seismol. 2023, 17, 210–218. [Google Scholar] [CrossRef]
- Milyukov, V.; Rogozhin, E.; Gorbatikov, A.; Mironov, A.; Myasnikov, A.; Stepanova, M. Contemporary State of the Elbrus Volcanic Center (The Northern Caucasus). Pure Appl. Geophys. 2018, 175, 1889–1907. [Google Scholar] [CrossRef]
- Desherevskii, A.V.; Zhuravlev, V.I.; Nikolsky, A.N.; Sidorin, A.Y. Problems in Analyzing Time Series with Gaps and Their Solution with the WinABD Software Package. Izv. Atmos. Ocean. Phys. 2017, 53, 659–678. [Google Scholar] [CrossRef]
- Spiridonov, E.A.; Myasnikov, A.V.; Vinogradova, O.Y. ATLANTIDA3.1_2017 program: Calculation of tidal deformations. Seism. Instr. 2020, 56, 1–16. [Google Scholar] [CrossRef]
- Sobisevich, A.L.; Kanonidi, K.K.; Sobisevich, L.E.; Gridnev, D.G. On a class of electromagnetic disturbances preceding strong earthquakes. Seism. Instr. 2010, 46, 228–233. [Google Scholar] [CrossRef]
- Newhall, C.G.; Costa, F.; Ratdomopurbo, A.; Venezky, D.Y.; Widiwijayanti, C.; Win, N.T.Z.; Tan, K.; Fajiculay, E. WOVOdat—An online, growing library of worldwide volcanic unrest. J. Volcanol. Geotherm. Res. 2017, 345, 184–199. [Google Scholar] [CrossRef]
Disclaimer/Publisher’s Note: The statements, opinions and data contained in all publications are solely those of the individual author(s) and contributor(s) and not of MDPI and/or the editor(s). MDPI and/or the editor(s) disclaim responsibility for any injury to people or property resulting from any ideas, methods, instructions or products referred to in the content. |
© 2025 by the authors. Licensee MDPI, Basel, Switzerland. This article is an open access article distributed under the terms and conditions of the Creative Commons Attribution (CC BY) license (https://creativecommons.org/licenses/by/4.0/).















