North Caucasus Underground Geophysical Observatory: Instrumentation and Observation Results
Abstract
1. Introduction
2. Establishment of the North Caucasus Geophysical Observatory
3. Instrumentation of the North Caucasus Geophysical Observatory
3.1. Baksan Laser Interferometer–Strainmeter
3.2. Tiltmeters

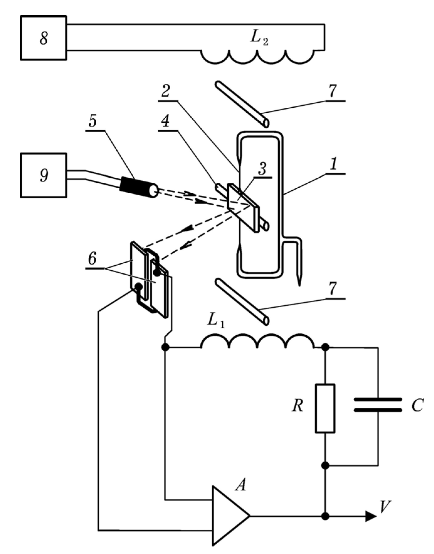
3.3. Three-Component Magnetic Variometer
3.4. Stationary Quartz Gravimeter
3.5. Precision Temperature Antenna
4. Observation Results
4.1. Baksan Laser Interferometer–Strainmeter
4.2. Tiltmeters
4.3. Three-Component Magnetic Variometer
4.4. Precision Temperature Antenna
5. Data Collection, Transmission, and Storage System
6. Conclusions
Author Contributions
Funding
Data Availability Statement
Acknowledgments
Conflicts of Interest
References
- Gurbanov, A.G.; Sobisevich, A.L.; Sobisevich, L.E.; Nechaev, Y.N.; Arbuzkin, V.N.; Prutskii, N.I.; Trofimenko, E.A.; Grekov, I.I. Activity of Elbrus Volcano (North Caucasus). Russ. J. Earth Sci. 2004, 6, 279291. [Google Scholar] [CrossRef]
- Masurenkov, Y.P.; Sobisevich, A.L.; Likhodeev, D.V.; Shevchenko, A.V. Thermal anomalies of the Northern Caucasus. Dokl. Earth Sci. 2009, 429, 1318–1321. [Google Scholar] [CrossRef]
- Eppelbaum, L.V.; Khesin, B.E. Geophysical Studies in the Caucasus; Springer: Heidelberg, Germany; New York, NY, USA, 2012. [Google Scholar]
- Spichak, V.V.; Borisova, V.P.; Fainberg, E.B.; Khalezov, A.A.; Goidina, A.G. Electromagnetic 3D tomography of the Elbrus volcanic center according to magnetotelluric and satellite data. J. Volcanolog. Seismol. 2007, 1, 53–66. [Google Scholar] [CrossRef]
- Bogatikov, O.A.; Nechaev, Y.V.; Sobisevich, A.L. Application of space technologies for the monitoring of geological structures of the Elbrus volcano. Dokl. Earth Sci. 2002, 387, 993–998. [Google Scholar]
- Zvereva, A.S.; Sobisevich, A.L.; Gabsatarova, I.P. Coda Q in the geophysical environment of the Northeast Caucasus. Izv. Phys. Solid Earth 2024, 60, 122–136. [Google Scholar] [CrossRef]
- Mikhalenko, V.; Sokratov, S.; Kutuzov, S.; Ginot, P.; Legrand, M.; Preunkert, S.; Lavrentiev, I.; Kozachek, A.; Ekaykin, A.; Faïn, X.; et al. Investigation of a deep ice core from the Elbrus western plateau, the Caucasus, Russia. Cryosphere 2015, 9, 2253–2270. [Google Scholar] [CrossRef]
- Tielidze, L.G.; Iacob, G.; Holobâcă, I.H. Mapping of Supra-Glacial Debris Cover in the Greater Caucasus: A Semi-Automated Multi-Sensor Approach. Geosciences 2024, 14, 178. [Google Scholar] [CrossRef]
- Koronovsky, N.V.; Myshenkova, M.S. Elbrus volcano without its glacier cover. Moscow Univ. Geol. Bull. 2023, 78, 1–11. [Google Scholar] [CrossRef]
- Lebedev, V.A.; Vashakidze, G.T. The catalogue of Quaternary volcanoes of the Greater Caucasus based on geochronological, volcanological and isotope-geochemical data. J. Volcanolog. Seismol. 2014, 8, 93–107. [Google Scholar] [CrossRef]
- Shcherbakov, V.; Bindeman, I.; Gazeev, V. Geochemical, Isotopic and Petrological Constraints on the Origin and Evolution of the Recent Silicic Magmatism of the Greater Caucasus. Minerals 2022, 12, 105. [Google Scholar] [CrossRef]
- Likhodeev, D.V.; Dudarov, Z.I.; Zhostkov, R.A.; Presnov, D.A.; Dolov, S.M.; Danilov, K.B. Studying the Deep Structure of Elbrus Volcano by Microseismic Sounding. J. Volcanolog. Seismol. 2017, 11, 413–418. [Google Scholar] [CrossRef]
- Wang, Y.; Jian, Y.F.; He, Y.S.; Miao, Q.Q.; Teng, J.W.; Wang, Z.M.; Rong, L.L.; Qiu, L.Q.; Xie, C.L.; Zhang, Q.S.; et al. Underground laboratories and deep underground geophysical observations. Chin. J. Geophys. 2022, 65, 4527–4542. (In Chinese) [Google Scholar] [CrossRef]
- Larocca, G.; Contrafatto, D.; Cannata, A.; Giudice, G. Multiparametric Monitoring System of Mt. Melbourne Volcano (Victoria Land, Antarctica). Sensors 2023, 17, 7594. [Google Scholar] [CrossRef] [PubMed]
- Milyukov, V.K.; Kopaev, A.V.; Lagutkina, A.V.; Mironov, A.P.; Myasnikov, A.V. Observations of crustal tide strains in the Elbrus area. Izv. Phys. Solid Earth 2007, 43, 922–930. [Google Scholar] [CrossRef]
- Dolgikh, G.I. Construction Principles of an Earth Strain-Metering Antenna. Tech. Phys. Lett. 2020, 46, 307–311. [Google Scholar] [CrossRef]
- Bolsunovskii, M.; Dolgikh, G.; Dolgikh, S.; Chupin, V.; Shvets, V.; Yakovenko, S. Twenty-Meter Laser Strainmeter “Popova Isl”. Sensors 2024, 24, 5788. [Google Scholar] [CrossRef]
- Malovichko, A.A.; Mekhrushev, D.Y.; Gorozhantsev, S.V.; Shevchenko, A.V. New seismic station in the territory of Kabardino-Balkariya. Seism. Instr. 2012, 48, 45–50. [Google Scholar] [CrossRef]
- Naticchioni, L.; Iudochkin, N.; Yushkin, V.; Majorana, E.; Perciballi, M.; Ricci, F.; Rudenko, V. Seismic noise background in the Baksan Neutrino Observatory. Eur. Phys. J. Plus 2022, 137, 124. [Google Scholar] [CrossRef]
- Tilling, R.I. Volcanic hazards and their mitigation: Progress and problems. Rev. Geophys. 1989, 27, 237–269. [Google Scholar] [CrossRef]
- Agnew, D.C. Strainmeters and tiltmeters. Rev. Geophys. 1986, 24, 579–624. [Google Scholar] [CrossRef]
- Kislov, K.V.; Gravirov, V.V. Rotational seismology: Review of achievements and outlooks. Seism. Instr. 2021, 57, 187–202. [Google Scholar] [CrossRef]
- Myasnikov, A.V.; Sobisevich, L.E.; Likhodeev, D.V. The regional tidal response of the geophysical medium. Dokl. Earth Sci. 2022, 503, 205–210. [Google Scholar] [CrossRef]
- Kuzmin, Y.O. Paradoxes of the comparative analysis of ground-based and satellite geodetic measurements in recent geodynamics. Izv. Phys. Solid Earth 2017, 53, 825–839. [Google Scholar] [CrossRef]
- Kuzmin, Y.O. Induced deformations of fault zones. Izv. Phys. Solid Earth 2019, 55, 753–765. [Google Scholar] [CrossRef]
- Harrison, J.C. Cavity and topographic effects in tilt and strain measurements. J. Geophys. Res. 1976, 81, 319–328. [Google Scholar] [CrossRef]
- Sidorin, A.Y. (Ed.) Garmskii Geofizicheskii Poligon (Garm Geophysical Test Site); IFZ AN SSSR: Moscow, Russia, 1990; p. 240. (In Russian) [Google Scholar]
- Lyubimov, V.V. Quartz Devices and Magnetovariation Stations: The History of the Development and Application in Scientific Research (On the 95th Anniversary of V.N. Bobrov, a Legend of Quartz Magnetic Instrumentation from IZMIRAN) (A Review). Geomagn. Aeron. 2022, 62 (Suppl. 1), S1–S9. [Google Scholar] [CrossRef]
- Sobissevitch, A.L.; Gridnev, D.G.; Sobissevitch, L.E.; Kanonidi, K.H. Instrumental equipment of geophysical observatory at North Caucasus. Seism. Instr. 2008, 44, 12–25. [Google Scholar] [CrossRef]
- Shirokov, I.A.; Zharinov, N.A.; Pertsev, B.P.; Anokhina, K.M. Ground tilt variations in the Klyuchevskoi Volcano Area, Kamchatka. J. Volcanolog. Seismol. 2009, 3, 405–413. [Google Scholar] [CrossRef]
- Gravirov, V.V.; Desherevskiy, A.V.; Kuzmin, Y.O.; Likhodeev, D.V.; Sobisevich, A.L.; Shirokov, I.A. Improvements in high-precision tiltmeter instrument systems located in an underground geophysical observatory. Seism. Instr. 2022, 58, 363–378. [Google Scholar] [CrossRef]
- Kuzmin, Y.O.; Fattakhov, E.A.; Shirokov, I.A. Analysis of long-term stability of tilt registration with two instruments of the same pedestal. Seism. Instr. 2021, 57, 269–275. [Google Scholar] [CrossRef]
- Molodensky, S.M. Determination of tidal strain perturbations for a plain topography. Izv. AN SSSR Ser. Fiz. Zemli. 1983, 7, 80–96. (In Russian) [Google Scholar]
- Gridnev, D.G.; Kanonidi, K.K.; Kanonidi, K.D.; Kovaleva, O.V.; Puzich, I.N. Microbarograph. Seism. Instr. 2008, 44, 32–35. [Google Scholar] [CrossRef]
- Likhodeev, D.V.; Gravirov, V.V.; Kislov, K.V. Precision differential thermometers for studying thermal processes at the Northern Caucasus geophysical observatory. Seism. Instr. 2018, 54, 673–676. [Google Scholar] [CrossRef]
- Likhodeev, D.V.; Sobisevich, A.L.; Gravirov, V.V. Tidal effects in the fine temperature variations measured in a deep underground tunnel of the Northern Caucasus geophysical observatory. Dokl. Earth Sci. 2022, 503, 200–204. [Google Scholar] [CrossRef]
- Ferreira, A.M.G.; d’Oreye, N.F.; Woodhouse, J.H.; Zürn, W. Comparison of fluid tiltmeter data with long-period seismograms: Surface waves and Earth’s free oscillations. J. Geophys. Res. 2006, 111, B11307. [Google Scholar] [CrossRef]
- Ricco, C.; Petrosino, S.; Aquino, I.; Del Gaudio, C.; Falanga, M. Some Investigations on a Possible Relationship between Ground Deformation and Seismic Activity at Campi Flegrei and Ischia Volcanic Areas (Southern Italy). Geosciences 2019, 9, 222. [Google Scholar] [CrossRef]
- Milyukov, V.K.; Myasnikov, A.V. A model for a new peripheral shallow magma chamber beneath the Elbrus volcanic center. J. Volcanolog. Seismol. 2023, 17, 210–218. [Google Scholar] [CrossRef]
- Milyukov, V.; Rogozhin, E.; Gorbatikov, A.; Mironov, A.; Myasnikov, A.; Stepanova, M. Contemporary State of the Elbrus Volcanic Center (The Northern Caucasus). Pure Appl. Geophys. 2018, 175, 1889–1907. [Google Scholar] [CrossRef]
- Desherevskii, A.V.; Zhuravlev, V.I.; Nikolsky, A.N.; Sidorin, A.Y. Problems in Analyzing Time Series with Gaps and Their Solution with the WinABD Software Package. Izv. Atmos. Ocean. Phys. 2017, 53, 659–678. [Google Scholar] [CrossRef]
- Spiridonov, E.A.; Myasnikov, A.V.; Vinogradova, O.Y. ATLANTIDA3.1_2017 program: Calculation of tidal deformations. Seism. Instr. 2020, 56, 1–16. [Google Scholar] [CrossRef]
- Sobisevich, A.L.; Kanonidi, K.K.; Sobisevich, L.E.; Gridnev, D.G. On a class of electromagnetic disturbances preceding strong earthquakes. Seism. Instr. 2010, 46, 228–233. [Google Scholar] [CrossRef]
- Newhall, C.G.; Costa, F.; Ratdomopurbo, A.; Venezky, D.Y.; Widiwijayanti, C.; Win, N.T.Z.; Tan, K.; Fajiculay, E. WOVOdat—An online, growing library of worldwide volcanic unrest. J. Volcanol. Geotherm. Res. 2017, 345, 184–199. [Google Scholar] [CrossRef]
















Disclaimer/Publisher’s Note: The statements, opinions and data contained in all publications are solely those of the individual author(s) and contributor(s) and not of MDPI and/or the editor(s). MDPI and/or the editor(s) disclaim responsibility for any injury to people or property resulting from any ideas, methods, instructions or products referred to in the content. |
© 2025 by the authors. Licensee MDPI, Basel, Switzerland. This article is an open access article distributed under the terms and conditions of the Creative Commons Attribution (CC BY) license (https://creativecommons.org/licenses/by/4.0/).
Share and Cite
Sobisevich, A.; Kuzmin, Y.; Likhodeev, D.; Kotov, A.; Desherevsky, A.; Myasnikov, A.; Gravirov, V.; Presnov, D.; Kanonidi, K.; Puzich, I.; et al. North Caucasus Underground Geophysical Observatory: Instrumentation and Observation Results. Geosciences 2025, 15, 42. https://doi.org/10.3390/geosciences15020042
Sobisevich A, Kuzmin Y, Likhodeev D, Kotov A, Desherevsky A, Myasnikov A, Gravirov V, Presnov D, Kanonidi K, Puzich I, et al. North Caucasus Underground Geophysical Observatory: Instrumentation and Observation Results. Geosciences. 2025; 15(2):42. https://doi.org/10.3390/geosciences15020042
Chicago/Turabian StyleSobisevich, Alexey, Yuri Kuzmin, Dmitry Likhodeev, Andrey Kotov, Alexey Desherevsky, Andrey Myasnikov, Valentin Gravirov, Dmitriy Presnov, Konstantin Kanonidi, Irina Puzich, and et al. 2025. "North Caucasus Underground Geophysical Observatory: Instrumentation and Observation Results" Geosciences 15, no. 2: 42. https://doi.org/10.3390/geosciences15020042
APA StyleSobisevich, A., Kuzmin, Y., Likhodeev, D., Kotov, A., Desherevsky, A., Myasnikov, A., Gravirov, V., Presnov, D., Kanonidi, K., Puzich, I., Dudarov, Z., Dolov, S., Suvorova, I., Sentsov, A., & Balashov, G. (2025). North Caucasus Underground Geophysical Observatory: Instrumentation and Observation Results. Geosciences, 15(2), 42. https://doi.org/10.3390/geosciences15020042

