Abstract
The results are presented from a study of three-layer geodesic dome structures with bar fillers under their own weight. An algorithm was developed for selecting the type of structural layout used and the reference parameters chosen in terms of the technological, strength, and weight characteristics. The results of this analysis aim to make it easier for designers to determine the optimal reference parameters in the initial stage of the designing of geodetic hemispherical dome structures, the construction of which is planned to be carried out in remote areas with harsh climatic conditions. Due to the lack of sufficient ground transport infrastructure, cargo delivery to these regions is currently possible only with the help of air transport. The importance of this study rests on the lack of adequate methods for the determination of the reference parameters for geodesic hemispherical dome structures at an early stage of design. In particular, it is common for the issues regarding the transportation of structural elements as well as those that involve ensuring the strength and the technological characteristics of the structure to not be considered simultaneously. This study owes its relevance to the rapid development of the uninhabited territories of the Russian Federation in the context of the global ecological crisis caused by anthropogenic impact on the environment.
1. Introduction
This article is a continuation of the research cycle devoted to the geodesic dome structures featured in a previous article that was published in the journal Quality and Life in December 2021 [1].
The Russian Federation ranks first in the world in terms of its area, which is 17,130,000 km2. At the same time, only about 12% of this area is mastered, while there are no traces of human activity in the rest of the territory. As part of the “Strategy for the long-term development of the Russian Federation with low greenhouse gas emissions until 2050” project implementation, by 2030, there is a plan to reach a level of carbon emissions equal to 67% of 1990 levels, and by 2050, to decrease emissions further to 20% of 1990 levels.
At the same time, there is a plan to build new cities in Siberia, which was officially announced by the Minister of Defense of the Russian Federation, S.K. Shoigu, on 5 August 2021. According to this statement, three scientific and industrial centers with a population of three hundred thousand to one million people are planned to be built in Siberia between Bratsk and Krasnoyarsk, as well as in the area of Kansk and Lesosibirsk.
The creation of settlements in the Russian Federation is also considered within the framework of the comprehensive scientific and technical program “Connectivity of the territory of the Russian Federation”, selected by the Council for the Priority of Scientific and Technological Development.
In the context of these two initiatives, the general task of ensuring the ecological preservation of the territories not affected by anthropogenic impact along with their development is highlighted.
This area has a sharply continental climate, which can be characterized by a long winter with a temperature drop as low as −50 °C and a short, hot summer with a temperature high of +30 °C. The hot season in the nearest cities lasts from 240 to 250 days a year, and in summer, there is a high load on the power grid because of the high energy costs of air conditioning. Thus, one of the steps necessary to achieve this task is to increase the energy efficiency of the capital buildings. Salosina, Alifanov, and Nenerokomov in their work [2] researched high-porosity open-cell foam in terms of its levels of thermal protection.
It is known that dome buildings in such climatic conditions have up to a one and a half times higher level of energy efficiency when compared to classical rectangular buildings. In the work of Pogosyan, Strelets, and Vladimirova [3], the communication gap in the spatial development of the country is highlighted; transport and electronic accessibility is limited. However, in the work of Lutovinov, Pogosyqn, and Lupyan [4], a solution to the communication gap is proposed.
The use of dome geodesic structures can provide an alternative solution to this problem, since this can simplify the rapid construction of reliable long-term shelters without the need for special construction equipment because of the added possibility of transporting the assembly elements by air to areas that lack a developed transport infrastructure.
At the same time, reducing the mass of such structures will also significantly increase the maximum range of air transportation. The problems involved in the increasing of the maximum range of aircraft were previously dealt with by Dolgov and Aruvelli [5].
Additionally, another advantage of these kinds of structures is their high stability in the event of natural disasters such as earthquakes and hurricanes because of their geometric shape.
All of these factors taken together allow us to speak about the relevance of a deeper study of dome structures.
2. Literature Review
A large number of domestic and foreign scientists are currently engaged in research on the strength and the functional characteristics of dome structures. The current research was inspired by the work of the following authors:
- Gritsenko, who was engaged in research on the history of the lattice geodesic dome’s creation [6].
- Maria, Esipova, Vintural, and Shabanov, who, in their works, investigated the possibility of using geodesic domes in various economical fields [7,8,9,10].
- Granev, Kodysh, Mamin, Bobrov, Reutsu, and Kuznichenko, who studied the existing lattice structures in terms of their reliability and manufacturability [11].
- Gorkoltseva, Demidov, Olshanchenko, Shiryaeva, Romanovich, Shanko, Shishkina, and Kaloshina in their works [12,13,14,15,16] investigated the advantages of dome structures in comparison to those of classical buildings, according to the criteria of energy efficiency, weight, materials cost, air exchange, seismic resistance, wind resistance, and environmental friendliness.
- Zhuravlev, Glushko, and Lakhov in their works [17,18,19,20] studied the strength characteristics of geodetic structural layouts.
- Lakhova, Gorkoltseva, Miryaeva, and Pilarska in their works [21,22,23,24] described various ways of designing lattice domes.
- Chepurnenko conducted a comparative analysis of various designs of wavy domes in order to identify their advantages and disadvantages [25].
- Barbieri, Machado, Barbieri, Lima, Rossot, Guan, Virgin, and Helm calculated the strength characteristics of dome structures and compared them with the results from the experimental data [26,27].
- Jihong, Mingfei, Kaveh, and Talatahari were engaged in the study of dome structures in terms of their strength characteristics, as well as tasks related to design optimization [28,29].
Such a wide interest in the subject of the study, as well as the lack of a comparative analysis of the varieties of geodesic hemispherical three-layered domes, justifies the relevance of the study. In regions with a mild climate, a single-layer structural layout (Figure 1) is usually used. Most often, natural materials are used in the structural elements, namely, the structural frame of the dome structure is made of wooden boards. In such a case, the geometric characteristics of the thermal insulation material are always limited by the wood blanks’ parameters.
Figure 1.
Single-layered dome structure without thermal insulation.
As a rule, standard rectangular boards are chosen as the material of structural frame elements (Figure 2), which have the following geometric characteristics “L”—length, “h”—height, and “b”—width.
Figure 2.
Geometric characteristics of a rectangular board.
Since, in order to achieve greater structural strength, the boards are positioned in such a way that the narrow and long side “J” looks out of the structure, there is a limitation on the thickness of the thermal insulation material layer. The layer thickness cannot exceed the width “b” of the boards used because it is necessary to install the inner skin to fix it. At the same time, the use of very wide boards has the potential to significantly increase the cost and mass characteristics of the structure, while the use of more affordable materials with smaller overall dimensions is more effective.
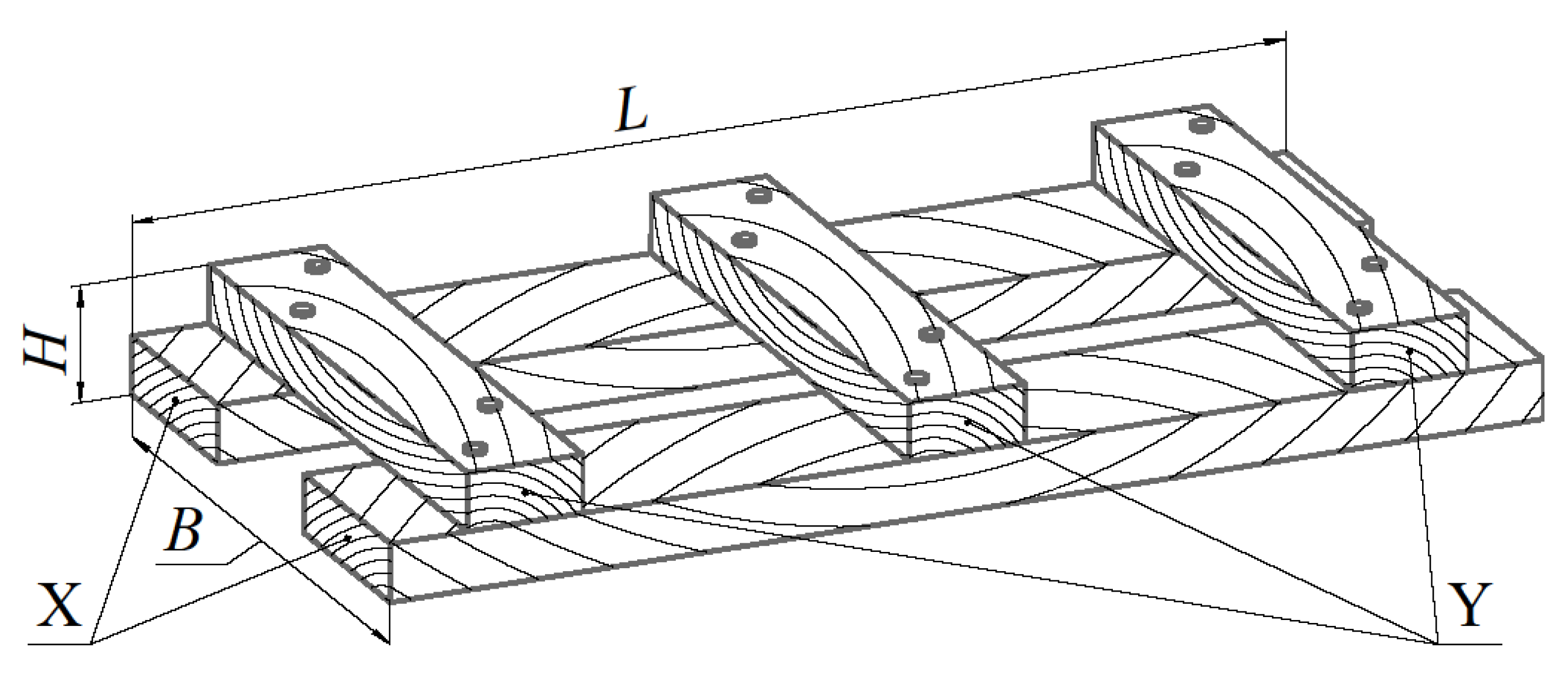
In regions with a harsh climate, where it is necessary to increase the distance between the external and the internal skin of the dome, multilayer structures are used for laying thermal insulation material, in which sectional structures are used as structural elements instead of conventional boards (Figure 3).
Figure 3.
Geometrical characteristics of the sectional structural element.
In this case, the elements of the inner and outer layers of the dome “X” are connected using the structural elements in “Y”, which keep the layers at a certain distance, thereby providing the necessary thickness for holding a thicker layer of thermal insulation material. An example of such a structural layout is shown in Figure 4.
Figure 4.
Two-layer geodesic dome structure.
The disadvantage of using such modular structural elements is their low rigidity, owing to the fact that they are a set of rectangles that have four sides. It is possible to increase the rigidity by using a structural layout consisting of triangular elements. There are two variants of geodesic dome structures structural layouts that consist only of triangular elements. They are known and used in many countries.
3. Materials and Methods
To determine the advantages and the disadvantages of two-layer hemispherical geodesic dome structural layouts with a triangular structure, a series of strength calculations for different variants using the finite element method was carried out.
The finite element method makes it possible to analyze the stress-strain state of structures with a high degree of accuracy. Aabid, Zakuan, Khan, and Ibrahim [30] claimed that this method allows the analysis of the structures of different scales, which makes this method universal.
The strength and weight parameters were jointly considered, depending on the amount of change in the thickness of the bar filler and the number of structural elements.
Four variants of the geodesic domes’ structural layout were considered. The structures under consideration were spatial three-dimensional three-layer structures consisting of load-bearing layers in the form of polygonal grids and a bar filler. The structural layouts under consideration were divided into two types, which were further divided into two variants. In the first type, both bearing layers are polygonal grids consisting of triangles (Figure 5), and in the second type, the first layer consists of triangles and the second of hexagons (Figure 6). In addition to hexagons, pentagons were also present in the model, since this condition was necessary for the closure of the dome structure at the pole.
Figure 5.
First variant of the structural layout.
Figure 6.
Second variant of the structural layout.
In the first type of structure, two variants differ regarding the orientation of the filler. In the first variant of the first type of structure (Figure 7), the filler is connected only to the nodal points of the outer bearing layer, and in the second variant of the first type of structure (Figure 8), the filler is connected to the nodal points of the inner bearing layer. In the first variant of the second type of structure(Figure 9), the layer consisting of triangles is external, the layer consisting of hexagons is internal, and in the second variant of the second type of structure (Figure 10), vice versa.
Figure 7.
Metal geodesic dome of the US Antarctic Station Amundsen–Scott.
Figure 8.
Geodesic dome of the DYE-2 station of the missile strike early detection system in Greenland.
Figure 9.
The Lighting dome of the NIISF, outside view.
Figure 10.
The Lighting dome of the NIISF, inside view.
Here are some examples of dome structures, parts of which were transported by air:
- The metal geodesic dome of the US Antarctic Station Amundsen–Scott is located at the South Pole of the Earth. It was built in 1975 and used to be the main shelter of the research station. Its service life in the extreme climatic conditions of the South Pole was more than 30 years. This dome structure was built from elements premanufactured in the factory and delivered by air transport.
The geodesic dome of the DYE-2 station of the missile strike early detection system in Greenland, with a diameter of more than 20 m, the construction of which began in the late 1950s. The construction of this structure was carried out from parts transported exclusively by air transport.
- As a close analogue to the first type of structure, we may mention the lighting dome of the Research Institute of Building Physics (NIISF), which was built in Moscow in 1981.
- As a close analogue to the second type of structure, we may mention the geodesic dome of the museum dedicated to the environment and water resources in Montreal (Canada), built of steel rods in 1967, with a height of 62 m and a diameter of 76 m, designed by American engineer and architect Richard Buckminster Fuller (Figure 11 and Figure 12).
Figure 11. Montreal “biosphere,” general view.
Figure 12. Montreal “biosphere” structure.
The general views of the geodetic hemispherical structural layouts considered are presented in Figure 13, Figure 14, Figure 15 and Figure 16.
Figure 13.
Type 1, variant 1.
Figure 14.
Type 1, variant 2.
Figure 15.
Type 2, variant 1.
Figure 16.
Type 2, variant 2.
For each of the four design versions, ten models were created with the division of the main triangle edge into a different number of structural elements from 2 to 20 in increments of two. Each structural element is a circular beam with a radius of 20 mm.
Next, a strength analysis of all forty models was carried out with a change in the distance between the bearing layers from 200 mm to 500 mm in increments of 50 mm. As a result, 280 calculations were carried out.
Strength calculations were carried out using the finite element method in the HyperMesh software package in a static solver. Four groups of models were created that differed in the number of edges per the side of the main triangle from 2 to 20. The model parameters are given in Table 1.
Table 1.
Parameters for FEM models.
As mentioned previously, 280 calculations were carried out for each of the models that was created manually. The use of the highly convenient HyperMesh software package made it possible to significantly reduce the preparation time of the model.
Depending on the geometric division of the main triangle, the number of structural elements (beams) changed, but regardless of the division, each beam was divided into 10 finite elements. Thus, the structural elements had the same mesh density. This partition was dictated primarily by the requirement of mesh convergence.
The final elements of the Bar-type, instead of the Rod-type, were used in the model; the elements of the Bar-type are able to work not only in tension-compression, but also in bending.
The structure under its own weight was calculated. For this, the gravity acceleration was set to 9.8 m/s2. As boundary conditions, a restriction on all degrees of freedom for the lower row of nodes was used, simulating the presence of a foundation.
4. Results and Discussion
The stress-strain state of the structures was estimated by the values of stresses and displacements. The stress values for all models do not exceed the yield strength of structural steels. The peak values of the displacements were systemized. Figure 17 shows the dependences of the displacement values on the mass of the structure and the wall thickness.
Figure 17.
Summary graph of the peak displacements and the mass of the structure on the reference parameters of the structural layout for geodesic hemispherical two-layer dome structures with a core filler.
The parameters accepted in the finite element model correspond to the parameters that can be used in a real design. Changing the material and the cross-section of structural elements would yield different results, but this is the topic of another separate study. In this paper, a comparative analysis of the structural layout of domes was carried out. After analyzing the graphs in Figure 17, a rational design can be chosen based on the requirements set.
If the basic requirement is air transportation possibility, then it is advisable to choose a design that meets all other restrictions with a minimum weight. Judging by the graphs, the rational choice in this case is a type 2 structure with a division of six elements per main triangle, since in this case, the displacements of the structure have extremely low values. The wall thickness should be determined based on the required type of insulation material. So, when using mineral cotton, the minimum thickness would be 350 mm; at the same time, when using polyurethane, it is possible to limit the wall thickness to 200 mm.
Similarly, a design selection can be made that is guided by other requirements.
Two types of structures have been worked out in two variants. Structures of the second type have better mass-stiffness characteristics, while structures of the first type are better in terms of their manufacturability. In particular, structures of this type require less labor intensity during assembly because of the presence of the horizontal rows of the structural elements. As a result of our calculations, it became possible to quantify the gain in weight of the second type of structure relative to the first one, which allows the designer to make an optimal choice in favor of a design of one type over another.
5. Conclusions
Based on the dependencies obtained during the analysis of the different variants of geodesic hemispherical dome structures, an algorithm was determined for selecting a rational combination of strength and weight characteristics taking into consideration the limitations associated with manufacturability and the choice of structural materials.
The algorithm developed for the selection of reference parameters during the initial stage of the design of geodetic hemispherical dome structures may also facilitate the task of transporting the elements of such structures by air in the future.
The desired outcome of this study is to ensure the possibility of building reliable, long-term shelters in a short time, with the help of only small groups of workers, and without the use of special construction equipment, by ensuring a rational combination of the structural and technological parameters of the structures is used with a minimum mass of material.
Author Contributions
Conceptualization, A.K.; methodology, O.D.; validation, S.P.; formal analysis, V.K.; investigation, A.K.; writing—original draft preparation, S.P.; writing—review and editing, V.Z.; visualization, V.A.; supervision, O.D. All authors have read and agreed to the published version of the manuscript.
Funding
This research received no external funding.
Institutional Review Board Statement
Not applicable.
Informed Consent Statement
Not applicable.
Data Availability Statement
The data presented in this study are available on request from the corresponding author.
Conflicts of Interest
The authors declare no conflict of interest.
References
- Dolgov, O.S.; Dolgova, T.V.; Kolpakov, A.M.; Korolskii, V.V. Ensuring the long-term quality of dome structures based on the use of lattice high-resource structural layouts of a rational combination of structural and technological parameters with a minimum mass of material. Qual. Life 2021, 4, 70–77. [Google Scholar]
- Salosina, M.O.; Alifanov, O.M.; Nenarokomov, A.V. An optimal design of thermal protection based on materials morphology. Comput. Assist. Methods Eng. Sci. 2019, 1, 47–60. [Google Scholar]
- Pogosyan, M.A.; Strelets, D.Y.; Vladimirova, V.G. Territorial Connectivity of the Russian Federation: From the Statement of Complex Problems to Drawing up Integrated Scientific and Technical Projects. Her. Russ. Acad. Sci. 2019, 89, 179–184. [Google Scholar] [CrossRef]
- Lutovinov, A.A.; Lupyan, E.A.; Pogosyan, M.A.; Shemyakov, A.O. Providing Information Connectivity over Russian Territory Using Remote Sensing Systems of the Earth. Her. Russ. Acad. Sci. 2019, 89, 190–195. [Google Scholar] [CrossRef]
- Dolgov, O.S.; Aruvelli, S.V. A Method of Increasing the Electric Aircraft Flight Range by Reducing Weight during Flight. Russ. Aeronaut. 2020, 63, 405–412. [Google Scholar]
- Gritsenko, D.A. Fuller and his geodesic domes. In Science, Education and Experimental Design; Abstracts of the International Scientific and Practical Conference of Teaching Staff, Young Scientists and Students; Moscow Architectural Institute (State Academy): Moscow, Russia, 2014; p. 407. [Google Scholar]
- Vrontissi, M.K. Designing and building a geodesic dome as a bearing structure for an ‘artificial sky’ ligthting installation. In Proceedings of the Evolution and Trends in Design, Analysis and Construction of Shell and Spatial Structures [International Association for Shell and Spatial Structures (IASS) Symposium 2009], Valencia, Spain, 1 March 2009. [Google Scholar]
- Esipova, A.A. Application of geodesic domes in construction: Advantages and disadvantages. North Caucasus Branch of Belgorod State Technological University named after V.G. Shukhov, Mineralnye Vody. Sci. Mod. 2015, 38, 8–11. [Google Scholar]
- Vintural, D.A. Structures on Mars. Actual problems of aviation and cosmonautics. In Proceedings of the Materials of the VI International Scientific and Practical Conference Dedicated to the Cosmonautics Day, Tomsk, Russia, 6 April 2020; pp. 275–276. [Google Scholar]
- Shabanov, Y.S. Application of dome construction technology in the construction of low-rise residential buildings. In Generation of the Future: The View of Young Scientists—2020 Kursk; Don State Technical University: Rostov-on-Don, Russia, 2020; pp. 381–383. [Google Scholar]
- Granev, V.V.; Kodysh, E.N.; Mamin, A.N.; Bobrov, V.V.; Reutsu, A.V.; Kuznechenko, S.A. Preservation of the Shukhov Radio Tower—Current state and prospects. In Proceedings of the Collection of Scientific Works of the RAASN “Fundamental, Exploratory and Applied Research on Scientific Support for the Development of Architecture, Urban Planning and the Construction Industry of the Russian Federation”, Moscow, Russia, 4 April 2018. [Google Scholar]
- Gorkoltseva, D.S. Research and development of an energy-efficient dome structure. Tomsk State University of Architecture and Civil Engineering, Russia, Tomsk. Prospects for the Development of Fundamental Sciences. In Proceedings of the scientific papers of the XII International Conference of Students and Young Scientists, Tomsk, Russia, 21–24 April 2015; pp. 1263–1265. [Google Scholar]
- Panova, Y.V.; Demidov, S.V. Effective construction system—Geodesic dome. In Proceedings of the Collection: Cherepovets Scientific Readings—2014 Materials of the All-Russian Scientific and Practical Conference, Cherepovets, Russia, 3–5 November 2015; pp. 39–43. [Google Scholar]
- Olshanchenko, A.A.; Shiryaeva, N.P. Energy saving in domed houses. In Proceedings of the Collection: Energy and Resource Conservation. Energy Supply. Unconventional and Renewable Energy Sources, Materials of the International Scientific and Practical Conference of Students, postgraduates and Young Scientists Dedicated to the Memory of Professor N.I. Danilov (1945–2015)—Danilov Readings. Ministry of Education and Science of the Russian Federation, Ural Federal University Named after the First President of Russia B. N. Yeltsin. Ekaterinburg, Russia, 11–15 December 2017; pp. 299–303. [Google Scholar]
- Romanovich, A.N. Geodesic domes. general information. features of application and calculation. Mod. Innov. 2016, 6, 22–23. [Google Scholar]
- Shanko, P.S.; Shishkina, A.V.; Kaloshina, S.V. Construction methods and advantages of domed buildings. Mod. Technol. Constr. Theory Pract. 2016, 2, 341–348. [Google Scholar]
- Zhuravlev, A.A. Snapping the bar structure of lattice dome in the form of a 980-agon. News Univ. Constr. Archit. 1983, 6, 34–39. [Google Scholar]
- Glushko, K.K. Study of shape stability of rod polyhedra of lattice domes. In Proceedings of the II International Scientific and Technical Conference “Theory and Practice of Research and Design in Construction Using Computer-Aided Design (CAD) Systems”, Moscow, Russia, 25–26 October 2018; pp. 33–42. [Google Scholar]
- Glushko, K.K. Loss of local stability of lattice domes with rigid nodes. In Proceedings of the II International Scientific and Technical Conference “Theory and Practice of Research and Design in Construction Using Computer-Aided Design (CAD) Systems”, Brest, Belarus, 29–30 March 2018; pp. 24–33. [Google Scholar]
- Lakhov, A.Y. Approximate method for determining the maximum tensile stresses in the rods of double-circuit geodesic domes of the “R” system from the impact of its own weight. Bull. MGSU 2014, 1, 58–65. [Google Scholar]
- Lakhov, A.Y. Two-contour geodesic shells with pentahedral pyramids. Nizhny Novgorod State University of Architecture and Civil Engineering. Eng. Bull. Don 2019, 6, 18. [Google Scholar]
- Gorkoltseva, D.S. Design calculation and construction of a geodesic dome model. In Proceedings of the 1 Tomsk State University of Architecture and Civil Engineering, Tomsk Youth Scientific Potential of the XXI Century: Stages of Cognition, Tomsk, Russia, 25–28 April 2017; pp. 70–74. [Google Scholar]
- Miryaev, B.V. Optimization of the geometric scheme of lattice domes formed on the basis of an icosahedron. Reg. Archit. Constr. 2012, 3, 122–125. [Google Scholar]
- Pilarska, D. Two subdivision methods based on the regular octahedron for single-and double-layer spherical geodesic domes. Int. J. Space Struct. 2020, 35, 160–173. [Google Scholar] [CrossRef]
- Chepurnenko, A.S.; Kochura, V.G.; Saibel, A.V. Finite element analysis of the stress-strain state of wavy shells. Constr. Technog. Saf. 2018, 11, 27–31. [Google Scholar]
- Barbieri, N.; Machado, R.D.; Barbieri, L.S.V.; Lima, K.F.; Rossot, D. Dynamic Behavior of the Geodesic Dome Joints. Int. J. Comput. Appl. 2016, 40, 40–44. [Google Scholar] [CrossRef]
- Guan, Y.; Virgin, L.N.; Helm, D. Structural behavior of shallow geodesic lattice domes. Int. J. Solids Struct. 2018, 15515, 225–239. [Google Scholar] [CrossRef]
- Ye, J.; Lu, M. Optimization of domes against instability. Steel Compos. Struct. 2018, 28, 427–438. [Google Scholar]
- Kaveh, A.; Talatahari, S. Geometry and topology optimization of geodesic domes using charged system search. Struct. Multidiscip. Optim. 2011, 43, 215–229. [Google Scholar] [CrossRef]
- Aabid, A.; Zakuan, M.A.M.B.M.; Khan, S.A.; Ibrahim, Y.E. Structural analysis of three-dimensional wings using finite element method. Aerosp. Syst. 2021, 3, 1–17. [Google Scholar] [CrossRef]
Publisher’s Note: MDPI stays neutral with regard to jurisdictional claims in published maps and institutional affiliations. |
© 2022 by the authors. Licensee MDPI, Basel, Switzerland. This article is an open access article distributed under the terms and conditions of the Creative Commons Attribution (CC BY) license (https://creativecommons.org/licenses/by/4.0/).
















