Electrochemical Behavior of Carbon Steel ASTM A36 in Diluted Pregnant Leach Solutions from Electrowinning of Copper
Abstract
1. Introduction
- (a)
- This cell requires an external power supply having a potential value larger than 0.89 V to function as expected under standard conditions. Typically, the cell potential, which includes the potentials determined from Nernst Equation, the anodic and cathodic overpotentials, and the potential drop caused by the solution resistance, is close to 2 V at 300 A/m2.
- (b)
- The presence of some ions in the PLS solution like and others originate additional half-cells that compete with mainly cathodic reaction of copper causing both, energy losses and detrimental quality of the copper deposited in the cathode electrode. Minimizing the concentration of iron reduces the consumption of current by this reaction. Therefore, an efficient purification process to remove impurities from PLS solution is essential [2,3,4,5,6].
- (c)
- Proper anode and cathode material selection is essential to fulfill main requirements of lowest overpotential, good quality of the deposited copper in the cathode [7] and minimum electrode corrosion rate [8]. The conventional anode and cathode materials are lead alloys and 316L stainless steel, respectively [9,10]. Alternative anode materials have been already developed but its high comparative cost with lead is a constraint for widespread industrial use [11,12,13].
- (d)
- In order to meet quality requirements for commercialization the final copper cathodes sheets are finally rinsed with good quality water in order to remove remnants of electrolyte solution adhered on its surface [14]. In the Chilean mining copper facilities this is done in a rinsing booth either manually or automated by using reverse osmosis treated seawater [15]. The average amount of water consumption for this operation is 0.008 L of water/kg of produced .
2. Materials and Methods
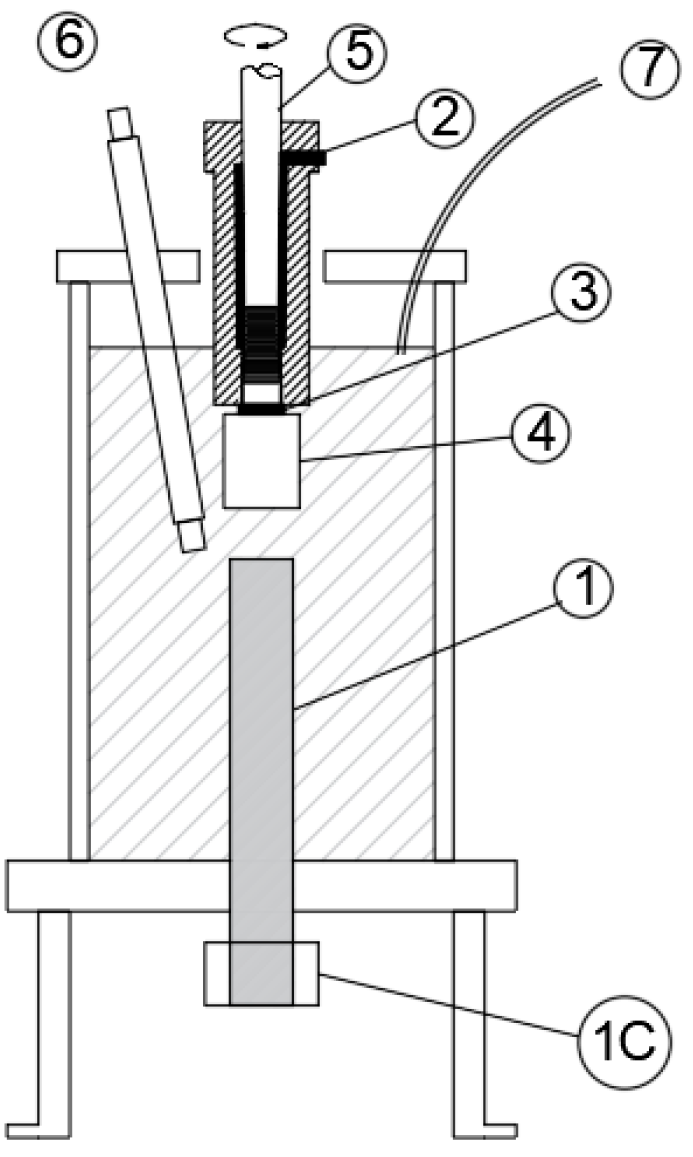
2.1. Material and Test Solution
2.2. Electrochemical Measurements
2.3. Morphological and Phase Analysis
2.4. Reproducibility and Data Handling Considerations
3. Results and Discussion
3.1. Steel Corrosion in Pure RO Water
- (1)
- It is assumed that the open circuit condition (OCP) under which the EIS measurements were done, is nearly equivalent to the corrosion potential and also the controlling corrosion mechanism is a charge transfer process. For this condition, the Stern–Geary equation applies [30]:where, and are the anodic and cathodic slopes which are equivalent to and shown in Table 1, respectively.
- (2)
- The mathematic model for the equivalent circuit can be expressed by:
3.2. Steel Corrosion in RO Wash Water
3.3. Morphology and Oxide Composition after 48 h Immersion Time
4. Conclusions
Author Contributions
Funding
Data Availability Statement
Acknowledgments
Conflicts of Interest
References
- Cooper, W.C. Advances and future prospects in copper electrowinning. J. Appl. Electrochem. 1985, 15, 789–805. [Google Scholar] [CrossRef]
- McKevitt, B.; Dreisinger, D. A comparison of various ion exchange resins for the removal of ferric ions from copper electrowinning electrolyte solutions part I: Electrolytes containing no other impurities. Hydrometallurgy 2009, 98, 116–121. [Google Scholar] [CrossRef]
- Chibwe, C.; Tadie, M. An experimental review of the physicochemical properties of copper electrowinning electrolytes. Min. Metall. Explor. 2021, 38, 1225–1237. [Google Scholar] [CrossRef]
- Hoffmann, J.E. The purification of copper refinery electrolyte. JOM 2004, 56, 30–33. [Google Scholar] [CrossRef]
- Nagai, T. Purification of copper electrolyte by solvent extraction and ion-exchange techniques. Miner. Process. Extr. Metall. Rev. 1997, 17, 143–168. [Google Scholar] [CrossRef]
- Prasad, M.S.; Kenyen, V.P.; Assar, D.N. Development of SX-EW process for copper recovery an overview. Miner. Process. Extr. Metall. Rev. 1992, 8, 95–118. [Google Scholar] [CrossRef]
- Moats, M.S.; Luyima, A.; Cui, W. Examination of copper electrowinning smoothing agents. Part I: A review. Min. Metall. Explor. 2016, 33, 7–13. [Google Scholar] [CrossRef]
- Andersen, T.N.; Adamson, D.L.; Richards, K.J. The corrosion of lead anodes in copper electrowinning. Metall. Trans. 1974, 5, 1345–1349. [Google Scholar] [CrossRef]
- Sandoval, S.; Clayton, C.; Dominguez, S.; Unger, C.; Robinson, T. Development and commercialization of an alternative anode for copper electrowinning. In Copper 2010 Proceedings; GDMB: Hamburg, Germany, 2010. [Google Scholar]
- Moats, M.; Hardee, K.; Brown, C. Mesh-on-lead anodes for copper electrowinning. JOM 2003, 55, 46–48. [Google Scholar] [CrossRef]
- Schmachtel, S.; Toiminen, M.; Kontturi, K.; Forsén, O.; Barker, M.H. New oxygen evolution anodes for metal electrowinning: MnO2 composite electrodes. J. Appl. Electrochem. 2009, 39, 1835–1848. [Google Scholar] [CrossRef]
- Vainoris, M.; Cesiulis, H.; Tsyntsaru, N. Metal foam electrode as a cathode for copper electrowinning. Coatings 2020, 10, 822. [Google Scholar] [CrossRef]
- Chatelut, M.; Gobert, E.; Vittori, O. Electrochemical behaviour of zirconium electrodes in acidic medium and their applications to electrowirming of copper from dilute solutions. Hydrometallurgy 1996, 43, 287–298. [Google Scholar] [CrossRef]
- Beukes, N.T.; Badenhorst, J. Copper electrowinning: Theoretical and practical design. J. S. Afr. Inst. Min. Metall. 2009, 109, 343–356. [Google Scholar]
- Davenport, W.G.; King, M.; Schlesinger, M.; Biswas, A. Extractive Metallurgy of Copper, 4th ed.; Pergamon: Oxford, UK, 2002; pp. 265–288. [Google Scholar]
- Dong, Y.; Xu, J.; Yue, G. Speciation study of the aqueous Fe-Cu-As-Sb-Bi-H2SO4 system and prediction of redox potential in copper electrorefining from 25 °C to 70 °C. Chem. Eng. Sci. 2022, 255, 117656. [Google Scholar] [CrossRef]
- Feng, W.; Cao, H.; Shen, Y.; Xu, S.; Zhang, H.; Zheng, G. A Theoretical Model for Metal Cation Reduction in the Flow Field and Its Application to Copper Electrorefining. Int. J. Electrochem. Sci. 2022, 17, 220236. [Google Scholar] [CrossRef]
- ASTM G1-03; Standard Practice for Preparing, Cleaning, and Evaluation Corrosion Test Specimens. ASTM International: West Conshohocken, PA, USA, 2017.
- Cáceres, L.; Frez, Y.; Galleguillos, F.; Soliz, A.; Gómez-Silva, B.; Borquez, J. Aqueous dried extract of skytanthus acutus meyen as corrosion inhibitor of carbon steel in neutral chloride solutions. Metals 2021, 11, 1992. [Google Scholar] [CrossRef]
- Flitt, H.J.; Schweinsberg, D.P. A guide to polarisation curve interpretation: Deconstruction of experimental curves typical of the Fe/H2O/H+/O2 corrosion system. Corros Sci. 2005, 47, 2125–2156. [Google Scholar] [CrossRef]
- Campechano-Lira, C.; Bedolla-Jacuinde, A.; Carmona-Hernández, A.; Orozco-Cruz, R.; Espinoza-Vazquez, A.; Galvan-Martinez, R. Kinetic Analysis of the X100 Steel Corrosion in Brine containing Inhibitor (Imidazoline) under different Turbulent Flow Conditions. Int. J. Electrochem. Sci. 2022, 17, 221139. [Google Scholar] [CrossRef]
- Oriol, R.; Nava, J.L.; Brillas, E.; Sirés, I. Diffusion-charge transfer characterization of a rotating cylinder electrode reactor used for the complete electrocatalytic removal of nitrate from water. J. Environ. Chem. Eng. 2022, 10, 108839. [Google Scholar] [CrossRef]
- Policastro, S.A.; Anderson, R.M.; Hangarter, C.M. Modeling and predicting reduction reaction kinetics for a stainless-steel in NaCl solutions. J. Electrochem. Soc. 2023, 170, 041504. [Google Scholar] [CrossRef]
- Jovancicevic, V.; Bockris, M. The mechanism of oxygen reduction on iron in neutral solutions. J. Electrochem. Soc. 1986, 133, 1797. [Google Scholar] [CrossRef]
- Hedenstedt, K.; Simic, N.; Wildlock, M.; Ahlberg, E. Kinetic study of the hydrogen evolution reaction in slightly alkaline electrolyte on mild steel, goethite and lepidocrocite. J. Electroanal. Chem. 2016, 15, 1–7. [Google Scholar] [CrossRef]
- Zhao, S.; Jing, Y.; Liu, T.; Zhao, W.; Li, F. Corrosion behavior and mechanism of carbon steel in industrial circulating cooling water system operated by electrochemical descaling technology. J. Clean. Prod. 2024, 434, 139817. [Google Scholar] [CrossRef]
- Sun, Y.; Liu, W.; Chen, L.; Zhang, T.; Li, H.; Zhang, B.; Yang, W.; Cui, J.; Hou, B.; Wang, F.; et al. The dual nature of Cu content on the corrosion resistance of low alloy steels in sulfuric acid: A time-dependent reversal of corrosion resistance. Corros. Sci. 2023, 224, 111486. [Google Scholar] [CrossRef]
- Wang, D.Y.; Li, Z.G.; Liu, Y.; Li, H.J.; Wu, Y.C. Investigation of efficient corrosion inhibitor during acid cleaning of reverse osmosis (RO) desalination plant. Corros. Sci. 2022, 208, 110609. [Google Scholar] [CrossRef]
- Guo, H.; Zhou, K.; Feng, Z.; Li, C.; Xie, J.; Ma, J.; Zhang, X.; Wang, X.; Xu, K.; Li, C.; et al. Corrosion Behavior of Alkyd-Resin-Coated Carbon Steel under Cathodic Polarization in Both Static and Flowing Seawater. Coatings 2023, 13, 1296. [Google Scholar] [CrossRef]
- Roberge, P. Corrosion Engineering Principles and Practice, 1st ed.; McGraw-Hill: New York, NY, USA, 2008; pp. 85–144. [Google Scholar]
- Lvovich, V.F. Equivalent-circuit elements and modeling of the impedance phenomenon. In Impedance Spectroscopy Application to Electrochemical and Dielectric Phenomena, 1st ed.; John Wiley & Sons: Hoboken, NJ, USA, 2012; pp. 37–48. [Google Scholar]
- Lvovich, V.F. Selected examples of impedance-analysis applications. In Impedance Spectroscopy Application to Electrochemical and Dielectric Phenomena, 1st ed.; John Wiley & Sons: Hoboken, NJ, USA, 2012; pp. 309–318. [Google Scholar]
- Xing, S.; Bai, S.; Liu, R.; Liu, Y.; Qi, J.; Hou, J.; Zhang, D. Characterization of Corrosion Behavior and Corrosion Production Property of 90-10 Cupronickel Welding Joints in Flowing Seawater. Metals 2023, 13, 294. [Google Scholar] [CrossRef]
- Shreir, L.L.; Jarman, R.A.; Burstein, G.T. Corrosion: Metal/Environment Reactions, 3rd ed.; Butterworth Heinemann: Oxford, UK, 1994; pp. 1:96–1:97. [Google Scholar]
- Wang, S.; Yin, X.; Zhang, H.; Liu, D.; Du, N. Coupling effects of pH and dissolved oxygen on the corrosion behavior and mechanism of X80 steel in acidic soil simulated solution. Materials 2019, 12, 3175. [Google Scholar] [CrossRef]
- Stefanowicz, T.; Osińska, M.; Napieralska-Zagozda, S. Copper recovery by the cementation method. Hydrometallurgy 1997, 47, 69–90. [Google Scholar] [CrossRef]
- Nassef, E.; Eltaweel, Y.A.; Nassef, E.M.; Hazza, R.A. Recovery of copper from wastewater by cementation technique. World Environ. 2014, 4, 199–205. [Google Scholar]
- Liu, L.; Xu, Y.; Zhu, Y.; Wang, X.; Huang, Y. The roles of fluid hydrodynamics, mass transfer, rust layer and macro-cell current on Flow accelerated corrosion of carbon steel in oxygen containing electrolyte. J. Electrochem. Soc. 2020, 167, 141510. [Google Scholar] [CrossRef]
- Hasan, B.O.; Sadek, S.A. The effect of temperature and hydrodynamics on carbon steel corrosion and its inhibition in oxygenated acid-salt solution. J. Indus. Engineer. Chem. 2014, 20, 297–307. [Google Scholar] [CrossRef]
- Song, G.D.; Jeon, S.H.; Son, Y.H.; Kim, J.G.; Hur, D.H. Galvanic effect of magnetite on the corrosion behavior of carbon steel in deaerated alkaline solutions under flowing conditions. Corros Sci. 2018, 131, 71–80. [Google Scholar] [CrossRef]
- Kuch, A. Investigations of the reduction and re-oxidation kinetics of iron(III) oxide scales formed in waters. Corros. Sci. 1998, 28, 221–231. [Google Scholar] [CrossRef]
- Tamura, H. The role of rusts in corrosion and corrosion protection of iron and steel. Corros. Sci. 2008, 50, 1872–1883. [Google Scholar] [CrossRef]












| Time (h) | (A/m2) | (A/m2) | (A/m2) | (A/m2) | (mV/dec) | (mV/dec) | (mV/dec) | (mV/SHE) | (A/m2) | 
|---|---|---|---|---|---|---|---|---|---|
| 0 rpm | |||||||||
| 0 | 2.20 × 10−3 | −1.04 × 10−4 | 50.39 | −0.55 | −121 | −200 | 132 | −287 | 0.33 | 
| 2 | 2.81 × 10−2 | −7.61 × 10−7 | 1305.0 | −0.68 | −334 | −116 | 105 | −382 | 0.30 | 
| 16 | 2.30 × 10−3 | −2.26 × 10−5 | 22.79 | −0.59 | −145 | −171 | 188 | −342 | 0.35 | 
| 24 | 5.20 × 10−3 | −2.27 × 10−5 | 22.95 | −0.54 | −162 | −167 | 195 | −346 | 0.39 | 
| 44 | 8.00 × 10−3 | −6.35 × 10−4 | 15.67 | −0.54 | −182 | −239 | 190 | −321 | 0.32 | 
| 49 | 3.40 × 10−3 | −5.92 × 10−4 | 17.40 | −0.49 | −158 | −254 | 189 | −334 | 0.30 | 
| 1200 rpm | |||||||||
| 0 | 0.38 | −6.51 × 10−7 | 48.90 | −4.95 | −404 | −142 | 109 | −185 | 0.97 | 
| 2 | 0.19 | −2.29 × 10−4 | 71.49 | −3.97 | −340 | −215 | 140 | −261 | 0.98 | 
| 8 | 0.22 | −4.41 × 10−4 | 51.87 | −2.95 | −379 | −230 | 206 | −333 | 1.26 | 
| 25 | 0.23 | −7.79 × 10−4 | 54.63 | −3.88 | −361 | −240 | 214 | −332 | 1.52 | 
| 32 | 0.31 | −2.30 × 10−3 | 20.27 | −2.62 | −434 | −276 | 284 | −336 | 1.33 | 
| 49 | 0.37 | −7.90 × 10−3 | 21.04 | −4.62 | −444 | −286 | 253 | −292 | 1.47 | 
| Time (h) | (Ohm) | (Ohm) | (sα/Ohm) | (Ohm) | (sα/Ohm) | ||
|---|---|---|---|---|---|---|---|
| 0 | 6.37 × 10−3 | 76.47 | 4.24 × 10−3 | 0.74 | 22.47 | 9.90 × 10−9 | 1.0 | 
| 2 | 9.57 × 10−4 | 169.83 | 7.49 × 10−3 | 0.70 | 20.34 | 1.01 × 10−8 | 1.0 | 
| 16 | 7.40 × 10−3 | 254.18 | 7.46 × 10−3 | 0.62 | 20.98 | 4.96 × 10−9 | 1.0 | 
| 24 | 1.40 × 10−2 | 232.64 | 7.52 × 10−3 | 0.64 | 23.94 | 8.85 × 10−9 | 1.0 | 
| 44 | 1.40 × 10−1 | 195.44 | 7.58 × 10−3 | 0.59 | 27.33 | 7.26 × 10−9 | 1.0 | 
| 49 | 5.38 × 10−2 | 197.13 | 7.21 × 10−3 | 0.61 | 19.98 | 5.28 × 10−9 | 1.0 | 
| 0 | 1 × 10−10 | 28.95 | 5.28 × 10−2 | 0.73 | 17.36 | 1.43 × 10−8 | 0.97 | 
| 2 | 1 × 10−10 | 31.12 | 4.88 × 10−2 | 0.70 | 20.29 | 1.02 × 10−8 | 1 | 
| 8 | 2.2 × 10−13 | 39.72 | 4.65 × 10−2 | 0.65 | 30.48 | 8.81 × 10−9 | 1 | 
| 25 | 1.48 × 10−10 | 29.97 | 2.70 × 10−2 | 0.61 | 24.05 | 8.75 × 10−9 | 0.99 | 
| 49 | 9.54 × 10−10 | 23.33 | 2.23 × 10−2 | 0.60 | 39.22 | 4.42 × 10−9 | 1 | 
| From LSV | From EIS | From Equation (13) | From Weight Loss | |||
|---|---|---|---|---|---|---|
| Time (h) | (mV/dec) | (mV/dec) | (A/m2) | (Ohm) | (A/m2) | (A/m2) | 
| 0 rpm | ||||||
| 0 | −121 | 132 | 0.33 | 98.94 | 0.42 | 0.23 | 
| 2 | −334 | 105 | 0.30 | 190.17 | 0.26 | |
| 16 | −145 | 188 | 0.35 | 275.16 | 0.21 | |
| 24 | −162 | 195 | 0.39 | 256.58 | 0.25 | |
| 44 | −182 | 190 | 0.32 | 222.77 | 0.28 | |
| 49 | −158 | 189 | 0.30 | 217.10 | 0.27 | |
| 1200 rpm | ||||||
| 0 | −404 | 109 | 0.97 | 46.31 | 1.23 | 1.15 | 
| 2 | −340 | 140 | 0.98 | 51.40 | 1.28 | |
| 8 | −379 | 206 | 1.26 | 70.20 | 1.24 | |
| 25 | −361 | 214 | 1.52 | 54.01 | 1.65 | |
| 32 | −434 | 284 | 1.33 | - | - | |
| 49 | −444 | 253 | 1.47 | 62.55 | 1.46 | |
| Dilution (L PLS/L RO) | (g/L) | (g/L) | (g/L) | pH | Conductivity (mS/cm) | 
|---|---|---|---|---|---|
| Pure RO | 0 | 0.2 | 0.62 | 7.5 | 2.33 | 
| PLS | 44 | 150 | 0.03 | - | - | 
| 0.005 | 0.22 | 0.95 | 0.62 | 3.51 | 2.99 | 
| 0.01 | 0.44 | 1.71 | 0.62 | 3.13 | 3.18 | 
| 0.02 | 0.88 | 3.22 | 0.62 | 2.70 | 4.01 | 
| Dilution (L PLS/L RO) | Time (h) | (A/m2) | (A/m2) | (A/m2) | (A/m2) | (mV/dec) | (mV/dec) | (mV/dec) | (mV/SHE) | (A/m2) | 
|---|---|---|---|---|---|---|---|---|---|---|
| 0 rpm | ||||||||||
| 0.005 | 0 | 1.02 × 10−1 | −5.32 × 10−5 | 943.50 | −0.91 | −467 | −198 | 137 | −441 | 0.57 | 
| 7 | 6.15 × 10−2 | −3.37 × 10−7 | 133.96 | −0.70 | −344 | −128 | 128 | −335 | 0.39 | |
| 0.01 | 0 | 1.05 × 10−1 | −3.40 × 10−5 | 253.73 | −2.97 | −314 | −208 | 157 | −365 | 1.19 | 
| 7 | 2.16 × 10−1 | −4.60 × 10−3 | 306.36 | −2.84 | –464 | −504 | 146 | −357 | 1.10 | |
| 22 | 5.87 × 10−8 | −2.19 × 10−2 | 5095.60 | −0.20 | −3 | −413 | 101 | −436 | 0.25 | |
| 31 | 5.06 × 10−8 | −5.30 × 10−3 | 2521.50 | −0.44 | −64 | −336 | 119 | −450 | 0.41 | |
| 45 | 1.18 × 10−6 | −3.30 × 10−3 | 524.62 | −0.70 | −92 | −305 | 134 | −456 | 0.20 | |
| 73 | 8.52 × 10−5 | −3.60 × 10−3 | 240.63 | −0.69 | −133 | −309 | 155 | −452 | 0.29 | |
| 0.02 | 0 | 7.74 × 10−2 | −9.70 × 10−3 | 107.65 | −3.92 | −278 | −237 | 214 | −393 | 1.56 | 
| 2 | 5.70 × 10−2 | −5.69 × 10−5 | 208.20 | −2.73 | −302 | −208 | 165 | −388 | 0.91 | |
| 5 | 3.28 × 10−2 | −5.15 × 10−9 | 977.70 | −2.80 | −264 | −109 | 122 | −380 | 0.77 | |
| 9 | 3.06 × 10−2 | −9.22 × 10−9 | 1017.10 | −2.60 | −295 | −112 | 123 | −397 | 0.60 | |
| 22 | 9.09 × 10−6 | −5.66 × 10−7 | 503.49 | −0.64 | −125 | −122 | 142 | −515 | 0.12 | |
| 26 | 2.36 × 10−5 | −1.94 × 10−5 | 65.97 | −0.35 | −155 | −165 | 198 | −548 | 0.11 | |
| 29 | 7.39 × 10−6 | −5.89 × 10−5 | 777.26 | −0.27 | −142 | −185 | 138 | −540 | 0.09 | |
| 44 | 7.12 × 10−24 | −9.56 × 10−5 | 166.23 | −0.27 | −23 | −174 | 176 | −509 | 0.21 | |
| 54 | 3.35 × 10−17 | −9.68 × 10−4 | 111.59 | −0.26 | −33 | −236 | 195 | −513 | 0.26 | |
| 68 | 3.39 × 10−11 | −2.30 × 10−3 | 13.42 | −0.25 | −77 | −285 | 360 | −597 | 0.29 | |
| 1200 rpm | ||||||||||
| 0.005 | 0 | 5.62 × 10−1 | −2.90 × 10−3 | 10.75 | −4.66 | −164 | −249 | 465 | −203 | 3.93 | 
| 2 | 1.38 × 10−2 | −4.50 × 10−3 | 12.54 | −2.21 | −219 | −279 | 260 | −350 | 0.57 | |
| 4 | 8.82 × 10−2 | −1.40 × 10−3 | 15.36 | −1.63 | −322 | −249 | 355 | −410 | 1.07 | |
| 16 | 4.11 × 10−2 | −8.90 × 10−3 | 19.41 | −1.15 | −363 | −327 | 344 | −472 | 0.82 | |
| 20 | 1.52 × 10−2 | −9.80 × 10−3 | 20.10 | −1.08 | −307 | −333 | 330 | −480 | 0.70 | |
| 26 | 8.60 × 10−3 | −1.06 × 10−2 | 16.45 | −0.99 | −286 | −337 | 344 | −486 | 0.61 | |
| 46 | 1.39 × 10−2 | −1.81 × 10−2 | 15.26 | −0.92 | −357 | −376 | 344 | −481 | 0.61 | |
| 0.01 | 0 | 1.57 × 10−1 | −1.30 × 10−3 | 31.00 | −9.42 | −233 | −1732 | 670 | −373 | 8.62 | 
| 2 | 1.13 × 10−1 | −6.26 × 10−2 | 54.69 | −4.60 | −310 | −414 | 208 | −326 | 1.49 | |
| 5 | 6.84 × 10−2 | −1.04 × 10−1 | 32.99 | −3.81 | −291 | −497 | 275 | −362 | 1.58 | |
| 9 | 8.53 × 10−2 | −4.33 × 10−2 | 73.43 | −10.52 | −256 | −450 | 190 | −316 | 1.59 | |
| 25 | 5.43 × 10−2 | −1.22 × 10−2 | 7.13 | −1.16 | −224 | −343 | 390 | −336 | 0.98 | |
| 30 | 1.00 × 10−2 | −2.03 × 10−2 | 0.01 | −0.83 | −152 | −367 | 398 | −377 | 0.99 | |
| 46 | 3.50 × 10−3 | −3.76 × 10−2 | 6.51 | −0.57 | −131 | −414 | 390 | −356 | 0.80 | |
| 0.02 | 0 | 2.37 × 10−1 | −3.93 × 10−1 | 26.39 | −8.07 | −202 | −496 | 481 | −373 | 8.62 | 
| 1 | 3.26 | −2.51 | 19.85 | −14.08 | −536 | −1134 | 1384 | −291 | 12.22 | |
| 5 | 1.18 × 10−1 | −8.61 × 10−2 | 39.59 | −3.03 | −348 | −513 | 245 | −354 | 1.43 | |
| 7 | 1.71 × 10−1 | −5.04 × 10−2 | 17.90 | −2.12 | −409 | −458 | 333 | −374 | 1.35 | |
| Dilution (L PLS/L RO) | Time (h) | (Ohm) | (Ohm) | (sα/Ohm) | α1 | (Ohm) | (sα/Ohm) | α2 | (Ohm) | 
|---|---|---|---|---|---|---|---|---|---|
| 0 rpm | |||||||||
| 0.005 | 0 | 1 × 10−10 | 22.81 | 5.42 × 10−7 | 0.65 | 131.29 | 9.8 × 10−3 | 0.74 | 154.09 | 
| 7 | 15.66 | 7.71 | 4.65 × 10−8 | 1.07 | 194.63 | 3.2 × 10−3 | 0.78 | 202.33 | |
| 0.01 | 0 | 2.22 × 10−16 | 33.94 | 3.54 × 10−3 | 0.71 | 22.04 | 1.1 × 10−8 | 0.96 | 55.98 | 
| 7 | 1 × 10−10 | 39.40 | 1.29 × 10−3 | 1.08 | 18.38 | 7.2 × 10−8 | 0.88 | 57.79 | |
| 22 | 1 × 10−10 | 42.29 | 9.98 × 10−9 | 0.97 | 58.72 | 6.2 × 10−3 | 0.84 | 101.01 | |
| 31 | 7.47 × 10−9 | 32.75 | 1.84 × 10−8 | 0.93 | 79.26 | 8.2 × 10−3 | 0.85 | 112.01 | |
| 45 | 2.28 | 103.29 | 1.04 × 10−2 | 0.72 | 38.18 | 2.6 × 10−7 | 0.90 | 141.47 | |
| 73 | 1 × 10−10 | 110.20 | 1.03 × 10−2 | 0.78 | 46.80 | 6.5 × 10−9 | 0.97 | 156.99 | |
| 0.02 | 0 | 1 × 10−10 | 27.40 | 2.46 × 10−3 | 0.84 | 17.54 | 4.3 × 10−9 | 1.03 | 44.94 | 
| 2 | 1 × 10−10 | 44.56 | 2.50 × 10−3 | 0.90 | 18.17 | 7.9 × 10−9 | 1.01 | 62.73 | |
| 5 | 1 × 10−10 | 35.01 | 3.89 × 10−3 | 0.91 | 17.47 | 5.4 × 10−9 | 1.03 | 52.49 | |
| 9 | 1 × 10−10 | 36.45 | 5.37 × 10−3 | 0.88 | 18.34 | 3.2 × 10−9 | 1.03 | 54.79 | |
| 22 | 1 × 10−10 | 29.82 | 8.82 × 10−3 | 0.88 | 28.20 | 6.4 × 10−8 | 0.86 | 58.02 | |
| 26 | 2.22 × 10−16 | 46.22 | 9.62 × 10−3 | 0.87 | 28.80 | 5.8 × 10−8 | 0.87 | 75.02 | |
| 29 | 2.22 × 10−16 | 52.69 | 1.47 × 10−7 | 0.79 | 67.49 | 1.0 × 10−2 | 0.82 | 120.18 | |
| 44 | 2.22 × 10−16 | 78.75 | 9.98 × 10−3 | 0.79 | 36.22 | 1.7 × 10−8 | 0.90 | 114.97 | |
| 54 | 1.22 × 10−10 | 74.68 | 9.43 × 10−3 | 0.81 | 33.56 | 3.1 × 10−9 | 0.89 | 108.24 | |
| 68 | 1 × 10−10 | 30.69 | 1.97 × 10−8 | 0.90 | 176.80 | 1.3 × 10−2 | 0.69 | 207.49 | |
| 1200 rpm | |||||||||
| 0.005 | 0 | 1.77 × 10−9 | 22.53 | 3.20 × 10−8 | 0.92 | 16.46 | 1.6 × 10−1 | 0.68 | 38.99 | 
| 2 | 1.77 × 10−9 | 23.43 | 5.54 × 10−8 | 0.88 | 35.57 | 1.4 × 10−1 | 0.58 | 59.00 | |
| 4 | 2.22 × 10−16 | 55.67 | 1.12 × 10−1 | 0.52 | 22.80 | 4.8 × 10−6 | 0.49 | 78.47 | |
| 16 | 12.00 | 126.63 | 7.58 × 10−2 | 0.40 | 10.70 | 6.6 × 10−8 | 1.00 | 137.33 | |
| 20 | 11.93 | 11.18 | 7.97 × 10−8 | 0.98 | 100.78 | 7.2 × 10−2 | 0.41 | 111.96 | |
| 26 | 8.59 | 14.88 | 5.61 × 10−8 | 0.96 | 94.91 | 6.3 × 10−2 | 0.42 | 109.79 | |
| 46 | 1 × 10−10 | 30.83 | 9.82 × 10−8 | 0.80 | 24.55 | 2.3 × 10−2 | 0.56 | 55.37 | |
| 0.01 | 0 | 1.30 × 10−10 | 0.10 | 5.04 × 10−2 | 0.85 | 19.46 | 1.1 × 10−7 | 0.84 | 19.56 | 
| 2 | 4.14 | 9.64 | 1.09 × 10−1 | 1.03 | 16.28 | 2.9 × 10−9 | 1.17 | 25.92 | |
| 5 | 4.21 × 10−7 | 24.35 | 1.06 × 10−1 | 0.47 | 20.43 | 3.3 × 10−9 | 1.13 | 44.78 | |
| 9 | 1 × 10−10 | 51.12 | 2.65 × 10−3 | 0.89 | 14.45 | 1.9 × 10−8 | 0.97 | 65.57 | |
| 25 | 1 × 10−10 | 33.95 | 4.92 × 10−7 | 0.74 | 63.60 | 3.4 × 10−2 | 0.17 | 97.55 | |
| 30 | 2.22 × 10−16 | 49.94 | 9.32 × 10−5 | 0.40 | 104.89 | 1.1 × 10−2 | 0.56 | 154.83 | |
| 46 | 1 × 10−10 | 43.31 | 4.78 × 10−6 | 0.64 | 128.31 | 1.2 × 10−2 | 0.41 | 171.62 | |
| 0.02 | 0 | 1 × 10−10 | 3.15 | 3.26 × 10−3 | 1.04 | 25.94 | 8.8 × 10−9 | 0.98 | 29.09 | 
| 1 | 1.62 × 10−8 | 29.21 | 1.83 × 10−9 | 1.10 | 3.75 | 7.9 × 10−3 | 0.96 | 32.96 | |
| 5 | 1 × 10−10 | 34.20 | 2.53 × 10−8 | 0.93 | 30.76 | 1.7 × 10−1 | 0.59 | 64.96 | |
| 7 | 1 × 10−10 | 36.21 | 2.87 × 10−9 | 1.08 | 38.75 | 1.1 × 10−1 | 0.55 | 74.95 | |
| From LSV | From EIS | From Equation (13) | From Weight Loss | ||||
|---|---|---|---|---|---|---|---|
| Dilution | Time (h) | (mV/dec) | (mV/dec) | (A/m2) | (Ohm) | (A/m2) | (A/m2) | 
| (L PLS/L RO) | 0 rpm | ||||||
| 0.005 | 0 | −467 | 137 | 0.57 | 154.09 | 0.42 | 0.3 | 
| 7 | −344 | 132 | 0.39 | 202.33 | 0.29 | ||
| 0.01 | 0 | −314 | 157 | 1.19 | 55.98 | 1.21 | 0.61 | 
| 7 | −464 | 146 | 1.10 | 57.79 | 1.24 | ||
| 22 | −3 | 101 | 0.25 | 101.01 | 0.02 | ||
| 31 | −64 | 119 | 0.41 | 112.01 | 0.24 | ||
| 45 | −92 | 134 | 0.20 | 141.47 | 0.25 | ||
| 73 | −133 | 155 | 0.29 | 156.99 | 0.30 | ||
| 0.02 | 0 | −278 | 214 | 1.56 | 44.94 | 1.68 | 0.44 | 
| 2 | −302 | 165 | 0.91 | 62.73 | 1.06 | ||
| 5 | −264 | 122 | 0.77 | 52.49 | 0.99 | ||
| 8 | −295 | 123 | 0.60 | 54.79 | 0.99 | ||
| 22 | −125 | 142 | 0.12 | 58.02 | 0.71 | ||
| 26 | −155 | 198 | 0.11 | 75.02 | 0.72 | ||
| 29 | −142 | 138 | 0.09 | 120.18 | 0.36 | ||
| 44 | −23 | 176 | 0.21 | 114.97 | 0.11 | ||
| 54 | −33 | 195 | 0.26 | 108.24 | 0.16 | ||
| 68 | −77 | 360 | 0.29 | 207.49 | 0.19 | ||
| 1200 rpm | |||||||
| 0.005 | 0 | −164 | 465 | 3.93 | 38.99 | 1.79 | 3.05 | 
| 2 | −219 | 260 | 0.57 | 59.00 | 1.16 | ||
| 2 | −322 | 355 | 1.07 | 78.47 | 1.24 | ||
| 16 | −363 | 344 | 0.82 | 137.33 | 0.74 | ||
| 20 | −307 | 330 | 0.70 | 111.96 | 0.82 | ||
| 26 | −286 | 344 | 0.61 | 109.79 | 0.82 | ||
| 46 | −357 | 344 | 0.61 | 55.37 | 1.82 | ||
| 0.01 | 0 | −233 | 670 | 8.62 | 19.56 | 5.53 | 0.92 | 
| 2 | −310 | 208 | 1.49 | 25.92 | 2.98 | ||
| 5 | −291 | 275 | 1.58 | 44.78 | 2.02 | ||
| 9 | −256 | 190 | 1.59 | 65.57 | 1.04 | ||
| 25 | −224 | 390 | 0.98 | 97.55 | 0.91 | ||
| 30 | −152 | 398 | 0.99 | 154.83 | 0.44 | ||
| 46 | −131 | 390 | 0.80 | 171.62 | 0.36 | ||
| 0.02 | 0 | −202 | 481 | 8.62 | 29.09 | 3.05 | 2.95 | 
| 1 | −536 | 1384 | 12.22 | 32.96 | 7.31 | ||
| 5 | −348 | 245 | 1.43 | 64.96 | 1.38 | ||
| 7 | −409 | 333 | 1.35 | 74.95 | 1.53 | ||
| Disclaimer/Publisher’s Note: The statements, opinions and data contained in all publications are solely those of the individual author(s) and contributor(s) and not of MDPI and/or the editor(s). MDPI and/or the editor(s) disclaim responsibility for any injury to people or property resulting from any ideas, methods, instructions or products referred to in the content. | 
© 2024 by the authors. Licensee MDPI, Basel, Switzerland. This article is an open access article distributed under the terms and conditions of the Creative Commons Attribution (CC BY) license (https://creativecommons.org/licenses/by/4.0/).
Share and Cite
Cáceres, L.; Soliz, A.; Galleguillos-Madrid, F.M. Electrochemical Behavior of Carbon Steel ASTM A36 in Diluted Pregnant Leach Solutions from Electrowinning of Copper. Metals 2024, 14, 329. https://doi.org/10.3390/met14030329
Cáceres L, Soliz A, Galleguillos-Madrid FM. Electrochemical Behavior of Carbon Steel ASTM A36 in Diluted Pregnant Leach Solutions from Electrowinning of Copper. Metals. 2024; 14(3):329. https://doi.org/10.3390/met14030329
Chicago/Turabian StyleCáceres, Luis, Alvaro Soliz, and Felipe M. Galleguillos-Madrid. 2024. "Electrochemical Behavior of Carbon Steel ASTM A36 in Diluted Pregnant Leach Solutions from Electrowinning of Copper" Metals 14, no. 3: 329. https://doi.org/10.3390/met14030329
APA StyleCáceres, L., Soliz, A., & Galleguillos-Madrid, F. M. (2024). Electrochemical Behavior of Carbon Steel ASTM A36 in Diluted Pregnant Leach Solutions from Electrowinning of Copper. Metals, 14(3), 329. https://doi.org/10.3390/met14030329
 
        



 
       