Abstract
Affected by global warming, permafrost thawing in Northeast China promotes issues including highway subgrade instability and settlement. The traditional design concept based on protecting permafrost is unsuitable for regional highway construction. Based on the design concept of allowing permafrost thawing and the thermodynamic characteristics of a block–stone layer structure, a new subgrade structure using a large block–stone layer to replace the permafrost layer in a foundation is proposed and has successfully been practiced in the Walagan–Xilinji section of the Beijing–Mohe Highway to reduce subgrade settlement. To compare and study the improvement in the new structure on the subgrade stability, a coupling model of liquid water, vapor, heat and deformation is proposed to simulate the hydrothermal variation and deformation mechanism of different structures within 20 years of highway completion. The results show that the proposed block–stone structure can effectively reduce the permafrost degradation rate and liquid water content in the active layer to improve subgrade deformation. During the freezing period, when the water in the active layer under the subgrade slope and natural ground surface refreezes, two types of freezing forms, scattered ice crystals and continuous ice lenses, will form, which have different retardation coefficients for hydrothermal migration. These forms are discussed separately, and the subgrade deformation is corrected. From 2019 to 2039, the maximum cumulative settlement and the maximum transverse deformation of the replacement block–stone, breccia and gravel subgrades are –0.211 cm and +0.111 cm, –23.467 cm and –1.209 cm, and –33.793 cm and –2.207 cm, respectively. The replacement block–stone subgrade structure can not only reduce the cumulative settlement and frost heave but also reduce the transverse deformation and longitudinal cracks to effectively improve subgrade stability. However, both the vertical deformation and transverse deformation of the other two subgrades are too large, and the embankment fill layer will undergo transverse deformation in the opposite direction, which will cause sliding failure to the subgrades. Therefore, these two subgrade structures cannot be used in permafrost regions. The research results provide a reference for solving the settlement and deformation problems of subgrades in degraded permafrost regions and contribute to the development and application of complex numerical models related to water, heat and deformation in cold regions.
1. Introduction
From 2012 to 2020, the area of permafrost under the Earth’s surface decreased from 18 × 106 km2 to 16 × 106 km2 [1,2], and approximately 11% of permafrost disappeared permanently, leading to more subgrade thawing and settlement deformation [3,4,5]. The survey results of subgrade diseases in permafrost regions such as Siberia, Alaska and the Qinghai–Tibet Plateau show that the settlement caused by the thawing of shallow frozen soil on the ground surface has become the main form of subgrade damage, and the amount of deformation has increased with the increasing thawing depth of frozen soil [6,7,8]. The sixth IPCC climate change assessment report points out [9] that the mean annual air temperature (MAAT) between 2011 and 2020 was 1.09 °C higher than that from 1850–1900, making it the fastest warming decade in human history. In 2019, the highest air temperature in Siberia reached 38 °C, and the degradation of permafrost is accelerating at an unprecedented rate. As a result of climate and environmental change, permafrost is extremely sensitive to temperature change. On the one hand, the strength of the foundation soil decreases after permafrost thaws, and the uneven distribution of water in the subgrade will lead to uneven settlement deformation. Once the deformation exceeds the material limit, longitudinal cracks will occur [10,11,12]. On the other hand, the freezing and thawing action in the active layer is essentially a dynamic process of mutual coupling of water, heat and deformation. Even if there is no external load, the hydrothermal variation in frozen soil can cause obvious stress and deformation. The combined actions of these two aspects may eventually reduce subgrade stability [13,14,15,16]. Considering the background on the accelerated degradation of permafrost [9,17], it is of great practical significance to explore the interaction mechanism between water and heat and the deformation of the permafrost subgrade and establish a road structure system in cold regions to adapt to permafrost degradation.
At present, the prevention and control measures for permafrost subgrade deformation are mainly divided into two categories [18,19,20,21,22]. One category consists of passive protection measures, which mainly reduce heat exchange through measures such as blocking and sealing to maintain the original condition of ground temperature or slow down the degradation of permafrost. Conventional methods include setting thermal insulation materials in the embankment, reasonably increasing the embankment height or setting sunshades on the embankment slope to reduce solar radiation. However, it is difficult to prevent the degradation of permafrost under embankments by relying solely on passive protection measures [23,24,25]. The other category is positive cooling measures, mainly through engineering measures to actively reduce the temperature of permafrost. Conventional methods include setting ventilation ducts, thermosyphons or air–cooled crushed rocks in the embankment [13,14,15,26,27,28]. Among them, setting a crushed–rock layer in the embankment and using strong air convection heat transfer brought by high wind speed can significantly reduce the embankment temperature [28,29], which has a good application effect in low–temperature permafrost regions, such as Alaska and the Qinghai–Tibet Plateau, with more wind in cold seasons and less wind in warm seasons [30,31,32]. The above two measures are mainly used to reduce subgrade deformation by protecting permafrost. However, the field monitoring results [33,34,35] show that the application effect of these measures in high–temperature permafrost regions is not ideal. To date, the problem of subgrade deformation in degraded permafrost regions has not been effectively solved [36,37].
To study the prevention and treatment effect of the above measures on subgrade deformation, researchers have proposed heat transfer, water–heat coupling and water–heat–mechanical coupling models of frozen soil subgrades [38,39,40], which have been widely used in the calculation of subgrade stability in cold regions. However, most studies did not consider the influence of changes in liquid water content, water migration and the freezing forms of water in the active layer on subgrade deformation. These investigations can provide a reference for subgrade thermal–mechanical stability analysis to a certain extent but cannot predict the hydrothermal condition and deformation process of subgrades.
In view of the settlement and deformation of subgrades in degraded permafrost regions, based on the engineering practice of the Walakan–Xilinji section of the Beijing–Mohe Highway in the Da Xing’an Mountains and the design concept of allowing permafrost to thaw, a new subgrade structure, which uses large–size block stones to replace the permafrost layer under the natural ground surface, is proposed to reduce subgrade deformation. To analyze the working mechanism of this new structure and verify the prevention and control effect on the subgrade deformation, the replacement breccia subgrade structure and the replacement gravel subgrade structure are taken as controls, and a coupling model of liquid water, vapor, heat and deformation of unsaturated frozen soil subgrade is established to simulate the hydrothermal variation and deformation process of the subgrades within 20 years of the completion of the highway. In addition, the influence of two freezing forms of water in the active layer in winter (dispersed ice crystals and continuous ice lenses) on the subgrade hydrothermal condition are discussed, and the subgrade deformation is corrected so that the numerical simulation results can better reflect the actual subgrade deformation.
2. Study Area
This paper takes the Walagan–Xilinji section of the Beijing–Mohe Highway in China as the research object. The project location (52°38′42.88″ N, 124°27′04.71″ E to 52°56′16.90″ N, 122°28′33.41″ E) is shown in Figure 1. This highway is an ordinary class II highway with asphalt concrete pavement, and the width of the embankment is 12 m. Construction started in April 2016 and was completed in August 2019.
Figure 1.
Permafrost distribution in Northeast China and the study area and project location in this paper, with data from Jaroslav O. et al. (2019) [41].
The study area in this paper is located in the hinterland of the Da Xing’an Mountains and the southern edge of the permafrost region in Eurasia. The climate is alternately affected by the Siberian high pressure and continental monsoon climate. The MAAT is low, approximately –2.3 °C. Affected by regional environmental changes, a wide range of inversion layers are distributed in this area, and permafrost is distributed in discontinuous island shapes [41,42,43]. Permafrost varies in thickness from several meters to tens of meters and is commonly found in swamps with thick peat accumulations. Since 2004, due to the severe degradation of permafrost, the surface frost number in the study area has dropped below 0.5 (Figure 2), and a distorted ground temperature curve has appeared [43]. Due to the high forest coverage along the highway in the study area [44,45], the surface roughness coefficient is large, and the wind speed is low. In addition, the slope of the embankment is covered by snow in cold seasons [46,47], which makes it difficult for heat to be discharged from the embankment, thus causing great difficulty in permafrost protection. Therefore, traditional prevention and control measures based on the design concept of protecting permafrost under subgrade conditions are unsuitable for regional highway construction.
Figure 2.
Changes in the surface freezing (thawing) index and surface frost number in the study area from 1972 to 2018.
3. Model Description
3.1. Geometric Model
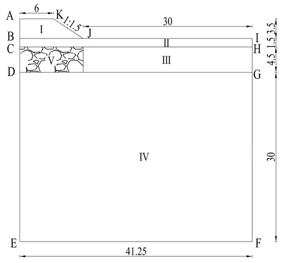
Because the subgrade has linear characteristics along the length direction, the longitudinal influence is ignored. Based on the K308 + 200 section parameters of the Beijing–Mohe Highway (52°39′41.39″ N, 124°19′36.16″ E), a two–dimensional geometric model is adopted and divided into five calculation units (Figure 3). Part I is the subgrade fill layer above the ground surface, with a height of 3.5 m and a width of 6 m. The slope ratio of the subgrade is 1:1.5. Part II is the waterproof and heat insulation layer of peat clay below the ground surface, with a thickness of 1.5 m. Part III is an undisturbed breccia layer. Part IV is a moderately weathered andesite layer, which is a less frozen soil layer. Part V is the replacement layer, which belongs to the near ground surface rich frozen soil layer, with a thickness of 4.5 m. To reduce the influence of the boundary effect, the model horizontally extends 30 m from the right boundary of the replacement layer to the right and vertically extends 30 m downward from the bottom of the replacement layer.
Figure 3.
Geometric model and calculation unit division of the subgrade structure. A, B, C, and D are node numbers of the geometric model (Unit: m).
To compare the influence of different replacement materials on subgrade stability, the replacement materials in part V are divided into three groups for comparison. Model 1: the replacement block–stone subgrade structure. The material in part V is block stones (diameter range from 20–40 cm), which do not contain fine particles. Model 2: considers the replacement breccia subgrade structure. The material in part V is breccia, which contains a large amount of fine–grained soil. Model 3: the replacement gravel subgrade structure. The material in part V is gravel, which contains a small amount of fine–grained soil.
To facilitate an understanding of the structure and composition of the subgrade soil layers, two site photos are provided (Figure 4).
Figure 4.
Site photos: (a) photo of surface soil layer and (b) compaction photo of the block–stone layer.
3.2. Mathematical Model
Based on the nonisothermal water–heat–vapor coupled migration model, the water migration equation of the unsaturated frozen soil subgrade is established as follows [48]:
where θw is the volumetric liquid water content, expressed as ; θv and θi are the volumetric contents of vapor and ice, respectively; ρw, ρv and ρi are the densities of liquid water, vapor and ice, respectively; h is the height of the water head; Kwh and KwT are the isothermal and nonisothermal hydraulic conductivities caused by the matrix potential and temperature gradient, respectively; Kvh and KvT are the isothermal and nonisothermal vapor conductivities, respectively.
According to the van Genuchten model, the expression of the soil–water characteristic curve of unsaturated soil can be expressed as follows:
where Θ is the effective saturation and α, n and m are the model fitting parameters. Under isothermal conditions, the permeability coefficient of unsaturated soil can be expressed as follows:
where Ω is an empirical parameter with dimensions of 1, l is a Mualem model parameter, and Ks is a saturated permeability coefficient.
The nonisothermal liquid water permeability coefficient KwT, the vapor permeability coefficient KvT caused by the temperature gradient, and the vapor permeability coefficient Kvh caused by the matrix potential gradient are listed as follows:
where GwT is the empirical parameter for evaluating the influence of temperature on the soil–water characteristic curve and γ is the surface tension at 25 °C. M and g are the molar mass of water and the acceleration of gravity, respectively. R is the gas constant, Hr is the relative humidity, η is the water vapor diffusion enhancement factor, and D is water vapor diffusion in the soil.
According to energy conservation, the heat transfer equation of the unsaturated frozen soil subgrade can be expressed as follows [48]:
where C is the equivalent specific heat of the soil, λ is the equivalent thermal conductivity of the soil, and Lv is the latent heat of evaporation of water. The expressions of other hydrothermal–related parameters are shown in Table 1.
Table 1.
Expressions of other hydrothermal–related parameters [21,48].
According to the theory of viscoplasticity, the stress–strain relationship of frozen soil subgrades is as follows [49,50]:
where [DT] is the elasticity matrix related to temperature and water content, ET is the elastic modulus and vT is Poisson’s ratio. {Δε}, {Δεvp} and {Δεv} are the total strain increment vector, the viscoplastic strain increment vector, and the frost heave strain increment vector, respectively.
In the two–dimensional stress state, the viscoplastic strain rate is as follows [49]:
where γT is the viscosity parameter, Q is the plastic potential function, and Φ(F) is a scalar function, which can be written as [49]
where F is the yield function and F0 is the yield stress. Assuming that the plasticity criterion applies to frozen soil, according to the D–P yield criterion, Q is equivalent to F.
The strain caused by the water phase transition can be described as
where ζ is the in situ frost heave rate, n is the porosity of the porous media, θ0 is the initial volumetric water content, ΔθL is the volumetric content of migrated water, and δ is defined as follows:
Under plane strain conditions, {εv} can be expressed as follows [49]:
Equations (1)–(13) constitute the numerical model of liquid water, vapor, heat and deformation coupling of the unsaturated frozen soil subgrade.
3.3. Parameters of the Soil Layers
The geometric shape of the subgrade and the division of the calculation domain are shown in Figure 3, the physical parameters of the soil layer are shown in Table 2 [13,18,19,51,52,53], and the mechanical parameters are shown in Table 3 [22,49,50,54,55,56,57,58,59] The expressions of other mechanical parameters are as follows [39]:
where a1–a4, b1–b4, c1–c5, d1–d3 and e1–e3 are all test fitting parameters.
Table 2.
Physical parameters of the soil layers.
Table 3.
Mechanical parameters of the soil layers.
3.4. Boundary Conditions
The temperature boundaries for the top surface of the subgrade, the side slope of the subgrade and the natural ground surface can be expressed as follows:
where α0 is the initial phase angle, determined by the completion time of the subgrade. ΔT is the climate warming rate, taken as 0.052 °C/a [17]. The mean annual temperature T0 and annual temperature amplitude A for each boundary are shown in Table 4. The side ABCDE is a symmetrical boundary, the temperature boundary FGHI is adiabatic, and the geothermal flux at the bottom boundary EF is 0.03 W/m2 [43]. The water boundary IJK is permeable, AK and FGHI are impermeable [50,60,61], and the bottom boundary EF has a 15.20% liquid water supply. The horizontal displacement for the lateral FGHI and the vertical displacement of the bottom boundary EF are restrained. The top surface of the subgrade, the side slope of the subgrade and the natural ground surface (boundaries AK, JK and IJ) are all free boundaries, and the displacement is not restricted.
Table 4.
Parameters of the temperature boundary conditions.
3.5. Initial Conditions and Model Verification
To obtain the initial conditions of the model calculation, the model is solved according to the initial water, heat and displacement boundary conditions without considering climate warming. When the ground temperature outside the influence range of the subgrade under the natural ground surface tends to be stable, the calculated results of borehole ground temperature match the measured results, and then, the hydrothermal state of the subgrade will be used as the initial conditions of numerical simulation. Figure 5 shows that the measured values of ground temperature at the 1 m borehole outside the right slope toe of the subgrade from July 2018 to October 2019 are in good agreement with the calculated values. The water and heat state of the subgrade on 15 October 2019, are used as the initial conditions for the numerical simulation, and the water, heat and deformation of the subgrade within 20 years after the completion of the subgrade are simulated and calculated under the conditions of climate warming.
Figure 5.
Comparison between the measured and simulated ground temperature values at the 1 m borehole outside the right slope toe from July 2018 to October 2019: (a) 15 July 2018, (b) 15 October 2018, (c) 15 January 2019, (d) 15 March 2019, (e) 15 July 2019, and (f) 15 October 2019.
4. Results
4.1. Verification of the Temperature Field after Subgrade Completion
To further verify the accuracy of the numerical simulation, the temperature field after subgrade completion is verified. Figure 6 shows the comparison between the measured and simulated ground temperature values at the 1 m borehole outside the right slope toe from January 2020 to October 2021. The matching results are good and verify the accuracy of the model prediction.
Figure 6.
Comparison between the measured and simulated ground temperature values at the 1 m borehole outside the right slope toe from January 2020 to October 2021: (a) 15 January 2020, (b) 15 July 2020, (c) 15 October 2020, (d) 15 January 2021, (e) 15 July 2021, and (f) 15 October 2021.
4.2. Laboratory Test Verification
The numerical model was verified by one–sided freezing tests of unsaturated silt [54]. The height of the soil column is 12 cm, and the initial water content is 0.126. The top temperature of the soil column was –3 °C, the bottom temperature was 1 °C, and heat insulation treatment was carried out. During the test, the bottom boundary was supplied with pressureless water. Three parallel samples were designed for testing, and the total water content of the soil columns was measured by slicing after freezing for 5 h, 10 h and 40 h. The test and simulation results show that (Figure 7) the measured values match the simulated values, indicating that the model can accurately predict the hydrothermal change and deformation process of freezing soil.

Figure 7.
Comparison of the measured and simulated values of hydrothermal variations and deformation processes in one–sided freezing tests: (a) comparison of the total volumetric water contents at different moments, (b) comparison of the temperatures at different moments, and (c) comparison of the variations in the frost heave.
4.3. Analysis of the Variation in Thermal Conditions in Different Subgrade Structures
To compare the effects of different replacement materials on the thermal condition of the subgrades, the changes in the temperature field of the three subgrade structures in cold and warm seasons were numerically analyzed.
The maximum air temperature in warm seasons in the Da Xing’an Mountains is generally reached in July every year, and the maximum seasonal thawing depth is generally reached in October. By comparing and analyzing the temperature contour maps on October 15 of the three subgrade structures in different years (Figure 8), the results show that the permafrost tables under the road centerlines of the three subgrade structures decrease to varying degrees with increasing time. From 2019 to 2029, the permafrost tables under the replacement block–stone subgrade, the replacement breccia subgrade and the replacement gravel subgrade move down from –1.421 m to –4.976 m, –5.906 m and –6.780 m, respectively. The average degradation rates of permafrost are 0.355 m/a, 0.449 m/a and 0.536 m/a. From 2029 to 2039, the permafrost tables under the road centerlines of the three subgrade structures drop to –5.695 m, –8.284 m and –9.789 m. The average degradation rates of permafrost are 0.072 m/a, 0.238 m/a and 0.301 m/a. The permafrost table of the replacement block–stone subgrade is higher than that of the other two subgrades, and the permafrost degradation rate is smaller.
Figure 8.
Temperature contour maps on October 15 of the three subgrade structures in different years: (a1–a4) replacement block–stone subgrade structure, (b1–b4) replacement breccia subgrade structure, and (c1–c4) replacement gravel subgrade structure. The 0 °C isotherm represents the location of the permafrost table. (Unit: °C).
This phenomenon is related to the heat transfer process in the subgrade and the heat transfer mechanism of the replacement materials. The block–stone layer is a porous medium with a large number of interconnected pores and a good thermal insulation effect [30,31,32,33,34]. In warm seasons, when the heat from the ground surface from solar radiation is transferred to the permafrost foundation, the low thermal conductivity of the block–stone layer (part V) makes less heat enter part V. Even if this heat enters part V, it is difficult for heat to diffuse to the deep foundation (part IV) [13,19]. Heat accumulates on the upper part of part V and causes the local temperature to rise. In cold seasons, after the ground surface temperature decreases, the temperature gradient between the upper part of part V and the ground surface is larger and the heat transfer efficiency is higher, so that part of the heat accumulated in the upper part of part V can be effectively discharged from the subgrade. This thermal regulation mechanism of the block–stone layer can greatly reduce the total heat entering the deep foundation [26,28], which improves the permafrost table and subgrade stability. The thermal regulation effect of the block–stone layer is directly proportional to its thickness in warm seasons [62], while in cold seasons, it is directly proportional to the amount of heat accumulated in the upper part of the block–stone layer. The more heat that accumulates, the higher the thermal regulation efficiency and the higher the permafrost table. Therefore, with increasing time, the decline rate of the permafrost table is smaller than that under the other two subgrades.
The replacement breccia and replacement gravel have relatively high thermal conductivities due to their relatively low porosity [63,64]. In warm seasons, when the heat from the ground surface is transferred to the permafrost foundation, the two materials cannot effectively reduce the total heat entering the replacement layer, resulting in most of the heat finally entering the deep foundation (part IV). Therefore, less heat accumulates in the replacement layer, and the temperature decreases. In cold seasons, after the ground surface temperature drops, the heat transfer rate between the replacement layer and the ground surface is relatively low, resulting in the heat in the foundation not being effectively discharged from the subgrade. Therefore, the permafrost tables under the road centerlines of these two subgrade structures are lower than those of the replacement block–stone subgrade.
The maximum seasonal freezing depth in the Da Xing’an Mountains is generally reached in March every year. By comparing and analyzing the temperature contour maps of the three subgrade structures on March 15 in different years (Figure 9), the results show that in 2039, the thicknesses of the thawed interlayer under the replacement block–stone subgrade, the replacement breccia subgrade and the replacement gravel subgrade are 5.016 m, 7.535 m and 8.918 m, respectively. The thawed interlayer thickness of the replacement block–stone subgrade is thinner than that of the other two subgrades, which shows that the block–stone layer can also play a significant role in thermal regulation in cold seasons. In 2039, the bottom of the thawed interlayer is still located in the block–stone layer, which shows that the block–stone layer can significantly reduce the degradation rate of permafrost. However, the permafrost in parts III and V in the replacement breccia subgrade and the replacement gravel subgrade is completely thawed. Due to the high ice content in these two soil layers, the thawing of the permafrost increases the subgrade settlement [55,65]. Therefore, these two subgrade structures can neither effectively reduce the temperature of the subgrade nor improve the deformation.
Figure 9.
Temperature contour maps on March 15 of the three subgrade structures in different years: (a1–a4) replacement block–stone subgrade structure, (b1–b4) replacement breccia subgrade structure, and (c1–c4) replacement gravel subgrade structure. The 0 °C isotherm represents the thawed interlayer range. (Unit: °C).
4.4. Analysis of the Variation in Liquid Water Content in Different Subgrade Structures
The degradation of permafrost can lead to an increase in the liquid water content in the subgrade. The strength damage caused by the increase in water content in the soil is the main reason for subgrade instability [65,66].
By comparing and analyzing the vertical distribution curves of the volumetric liquid water content under the road centerlines in different subgrade structures (Figure 10), in the early stage (2019–2021), the water contents in the replacement layer (part V) and the fill layer (part I) of the three subgrade structures are differentiated, which shows that the water content of the replacement block–stone subgrade in the above zones is significantly lower than that of the other two subgrades. From the long–term change process (2019–2039), this differentiation phenomenon becomes increasing obvious; that is, the water content of the replacement block–stone subgrade increases slightly in the above zones, while the other two subgrades demonstrate a significant water content increase. This phenomenon eventually leads to an uneven distribution of water content in part IV, which further reduces the foundation stability [66]. Among them, in part V, the water content of the replacement breccia subgrade is the largest, while in part I, the water content of the replacement gravel subgrade is the largest, which will lead to road fragmentation and foundation instability after repeated freezing and thawing [49,55].
Figure 10.
Vertical distribution of the volumetric liquid water content under the road centerlines of the three subgrade structures in different years: (a1–a4) in cold seasons and (b1–b4) in warm seasons.
The block–stone layer has the worst water–holding capacity [66], and the breccia layer has the strongest water–holding capacity because it contains a large amount of fine–grained soil, while the gravel layer has a slightly poor water–holding capacity because it contains a small amount of fine–grained soil [63,64]. The water–holding capacity of a material is proportional to its water content. Therefore, in part V, the liquid water content in the block–stone layer is always less than that in the gravel layer and the breccia layer.
In part I, the water content of the embankment fill layer changes greatly due to seasonal variations in the ground surface temperature and water supply in the thawed interlayer. However, by comparing the water contents in cold seasons and warm seasons, the water content on the top surface in part I of the replacement block–stone subgrade is significantly lower than that in the other two subgrades. This is related to the process of water migration and the size of the driving force [55,65,66]. In cold seasons, the temperature in the active layer decreases, and the water content in the thawed interlayer mainly migrates to the active layer under the action of a temperature gradient. In warm seasons, the temperature in the active layer increases, and the water in the thawed interlayer mainly migrates to the active layer under the action of matrix potential. The lack of fine particles in the block–stone layer results in an extremely low matrix potential. In addition, the temperature gradient between the block–stone layer and the active layer in cold seasons is relatively small. As a result, the water content supply in part I of the block–stone subgrade is lower. The water content in part I of the replacement gravel subgrade is greater than that of the replacement breccia subgrade because the larger temperature gradient between the gravel layer and active layer leads to a greater water supply in the active layer.
4.5. Deformation Analysis of Different Subgrade Structures
The thawing of permafrost leads to a reduction in soil strength. Under the action of its weight, the subgrade undergoes vertical deformation (settlement), which is the main source of deformation of the permafrost subgrade [56]. Generally, the deeper the thawing depth of permafrost is, the greater the settlement [49,50].
The permafrost table in the Da Xing’an Mountains is the lowest in October every year, and the subgrade settlement is the largest at this time. Comparing and analyzing the contour maps of vertical deformation of the three subgrade structures on October 15 in different years (Figure 11), the results show that the settlement of the replacement block–stone subgrade is mainly located at the shoulder, and the maximum settlement is –0.235 cm (the negative sign represents only the deformation direction, the same as below). The uplift deformation is mainly located at the slope toe, and the deformation first increases and then decreases with time. Additionally, the deformation reaches a maximum value of +0.695 cm in 2024, then begins to decrease, and finally drops to +0.346 cm in 2039. The maximum deformations located at the road centerline of the replacement breccia subgrade and the replacement gravel subgrade are mainly settlement, and the maximum values are –22.114 cm and –30.908 cm, respectively. There will also be uplift deformation at the slope toe of the two subgrades, and the deformation trends are the same as those of the replacement block–stone subgrade. This is the result of the compaction of embankment fill soil at the foot of the slope [49]. Unlike settlement, the influence of uplift deformation on subgrade stability is quite small and can be almost ignored.
Figure 11.
Vertical deformation contour maps of three subgrade structures in different years in warm seasons: (a1–a4) replacement block–stone subgrade structure, (b1–b4) the replacement breccia subgrade structure, and (c1–c4) the replacement gravel subgrade structure. (Unit: cm).
Generally, the influence of vertical deformation on subgrade stability is often of greater concern, while the influence of transverse deformation is usually ignored.
The maximum transverse deformation of the replacement block–stone subgrade is mainly concentrated near the top of the right side of the upper boundary of the block–stone layer (Figure 12). From 2019 to 2024, the soil near the top moved +1.319 cm to the outside of the subgrade and then remained stable without increasing. This is because the interlocking structure formed between the block–stone particles make the block–stone layer have a certain rigidity and can effectively resist the local uneven deformation of the foundation [55,65]. Therefore, the maximum transverse deformation occurs at the top of the upper boundary of the block–stone layer. The transverse deformation trends of the replacement breccia subgrade and the replacement gravel subgrade are similar, and the deformation is mainly divided into two parts. One part is the transverse deformation moving toward the road centerline, which is located within 2.1 m below the top surface of the subgrade, with maximum deformations of –1.271 cm and –1.835 cm. The other part is the transverse deformation moving to the outside of the subgrade, which is mainly located inside the replacement layer (part V), with maximum deformations of +3.126 cm and +3.784 cm. This transverse deformation in the opposite direction is likely to lead to sliding failure of the subgrade. In addition, after ice crystals melt, breccia and gravel have great strength damage and cannot effectively resist uneven foundation deformation [63,64]. Therefore, the maximum transverse deformation does not appear at the boundary of the replacement layer.
Figure 12.
Transverse deformation contour maps of three subgrade structures in different years in warm seasons: (a1–a4) replacement block–stone subgrade structure, (b1–b4) replacement breccia subgrade structure, and (c1–c4) replacement gravel subgrade structure (Unit: cm).
5. Discussion
When the water in soil freezes, ice crystals discontinuously distributed on the surface of soil particles are generated [66]. Ice crystals have a retardation effect on water migration, which is measured by the retardation coefficient [49,67]. However, the water in the active layer forms a relatively continuous distribution of ice lenses when it freezes in cold seasons. The retardation effect of ice lenses on the migration of water is much greater than that of discontinuously distributed ice crystals [68,69,70], but there is currently no specific calculation method.
To analyze the difference in the influence of the two freezing forms of water in the active layer in cold seasons on the effect of water migration, the discussion is divided into two cases. In the first case (Case 1), it is assumed that only discontinuous ice crystals form in the active layer in cold seasons, and then, the retardation effect of water migration is measured by the retardation coefficient. At this time, the convective flux of the convection boundaries (embankment slope and natural ground surface) is not zero. In the second case (Case 2), it is assumed that only completely closed and continuously distributed ice lenses form in the active layer in cold seasons. At this time, ice lenses can block water migration, and the convection flux at the convective boundaries is zero. However, in general, ice lenses do not completely block water migration, so the retardation effect of ice in the active layer on water migration should be between Case 1 and Case 2 [65,66].
5.1. Comparison of Permafrost Table Changes in Three Subgrade Structures in Case 1 and Case 2
First, the change trends of the permafrost table under the road centerlines in the three subgrade structures in Case 1 are compared and analyzed (Figure 13). The results show that the permafrost table under the replacement block–stone subgrade is higher than that of the other two subgrades, and the difference increases with time. In 2039, the permafrost table under the replacement block–stone subgrade, replacement breccia subgrade and replacement gravel subgrade will be reduced from –1.421 m to –5.695 m, –8.284 m and –9.789 m, respectively. The average degradation rates will be 0.214 m/a, 0.343 m/a and 0.418 m/a. The replacement block–stone subgrade structure can effectively reduce the degradation rate of permafrost.
Figure 13.
Comparison of permafrost table changes under the road centerlines of the three subgrade structures in Case 1 and Case 2.
Second, the change trends of the permafrost table under the three subgrade structures in Case 2 are compared and analyzed (Figure 13). The results show that in 2039, the permafrost table under the replacement block–stone subgrade, replacement breccia subgrade and replacement gravel subgrade will be reduced to –5.807 m, –8.839 m and –10.539 m, respectively. The average degradation rates will be 0.219 m/a, 0.371 m/a and 0.456 m/a. The permafrost table under the replacement block–stone subgrade is higher, and the degradation rate of permafrost is smaller. However, compared with Case 1, the permafrost tables under the three subgrades in Case 2 have decreased to varying degrees. This is because in Case 2, a part of the heat in the subgrades cannot be discharged by convection in winter, thus lowering the permafrost tables. However, only the thermal regulation efficiency of the block–stone layer is affected, and the essence of slowing the decline of the permafrost table does not change.
5.2. Comparison of the Volumetric Liquid Water Content of the Three Subgrade Structures in Case 1 and Case 2
In Case 1, the vertical distribution of the volumetric liquid water content under the road centerlines of the three subgrade structures (Figure 10) is analyzed in Section 4.4 and is not repeated here.
The relationship between the liquid water contents in parts I and V of the three subgrade structures from 2019 to 2039 in Case 2 is the same as that in Case 1 (Figure 14). Compared with Case 1, the distribution law of the liquid water content does not change in Case 2, but the absolute quantity changes. Due to the large increase in water contents in parts I and V of the replacement breccia subgrade and replacement gravel subgrade, a water supply in part IV is needed, resulting in an uneven distribution of water content in part IV, which further reduces the foundation stability [55,66,67].
Figure 14.
In Case 2, comparison of the vertical distributions of the volumetric liquid water contents under the road centerlines of the three subgrade structures in cold seasons and warm seasons in different years: (a1–a4) in cold seasons and (b1–b4) in warm seasons.
The vertical distributions of the volumetric liquid water contents under the road centerlines of the three subgrade structures in cold seasons in different years are compared and analyzed (Figure 15). The results show that the liquid water content in part I of the three subgrade structures in Case 2 is greater than that in Case 1. This indicates that a considerable amount of water cannot be discharged from the subgrade in cold seasons when a closed and continuous ice lens forms in the active layer under the convection boundaries. This water remains in the subgrade, which increases the degradation rate of permafrost and then increases the subgrade settlement [19,35].
Figure 15.
Comparison of the vertical distributions of volumetric liquid water contents under the road centerlines in Case 1 and Case 2 on March 15 of different years for the three subgrade structures: (a1–a4) replacement block–stone subgrade structure, (b1–b4) replacement breccia subgrade structure, and (c1–c4) replacement gravel subgrade structure.
The permafrost degradation rate, liquid water content and settlement interact and promote each other. Therefore, the greater the liquid water content is, the greater the subgrade settlement [49,68].
5.3. Comparison of the Deformation at the Road Centerline and the Shoulder of the Three Subgrade Structures in Case 1 and Case 2
The difference between the two cases is that the convective fluxes at the convective boundaries are different, which includes both water convection and heat convection. The change in water and heat content in the subgrade affect the soil strength and then, the deformation [3,4,70].
In Case 1, the comparison of vertical deformations at the road centerline and the shoulder of the three subgrade structures (Figure 16) shows that from 2019 to 2039, the cumulative settlements at the road centerline and the shoulder (the following is replaced by the above two vertical deformations) for the replacement block–stone subgrade are –0.195 cm and –0.235 cm, respectively. The above two vertical deformations for the replacement breccia subgrade are –22.114 cm and –15.079 cm. The above two vertical deformations for the replacement gravel subgrade are –30.909 cm and –20.299 cm. In Case 2 (Figure 17), the above two vertical deformations for the replacement block–stone subgrade are –0.109 cm and –0.186 cm. The above two vertical deformations for the replacement breccia subgrade are –24.820 cm and –16.863 cm. The above two vertical deformations for the replacement gravel subgrade are –36.677 cm and –23.838 cm. The above two vertical deformations in Case 1 and Case 2 are different. The differences in cumulative settlement (the deformation in Case 2 minus the deformation in Case 1, and the following is replaced by the above two vertical deformation differences in Case 1 and Case 2) at the road centerline and the shoulder in Case 1 and Case 2 for the replacement block–stone subgrade are –0.086 cm and –0.049 cm, respectively. The above two vertical deformation differences in Case 1 and Case 2 for the replacement breccia subgrade are 2.706 cm and 1.784 cm, respectively. The above two vertical deformation differences in Case 1 and Case 2 for the replacement gravel subgrade are 5.768 cm and 3.539 cm, respectively.
Figure 16.
Vertical deformation curves at the road centerline and the shoulder of the three subgrade structures in Case 1: (a) at the road centerline and (b) at the shoulder.
Figure 17.
Vertical deformation curves at the road centerline and the shoulder of the three subgrade structures in Case 2: (a) at the road centerline and (b) at the shoulder.
The above two vertical deformations in Case 2 are smaller than those in Case 1 for the replacement block–stone subgrade. There are two reasons. First, the content of liquid water in the active layer in Case 2 is greater than that in Case 1. More liquid water participates in the ice–water phase transition, resulting in a greater frost heave in Case 2 [71,72,73,74]. Second, the block–stone layer can reduce the uneven settlement caused by water migration and the ice–water phase transition [19,65], so the increased amount of liquid water in Case 2 contributes little to the subgrade settlement deformation. The combined action of these two reasons finally leads to a decrease in cumulative settlement on the top surface of the subgrade and an increase in frost heave in Case 2. However, the cumulative settlement and frost heave of the replacement block–stone subgrade are significantly smaller than those of the other two subgrades, so the subgrade stability is better. The above two vertical deformations in Case 2 are larger than those in Case 1 for the replacement breccia subgrade and the replacement gravel subgrade. This is because a considerable amount of liquid water in Case 2 cannot be discharged from the subgrade in cold seasons. This liquid water will remain in the subgrades, which will reduce the foundation strength [55], resulting in an increase in subgrade settlement. Therefore, the vertical deformation stability of these two subgrade structures is worse.
In addition, the above two vertical deformations in Case 1 and Case 2 have the following common points. The maximum cumulative settlement of the replacement block–stone subgrade is located at the shoulder, while the maximum cumulative settlement of the replacement breccia subgrade and that of the replacement gravel subgrade are located at the road centerline. This is because there is a large internal friction angle between block–stone particles, which can form a firm interlocking structure and effectively resist the uneven settlement of the foundation caused by the thawing of permafrost [75]. At the same time, as the subgrade slope has no lateral earth pressure support, the cumulative settlement at the shoulder is slightly larger than that at the road centerline. In contrast, after the permafrost under the replacement breccia subgrade and the replacement gravel subgrade thaws, the internal friction angle, cohesion and elastic modulus of the breccia and gravel decrease rapidly and show obvious plasticity [63,64]. Under the self–weight load of the subgrade, the settlement deformation at the road centerline increases rapidly. These two replacement materials cannot form a strong interlocking structure, and it is difficult for them to resist the uneven deformation of the foundation. Therefore, the cumulative settlement at the road centerline is greater than that at the shoulder. Note that the gravel has liquefaction characteristics [76,77,78], and the strength of gravel decreases sharply after the ice crystals thaw, resulting in the cumulative settlement of the replacement gravel subgrade being greater than that of the replacement breccia subgrade.
Vertical deformation is the main factor affecting subgrade stability, while transverse deformation may cause longitudinal cracks in the subgrade, which will affect its stability and durability and even damage the subgrade structure [29,79].
In Case 1, the comparison of the transverse deformation at the road centerline and the shoulder of the three subgrade structures (Figure 18) shows that from 2019 to 2039, the maximum transverse deformations at the road centerline and the shoulder (the following is replaced by the above two transverse deformations) for the replacement block–stone subgrade are –0.111 cm and +0.128 cm, respectively. The above two transverse deformations for the replacement breccia subgrade are +0.749 cm and –1.271 cm. The above two transverse deformations for the replacement gravel subgrade are −0.509 cm and –2.043 cm. In Case 2 (Figure 19), the above two transverse deformations for the replacement block–stone subgrade are –0.056 cm and –0.146 cm. The above two transverse deformations for the replacement breccia subgrade are +0.278 cm and –1.113 cm. The above two transverse deformations for the replacement gravel subgrade are +0.821 cm and –2.516 cm. The above two transverse deformations in Case 1 and Case 2 are different. The maximum differences in transverse deformation in Case 1 and Case 2 (the deformation in Case 2 minus the deformation in Case 1, and the following is replaced by the above two maximum differences in transverse deformation in Case 1 and Case 2) at the road centerline and the shoulder for the replacement block–stone subgrade are –0.055 cm and –0.274 cm, respectively. The above two maximum differences in transverse deformation in Case 1 and Case 2 for the replacement breccia subgrade are +0.471 cm and –0.158 cm, respectively. The above two maximum differences in transverse deformation in Case 1 and Case 2 for the replacement gravel subgrade are +1.330 cm and –0.473 cm, respectively.
Figure 18.
Transverse deformation curves at the road centerline and the shoulder of the three subgrade structures in Case 1: (a) at the road centerline and (b) at the shoulder.
Figure 19.
Transverse deformation curves at the road centerline and the shoulder of the three subgrade structures in Case 2: (a) at the road centerline and (b) at the shoulder.
Figure 15, Figure 16, Figure 17 and Figure 18 show that the vertical and transverse deformations of the three subgrades are relatively large from 2019 to 2026, and the deformation rate and size are also different. From 2026 to 2039, the vertical and transverse deformations will fluctuate slightly and gradually become stable [49,68]. Although the final deformations are different, the change trends are the same, which shows that the influence of Case 1 and Case 2 on subgrade deformation is mainly reflected in the rapid deformation stage. This result is because from 2019 to 2026, due to the rapid decline in the permafrost table, the water and heat exchange between the thawed interlayer and the active layer is in the drastic change stage (Figure 7, Figure 8 and Figure 9). The rapid discharge of water from the thawed interlayer will lead to a rapid increase in subgrade settlement [49,55]. This will cause uneven water distribution (Figure 10 and Figure 14) and further lead to uneven subgrade settlement (Figure 11). The more uneven the water distribution is, the more obvious the uneven settlement, which eventually leads to changes in the size and direction of transverse deformation. Due to the lower liquid water contents in parts I and V of the replacement block–stone subgrade structure, water migration and the phase transition have less impact on the subgrade deformation. In addition, the block–stone layer can resist the uneven deformation of the foundation well. Therefore, the vertical and transverse deformations are smaller, and the subgrade stability is better. Due to the poor water stability of gravel [76,77,78], the uneven distribution of water causes the replacement gravel subgrade to exhibit the worst stability after the thawing of permafrost. Although the liquid water content in part V of the replacement breccia subgrade is the largest, the mechanical stability of breccia is better than that of gravel [63,64]. In addition, the liquid water content in part I is lower, so the vertical and transverse deformations are smaller than those of the replacement gravel subgrade. From 2026 to 2039, the decline rate of the permafrost table of the three subgrades gradually decreases, and the water and heat exchange between parts I and V gradually slows down. At this time, the three subgrades enter the slow deformation stage, and the vertical deformation and transverse deformations fluctuate little and tend to become stable gradually [49,55,65].
In addition, the following two points need to be emphasized. One is that excessive transverse deformation of the subgrade may cause longitudinal cracks [29]. Generally, when the transverse deformation exceeds the material limit deformation, the width of the longitudinal crack increases with increasing transverse deformation [79,80,81]. The transverse deformation of the top surface of the replacement gravel subgrade is the largest, and the subgrade structure may be the first to reach the limit deformation. The transverse deformation of the top surface of the replacement block–stone subgrade is the smallest, and it is the least likely to reach the limit deformation. The transverse deformation of the top surface of the replacement breccia subgrade lies between the two. Therefore, it is speculated that the width of the longitudinal cracks on the top surface of the replacement gravel subgrade may be the largest, followed by the replacement breccia subgrade, and the width of the longitudinal cracks on the top surface of the replacement block–stone subgrade is the smallest (and in some cases, no cracks exist). Second, the settlement at the road centerline of the replacement breccia subgrade and the replacement gravel subgrade is the largest, resulting in tensile stress on the surrounding soil. As a result, the transverse deformation within 2.1 m below the top surface of the subgrade fill layer is negative. Therefore, the longitudinal cracks for these two subgrades will expand to the road centerline. However, the transverse deformation at the shoulder for the replacement block–stone subgrade is the largest, so the longitudinal cracks will expand to the shoulder [80,81].
Since the actual retardation effect of ice in the active layer on water migration is between Case 1 and Case 2, the average values (Figure 20 and Figure 21) of vertical and transverse deformations at the road centerline and the shoulder in Case 1 and Case 2 are used as the actual deformations of the subgrades.
Figure 20.
Actual vertical deformation curves at the centerline and the shoulder of the three subgrade structures: (a) at the road centerline and (b) at the shoulder.
Figure 21.
Actual transverse deformation curves at the road centerline and the shoulder of the three subgrade structures: (a) at the road centerline and (b) at the shoulder.
Summarizing the actual maximum deformations of the top surface of the three subgrade structures (Table 5), the results show that the maximum cumulative settlement and maximum transverse deformation of the replacement block–stone subgrade are –0.211 cm and 0.111 cm, respectively. The maximum cumulative settlement and maximum transverse deformation of the replacement breccia subgrade are –23.467 cm and –1.209 cm, respectively. The maximum cumulative settlement and maximum transverse deformation of the replacement gravel subgrade are –33.793 cm and –2.207 cm, respectively. The replacement block–stone subgrade structure can not only reduce the cumulative settlement and frost heave but also reduce the transverse deformation and longitudinal cracks to improve the overall stability of the subgrade. However, the replacement breccia subgrade structure and the replacement gravel subgrade structure can neither reduce the cumulative settlement and frost heave nor reduce the transverse deformation and longitudinal cracks. Therefore, these two subgrade structures cannot be used in permafrost regions.
Table 5.
Actual maximum deformations of the top surface of the three subgrade structures from 2019 to 2039.
6. Conclusions
In view of the thawing settlement deformation of the permafrost subgrade caused by climate warming and construction disturbance, based on the engineering practice of the Walagan–Xilinji section of the Beijing–Mohe Highway and the design concept of allowing permafrost thawing, a new subgrade structure using a large block stone to replace the permafrost layer of the foundation is proposed to reduce subgrade settlement. To compare and explore the influences of different foundation replacement materials on the stability of highway subgrades in permafrost regions, the water, heat and deformation of the replacement block–stone subgrade, replacement breccia subgrade and replacement gravel subgrade from 2019 to 2039 are numerically analyzed. In addition, the following main conclusions are obtained:
- (1)
- The replacement block–stone subgrade structure has a higher permafrost table in warm seasons and a thinner thawed interlayer in cold seasons. Compared with the replacement breccia layer and the replacement gravel layer, the replacement block–stone layer can effectively reduce the total heat entering the deep foundation in warm seasons. Its good thermal regulation performance reduces the impact of seasonal temperature changes on subgrade temperature to improve the permafrost table.
- (2)
- The low thermal conductivity of the block–stone layer reduces the temperature gradient between the block–stone layer and the active layer. In addition, the very small matrix potential of the block–stone layer leads to a very small driving force of water migration. The reduction in the driving force of water migration reduces the water supply from the thawed interlayer to the active layer, which reduces the liquid water content in the active layer and finally, reduces the transverse and vertical deformations of the subgrade.
- (3)
- The replacement block–stone layer can effectively resist the local uneven deformation of the foundation, so the settlement of the replacement block–stone subgrade structure is the smallest. After the thawing of the permafrost in the breccia layer and the gravel layer, the strength of these two replacement materials decreases rapidly, and it is difficult for them to resist the uneven deformation of the foundation. Therefore, the cumulative settlement of the two subgrades is relatively large. In addition, the liquefaction characteristics of the gravel lead to a greater settlement of the replacement gravel subgrade than that of the replacement breccia subgrade.
- (4)
- In cold seasons, when the water in the active layer freezes, two forms of dispersed ice crystals and continuous ice lenses form, which have different retardation effects on water migration. We discussed these effects and corrected the subgrade deformation. The results show that from 2019 to 2039, the maximum cumulative settlement and the maximum transverse deformation of the replacement block–stone subgrade are –0.211 cm and +0.111 cm, respectively. The maximum cumulative settlement and the maximum transverse deformation of the replacement breccia subgrade are –23.467 cm and −1.209 cm, respectively. The maximum cumulative settlement and the maximum transverse deformation of the replacement gravel subgrade are –33.793 cm and –2.207 cm, respectively. The replacement block–stone subgrade structure can not only reduce the cumulative settlement and frost heave but also reduce the transverse deformation and longitudinal cracks to improve the overall stability of the subgrade. In contrast, the vertical and transverse deformation of the replacement breccia subgrade and the replacement gravel subgrade are too large, and even the subgrade fill layer will undergo transverse deformation in the opposite direction, which will cause sliding failure. Therefore, these two subgrade structures cannot be used in permafrost regions.
In addition, since the study area is located in permafrost regions with high temperatures and high ice contents, the deformation process of the subgrade is greatly affected by changes in water and heat. The numerical model fully considers the influence of water migration, the phase transition process and the phase transition forms on the stability of the subgrade. It is of great significance to understand the interactions among water, heat and deformation in the permafrost subgrade, which can provide a reference for the development and application of hydrothermal–related models in cold regions. In the case of the accelerated degradation of permafrost, there are more subgrade thawing settlement problems. The results of the study can provide a reference for subgrade design and protection in degraded permafrost regions.
Author Contributions
Conceptualization, W.S.; writing–original draft preparation, W.S. and M.M.; writing–review and editing, W.S., M.M., Y.G. and C.Z.; visualization, M.M. and C.Z.; supervision, W.S.; project administration, W.S.; funding acquisition, W.S. All authors have read and agreed to the published version of the manuscript.
Funding
We thank the National Natural Science Foundation of China (Grant No. 41641024) and the Science and Technology Project of Heilongjiang Communications Investment Group (Grant No. JT–100000–ZC–FW–2021–0182) for providing financial support and the Field scientific observation and research station of the Ministry of Education–Geological environment system of permafrost area in Northeast China (MEORS–PGSNEC).
Institutional Review Board Statement
Not applicable.
Informed Consent Statement
Not applicable.
Data Availability Statement
Related data are available upon reasonable request.
Acknowledgments
We would like to thank all staff members who contributed to this study who are not named here.
Conflicts of Interest
The authors declare no conflict of interest.
References
- Gruber, S. Derivation and analysis of a high-resolution estimate of global permafrost zonation. Cryosphere 2012, 6, 221–233. [Google Scholar] [CrossRef]
- Obu, J. How Much of the Earth’s Surface is Underlain by Permafrost? J. Geophys. Res. Earth Surf. 2021, 126, e2021JF006123. [Google Scholar] [CrossRef]
- Wu, Q.; Zhang, Z.; Liu, Y. Long-term thermal effect of asphalt pavement on permafrost under an embankment. Cold Reg. Sci. Technol. 2010, 60, 221–229. [Google Scholar] [CrossRef]
- Zhang, Z.; Wu, Q. Thermal hazards zonation and permafrost change over the Qinghai-Tibet Plateau. Nat. Hazards 2012, 61, 403–423. [Google Scholar] [CrossRef]
- Kondratiev, V.G. Geocryological problems of railroads on permafrost. In Proceedings of the 10th International Symposium on Cold Regions Development, Anchorage, AK, USA, 2–5 June 2013; pp. 191–203. [Google Scholar] [CrossRef]
- Addison, P.E.; Lautala, P.; Oommen, T.; Vallos, Z. Embankment stabilization techniques for railroads on permafrost. In Proceedings of the 2016 Joint Rail Conference, Columbia, SC, USA, 12–15 April 2016; p. V001T01A008. [Google Scholar] [CrossRef]
- Stephani, E.; Fortier, D.; Shur, Y.; Fortier, R.; Doré, G. A geosystems approach to permafrost investigations for engineering applications, an example from a road stabilization experiment, Beaver Creek, Yukon, Canada. Cold Reg. Sci. Technol. 2014, 100, 20–35. [Google Scholar] [CrossRef]
- Cheng, G. A roadbed cooling approach for the construction of Qinghai–Tibet Railway. Cold Reg. Sci. Technol. 2005, 42, 169–176. [Google Scholar] [CrossRef]
- IPCC; Masson-Delmotte, P.; Zhai, A.; Pirani, S.L.; Connors, C.; Péan, S.; Berger, N.; Caud, Y.; Chen, L.; Goldfarb, M.I.; et al. Climate Change 2021: The Physical Science Basis. In Contribution of Working Group I to the Sixth Assessment Report of the Intergovernmental Panel on Climate Change; Cambridge University Press: Cambridge, UK, 2021. [Google Scholar]
- Zhou, Z.; Ma, W.; Zhang, S.; Du, H.; Mu, Y.; Li, G. Multiaxial creep of frozen loess. Mech. Mater. 2016, 95, 172–191. [Google Scholar] [CrossRef]
- Maslikova, O.Y.; Debolsky, V.K.; Ionov, D.N.; Gritsuk, I.I.; Sinichenko, E.K. Strength of frozen soils during thawing. J. Phys. Conf. Ser. 2020, 1687, 012039. [Google Scholar] [CrossRef]
- Yongjie, L.; Shaopu, Y.; Jianxi, W. Research on pavement longitudinal crack propagation under non-uniform vehicle loading. Eng. Fail. Anal. 2014, 42, 22–31. [Google Scholar] [CrossRef]
- Liu, M.; Niu, F.; Ma, W.; Fang, J.; Lin, Z.; Luo, J. Experimental investigation on the enhanced cooling performance of a new crushed-rock revetment embankment in warm permafrost regions. Appl. Therm. Eng. 2017, 120, 121–129. [Google Scholar] [CrossRef]
- Liu, J.J.; Xie, J. Numerical simulation of thermo-hydro-mechanical coupling around underground pipelines in patchy permafrost region. Rock Soil Mech. 2013, 34, 444–450. [Google Scholar]
- Qian, J.; Yu, Q.; You, Y.; Hu, J.; Guo, L. Analysis on the convection cooling process of crushed-rock embankment of high-grade highway in permafrost regions. Cold Reg. Sci. Technol. 2012, 78, 115–121. [Google Scholar] [CrossRef]
- Zhang, M.; Zhang, X.; Li, S.; Lu, J.; Pei, W. Effect of Temperature Gradients on the Frost Heave of a Saturated Silty Clay with a Water Supply. J. Cold Reg. Eng. 2017, 31, 04017011. [Google Scholar] [CrossRef]
- Jin, H.; Yu, Q.; Lü, L.; Guo, D.; He, R.; Yu, S.; Sun, G.; Li, Y. Degradation of permafrost in the Xing’anling Mountains, northeastern China. Permafr. Periglac. Process. 2007, 18, 245–258. [Google Scholar] [CrossRef]
- Li, S.; Lai, Y.; Zhang, M.; Yu, W. Seasonal differences in seismic responses of embankment on a sloping ground in permafrost regions. Soil Dyn. Earthq. Eng. 2015, 76, 122–135. [Google Scholar] [CrossRef]
- Pei, W.; Zhang, M.; Li, S.; Lai, Y.; Jin, L. Thermo-mechanical stability analysis of cooling embankment with crushed-rock interlayer on a sloping ground in permafrost regions. Appl. Therm. Eng. 2017, 125, 1200–1208. [Google Scholar] [CrossRef]
- Jilin, Q.; Yu, S.; Jianming, Z.; Zhi, W. Settlement of embankments in permafrost regions in the Qinghai-Tibet Plateau. Nor. Geogr. Tidsskr. 2007, 61, 49–55. [Google Scholar] [CrossRef]
- Shan, W.; Ma, M.; Guo, Y.; Zhang, C. Numerical analysis of the influence of block-stone embankment filling height on the water, temperature, and deformation distributions of subgrade in permafrost regions. Water 2022, 14, 1382. [Google Scholar] [CrossRef]
- Zhang, H.; Zhang, J.; Zhang, Z.; Chen, J.; You, Y. A consolidation model for estimating the settlement of warm permafrost. Comput. Geotech. 2016, 76, 43–50. [Google Scholar] [CrossRef]
- Gandahl, R. Some aspects of the design of roads with boards of plastic foam. In Proceedings of the 3rd International Conference on Permafrost, Edmonton, AB, Canada, 1 January 1978; pp. 792–797. [Google Scholar]
- Jan, L. Permafrost. In Fourth International Conference, Final Proceedings; National Academy of Sciences, Ed.; National Academy Press: Washington, DC, USA, 1983; p. 1524. ISBN 0-309-03435-3. [Google Scholar]
- Zhang, M.; Zhang, J.; Lai, Y. Numerical analysis for critical height of railway embankment in permafrost regions of Qinghai-Tibetan plateau. Cold Reg. Sci. Technol. 2005, 41, 111–120. [Google Scholar] [CrossRef]
- Yu, W.; Liu, W.; Chen, L.; Yi, X.; Han, F.; Hu, D. Evaluation of cooling effects of crushed rock under sand-filling and climate warming scenarios on the Tibet Plateau. Appl. Therm. Eng. 2016, 92, 130–136. [Google Scholar] [CrossRef]
- Yu, W.; Lai, Y.; Zhang, X.; Zhang, S.; Xiao, J. Laboratory investigation on cooling effect of coarse rock layer and fine rock layer in permafrost regions. Cold Reg. Sci. Technol. 2004, 38, 31–42. [Google Scholar] [CrossRef]
- Li, G.; Li, N.; Kang, J. Preliminary study on cooling effect mechanisms of Qinghai-Tibet railway embankment with open crushed-stone side slope in permafrost regions. Cold Reg. Sci. Technol. 2006, 45, 193–201. [Google Scholar] [CrossRef]
- Chang, Y.; Yu, Q.; You, Y.; Guo, L. Formation mechanism of longitudinal cracks in expressway embankments with inclined thermosyphons in warm and ice-rich permafrost regions. Appl. Therm. Eng. 2018, 133, 21–32. [Google Scholar] [CrossRef]
- Goering, D.J. Experimental investigation of air convection embankments for permafrost-resistant road design. In Proceedings of the Seventh International Conference on Permafrost, Yellowknife, NT, Canada, 1 January 1998; pp. 319–326. [Google Scholar]
- Goering, D.J. Passively Cooled Railway Embankments for Use in Permafrost Areas. J. Cold Reg. Eng. 2003, 17, 119–133. [Google Scholar] [CrossRef]
- Ma, W.; Feng, G.; Wu, Q.; Wu, J. Analyses of temperature fields under the embankment with crushed-rock structures along the Qinghai-Tibet Railway. Cold Reg. Sci. Technol. 2008, 53, 259–270. [Google Scholar] [CrossRef]
- Mu, Y.; Ma, W.; Liu, Y.; Sun, Z. Monitoring investigation on thermal stability of air-convection crushed-rock embankment. Cold Reg. Sci. Technol. 2010, 62, 160–172. [Google Scholar] [CrossRef]
- Mu, Y.; Ma, W.; Wu, Q.; Sun, Z.; Liu, Y. Cooling processes and effects of crushed rock embankment along the Qinghai-Tibet Railway in permafrost regions. Cold Reg. Sci. Technol. 2012, 78, 107–114. [Google Scholar] [CrossRef]
- Guo, Y.; Shan, W.; Zhang, C.; Hu, Z.; Wang, S.; Gao, J. Monitoring of permafrost degradation along the Bei’an-Heihe Expressway in China. Bull. Eng. Geol. Environ. 2021, 80, 1–10. [Google Scholar] [CrossRef]
- Liu, Y.; Wu, Q.; Zhang, J.; Sheng, Y. Deformation of Highway Roadbed in Permafrost Regions of the Tibetan Plateau. J. Glaciol. Geocryol. 2002, 1, 10–15. [Google Scholar] [CrossRef]
- Peng, H.; Ma, W.; Mu, Y.H.; Jin, L.; Zhu, D.P. Analysis of disease investigation and long-term deformation characteristics of common fill embankment of the Qinghai-Tibet Highway. Rock Soil Mech. 2015, 36, 2049–2056. [Google Scholar] [CrossRef]
- Hartikainen, J.; Mikkola, M. General thermodynamical model of freezing soil with numercal application. In Ground Freezing 97: Frost Action in Soils: Proceedings of an International Symposium; Knutsson, S., Ed.; BALKEMA: Rotterdam, The Netherlands, 1997; pp. 101–105. [Google Scholar]
- Wu, W.Z.; Ma, W. Strength and Creep of Frozen Soil; Lanzhou University Press: Lanzhou, China, 1994. [Google Scholar]
- Liu, Z.; Yu, X. Coupled thermo-hydro-mechanical model for porous materials under frost action: Theory and implementation. Acta Geotech. 2011, 6, 51–65. [Google Scholar] [CrossRef]
- Obu, J.; Westermann, S.; Bartsch, A.; Berdnikov, N.; Christiansen, H.H.; Dashtseren, A.; Delaloye, R.; Elberling, B.; Etzelmüller, B.; Kholodov, A.; et al. Northern Hemisphere permafrost map based on TTOP modelling for 2000–2016 at 1 km2 scale. Earth-Sci. Rev. 2019, 193, 299–316. [Google Scholar] [CrossRef]
- Shan, W.; Xu, Z.; Guo, Y.; Zhang, C.; Hu, Z.; Wang, Y. Geological methane emissions and wildfire risk in the degraded permafrost area of the Xiao Xing’an Mountains, China. Sci. Rep. 2020, 10, 21297. [Google Scholar] [CrossRef] [PubMed]
- Zhang, T.; Youwu, Z.; Dongxin, G.; Guoqing, Q.; Guodong, C.; Shude, L. Geocryology in China. Arct. Antarct. Alp. Res. 2001, 33, 245. [Google Scholar] [CrossRef]
- Gao, W.; Yao, Y.; Gao, D.; Wang, H.; Song, L.; Sheng, H.; Cai, T.; Liang, H. Responses of N2O emissions to spring thaw period in a typical continuous permafrost region of the Daxing’an Mountains, northeast China. Atmos. Environ. 2019, 214, 116822. [Google Scholar] [CrossRef]
- Liu, M.; Feng, F.; Cai, T.; Tang, S. Soil Microbial Community Response Differently to the Frequency and Strength of Freeze–Thaw Events in a Larix gmelinii Forest in the Daxing’an Mountains, China. Front. Microbiol. 2020, 11, 1164. [Google Scholar] [CrossRef]
- Li, X.; Jin, H.; He, R.; Huang, Y.; Wang, H.; Luo, D.; Jin, X.; Lanzhi, L.; Wang, L.; Li, W.; et al. Effects of forest fires on the permafrost environment in the northern Da Xing’anling (Hinggan) mountains, Northeast China. Permafr. Periglac. Process. 2019, 30, 163–177. [Google Scholar] [CrossRef]
- Jin, H.; Sun, G.; Yu, S.; Jin, R.; He, J. Symbiosis of marshes and permafrost in Da and Xiao Hinggan Mountains in northeastern China. Chin. Geogr. Sci. 2008, 18, 62–69. [Google Scholar] [CrossRef]
- Saito, H.; Šimůnek, J.; Mohanty, B.P. Numerical Analysis of Coupled Water, Vapor, and Heat Transport in the Vadose Zone. Vadose Zone J. 2006, 5, 784–800. [Google Scholar] [CrossRef]
- Zhang, M.; Pei, W.; Li, S.; Lu, J.; Jin, L. Experimental and numerical analyses of the thermo-mechanical stability of an embankment with shady and sunny slopes in permafrost regions. Appl. Therm. Eng. 2017, 127, 1478–1487. [Google Scholar] [CrossRef]
- Li, S.; Zhan, H.; Lai, Y.; Sun, Z.; Pei, W. The coupled moisture-heat process of permafrost around a thermokarst pond in Qinghai-Tibet Plateau under global warming. J. Geophys. Res. Earth Surf. 2010, 119, 836–853. [Google Scholar] [CrossRef]
- Liu, M.; Ma, W.; Niu, F.; Luo, J.; Yin, G. Thermal performance of a novel crushed-rock embankment structure for expressway in permafrost regions. Int. J. Heat Mass Transf. 2018, 127, 1178–1188. [Google Scholar] [CrossRef]
- Chen, L.; Yu, W.; Lu, Y.; Liu, W. Numerical simulation on the performance of thermosyphon adopted to mitigate thaw settlement of embankment in sandy permafrost zone. Appl. Therm. Eng. 2018, 128, 1624–1633. [Google Scholar] [CrossRef]
- Bing, H.; Ma, W. Laboratory investigation of the freezing point of saline soil. Cold Reg. Sci. Technol. 2011, 67, 79–88. [Google Scholar] [CrossRef]
- Li, X.; Ma, W.; Mu, Y.; Dong, J.; Chen, L. Wind field and thermal performances of an expressway constructed with two separated crushed-rock embankments in high-altitude permafrost zones. Transp. Geotech. 2021, 27, 100447. [Google Scholar] [CrossRef]
- Lai, Y.M.; Zhang, M.Y.; Li, S.Y. Theory and Application of Cold Regions Engineering; Science Press: Beijing, China, 2009. [Google Scholar]
- Li, S.; Lai, Y.; Zhang, M.; Dong, Y. Study on long-term stability of Qinghai-Tibet Railway embankment. Cold Reg. Sci. Technol. 2009, 57, 139–147. [Google Scholar] [CrossRef]
- Guo, Y.; Xu, S.; Shan, W. Development of a frozen soil dielectric constant model and determination of dielectric constant variation during the soil freezing process. Cold Reg. Sci. Technol. 2018, 151, 28–33. [Google Scholar] [CrossRef]
- Liu, H.B.; Zhang, H.Z.; Wang, J. Effect of freeze-thaw and water content on mechanical properties of compacted clayey soil. Rock Soil Mech. 2018, 39, 158–164. [Google Scholar] [CrossRef]
- Sun, B.; Xu, X.; Lai, Y.; Li, D. Determination of Thermal Diffusivity and Conductivity on Ballast. J. Glaciol. Geocryol. 2002, 6, 790–795. [Google Scholar] [CrossRef]
- Zhang, S.; Teng, J.; He, Z.; Liu, Y.; Liang, S.; Yao, Y.; Sheng, D. Canopy effect caused by vapour transfer in covered freezing soils. Geotechnique 2016, 66, 927–940. [Google Scholar] [CrossRef]
- Teng, J.D.; He, Z.Y.; Zhang, S.; Sheng, D.C. Moisture transfer and phase change in unsaturated soils: Physical mechanism and numerical model for two types of “canopy effect”. Chin. J. Geotech. Eng. 2016, 38, 1813–1821. [Google Scholar] [CrossRef]
- Cao, Y.; Zhang, L.; Xu, L.; Han, L. Monitoring techniques for construction safety reliability of permafrost subgrade for Qinghai-Tibet Railway. J. Eng. Geol. 2006, 14, 841–846. [Google Scholar] [CrossRef]
- Wu, J. Technical Indicators and the Construction Technology Research of Highway Reconstruction in Da Xing’an Mountains; Chang’an University: Xi’an, China, 2016. [Google Scholar]
- Li, Z.; Li, G.; Meng, Z.; Qin, K.; Song, G.; Jin, L.; Kan, X.; Wang, J.; Zhang, X. Petrofacies classification, characteristics and formation mechanism of breccias in Chalukou giant molybdenum deposit of Da Hinggan Mountains. Miner. Depos. 2014, 33, 607–624. [Google Scholar] [CrossRef]
- Hotovitch, H.A.; Zhang, C. Frozen Soil Mechanics; Science Press: Beijing, China, 1985. [Google Scholar]
- Xu, X.Z.; Wang, J.C.; Zhang, L. Frozen Soil Physics; Science Press: Beijing, China, 2009. [Google Scholar]
- Li, S.; Zhang, M.; Tian, Y.; Pei, W.; Zhong, H. Experimental and numerical investigations on frost damage mechanism of a canal in cold regions. Cold Reg. Sci. Technol. 2015, 116, 1–11. [Google Scholar] [CrossRef]
- Lai, Y.; Pei, W.; Zhang, M.; Zhou, J. Study on theory model of hydro-thermal-mechanical interaction process in saturated freezing silty soil. Int. J. Heat Mass Transf. 2014, 78, 805–819. [Google Scholar] [CrossRef]
- Li, N.; Chen, B.; Chen, F.; Xu, X. The coupled heat-moisture-mechanic model of the frozen soil. Cold Reg. Sci. Technol. 2000, 31, 199–205. [Google Scholar] [CrossRef]
- Zhou, J.; Li, D. Numerical analysis of coupled water, heat and stress in saturated freezing soil. Cold Reg. Sci. Technol. 2012, 72, 43–49. [Google Scholar] [CrossRef]
- Michalowski, R.L.; Zhu, M. Frost heave modelling using porosity rate function. Int. J. Numer. Anal. Methods Geomech. 2006, 30, 703–722. [Google Scholar] [CrossRef] [Green Version]
- Wang, Y.; Wang, D.; Ma, W.; Wen, Z.; Chen, S.; Xu, X. Laboratory observation and analysis of frost heave progression in clay from the Qinghai-Tibet Plateau. Appl. Therm. Eng. 2018, 131, 381–389. [Google Scholar] [CrossRef]
- Peppin, S.S.L.; Style, R.W. The Physics of Frost Heave and Ice-Lens Growth. Vadose Zone J. 2013, 12, vzj2012.0049. [Google Scholar] [CrossRef]
- Zhou, Y.; Zhou, G.Q.; Wang, Y.J. Separate ice frost heave model for coupled moisture and heat transfer in saturated soils. Chin. J. Geotech. Eng. 2010, 32, 1746–1751. [Google Scholar]
- Dullien, F.A.L. Porous media: Fluid transport and pore structure. Soil Sci. 1979, 132, 316. [Google Scholar] [CrossRef]
- Rahmani, H.; Naeini, S.A. Influence of non-plastic fine on static iquefaction and undrained monotonic behavior of sandy gravel. Eng. Geol. 2020, 275, 105729. [Google Scholar] [CrossRef]
- Farzalizadeh, R.; Hasheminezhad, A.; Bahadori, H. Shaking table tests on wall-type gravel and rubber drains as a liquefaction countermeasure in silty sand. Geotext. Geomembr. 2021, 49, 1483–1494. [Google Scholar] [CrossRef]
- EL Shamy, U.; Sizkow, S.F. Coupled smoothed particle hydrodynamics-discrete element method simulations of soil liquefaction and its mitigation using gravel drains. Soil Dyn. Earthq. Eng. 2021, 140, 106460. [Google Scholar] [CrossRef]
- Yu, F.; Zhang, M.; Lai, Y.; Liu, Y.; Qi, J.; Yao, X. Crack formation of a highway embankment installed with two-phase closed thermosyphons in permafrost regions: Field experiment and geothermal modelling. Appl. Therm. Eng. 2017, 115, 670–681. [Google Scholar] [CrossRef]
- Tao, X. Study of Formation Mechanism and Evolution Law of Longitudinal Cracks in Permafrost Region Subgrade; China University Mining and Technology: Beijing, China, 2017. [Google Scholar]
- Chou, Y.-L.; Sheng, Y.; Wei, Z.-M.; Ma, W. Calculation of temperature differences between the sunny slopes and the shady slopes along railways in permafrost regions on Qinghai-Tibet Plateau. Cold Reg. Sci. Technol. 2008, 53, 346–354. [Google Scholar] [CrossRef]
Publisher’s Note: MDPI stays neutral with regard to jurisdictional claims in published maps and institutional affiliations. |
© 2022 by the authors. Licensee MDPI, Basel, Switzerland. This article is an open access article distributed under the terms and conditions of the Creative Commons Attribution (CC BY) license (https://creativecommons.org/licenses/by/4.0/).