Abstract
The Ridracoli artificial basin is the main water reservoir of the Emilia-Romagna region (Northeast Italy). The reservoir was made by construction of a dam on the Bidente River in 1982. It is used as the main drinking water supply of the region and for hydropower production. The physical and chemical parameterseters (temperature, pH, electrical conductivity, and dissolved oxygen) of shallow water are continuously monitored whereas vertical depth profiles of water chemical data (major anions and cations, as well as heavy metals) are available on a bimonthly base. The dataset used in this research is related to the years 2015 and 2016. Data show that the reservoir is affected by an alternation of water stratification and mixing processes due to seasonal change in water temperature, density, and the reservoir water level. In late summer and winter months, the water column is stratified with anoxic conditions at the bottom. During the spring, on the other hand, when storage is at its maximum, water recirculation and mixing occur. The reservoir is characterized by a dynamic system in which precipitation, dissolution, and adsorption processes at the bottom affect water quality along the reservoir depth column. The temperature stratification and anoxic conditions at the reservoir bottom influence the concentration and mobility of some heavy metals (i.e., Fe and Mn) and, consequently, the quality of water that reaches the treatment and purification plant. This study is relevant for water resource management of the reservoir. Assessing the seasonal changes in water quality along the reservoir water column depth is fundamental to plan water treatment operations and optimize their costs. The reservoir assessment allows one to identify countermeasures to avoid or overcome the high concentrations of heavy metals and the stratification problem (i.e., artificial mixing of the water column, new water intakes at different depths operating at different times of the year, blowers, etc.).
1. Introduction
Artificial reservoirs are man-made infrastructures, generally constituted by a dam across a river, aiming at storing freshwater for consumptive (i.e., drinking or process water) and non-consumptive (i.e., fisheries and recreational) human use, as well as to provide hydroelectric power. Dam construction modifies the flow regime of natural water courses and the whole drainage basin in a relatively short period of time [1,2,3] and can alter biodiversity both upstream and downstream [4,5,6].
Lakes and reservoirs are studied around the world and their engineering, biological, geological, and geochemical aspects have been extensively investigated. The major issues of particular relevance to reservoirs and the assessment of their water quality are potential public health impacts due to the spread and transmittal of diseases [7,8] or the release of contaminant from industries and urban settlements adjacent to the reservoir; eutrophication [9,10]; thermal and density stratification; and the associated chemical deterioration [11,12,13]. In reservoirs subject to thermal stratification, the suppression of vertical transport processes at the thermocline normally allows an oxygen gradient to occur, which can cause anoxic conditions to develop in the hypolimnion, favoring internal nutrient loading at the sediment–water interface. This may cause the release of phosphorus [14], but also ammonium, iron, and manganese from the sediments back into the water column [15,16] and create problems for water users requiring a constant water quality.
Silting of reservoirs due to sediment transport and trapping in the river system, bank and shore erosion and eventually bank and slope sliding cause a decrease in storage capacity and reservoir lifetime, as well as water availability [17,18,19,20], and eventually affect water quality due to turbidity and sediment-associated pollutants [21,22].
Reservoirs are, essentially, managed water bodies and, therefore, there is a particular need for the managers to understand their physics, chemistry, and biology [23]. In order to manage large water reservoirs in a sustainable manner and to minimize the occurrence of conditions that interfere with the beneficial uses of their waters, regular collection and analysis of data are required. The aim of this work is to assess the seasonal changes in water quality that may occur in the Ridracoli artificial basin, the main water reservoir of the Emilia-Romagna region, in northeastern Italy. An extended database consisting of continuous monitoring of physical and chemical parameters of shallow water, along with vertical depth profiles, is used to assess seasonal stratification and mixing processes along the water column [23,24]. Changes of the monitored parameters can affect the water quality of the reservoir and do not guarantee an uninterrupted operation of the water management system. The importance of this study relies on the implications that seasonal changes in water quality can have for water and reservoir management, especially in terms of treatment and purification processes required for drinking water production, cost optimization, and other countermeasures to overcome the negative effects related to water stratification issue and dissolved heavy metal concentrations.
2. Study Area
Ridracoli water reservoir is located in the Casentinesi Forests—Campiglia National Park, between Romagna and Tuscany, on the Northern Apennines of Italy (Figure 1). It is at 480 m a.s.l., has a surface area of 1035 km2, a capacity of 33 × 106 m3 with a maximum depth of 82 m, and the total surface area of the drainage basin is 87,510 km2. The climate is subcontinental and submountain, temperatures range from a minimum of around −6 to a maximum of 30 °C, while the yearly mean precipitation is 1400 mm/year.
Figure 1.
The Ridracoli water reservoir showing the main hydrography, direct and indirect reservoir catchments. Shown are also the gutter gallery (black line), Isola and Capaccio, where the water treatment plant and water analysis laboratory are located, respectively. In the small rectangular a sketch of the reservoir showing the two water intakes at 490 and 540 m a.s.l. and the maximum and minimum water level.
The construction of the dam began in 1975 and was completed in 1982 on the confluence between Bidente river and Rio Celluzze creek in the province of Forlì-Cesena. Ridracoli reservoir is directly fed by the Bidente catchment (about 36.9 km2) and indirectly by another nearby catchment of about 51.1 km2 through a gutter gallery, for a total surface of about 88 km2 (Figure 1). The dam is a simple concrete arch gravity dam, 103.5 m high, with a crest 432 m long and a mass of 6 × 105 m3 of concrete [25,26].
The landscape of the drainage area presents narrow and recessed valleys with rocky and densely wooded slopes. This site has been chosen for a number of positive characteristics: a central location with respect to the supplied area, guaranteeing an easy water distribution; good quality of the resource because of the altitude of the catchment and the absence of sources of pollution; and suitable morphology and geological features.
This site is also a nature reserve being part of the National Park, which favors the absence of human settlements ensuring the absence of anthropic pollution sources. The forest cover ensures also a mitigation of the impact of rainfall on the ground, reducing solid particle transport, limiting both water turbidity and reservoir siltation [27]. Monitoring of the hydrobiological regime of the basin indicates oligotrophic and ultraoligotrophic waters, with small chlorophyll concentrations, poor development of phytoplankton, and none revealed toxic events [28,29].
2.1. Geological Setting
The geology of the area presents units from the Successione Romagnola (Figure 2), dated from 20 to 11.6 millions of years ago (Neogene; Miocene; Burdigalian, Langhian and Serravallian) and includes an alternation of sandstones and marl called Marnoso-arenacea formation (MAF). This formation is a thick turbiditic unit deposited in the Tuscan-Umbrian portion of the Inner Periadriatic basin formed during the Miocene [30,31]. This basin was elongated in a NW–SE direction and represented a foredeep located in front of the growing Apennine orogenic wedge. In the area of the Romagna Apennines the MAF forms a belt 90 km long and 40 km wide and reaches a thickness up to 3.5 km [30,31,32]. This deposit includes 14 members that differ according to lithology criteria as arenite/pelite ratio (A/P), average thickness of arenaceous levels, composition of arenites, and stratigraphic position [33]. In the Ridracoli reservoir catchment, the main MAF outcrops include the Members of Premilcuore and Galeata (Figure 2 and Table 1). The first one is the most arenaceous member of the late Burdigalian-Serravallian MAF; the respective body has a lenticular geometry and closes towards the south, causing the direct contact between the Corniolo Member and the Galeata Member. It is characterized by thick to medium layers, sometimes massive, with rare hemipelagic clays; the sandstone/pelite ratio (A/P) varies from 1/2 to greater than 2. It can reach a thickness of 150 m and its age belongs to the Langhian (15.97 ± 0.05 Ma and 13.65 ± 0.05 Ma, Middle Miocene) [34]. The Galeata Member consists again in an alternation of pelite and sandstone, sometimes calcarenites and hemipelagic, with an A/P of about 1/2–1/3. The sandstones are organized from thin to thick and sometimes very thick. The member thickness is about 400 m and the age is attributed to the upper Langhian–lower Serravallian interval (around 13.82 Ma, Middle Miocene) [35].
Figure 2.
Surface geology of the Ridracoli reservoir catchment. (Map coordinate system: WGS84–UTM zone 32 N).
Table 1.
Distribution (%) of members included in the Ridracoli reservoir catchement. Listed are also the age, sandstone/pelite ratio (A/P), and the formation. Refer to Figure 2 and to the surface geology of the Emilia-Romagna region for more details (http://ambiente.regione.emilia-romagna.it/en/geologia/temi/geologia/geology?set_language=en).
2.2. Water Reservoir Management.
The reservoir is managed by Romagna Acque Società delle Fonti S.p.A. and the primary use of the reservoir is to supply drinking water to 48 municipalities in the provinces of Ravenna, Forlì-Cesena, and Rimini, providing alone 50% of the entire water needs. The Romagna coast need a storage of water that could replace groundwater wells and unregulated surface streams, as well as to store water for about 1 million of people that usually move to the coastal area during the summer period. The secondary function of the dam is the production of hydroelectricity for the surrounding area and Romagna Acque’s own facilities.
The water routed to the Capaccio water treatment and purifying plant (Figure 1) is taken by two intakes on the west side of the reservoir, at 490 and 540 m a.s.l., in order to control water uptake based on temperature and turbidity (Figure 1). The two intakes converge and continue to the treatment plants, 11 km downflow (Isola, Figure 1). The unloading system consists of different solutions: surface spillways for water overflow when 559.60 m a.s.l. is reached; middle spillway at 505.80 m a.s.l. connected downstream by a channel; a bottom discharge conduit at 478 m a.s.l. that guarantees the minimum vital outflow of Bidente river, and another bottom discharge at 468 m a.s.l. that lets the water flow directly to the riverbed.
The water from the reservoir reaches the treatment plant and then it undergoes oxidation with ClO2 or KMnO4 to remove organic substances, turbidity, and reduce iron and manganese concentrations. After the clariflocculation treatment and filtration, the water is disinfected with ClO2 or NaClO, while the sludge, which has been separated during the clariflocculation and filtration phases, is sent to a waste collection tank.
All distributed water is thoroughly checked to ensure compliance with the current Italian national legislation (D.M. 14 June 2017; [36]). The water produced and distributed by the Capaccio treatment plant has excellent characteristics and could be classified as oligomineral (fixed residue is 50–500 mg/L) and mineral (fixed residue is 500–1500 mg/L, D.Lgs. No. 105 of 25 January 1992; [37]).
3. Methods
The dataset used in this research was related to the years 2015 and 2016. Data of rainfall and reservoir levels were collected from the control station of Ridracoli (565 m a.s.l., Figure 1), which records continuous daily rain, air temperature, air humidity, wind, and atmospheric pressure.
Physical and chemical parameters (temperature—T, pH, electrical conductivity—EC, redox potential—Eh, and Total Organic Carbon—T.O.C.), as well as chemical data (Fe, Mn, Al, Cl−, NO2−, NO3−, SO42−, CaCO3, Na+, NH4+, K+, Mg2+, and Ca2+) of reservoir water at the intake of the water treatment plant, are provided by the Capaccio laboratory in Santa Sofia, 10 km downstream Ridracoli dam. A Mettler Toledo (mod. T90) with a Rondo autosampler (METTLER TOLEDO, Schwerzenbach, Switzerland) was used for pH, EC, T, and alkalinity with a digital thermometer HD (Delta OHM Srl, Padua, Italy). Anions and cations were analyzed with an ion chromatograph (mod. Dionex ICS 3000; Thermo Fisher Scientific, Waltham, Massachusetts, MA, USA) following the methodology UNI EN ISO 10304-1 [38] and UNI EN ISO 10304-4 [39]. Samples were acidified (5% of HNO3) prior the metal analysis and then concentrations were measured with an ICP-MS (mod. Agilent 7800, Santa Clara, CA, USA) following the methodology UNI EN ISO 17294-2 [40].
Reservoir samples collected in the Ridracoli water basin were taken from the sampling station close to the dam structure where a floating device was anchored (Figure 1). Monitoring was carried out with a bimonthly frequency by the Regional Agency for Prevention, Environmental and Energy of Emilia-Romagna-Arpae (D.Lgl. 152/06 part III; [41]). Water samples were collected along the water column at the surface and 10, 25, 40, and 50 m deep from the surface. It has to be highlighted that the maximum depth of the monitoring sampling campaign by Arpae is always 50 m below the surface, even if the reservoir has a greater depth. The dataset includes physical and chemical parameters: T, dissolved oxygen (DO), pH, EC, and Total Dissolved Solids - TDS, and the following elements: HCO3−, SO42−, Cl−, NO2−, NO3−, Na+, K+, Ca2+, Mg2+, NH4+, CaCO3, Fe, Mn, As, Zn, and Cu, along with other heavy metals that are not discussed in the present study because of always being below the detection limits (B < 50; Cd < 0.04; CrTOT < 1; Hg < 0.01; Ni < 1; and Pb < 1; µg/L).
With the aim of gathering more chemical and physical information on major and trace elements distribution along the water column two more sampling campaigns were carried out in October 2015 and April 2016 by the University of Bologna (Italy) and CNR-ISMAR (Institute of Marine Science, Italy). The selected timing was planned to compare the two extreme situations of reservoir volume: maximum volume in April, after winter precipitation and minimum volume in October after the summer withdraw and usage. Water samples were collected at the top, middle, and bottom of the water column (0, 25, and 50 m in 2015 and 1, 35, and 70 m in 2016), at the same sampling station used by Arpae campaigns (Figure 1). In order to record continuous chemical–physical parameters along the column, the vertical profiles were carried out by a Niskin bottle (Osil Scientific International Ltd., Havant, Hampshire, UK) and a CTD probe (mod. Hydrolab MS5 (OTT Hydromet GmbH, Kempten, Germany).
4. Results
4.1. Reservoir Volume and Water Level
Precipitation, reservoir water level, reservoir volume, and water withdrawals for the year 2015 and 2016 are reported in Figure 3.
Figure 3.
Rainfall (mm) and water level (m a.s.l.) on the left y-axes; reservoir volume and water withdraw (106 m3) on the right y-axes in 2015 and 2016. The dash line indicates the surface spillway elevation at 559.60 m a.s.l.
Precipitations in 2015 and 2016 have a similar pattern with two peaks during the year, in February/March (217.8 mm, 2015; 335.2 mm, 2016) and in October/November (268.8 mm, 2015; 218.8 mm, 2016). The minima in precipitation were recorded during summer months (June–August) and in December, with monthly values less than 7 mm. In comparison, the period of April–September had an average rainfall of 75.4 mm/month and the two periods of January–March and October–November with 189.8 mm. The amount of total precipitation was about 1293.6 mm in 2015 and 1519.2 mm in 2016, in accordance with the annual average rainfall on Apennines in the Emilia-Romagna region [42]. The characteristic of precipitation over the region is known to strongly depend on the season, with a more intense seasonal cycle over the mountain area, where the precipitations peak is generally in October [42].
The average water volume stored in the reservoir in 2015 and 2016 was 24.2 × 106 m3, with a maximum value of 33.1 × 106 m3 in March and April and a minimum of 12.5–15 × 106 m3 in October–November. This seasonal dynamic (visible for a longer time series at http://www.romagnacque.it/lacqua_in_diretta/diga_di_ridracoli/andamento_idrologico_annuo) fits the purpose of the reservoir since it was built to store water for the water demand of the dry season.
The reservoir volume changed seasonally depending on the balance between inputs from direct and indirect catchments (gutter pipe in Figure 1) and withdraw. The minimum volume coincides with the period right after summer, which is characterized by an average withdraw of 5.2 × 106 m3 from April to September. The main water withdraw occurred in this period in order to accommodate water demands for summer tourism and agricultural use (irrigation season goes from May to October [43]) with an amount of water of 32 × 106 m3 in 2015 and 30 × 106 m3 in 2016, and averages of 5.3 and 5 × 106 m3/month, respectively. Lower water withdrawals occurred from autumn to winter (October–January), with average values of 3.4 and 2.9 × 106 m3/month. Sometime in March, due to snow melting and intense spring rainfall, water reaches the maximum storage capacity and overflowed from the dam (see peaks in Figure 3).
4.2. Physical Parameters
Air, surface water, and intake water temperatures are shown in Figure 4. As expected, air and surface water temperatures at the reservoir show similar patterns, with maximum values in June and July and minimum values in January and February. Air temperature has a minimum value of 2.3 °C and maximum of 23.4 °C, averaged over two years. Surface water temperatures show slightly higher values than air, never below 6.8 °C, which reflects the heat storage capacity of lakes and water reservoirs [44,45]. During withdrawal and transport downstream to the Capaccio facility, the intake water temperatures decreased as shown by the differences in temperatures between the black and green lines of Figure 4, the temperatures measured at the treatment plant were on average of 9.1 °C with a standard deviation of 2.3 °C, whereas the surface water in the reservoir displayed an average 14.4 °C and a standard deviation of 6.7 °C.
Figure 4.
Temperature of surface water in the reservoir (black line), air at 2 m (red line), and water intake at the water treatment plant (green line) in 2015 and 2016.
The maximum difference in temperature between surface and bottom water was observed in July (17.7 °C in 2015 and 15.8 °C in 2016). Figure 5 shows a deep thermocline occurring in summer (June and July). The stratification started in April with a 5–8 °C temperature gradient between surface and deep cold water (around 8 °C). Solar heating of the water surface creates density gradients within lakes and water reservoirs preventing efficient mixing of the water column with consequent stratification of the water bodies [46]. Changes in physical and environmental conditions may manifest in a seasonal stratification of the reservoir with cooler water layers at the bottom during summer months. In summer the surface water is warmed up by solar heating and reaches 24 °C whereas bottom water remains to about 8–9 °C. In the literature, these layers are classified as epilimnion, which is the first upper layer, metalimnion (with sharp thermocline), and hypolimnion at the bottom [27,47].
Figure 5.
Reservoir temperatures along the water column.
In October, as the air temperature decreased, the surface water temperatures cooled down, reducing progressively the differences between layers along the water column. After October, until the warm months, the temperature throughout the vertical water column was almost constant, with no stratification in epilimnion, metalimnion, and hypolimnion.
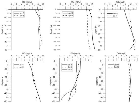
In Figure 6 the concentration of dissolved oxygen (DO in mg/L) for the first 50 m of the water column was reported. During December, January, and April DO shows the higher values ranging constantly around 9–10 mg/L for the entire water column. The DO values started to decrease below 9 mg/L in June, July, and October and a clear minima in DO saturation appeared in October, when DO concentration decreased until 0.6 mg/L from −30 m downward (grey line in Figure 6). This decreasing in DO confirmed the reservoir stratification, indicating the trophic quality of the water body.
Figure 6.
Dissolved oxygen (DO, mg/L) distribution along the water column in 2015 and 2016 for each monitoring campaign (6 per year). The grey line on the October graph indicates data collected continuously along the water column, down to the reservoir bottom, by the CTD probe.
4.3. Chemical Parameters
The summary statistics of the water samples considered in the present work is reported in Table 2, subdivided according to the water sample type. All the samples were Ca-Mg-HCO3 (bicarbonate-calcium-magnesium water) according to Langelier-Ludwig [48] (Figure S1 in the Supplementary Material). With median EC varying between 300 at 20 °C (Surface Water, Table 2) and 315.5 µS/cm (Bottom water, Table 2), water could be classified as oligomineral [37] (Table 2). The surface and bottom water were quite similar as concerns the major hydrogeochemical features. Some differences appeared in the median values and maxima for NO2−, NH4+, and Mn higher in bottom waters and NO3−, Fe, and Zn higher in surface water. The samples at the Capaccio water treatment plant were quite comparable with the average reservoir, however indicating some differences in the median values of Mn, Fe, and Al, which were higher in the Capaccio water.
Table 2.
Descriptive statistics (minimum, median, maximum, and median absolute deviation—MAD) of all water samples collected in the Ridracoli reservoir and Capaccio water treatment plant. The first group refers to all water samples collected in the reservoir, while second and third groups refers to the same water samples but divided into surface and deep samples, respectively. (To be noted: DO, EC, and Zn values of Capaccio water samples are missing because not measured; MAD values are missing (‘n.a.’ in table) for samples with the majority of concentrations below detection limits).
Gibbs diagram (Figure 7) represents the ratio of Na+/(Na+ + Ca2+) and Cl−/(Cl− + HCO3−) as a function of TDS, which is widely used to assess the functional sources of dissolved chemical constituents, such as precipitation dominance, rock dominance, and evaporation dominance [49]. Our samples fell in the rock–water interaction dominated waters, with limited dispersion, suggesting the strong influence of carbonate minerals common in the catchment bedrock as a major factor controlling water chemistry.
Figure 7.
Gibbs plot a: TDS vs Na/(Na + Ca), and b: TDS vs Cl/(Cl + HCO3) showing major processes controlling water chemistry of the Ridracoli reservoir water.
The stratification of the reservoir shown by physical parameters (Figure 5 and Figure 6) could have an effect on the vertical distribution of several elements (Figure 8). Fe and Mn had different behavior compared to Al, K, and Mg, as shown in Figure 8. Profiles show surface, middle, and bottom concentrations along the water column in the two periods of the year: October 2015, when the reservoir had the smallest water volume (Figure 3) and the anoxic condition at the bottom (Figure 6); and April 2016, when the reservoir had at its maximum water storage and no oxygen stratification was recorded.
Figure 8.
Fe, Mn, Al, K, and Mg concentrations along the water column in October 2015 and April 2016 via Niskin bottle sampling.
The pattern for dissolved Fe and Mn elements shows a downward increase in concentration in the late summer observation (October 2015), when water stratification was present, ranging from concentrations of 7.5 μg/L of Fe and <1 μg/L of Mn in surface waters to 19.6 and 329 μg/L to the bottom, respectively. Lower concentrations at the bottom could be found instead when the water column was not stratified (April 2016), ranging from of 55.3 μg/L Fe and 36 μg/L of Mn at the top to 12.6 and 1.1 μg/L, respectively, showing opposite behavior.
Other elements show different behavior along the water column and across the year than Fe and Mn. Al concentrations decreased along the column from 6.8 to 4.5 μg/L in October and increased towards the bottom in April 2016, from 21.4 to 62.6 μg/L.
Other elements, such as K, Mg (Figure 8), Na, Cl, and Cu (Supplementary material, Table S1) are constant along the water column and during the whole year. Concentrations of as decreased in April when the water column was fully oxygenated, because it was absorbed onto Fe-Mn-oxyhydroxides. In the presence of reducing environment and relative absence of sulphur (S2− < 0.1), the high concentrations of Fe2+ and Mn2+ were in agreement with the presence in solution of As.
Figure 9 shows a decrease in NO3− concentration (from 1.4 to 0.7 mg/L) in the late summer profile, coupled with the appearance of NO2− (from <0.05 to 0.18 mg/L) and traces of NH4+ (<0.05–0.1 mg/L) in the deepest water samples. The reduced nitrogen species at the reservoir bottom was linked to the anoxic conditions and degradation of organic matter. On the contrary, when the water column was mixed, their concentrations were constant throughout the water column.
Figure 9.
NO2−, NO3−, and NH4+ (mg/L) profiles along the water column in October 2015 and April 2016.
These changes in chemistry along the water column across the year affected the quality of water, which reached the water treatment plant in Capaccio. At the treatment plant, the monitored intake water chemistry did not show significant variation in the concentration of the majority of elements analyzed during the year, except for Fe and Mn. Both elements show a significant increase in August and September (Figure 10). The average Fe concentrations from August to October was 200 μg/L that were more than double the average value of the remaining months (90 μg/L); Mn revealed a similar trend with average of 58 μg/L in late summer against the average value of 12.6 μg/L in the remaining months.
Figure 10.
FeTOT and Mn (µg/L) concentrations at the water treatment plant at Capaccio in 2015 and 2016.
5. Discussion
Overall, water chemistry at the Ridracoli reservoir is controlled by rock weathering of the catchment (Figure 7). Weathering of the outcrop of sandstones and marl in the Bidente Catchment (Figure 2) is the responsible mechanism for the Ridracoli water chemistry. In addition to Ca2+ derived from the weathering of fine-grained lithologies, turbiditic unit of Marnoso-Arenacea formation (MAF), there are also sandstone beds enriched in carbonate [31], which have higher content of CaO than other turbiditic sandstone units present in the northern Apennines [50,51].
The Ridracoli water reservoir behaves as a monomictic lake that remains stably stratified through the summer season (July–October) and mixes from top to bottom during the cold season (November–Feburary, winter turnover). Thermal stratification (Figure 5) occurs in summer due to the much higher solar heating rate of the surface waters than the bottom waters. The upper reservoir water (epilimnion) becomes warmer than the bottom waters (hypolimnion) and the boundary between these layers (metalimnion) turns into a thermocline. The thermocline and the density difference act as a barrier limiting the water column mixing [46,52] and the diffusion of heat and DO between the epilimnion and the hypolimnion [53]. Thermal stratification begins in summer and remains stable throughout autumn until the surface waters cool sufficiently that the homogenization of the water temperature occurs, starting from the top (first 25–30 m). The reservoir becomes isothermal and the water column can fully mix once more. The mechanism for stratification is driven by the temperature that induces density difference between the different layers.
Strong thermal stratification also increases the strength of the thermocline as a barrier to the transport of oxygen from the epilimnion to the hypolimnion, limiting processes of vertical mixing [13]. Dissolved oxygen (DO) is a key indicator of the “health” of a reservoir [53], with high DO concentrations in both the hypolimnion and epilimnion being associated with good health. During the thermal stratification period, DO concentrations decreased as shown in Figure 6, reaching hypoxia and eventually anoxic values (max 0.6 mg/L from CTD probe in October 2015) at the reservoir bottom. During the stratification condition, cold and dense water trapped at the bottom between sediment and an upper less dense layer, alters its chemistry and leaches or absorbs elements [13]. The occurring additional process at the reservoir bottom is the organic matter degradation that under oxygen depletion occurs using other oxidizing agents, different from oxygen [54]. In fact, denitrification processes occur causing a decrease in NO3− and an increase in NO2− and NH4+ concentrations (Figure 9), along with depletion of dissolved and freely available oxygen [55,56,57]. In addition, insoluble metal oxides, such as those of Mn and Fe, can be involved as secondary oxidizing agents during organic matter degradation thus leading to a release of soluble reduced forms in solution (Fe and Mn in Figure 8). When the hypolimnion becomes re-oxygenated again, the metal oxides form and precipitate down into the sediment once more. Heavy metal adsorption (i.e., As in Table S1 of Supplementary Material) by insoluble Fe-Mn-oxyhydroxides and precipitations can occur at this stage [58,59] and explains the downward depletion in concentrations during homogeneous water column (April) compared to stratification condition (October; Figure 8 and Table S1 in the Supplementary Material). Equilibrium is established between the soluble and insoluble components where the soluble component tends to diffuse up along the column, towards the oxygenated water, where it is oxidized to the insoluble form.
These dynamics in the reservoir induce a series of chemical reactions that change water column chemistry through the year and consequently the water reaching the treatment plant [60,61]. The cyclic monthly patterns of Fe and Mn concentrations observed at the Capaccio treatment plant (Figure 10) is the direct consequence of water column stratification-mixing processes occurring in the reservoir: higher concentrations of soluble reduced forms in solution during late summer and fall, and lower concentration in winter and spring due to water mixing and development of oxic conditions, which cause precipitation of insoluble Fe-Mn-oxyhydroxides.
When reservoir water quality issues affect their resource management, some points need to be considered. The maximum withdrawal of water coincides with the summer season (Figure 3), when anoxia is developing and Fe2+ and Mn2+ concentrations starts increasing. This also coincides with the lowest water level period, when it is no longer possible to withdraw from the upper intake at 540 m a.s.l., but the deepest intake at 490 m a.s.l. has to be used. From April to October the volumes of stored water, is more than halved and the water level significantly decreases from about 557 (78 m deep water column) to about 532 m a.s.l. (55 m deep water column). This decrease affects the intake water chemistry that is withdrawn from the spot close to the bottom layer (sketch in Figure 1), enriched in Fe2+ and Mn2+.
The Fe and Mn limits for drinking water in Italy are 200 and 50 µg/L, respectively (D. Lgs. 2 February 2001, n. 31; [62]). These thresholds are occasionally exceeded (Figure 10) leading to the implementation of further water oxidation, clariflocculation, and filtration processes at the Capaccio treatment plant with an increase in operational costs.
The reservoir water quality can be managed by altering operating regimes, changing water uses, blending waters of varying quality [63], as well as by diversifying the depths of the withdrawals valves in order to avoid selective draw-induced stratification and create a forced mixing of the water column. In the short time, the installation of new water intakes at different depth to seasonally modify the withdrawal depth and accommodate the intra-annual variability of water quality seems to be the more feasible solution for the studied reservoir.
Other interventions could prevent anoxic water discharge, forcing the artificial mixing of oxygenated upper water with the bottom water or increase the DO in the bottom water thanks to external input of oxygen [64,65]. Another alternative is the positioning of floating mats on the water surface by leading vegetables to accumulate the analytes of concern thanks to specific plants [66,67], even if it seems more suitable for shallow reservoir.
Attention should also be paid on the siltation phenomenon that trapping the sediments at the bottom will fill, over time, the reservoir. The continuous decrease of reservoir depth will bring hypolimnion much closer to the deepest water intake that is used in the summer period. In the future, this phenomenon could lead to a worsening of the water quality reaching the treatment plant.
Finally, it has also to be considered that the water quality assessment of a wide reservoir through only one monitoring site cannot be seen as representative for the entire basin; for this reason monitoring network based on multiple sampling sites would be recommended for the entire reservoir quality assessment.
6. Conclusions
The seasonal changes in water chemistry of the Ridracoli artificial basin, the main water reservoir of the Emilia-Romagna region (Northeast Italy) was investigated due to an extended and integrated database of physical and chemical parameters.
First of all, based on the water analysis we could conclude that Ridracoli was a good quality reservoir for drinking water purposes. However, thermal stratification of the reservoir played a central role in water quality throughout the year, with consequent implication for water treatment. Due to thermal stratification, reservoir water quality changed seasonally due to absorption and release processes, equilibrium between soluble and insoluble components (i.e., Fe and Mn), nitrification and denitrification processes, and organic matter degradation.
Two different conditions were identified in the reservoir: (I) a short period (August–November), during which the reservoir had the annual minimum water storage (12–15 × 106 m3) and the water column shows marked thermal stratification and an anoxic layer at the bottom; (II) a long period (December–July) during which the water volume started to increase till its maximum (33 × 106 m3), the stratification totally disappeared and the oxic condition was constant along the water column. In the first condition, a consistent release of Mn2+ and Fe2+ and an increase in NO2− and NH4+ concentrations (denitrification) occurred at the bottom water. During the second period, the water column was homogenous in temperature and DO concentration, and the bottom enrichment in Mn2+ and Fe2+ disappeared due to Fe-Mn-oxyhydroxides precipitation.
From a management point of view, these dynamics affected the quality of water reaching the downflow treatment plant of Capaccio, which purifies and distributes water for about one million of people during the tourist summer season. When the limits of Fe and Mn concentrations are exceeded (after summer season) the treatment plant has to implement further water treatment and purification processes with an increase in costs.
The comprehension of the seasonal stratification and its related effects on bottom water geochemistry will allow one to implement management practices in order to reduce costs of further purification processes. The installation of new water intakes at several depths operating in different periods of the year in order to accommodate the intra-annual variability of water quality seems to be the most feasible solution for the artificial basin. Other alternatives include the use of artificial water column mixing or external input of oxygen to solve the anoxic condition at the bottom. More attention should also be paid on the water monitoring system; considering the reservoir extension, multiple sampling sites, and sediment–water interface monitoring campaigns would be recommended to fully assess the water quality and better characterize the release and absorption processes under different redox condition.
Supplementary Materials
The following are available online at https://www.mdpi.com/2073-4441/12/2/581/s1, Figure S1: Langelier-Ludwig classification diagrams of Ridracoli and Capaccio waters; Table S1: Major and trace element concentrations of Ridracoli and Capaccio water samples.
Author Contributions
Data curation, Investigation, Methodology, Writing—original draft, S.T.; Formal analysis, S.T., B.M.S.G. and N.G.; Project administration, Supervision, E.D.; Resources, I.V.; Validation, B.M.S.G. and E.D.; Visualization, B.M.S.G.; Writing—review & editing, B.M.S.G., N.G., M.A., and E.D. All authors have read and agreed to the published version of the manuscript.
Funding
This research received no external funding.
Acknowledgments
The authors would like to thanks the Romagna Acque—Società delle Fonti S.p.a. and Regional Agency for Prevention, Environmental and Energy of Emilia-Romagna (Arpae) for data providing and sharing and for giving access to the dam.
Conflicts of Interest
The authors declare no conflict of interest.
References
- Mailhot, A.; Talbot, G.; Ricard, S.; Turcotte, R.; Guinard, K. Assessing the potential impacts of dam operation on daily flow at ungauged river reaches. J. Hydrol. Regional Studies 2018, 18, 156–167. [Google Scholar] [CrossRef]
- Marcinkowski, P.; Grygoruk, M. Long-term downstream effects of a dam on a lowland river flow regime: Case study of the Upper Narew. Water 2017, 9, 783. [Google Scholar] [CrossRef]
- Magilligan, F.J.; Nislow, K.H. Changes in hydrologic regime by dams. Geomorphology 2005, 71, 61–78. [Google Scholar] [CrossRef]
- Schmutz, S.; Moog, O. Dams: Ecological impacts and management. In Riverine Ecosystem Management; Springer: Berlin/Heidelberg, Germany, 2018; pp. 111–127. [Google Scholar]
- Merritt, D.M.; Scott, M.L.; Poff, N.L.; Auble, G.T.; Lytle, D.A. Theory, methods and tools for determining environmental flows for riparian vegetation: Riparian vegetation-flow response guilds. Freshw. Biol. 2009, 55, 206–225. [Google Scholar] [CrossRef]
- Jansson, R. The effect of dams on biodiversity. In Dams under Debat; Johansson, B., Sellberg, B., Eds.; Swedish Research Council Formas: Stockholm, Sweden, 2006. [Google Scholar]
- Ampadu, B.; Akurugu, B.A.; Zango, M.S.; Abanyie, S.K. Assessing the impact of a dam on the livelihood of surrounding communities: A case study of Vea Dam in the Upper East Region of Ghana. J. Environ. Earth Sci. 2015, 5, 4. [Google Scholar]
- Pott, D.B. Dams and disease: Ecological design and health impacts on large dams, canals and irrigation systems. J. Hydraul. Eng. 2000, 126, 392. [Google Scholar] [CrossRef]
- Munyati, C. A spatial analysis of eutrophication in dam reservoir water on the Molopo River at Mafikeng, South Africa. Sustain. Water Qual. Ecol. 2015, 6, 31–39. [Google Scholar] [CrossRef]
- van Ginkel, C.E.; Silberbauer, M.J. Temporal trends in total phosphorus, temperature, oxygen, chlorophyll-a and phytoplankton populations in Hartbeespoort Dam and Roodeplaat Dam, South Africa, between 1980 and 2000. Afr. J. Aquat. Sci. 2007, 32, 63–70. [Google Scholar] [CrossRef]
- Ziaie, R.; Mohammadnezhad, B.; Taheriyoun, M.; Karimi, A.; Amiri, S. Evaluation of thermal stratification and eutrophication in Zayandeh Roud Dam Reservoir using two-dimensional CE-QUAL-W2 Model. J. Environ. Eng. 2019, 145, 05019001. [Google Scholar] [CrossRef]
- Mao, Y.; He, Q.; Li, H.; Su, X.; Ai, H. Thermal structure-induced biochemical parameterseters stratification in a subtropical dam reservoir. Water Environ. Res. 2018, 90, 2036–2048. [Google Scholar] [CrossRef]
- Hawkins, P.R. Thermal and chemical stratification and mixing in a small tropical reservoir, Solomon Dam, Australia. Freshw. Biol. 1985, 15, 493–503. [Google Scholar] [CrossRef]
- Lake, B.A.; Coolidge, K.M.; Norton, S.A.; Amirbahman, A. Factors contributing to the internal loading of phosphorus from anoxic sediments in six Maine, USA, lakes. Sci. Total Environ. 2007, 373, 534–541. [Google Scholar] [CrossRef] [PubMed]
- Chen, S.; Little, J.C.; Carey, C.C.; McClure, R.P.; Lofton, M.E.; Lei, C. Three-Dimensional effects of artificial mixing in a shallow drinking-water Resevoir. Water Environ. Res. 2018, 54, 425–441. [Google Scholar] [CrossRef]
- Munger, Z.W.; Carey, C.C.; Gerling, A.B.; Hamre, K.D.; Doubek, J.P.; Klepatzki, S.D.; McClure, R.P.; Schreiber, M.E. Effectiveness of hypolimnetic oxygenation for preventing accumulation of Fe and Mn in a drinking water reservoir. Water Res. 2016, 106, 1–14. [Google Scholar] [CrossRef] [PubMed]
- Morris, G.L.; Fan, J. Reservoir Sedimentation Handbook; McGraw-Hill Book Co.: New York, NY, USA, 1998. [Google Scholar]
- Arnason, J.G.; Fletcher, B.A. A 40+ year record of Cd, Hg, Pb, and U deposition in sediments of Patroon Reservoir, Albany Country, NY, USA. Environ. Pollut. 2003, 123, 383–391. [Google Scholar] [CrossRef]
- de Araújo, J.C.; Güntner, A.; Bronstert, A. Loss of reservoir volume by sediment deposition and its impact on water availability in semiarid Brazil. Hydrol. Sci. J. 2006, 51, 157–170. [Google Scholar] [CrossRef]
- Randle, T.J.; Bounty, J.A. Sediment Analysis Guidelines for Dam Removal; U.S. Department of the Interior, Bureau of Reclamation for the Federal Advisory Committee on Water Information, Subcommittee on Sedimentation: Denver, CO, USA, 2017.
- UNESCO Sediment Issues & Sediment Management in Large River Basins: Interim Case Study Synthesis Report; UNESCO Office in Beijing, International Research and Training Centre on Erosion and Sedimentation (China): Beijing, China, 2011; p. 82.
- Thompson, T.; Fawell, J.; Kunikane, S.; Jackson, D.; Appleyard, S.; Callan, P.; Bartram, J.; Kingston, P. Chemical Safety of Drinking-Water: Assessing Priorities for Risk Management; World Health Organization: Geneva, Switzerland, 2007; p. 160. [Google Scholar]
- Jørgensen, S.E.; Tundisi, J.G.; Tundisi, T.M. Handbook of Inland Aquatic Ecosystem Management; CRC Press: Boca Raton, FL, USA; Taylor & Francis Group: Abingdon-on-Thames, UK, 2013; p. 452. [Google Scholar]
- Calmano, W.; Hong, J.; Förstner, U. Binding and mobilization of heavy metals in contaminated sediments affected by pH and redox potential. Water Sci. 1993, 28, 223–235. [Google Scholar] [CrossRef]
- Buffi, G.; Manciola, P.; Grassi, S.; Barberini, M.; Gambi, A. Survey of the Ridracoli Dam, UAV-based photogrammetry and traditional topographic techniques in the inspection of vertical structures. Geomat. Nat. Hazards Risk 2017, 8, 1562–1579. [Google Scholar] [CrossRef]
- Buffi, G.; Manciola, P.; Grassi, S.; Barberini, M.; Gambi, A. Influence of Construction Joints in Arch-Gravity Dams Modelling: The Case of Ridracoli. In Proceedings of the 26th International Congress on Large Dams, Vienna, Austria, 4 July 2018; pp. 1047–1062. [Google Scholar]
- Uhlmann, D.; Paul, L.; Hupfer, M.; Fischer, R. Lakes and reservoirs. In Treatise on Water Science; Wilderer, P., Ed.; Elsevier: Amsterdam, The Netherlands, 2011; Volume 2, pp. 157–213. [Google Scholar]
- Arpae. Valutazione Dello Stato Delle Acque Superficiali Lacustri 2010–2013; Regional Agency for Prevention, Environmental and Energy, Emilia-Romagna Region: Emilia-Romagna, Italy, 2015; p. 47. [Google Scholar]
- Arpae. Valutazione Dello Stato Delle Acque Superficiali Lacustri 2014–2016; Regional Agency for Prevention, Environmental and Energy, Emilia-Romagna Region: Emilia-Romagna, Italy, 2018; p. 47. [Google Scholar]
- Ricci Lucchi, F. Turbidite dispersal in a Miocene deep-sea plain. Geol. Mijinbouw 1978, 57, 559–576. [Google Scholar]
- Gandolfi, G.; Paganelli, L.; Zufffa, G. Petrology and dispersal patterns in the Marnoso-arenacea formation (Miocene, Northern Apennines). J. Sediment. Petrol. 1983, 53, 493–507. [Google Scholar]
- Ricci Lucchi, F.; Valmori, E. Processi e meccanismi di sedimentazione. Sedimentologia 1980, 2, 212. (In Italian) [Google Scholar]
- Martelli, L.; Farabegoli, E.; Benini, A.; De Donatis, M.; Severi, P.; Pizziolo, M.; Pignone, R. La geologia del Foglio 265- S. Piero in Bagno. In La Cartografia Geologica della Emilia Romagna; Servizio Cartografico e Geologico, Regione Emilia Romagna: Bologna, Italy, 1994. [Google Scholar]
- Cornamusini, G.; Martelli, L.; Conti, P.; Pierucci, P.; Benini, A.; Bonciani, F.; Callegari, I.; Carmignani, L. Note Illustrative Della Carta Geologica d’Italia Alla Scala 1:50000, Foglio 266 Mercato Saraceno; ISPRA- Servizio Geologico d’Italia, Regione Emilia Romagna: Bologna, Italy, 2002. [Google Scholar]
- Benini, A.; Cremonini, G.; Martelli, L. Note Illustrative Della Carta Geologica d’Italia Alla Scala 1:50000, Foglio 255 Cesena; ISPRA-Servizio Geologico d’Italia: Rome, Italy, 2009. [Google Scholar]
- D.M.—Decree of the Ministry of Health. June 14 2017, Implementation of Directive (EU) 2015/1787, which amends Annexes II and III of Directive 98/83/EC on the quality of water intended for human consumption. In Amendment of Annexes II and III of Legislative Decree 2 February 2001; Gazzetta Ufficiale (G.U. n. 192 of the 18th of August 2017; Decree of the Ministry of Health: Rome, Italy, 2017. [Google Scholar]
- D. Lgs.—Legislative Decree. Lgs.—Legislative Decree. Implementation of Directive n. 80/777/EEC Relating to the Use and Marketing of Natural Mineral Waters; 25 January 1992, n. 105; Gazzetta Ufficiale (G.U. n. 39 of the 17th of February 1992); Gazzetta Ufficiale: Rome, Italy, 1992. [Google Scholar]
- UNI EN ISO 10304-1 Water Quality—Determination of Dissolved Anions by Liquid Chromatography of Ions—Part 1: Determination of Bromide, Chloride, Fluoride, Nitrate, Nitrite, Phosphate and Sulfate; ISO: Geneva, Switzerland, 2007.
- UNI EN ISO 10304-4 Water Quality—Determination of Dissolved Anions by Liquid Chromatography of Ions—Part 4: Determination of Chlorate, Chloride and Chlorite in Water with Low Contamination (ISO 10304-4:1997); ISO: Geneva, Switzerland, 1997.
- UNI EN ISO 17294-2. Water Quality—Application of Inductively Coupled Plasma Mass Spectrometry (ICP-MS)—Part 2: Determination of Selected Elements Including Uranium Isotopes; ISO: Geneva, Switzerland, 2016.
- D.Lgs.—Legislative Decree, 3 April 2006, n. 152. In Environmental Standards; Part III—Regulations on soil protection against desertification, protection of water from pollution and water resource management; Gazzetta Ufficiale (G-U.) n. 88 of the 14th of April 2006; Gazzetta Ufficiale: Rome, Italy, 2006.
- Pavan, V.; Romozeiu, R.; Cacciamani, C.; Di Lorenzo, M. Daily precipitation observations over Emilia-Romagna: Mean values and extremes. Int. J. Climatol. 2008, 28, 2065–2079. [Google Scholar] [CrossRef]
- Tomei, F.; Antolini, G.; Tomozeiu, R.; Pavan, V.; Villani, G.; Marletto, V. Analysis of Precipitation in Emilia-Romagna (Italy) and Impacts of Climate Change Scenarios. In Proceedings of the International Workshop Advances in Statistical Hydrology, Taormina, Italy, 23–25 May 2010. [Google Scholar]
- Rodriguez-Rodriguez, M.; Moreno-Ostos, E.; De Vicente, I.; Cruz-Pizarro, L.; Da Silva, S.L.R. Thermal structure and energy budget in a small high mountain lake: La Caldera, Sierra Nevada, Spain, New Zealand. J. Mar. Freshw. Res. 2004, 38, 879–894. [Google Scholar] [CrossRef]
- Wetzel, R.G.; Likens, G.E. The Heat Budget of Lakes. In Limnological Analyses; Springer: New York, NY, USA, 2000; pp. 45–56. [Google Scholar]
- Winton, R.S.; Calamita, E.; Wehrli, B. Reviews and syntheses: Dams, water quality and tropical reservoir stratification. Biogeosciences 2019, 16, 1657–1671. [Google Scholar] [CrossRef]
- Lewis, W.M., Jr.; McCutchan, J.H., Jr.; Roberson, J. Effects of Climatic Change on Temperature and Thermal Structure of a Mountain Reservoir. Water Resour. Res. 2019, 55, 1988–1999. [Google Scholar] [CrossRef]
- Langelier, W.F.; Ludwig, H.F. Graphical methods for indicating the mineral character of natural waters. AWWA 1942, 34, 335–352. [Google Scholar] [CrossRef]
- Gibbs, R.J. Mechanisms controlling world water chemistry. Science 1970, 17, 1088–1090. [Google Scholar] [CrossRef]
- Dinelli, E.; Lucchini, F.; Mordenti, A.; Paganelli, L. Geochemistry of Oligocene-Miocene sandstones of the northern Apennines (Italy) and evolution of chemical features in relation to provenance changes. Sediment. Geol. 1999, 127, 193–207. [Google Scholar] [CrossRef]
- Lancianese, V.; Dinelli, E. Different spatial methods in regional geochemical mapping at high density sampling: An application on stream sediment of Romagna Apennines, Northern Italy. J. Geochem. Explor. 2015, 154, 143–155. [Google Scholar] [CrossRef]
- Magee, M.R.; Wu, C.H. Response of water temperatures and stratification to changing climate in three lakes with different morphometry. Hydrol. Earth Syst. Sci. 2017, 21, 6253–6274. [Google Scholar] [CrossRef]
- Burns, N.M. Using hypolimnetic dissolved oxygen depletion rates for monitoring lakes. N. Z. J. Mar. Freshw. 1995, 29, 1–11. [Google Scholar] [CrossRef]
- Berner, R.A. Early Diagenesis: A Theoretical Approach; Princeton University Press: Princeton, NJ, USA, 1980; p. 241. [Google Scholar]
- Jossette, G.; Leporcq, B.; Sanchez, N.; Philippon. Biogeochemical mass-balances (C, N, P, Si) in three large reservoirs of the Seine Basin (France). Biogeochemistry 1999, 47, 119–146. [Google Scholar] [CrossRef]
- Wall, L.G.; Tank, J.L.; Royer, T.V.; Bernot, M.J. Spatial and temporal variability in sediment denitrification within an agriculturally influenced reservoir. Biogeochemistry 2005, 76, 85–111. [Google Scholar] [CrossRef]
- Xiong, Z.; Guo, L.; Zhang, Q.; Liu, G.; Liu, W. Edaphic conditions regulate denitrification directly and indirectly by altering denitrifier abundance in wetlands along the Han River, China. Environ. Sci. Technol. 2017, 51, 5483–5491. [Google Scholar] [CrossRef]
- Sigg, L.; Sturm, M.; Kistler, D. Vertical transport of heavy metals by settling particles in Lake Zurich. Limnol. Oceanogr. 1987, 32, 112–130. [Google Scholar] [CrossRef]
- Balistrieri, L.S.; Murray, J.W.; Paul, B. The geochemical cycling of trace elements in a biogenic meromictic lake. Geochim. Cosmochim. Acta 1994, 58, 3993–4008. [Google Scholar] [CrossRef]
- Casamitjana, X.; Serra, T.; Colomer, J.; Baserba, C.; Perez-Losada, J. Effects of the water withdrawal in the stratification patterns of a reservoir. Hydrobiologia 2003, 504, 21–28. [Google Scholar] [CrossRef]
- Elci, S. Effects of thermal stratification and mixing on reservoir water quality. Limnology 2008, 9, 135–142. [Google Scholar] [CrossRef]
- D. Lgs. Legislative Decree, 2 February 2001, n. 31. In Implementation of Directive 98/83/EC on the Quality of Water Intended for Human Consumption as Amended and Supplemented by Legislative Decree February 2; Gazzetta Ufficiale (G.U.) n. 52 of the 3rd of March 2001; Gazzetta Ufficiale: Rome, Italy, 2002.
- Gibbs, M.; Kickey, C. Guidelines for Artificial Lakes. National Institute of Water & Atmospheric Research Ltd, Hamilton, New Zealand; Ministry of Building, Innovation and Employment. Available online: http://www.envirolink.govt.nz/assets/Envirolink/Guidelines-for-artificial-lakes.pdf (accessed on 24 January 2020).
- Singleton, V.L.; Little, J.C. Designing Hypolimnetic aeration and oxygenation systems—A review. Environ. Sci. Technol. 2006, 40, 7512–7520. [Google Scholar] [CrossRef]
- Nordin, R.N.; McKean, C.J.P. A Review of Lake Aeration as a Technique for Water Quality Improvement; APD Bulletin 22; British Columbia Ministry of Environment: Victoria, BC, Canada, 1982; p. 40. [Google Scholar]
- Phillips, P.; Bender, J.; Simms, R.; Rodriguez-Eaton, S.; Britt, C. Manganese removal from acid coal-mine drainage by a pond containing green algae and microbial mat. Water Sci. Technol. 1995, 31, 161–170. [Google Scholar] [CrossRef]
- Gantzer, A.; Bryant, L.D.; Little, J.C. Controlling soluble iron and manganese in a water-supply reservoir using hypolimnetic oxygenation. Water Res. 2009, 43, 1285–1294. [Google Scholar] [CrossRef] [PubMed]
© 2020 by the authors. Licensee MDPI, Basel, Switzerland. This article is an open access article distributed under the terms and conditions of the Creative Commons Attribution (CC BY) license (http://creativecommons.org/licenses/by/4.0/).









