Discharge Coefficient of Combined Orifice-Weir Flow
Abstract
:1. Introduction
2. Materials and Methods
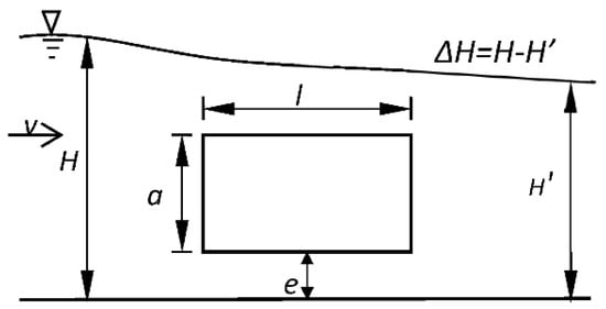
2.1. Dimensional Analysis
- (a)
- Orifice flow: β = 1, γ = 0.5;
- (b)
- Combined orifice-weir flow: e + a < H, e > 0 and β + γ = 1.5;
- (c)
- Weir flow: β = 0; γ = 1.5.
2.2. Experimental Facility
2.3. Experimental Tests
3. Results and Discussions
3.1. Effects of Contributing Parameters on m
3.2. Empirical Discharge Formula and Sensitivity Analysis
3.3. Verification and Error Analysis
4. Conclusions
Author Contributions
Acknowledgments
Conflicts of Interest
Abbreviations
| a | orifice-weir distance |
| e | orifice height |
| Q | inflow discharge rate |
| l | length of the orifice-weir structure |
| B | width of the orifice-weir structure |
| H | upstream water depth |
| H’ | downstream water depth |
| ΔH | water level difference |
| v | average flow velocity |
| q | discharge per width of combined orifice-weir flow |
| g | gravitational acceleration |
| H0 | upstream water head; H0 = H + v2/2g |
| m | discharge coefficient of combined orifice-weir flow |
| Fr2 | Froude number: Fr2 = v2/gH |
| mc | calculated discharge coefficient |
| mm | measured discharge coefficient |
| R2 | coefficient of determination |
| AMCC | adjusted multiple correlation coefficient |
| RMSE | root mean square error |
| MAPE | the mean absolute percent error |
Appendix A
| Case | H/m | ΔH/m | q/(m2·s−1) | l/a | e/a | Case | H/m | ΔH/m | q/(m2·s−1) | l/a | e/a |
|---|---|---|---|---|---|---|---|---|---|---|---|
| 1 | 0.26 | 0.65 | 0.08 | 1.33 | 0.33 | 143 | 0.30 | 0.19 | 0.08 | 4.00 | 0.20 |
| 2 | 0.31 | 0.77 | 0.08 | 1.00 | 0.25 | 144 | 0.30 | 0.38 | 0.08 | 2.00 | 1.00 |
| 3 | 0.25 | 0.92 | 0.08 | 1.33 | 0.33 | 145 | 0.26 | 1.17 | 0.08 | 3.00 | 0.20 |
| 4 | 0.24 | 1.37 | 0.08 | 1.33 | 0.33 | 146 | 0.23 | 1.16 | 0.08 | 4.00 | 0.50 |
| 5 | 0.23 | 0.42 | 0.08 | 2.00 | 0.50 | 147 | 0.24 | 1.27 | 0.08 | 3.00 | 0.50 |
| 6 | 0.30 | 1.13 | 0.08 | 1.00 | 0.25 | 148 | 0.30 | 0.45 | 0.08 | 2.00 | 0.50 |
| 7 | 0.16 | 0.40 | 0.08 | 4.00 | 2.00 | 149 | 0.24 | 1.02 | 0.06 | 1.00 | 0.50 |
| 8 | 0.30 | 1.40 | 0.08 | 1.00 | 0.25 | 150 | 0.24 | 1.09 | 0.08 | 2.00 | 1.00 |
| 9 | 0.26 | 0.11 | 0.08 | 4.00 | 4.00 | 151 | 0.23 | 0.49 | 0.08 | 4.00 | 3.00 |
| 10 | 0.23 | 0.38 | 0.08 | 2.00 | 1.00 | 152 | 0.29 | 1.19 | 0.08 | 1.33 | 0.67 |
| 11 | 0.22 | 0.41 | 0.08 | 2.00 | 1.00 | 153 | 0.28 | 1.08 | 0.08 | 2.00 | 0.20 |
| 12 | 0.22 | 0.49 | 0.08 | 2.00 | 1.00 | 154 | 0.30 | 0.22 | 0.08 | 3.00 | 1.00 |
| 13 | 0.22 | 1.10 | 0.08 | 4.00 | 0.20 | 155 | 0.21 | 4.30 | 0.06 | 1.00 | 0.20 |
| 14 | 0.18 | 0.31 | 0.08 | 4.00 | 2.00 | 156 | 0.23 | 1.37 | 0.08 | 2.00 | 1.00 |
| 15 | 0.21 | 1.12 | 0.08 | 2.00 | 0.50 | 157 | 0.25 | 2.06 | 0.08 | 3.00 | 0.20 |
| 16 | 0.27 | 0.12 | 0.08 | 4.00 | 4.00 | 158 | 0.30 | 0.39 | 0.08 | 3.00 | 0.20 |
| 17 | 0.22 | 0.48 | 0.08 | 2.00 | 1.00 | 159 | 0.20 | 3.04 | 0.05 | 1.00 | 0.20 |
| 18 | 0.18 | 0.40 | 0.08 | 4.00 | 2.00 | 160 | 0.22 | 1.97 | 0.08 | 4.00 | 0.50 |
| 19 | 0.28 | 0.77 | 0.08 | 1.33 | 0.33 | 161 | 0.30 | 0.66 | 0.08 | 1.00 | 1.00 |
| 20 | 0.20 | 3.13 | 0.08 | 3.00 | 0.20 | 162 | 0.23 | 3.03 | 0.08 | 4.00 | 0.20 |
| 21 | 0.20 | 0.28 | 0.08 | 4.00 | 2.00 | 163 | 0.21 | 2.04 | 0.05 | 2.00 | 0.20 |
| 22 | 0.24 | 0.88 | 0.08 | 3.00 | 0.20 | 164 | 0.30 | 0.29 | 0.08 | 4.00 | 4.00 |
| 23 | 0.20 | 1.89 | 0.08 | 2.00 | 0.50 | 165 | 0.30 | 0.28 | 0.06 | 1.00 | 1.00 |
| 24 | 0.23 | 0.89 | 0.08 | 2.00 | 0.50 | 166 | 0.26 | 1.94 | 0.08 | 2.00 | 0.20 |
| 25 | 0.14 | 2.39 | 0.08 | 4.00 | 1.00 | 167 | 0.22 | 0.60 | 0.08 | 4.00 | 3.00 |
| 26 | 0.21 | 2.05 | 0.08 | 4.00 | 0.20 | 168 | 0.27 | 1.00 | 0.08 | 2.00 | 0.50 |
| 27 | 0.16 | 1.23 | 0.08 | 4.00 | 1.00 | 169 | 0.30 | 0.25 | 0.08 | 3.00 | 1.00 |
| 28 | 0.16 | 1.38 | 0.08 | 4.00 | 1.00 | 170 | 0.24 | 2.93 | 0.08 | 1.00 | 0.50 |
| 29 | 0.30 | 0.14 | 0.08 | 2.00 | 1.00 | 171 | 0.21 | 2.93 | 0.08 | 4.00 | 0.50 |
| 30 | 0.19 | 2.98 | 0.08 | 2.00 | 0.50 | 172 | 0.30 | 0.75 | 0.08 | 1.00 | 0.50 |
| 31 | 0.28 | 0.93 | 0.08 | 1.33 | 0.33 | 173 | 0.23 | 2.97 | 0.07 | 2.00 | 0.20 |
| 32 | 0.22 | 1.23 | 0.08 | 2.00 | 0.50 | 174 | 0.25 | 1.04 | 0.08 | 2.00 | 1.00 |
| 33 | 0.17 | 5.14 | 0.08 | 2.00 | 0.50 | 175 | 0.23 | 1.16 | 0.08 | 3.00 | 1.00 |
| 34 | 0.18 | 0.59 | 0.08 | 4.00 | 1.00 | 176 | 0.30 | 0.54 | 0.07 | 1.00 | 0.20 |
| 35 | 0.23 | 0.19 | 0.08 | 4.00 | 3.00 | 177 | 0.31 | 0.18 | 0.05 | 1.00 | 2.00 |
| 36 | 0.21 | 0.23 | 0.08 | 4.00 | 3.00 | 178 | 0.23 | 2.17 | 0.08 | 3.00 | 0.50 |
| 37 | 0.21 | 3.02 | 0.08 | 4.00 | 0.20 | 179 | 0.22 | 0.59 | 0.08 | 4.00 | 3.00 |
| 38 | 0.23 | 1.08 | 0.08 | 2.00 | 0.50 | 180 | 0.22 | 2.09 | 0.08 | 2.00 | 1.00 |
| 39 | 0.21 | 1.66 | 0.08 | 2.00 | 0.50 | 181 | 0.23 | 0.53 | 0.08 | 4.00 | 3.00 |
| 40 | 0.20 | 0.31 | 0.08 | 4.00 | 2.00 | 182 | 0.22 | 3.08 | 0.06 | 2.00 | 0.20 |
| 41 | 0.21 | 1.18 | 0.08 | 3.00 | 0.50 | 183 | 0.20 | 4.03 | 0.05 | 1.00 | 0.20 |
| 42 | 0.28 | 1.20 | 0.08 | 1.33 | 0.33 | 184 | 0.23 | 4.00 | 0.08 | 4.00 | 0.20 |
| 43 | 0.17 | 0.75 | 0.08 | 4.00 | 2.00 | 185 | 0.28 | 0.96 | 0.08 | 1.00 | 1.00 |
| 44 | 0.22 | 2.06 | 0.08 | 3.00 | 0.20 | 186 | 0.30 | 0.17 | 0.05 | 1.00 | 0.20 |
| 45 | 0.20 | 3.95 | 0.08 | 4.00 | 0.20 | 187 | 0.25 | 0.42 | 0.08 | 4.00 | 3.00 |
| 46 | 0.21 | 2.35 | 0.08 | 2.00 | 0.50 | 188 | 0.30 | 0.53 | 0.07 | 1.00 | 1.00 |
| 47 | 0.30 | 0.19 | 0.08 | 2.00 | 0.50 | 189 | 0.30 | 1.07 | 0.08 | 1.33 | 0.67 |
| 48 | 0.19 | 0.47 | 0.08 | 4.00 | 2.00 | 190 | 0.30 | 0.28 | 0.08 | 4.00 | 0.20 |
| 49 | 0.18 | 0.63 | 0.08 | 4.00 | 2.00 | 191 | 0.22 | 3.06 | 0.07 | 1.00 | 0.50 |
| 50 | 0.25 | 0.18 | 0.08 | 4.00 | 3.00 | 192 | 0.31 | 0.08 | 0.08 | 4.00 | 2.00 |
| 51 | 0.19 | 0.59 | 0.08 | 4.00 | 1.00 | 193 | 0.23 | 0.56 | 0.08 | 4.00 | 3.00 |
| 52 | 0.21 | 2.04 | 0.08 | 2.00 | 0.50 | 194 | 0.30 | 0.34 | 0.08 | 3.00 | 0.50 |
| 53 | 0.19 | 3.01 | 0.08 | 3.00 | 0.50 | 195 | 0.25 | 3.01 | 0.08 | 2.00 | 0.20 |
| 54 | 0.27 | 1.61 | 0.08 | 1.33 | 0.33 | 196 | 0.30 | 0.15 | 0.08 | 4.00 | 1.00 |
| 55 | 0.20 | 2.20 | 0.08 | 3.00 | 0.50 | 197 | 0.22 | 3.05 | 0.08 | 3.00 | 0.50 |
| 56 | 0.30 | 0.19 | 0.08 | 2.00 | 0.50 | 198 | 0.31 | 5.57 | 0.08 | 1.00 | 0.25 |
| 57 | 0.20 | 0.41 | 0.08 | 4.00 | 2.00 | 199 | 0.21 | 3.99 | 0.06 | 2.00 | 0.20 |
| 58 | 0.22 | 1.60 | 0.08 | 2.00 | 0.50 | 200 | 0.20 | 2.93 | 0.05 | 2.00 | 0.20 |
| 59 | 0.24 | 1.00 | 0.08 | 4.00 | 0.20 | 201 | 0.27 | 0.99 | 0.08 | 4.00 | 0.20 |
| 60 | 0.28 | 1.33 | 0.08 | 1.33 | 0.33 | 202 | 0.22 | 1.22 | 0.05 | 1.00 | 0.50 |
| 61 | 0.26 | 0.20 | 0.08 | 4.00 | 4.00 | 203 | 0.30 | 0.33 | 0.06 | 1.00 | 0.50 |
| 62 | 0.29 | 0.17 | 0.08 | 4.00 | 4.00 | 204 | 0.30 | 1.28 | 0.08 | 1.33 | 0.67 |
| 63 | 0.21 | 1.13 | 0.08 | 2.00 | 1.00 | 205 | 0.27 | 0.43 | 0.08 | 4.00 | 4.00 |
| 64 | 0.27 | 1.86 | 0.08 | 1.33 | 0.33 | 206 | 0.30 | 0.48 | 0.08 | 3.00 | 0.20 |
| 65 | 0.20 | 2.88 | 0.08 | 2.00 | 0.50 | 207 | 0.25 | 2.08 | 0.08 | 4.00 | 0.20 |
| 66 | 0.22 | 3.01 | 0.08 | 3.00 | 0.20 | 208 | 0.30 | 0.36 | 0.08 | 3.00 | 0.50 |
| 67 | 0.24 | 2.08 | 0.08 | 1.00 | 0.20 | 209 | 0.23 | 3.94 | 0.07 | 2.00 | 0.20 |
| 68 | 0.22 | 1.94 | 0.08 | 4.00 | 0.20 | 210 | 0.22 | 2.01 | 0.06 | 1.00 | 0.50 |
| 69 | 0.27 | 0.21 | 0.08 | 4.00 | 4.00 | 211 | 0.25 | 1.03 | 0.08 | 4.00 | 0.50 |
| 70 | 0.30 | 0.23 | 0.08 | 2.00 | 0.50 | 212 | 0.30 | 0.56 | 0.07 | 1.00 | 0.50 |
| 71 | 0.25 | 1.26 | 0.07 | 1.00 | 0.20 | 213 | 0.26 | 2.38 | 0.08 | 1.33 | 0.67 |
| 72 | 0.30 | 0.05 | 0.08 | 4.00 | 0.50 | 214 | 0.30 | 0.17 | 0.08 | 4.00 | 1.00 |
| 73 | 0.16 | 2.61 | 0.08 | 4.00 | 1.00 | 215 | 0.30 | 0.63 | 0.08 | 2.00 | 0.50 |
| 74 | 0.16 | 2.28 | 0.08 | 4.00 | 1.00 | 216 | 0.31 | 0.66 | 0.08 | 1.00 | 2.00 |
| 75 | 0.23 | 2.08 | 0.07 | 1.00 | 0.20 | 217 | 0.26 | 1.90 | 0.08 | 2.00 | 0.50 |
| 76 | 0.31 | 0.09 | 0.08 | 3.00 | 2.00 | 218 | 0.26 | 1.12 | 0.08 | 3.00 | 0.50 |
| 77 | 0.22 | 0.33 | 0.08 | 4.00 | 3.00 | 219 | 0.27 | 5.23 | 0.08 | 1.33 | 0.33 |
| 78 | 0.23 | 1.42 | 0.08 | 2.00 | 0.50 | 220 | 0.24 | 1.60 | 0.08 | 2.00 | 1.00 |
| 79 | 0.25 | 1.13 | 0.08 | 3.00 | 0.20 | 221 | 0.27 | 0.94 | 0.07 | 1.00 | 1.00 |
| 80 | 0.24 | 1.09 | 0.06 | 1.00 | 0.20 | 222 | 0.30 | 0.41 | 0.06 | 1.00 | 0.20 |
| 81 | 0.18 | 1.13 | 0.08 | 4.00 | 1.00 | 223 | 0.30 | 0.53 | 0.08 | 3.00 | 0.20 |
| 82 | 0.30 | 0.19 | 0.08 | 3.00 | 0.20 | 224 | 0.21 | 2.11 | 0.08 | 3.00 | 1.00 |
| 83 | 0.22 | 0.34 | 0.08 | 4.00 | 3.00 | 225 | 0.20 | 4.03 | 0.05 | 2.00 | 0.20 |
| 84 | 0.26 | 3.20 | 0.08 | 1.33 | 0.33 | 226 | 0.30 | 0.34 | 0.08 | 3.00 | 1.00 |
| 85 | 0.22 | 1.08 | 0.08 | 4.00 | 0.50 | 227 | 0.30 | 0.83 | 0.08 | 2.00 | 0.20 |
| 86 | 0.24 | 1.13 | 0.08 | 2.00 | 0.50 | 228 | 0.25 | 3.05 | 0.08 | 3.00 | 0.20 |
| 87 | 0.24 | 3.06 | 0.08 | 1.00 | 0.20 | 229 | 0.23 | 1.97 | 0.08 | 4.00 | 0.50 |
| 88 | 0.20 | 2.02 | 0.08 | 4.00 | 0.50 | 230 | 0.27 | 2.19 | 0.08 | 1.33 | 0.67 |
| 89 | 0.24 | 0.76 | 0.08 | 2.00 | 1.00 | 231 | 0.23 | 0.99 | 0.08 | 4.00 | 1.00 |
| 90 | 0.29 | 0.20 | 0.08 | 4.00 | 4.00 | 232 | 0.30 | 0.35 | 0.06 | 1.00 | 2.00 |
| 91 | 0.24 | 0.79 | 0.08 | 2.00 | 1.00 | 233 | 0.27 | 1.08 | 0.08 | 2.00 | 1.00 |
| 92 | 0.19 | 3.05 | 0.08 | 4.00 | 0.50 | 234 | 0.24 | 3.08 | 0.08 | 2.00 | 0.50 |
| 93 | 0.23 | 1.19 | 0.08 | 3.00 | 0.50 | 235 | 0.30 | 0.24 | 0.08 | 3.00 | 2.00 |
| 94 | 0.22 | 0.97 | 0.05 | 1.00 | 0.20 | 236 | 0.21 | 3.00 | 0.06 | 1.00 | 0.50 |
| 95 | 0.22 | 3.06 | 0.08 | 4.00 | 0.20 | 237 | 0.22 | 2.96 | 0.08 | 4.00 | 0.50 |
| 96 | 0.22 | 2.04 | 0.06 | 1.00 | 0.20 | 238 | 0.30 | 0.21 | 0.05 | 1.00 | 1.00 |
| 97 | 0.31 | 3.13 | 0.08 | 1.00 | 0.25 | 239 | 0.25 | 1.13 | 0.08 | 3.00 | 1.00 |
| 98 | 0.23 | 1.04 | 0.08 | 2.00 | 1.00 | 240 | 0.30 | 0.65 | 0.08 | 2.00 | 1.00 |
| 99 | 0.24 | 2.12 | 0.08 | 3.00 | 0.20 | 241 | 0.20 | 3.82 | 0.06 | 1.00 | 0.50 |
| 100 | 0.15 | 3.36 | 0.08 | 4.00 | 1.00 | 242 | 0.30 | 0.52 | 0.07 | 2.00 | 0.20 |
| 101 | 0.23 | 3.21 | 0.07 | 1.00 | 0.20 | 243 | 0.30 | 0.43 | 0.08 | 4.00 | 0.20 |
| 102 | 0.23 | 0.99 | 0.06 | 2.00 | 0.20 | 244 | 0.21 | 2.09 | 0.05 | 1.00 | 0.50 |
| 103 | 0.28 | 1.05 | 0.08 | 1.00 | 0.20 | 245 | 0.25 | 3.03 | 0.08 | 4.00 | 0.20 |
| 104 | 0.22 | 1.22 | 0.08 | 2.00 | 1.00 | 246 | 0.30 | 0.29 | 0.06 | 2.00 | 0.20 |
| 105 | 0.18 | 7.60 | 0.08 | 2.00 | 0.50 | 247 | 0.25 | 2.06 | 0.08 | 1.00 | 1.00 |
| 106 | 0.30 | 0.29 | 0.08 | 2.00 | 1.00 | 248 | 0.25 | 3.97 | 0.08 | 3.00 | 0.20 |
| 107 | 0.23 | 1.87 | 0.08 | 2.00 | 0.50 | 249 | 0.24 | 0.60 | 0.08 | 4.00 | 1.00 |
| 108 | 0.22 | 4.14 | 0.08 | 4.00 | 0.20 | 250 | 0.25 | 2.00 | 0.08 | 3.00 | 0.50 |
| 109 | 0.27 | 2.55 | 0.08 | 1.33 | 0.33 | 251 | 0.23 | 3.17 | 0.08 | 3.00 | 0.50 |
| 110 | 0.30 | 4.33 | 0.08 | 1.00 | 0.25 | 252 | 0.24 | 2.18 | 0.08 | 2.00 | 1.00 |
| 111 | 0.22 | 2.01 | 0.08 | 3.00 | 0.50 | 253 | 0.30 | 0.50 | 0.08 | 3.00 | 0.50 |
| 112 | 0.30 | 0.34 | 0.08 | 2.00 | 0.50 | 254 | 0.30 | 0.44 | 0.08 | 3.00 | 1.00 |
| 113 | 0.24 | 1.00 | 0.08 | 2.00 | 1.00 | 255 | 0.30 | 0.24 | 0.05 | 1.00 | 0.50 |
| 114 | 0.22 | 1.04 | 0.05 | 2.00 | 0.20 | 256 | 0.20 | 3.12 | 0.05 | 1.00 | 0.50 |
| 115 | 0.25 | 0.97 | 0.08 | 4.00 | 0.20 | 257 | 0.24 | 3.07 | 0.08 | 1.00 | 1.00 |
| 116 | 0.30 | 0.19 | 0.08 | 3.00 | 0.50 | 258 | 0.26 | 1.15 | 0.08 | 3.00 | 1.00 |
| 117 | 0.22 | 2.86 | 0.08 | 2.00 | 0.50 | 259 | 0.22 | 1.93 | 0.08 | 4.00 | 1.00 |
| 118 | 0.27 | 0.99 | 0.08 | 1.00 | 0.50 | 260 | 0.30 | 0.32 | 0.08 | 4.00 | 0.50 |
| 119 | 0.23 | 0.39 | 0.08 | 4.00 | 3.00 | 261 | 0.32 | 7.36 | 0.08 | 1.00 | 0.25 |
| 120 | 0.25 | 1.08 | 0.07 | 1.00 | 0.50 | 262 | 0.30 | 0.55 | 0.08 | 4.00 | 0.20 |
| 121 | 0.25 | 1.09 | 0.07 | 2.00 | 0.20 | 263 | 0.25 | 1.06 | 0.06 | 1.00 | 1.00 |
| 122 | 0.28 | 0.27 | 0.08 | 4.00 | 4.00 | 264 | 0.31 | 0.59 | 0.07 | 1.00 | 2.00 |
| 123 | 0.19 | 7.21 | 0.08 | 2.00 | 0.50 | 265 | 0.30 | 0.28 | 0.08 | 4.00 | 1.00 |
| 124 | 0.21 | 3.11 | 0.08 | 3.00 | 0.50 | 266 | 0.27 | 1.01 | 0.08 | 4.00 | 0.50 |
| 125 | 0.22 | 2.95 | 0.06 | 1.00 | 0.20 | 267 | 0.28 | 2.57 | 0.08 | 1.33 | 0.67 |
| 126 | 0.25 | 0.79 | 0.08 | 2.00 | 1.00 | 268 | 0.24 | 1.11 | 0.08 | 4.00 | 1.00 |
| 127 | 0.21 | 2.08 | 0.05 | 1.00 | 0.20 | 269 | 0.24 | 1.96 | 0.07 | 1.00 | 1.00 |
| 128 | 0.20 | 0.72 | 0.08 | 4.00 | 2.00 | 270 | 0.23 | 2.07 | 0.08 | 3.00 | 1.00 |
| 129 | 0.23 | 3.09 | 0.08 | 3.00 | 0.20 | 271 | 0.30 | 0.60 | 0.08 | 2.00 | 2.00 |
| 130 | 0.24 | 2.04 | 0.08 | 4.00 | 0.20 | 272 | 0.31 | 0.34 | 0.08 | 3.00 | 2.00 |
| 131 | 0.29 | 0.97 | 0.08 | 1.33 | 0.67 | 273 | 0.25 | 1.98 | 0.08 | 4.00 | 0.50 |
| 132 | 0.29 | 0.92 | 0.08 | 1.33 | 0.67 | 274 | 0.30 | 0.19 | 0.08 | 4.00 | 2.00 |
| 133 | 0.18 | 1.25 | 0.08 | 4.00 | 2.00 | 275 | 0.30 | 0.38 | 0.08 | 4.00 | 1.00 |
| 134 | 0.30 | 0.75 | 0.08 | 1.00 | 0.20 | 276 | 0.30 | 0.47 | 0.08 | 4.00 | 0.50 |
| 135 | 0.20 | 0.88 | 0.08 | 4.00 | 2.00 | 277 | 0.30 | 0.47 | 0.08 | 4.00 | 0.50 |
| 136 | 0.25 | 2.12 | 0.08 | 1.00 | 0.50 | 278 | 0.23 | 1.01 | 0.05 | 1.00 | 1.00 |
| 137 | 0.22 | 1.94 | 0.06 | 2.00 | 0.20 | 279 | 0.30 | 0.24 | 0.05 | 2.00 | 0.20 |
| 138 | 0.23 | 1.82 | 0.07 | 1.00 | 0.50 | 280 | 0.26 | 1.06 | 0.08 | 4.00 | 1.00 |
| 139 | 0.25 | 0.93 | 0.08 | 2.00 | 1.00 | 281 | 0.30 | 0.44 | 0.08 | 3.00 | 2.00 |
| 140 | 0.27 | 0.32 | 0.08 | 4.00 | 4.00 | 282 | 0.24 | 2.01 | 0.08 | 4.00 | 1.00 |
| 141 | 0.29 | 1.04 | 0.08 | 1.33 | 0.67 | 283 | 0.31 | 0.29 | 0.08 | 4.00 | 2.00 |
| 142 | 0.24 | 1.94 | 0.07 | 2.00 | 0.20 | 284 | 0.31 | 0.30 | 0.08 | 4.00 | 2.00 |
References
- Fu, Z.F.; Yin, X.J.; Gu, X.F. Hydraulic Characteristics of Floating Sluices Subsiding and Buoying in Flowing water. Adv. Sci. Technol. Water Resour. 2014, 34, 24–27. [Google Scholar]
- Cui, Z.; Fu, Z.F.; Chen, Y.J.; Wang, S.; Ma, G.G.; Jiang, W. Explore the Hydrodynamic Force on the Surface of Floating Structure in Finite Flowing Water. In Proceedings of the 37th IAHR World Congress, Kuala Lumpur, Malaysia, 13–18 August 2017. [Google Scholar]
- Cui, Z.; Fu, Z.; Dai, W.; Lai, Z. Submerged Fixed Floating Structure under the Action of Surface Current. Water 2018, 10, 102. [Google Scholar] [CrossRef]
- El-Belasy, A.M. Developing Formulae for combined weir and orifice(case study: EL-Fayoum weirs). Alex. Eng. J. 2013, 763–768. [Google Scholar] [CrossRef]
- Cimorelli, L.; Cozzolino, L.; Della Morte, R.; Pianese, D. Analytical solutions of the linearized parabolic wave accounting for downstream boundary condition and uniform lateral inflows. Adv. Water Resour. 2014, 63, 57–76. [Google Scholar] [CrossRef]
- Cozzolino, L.; Morte, R.D.; Cimorelli, L.; Covelli, C.; Pianese, D. A Broad-crested Weir Boundary Condition in Finite Volume Shallow-water Numerical Models. Procedia Eng. 2014, 70, 353–362. [Google Scholar] [CrossRef]
- Cozzolino, L.; Cimorelli, L.; Covelli, C.; Della Morte, R.; Pianese, D. The analytic solution of the Shallow-Water Equations with partially open sluice-gates: The dam-break problem. Adv. Water Resour. 2015, 80, 90–102. [Google Scholar] [CrossRef]
- Alhamid, A.A. Analysis and formulation of flow through combined V-notch-gate-device. J. Hydraul. Res. 1999, 37, 697–705. [Google Scholar] [CrossRef]
- Negm, A.M.; Al-Brahim, A.M.; Alhamid, A.A. Combined-free flow over weirs and below gates. J. Hydraul. Res. 2002, 3, 359–365. [Google Scholar] [CrossRef]
- Xu, G.; Wang, Y.H. Discharge Calculation of Hydraulic Automatic Flap Gate. Zhejiang Hydrotech. 2014, 62–65. [Google Scholar]
- Altan-Sakarya, A.B.; Kökpınar, M.A. Computation of discharge for simultaneous flow over weirs and below gates (H-weirs). Flow Meas. Instrum. 2013, 29, 32–38. [Google Scholar] [CrossRef]
- Negm, A.M.; Al-Brahim, A.M.; Alhamid, A.A.; Sakarya, B.A.; Aydin, I.; Ger, A.M. Combined free flow over weirs and below gates. J. Hydraul. Res. 2004, 5, 559–562. [Google Scholar] [CrossRef]
- Negm, A.M.; Ezzeldin, M.; Attia, M.I. Characteristics of simultaneous flow over suppressed weirs and below submerged gates. Eng. Res. J. 1999, 65, 218–231. [Google Scholar]
- Negm, A.M.; Abdelaal, G.M.; Matin, A.M.; Alhamid, A.A. Discharge equation for free and submerged flow through combined weir. In Proceedings of the 3rd International Conference on Al-Azhar Engineering (AEIC-97), Cairo, Egypt, 19–22 December 1997; pp. 456–457. [Google Scholar]
- Negm, A.; M Abdel-Aal, G.; El-Saiad, A. Generalized discharge equation for proposed simultaneous flow structures. In Proceedings of the 6th Alahzer Engineering International Conference (AEIC-2000), Cairo, Egypt, 10–14 September 2000; pp. 247–257. [Google Scholar]
- Ferro, V. Simultaneous Flow over and under a Gate. J. Irrig. Drain. 2000, 126, 190–193. [Google Scholar] [CrossRef]
- AL-Saadi, A.K.I. Study Coefficient of Discharge for a Combined Free Flow over Weir. Euphrates J. Agric. Sci. 2013, 4, 26–35. [Google Scholar]
- Samani, J.M.V.; Mazaheri, M. Combined flow over weir and under gate. J. Hydraul. Eng. 2009, 135, 224–227. [Google Scholar] [CrossRef]
- Parsaie, A.; Azamathulla, H.M.; Haghiabi, A.H. Prediction of discharge coefficient of cylindrical weir gate using GMDH PSO. ISH J. Hydraul. Eng. 2018, 24, 116–123. [Google Scholar] [CrossRef]
- Alhamid, A.A.; Husain, D.; Negm, A.M. Discharge Equation for Simultaneous Flow over Rectangular Weirs and Below Inverted Triangular Weirs. Arab Gulf J. Sci. Res. 1996, 3, 595–607. [Google Scholar]
- Guo, W.; Pei, G.; Han, H. Hydraulics; China Water & Power Press: Beijing, China, 2005. [Google Scholar]
- Severi, A.; Masoudian, M.; Kordi, E.; Roettcher, K.; Roettcher, K. Discharge coefficient of combined free over under flow on a cylindrical weir gate. J. Hydraul. Eng. 2015, 1, 42–52. [Google Scholar] [CrossRef]
- Di Stefano, C.; Ferro, V. Stage—Discharge Relationship for an Upstream Inclined Grid with Transversal Bars. J. Irrig. Drain. Eng. 2016, 142, 07016008. [Google Scholar] [CrossRef]
- Barenblatt, G.I. Dimensional Analysis; Gordon & Breach, Science Publishers: Amsterdam, The Netherlands, 1987. [Google Scholar]











| Indexes | MOD(a) | MOD(b) | MOD(c) | MOD(d) | MOD(e) |
|---|---|---|---|---|---|
| AMCC | 0.870 | 0.705 | 0.756 | 0.762 | 0.739 |
| RMSE | 0.053 | 0.076 | 0.069 | 0.068 | 0.072 |
| MAPE | 0.058 | 0.103 | 0.059 | 0.282 | 0.103 |
© 2018 by the authors. Licensee MDPI, Basel, Switzerland. This article is an open access article distributed under the terms and conditions of the Creative Commons Attribution (CC BY) license (http://creativecommons.org/licenses/by/4.0/).
Share and Cite
Fu, Z.-F.; Cui, Z.; Dai, W.-H.; Chen, Y.-J. Discharge Coefficient of Combined Orifice-Weir Flow. Water 2018, 10, 699. https://doi.org/10.3390/w10060699
Fu Z-F, Cui Z, Dai W-H, Chen Y-J. Discharge Coefficient of Combined Orifice-Weir Flow. Water. 2018; 10(6):699. https://doi.org/10.3390/w10060699
Chicago/Turabian StyleFu, Zong-Fu, Zhen Cui, Wen-Hong Dai, and Yue-Jun Chen. 2018. "Discharge Coefficient of Combined Orifice-Weir Flow" Water 10, no. 6: 699. https://doi.org/10.3390/w10060699
APA StyleFu, Z.-F., Cui, Z., Dai, W.-H., & Chen, Y.-J. (2018). Discharge Coefficient of Combined Orifice-Weir Flow. Water, 10(6), 699. https://doi.org/10.3390/w10060699

