The Analysis of Stress Raisers Affecting the GFRP Strength at Quasi-Static and Cyclic Loads by the Theory of Critical Distances, Digital Image Correlation, and Acoustic Emission
Abstract
1. Introduction
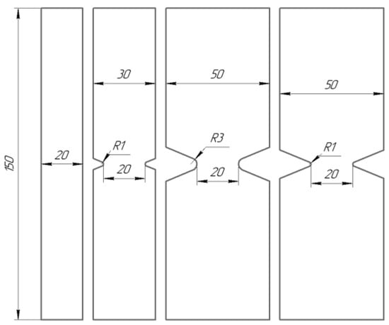
2. Material and Methods
2.1. Material
2.2. NDI Technique
2.3. Mechanical Tests
2.4. TCD
3. Results and Discussion
3.1. Mechanical Test
3.2. TCR Application
- -
- LPMu = 2.60 mm (at N = 1 cycle);
- -
- LPM∞ = 2.47 mm (at N = ∞ cycles);
- -
- LLmu = 2.19 mm (at N = 1 cycle);
- -
- LLM∞ = 2.05 mm (at N = ∞ cycles).
3.3. Acoustic Emission
3.4. Digital Image Correlation
4. Conclusions
Author Contributions
Funding
Institutional Review Board Statement
Data Availability Statement
Conflicts of Interest
References
- Strungar, E.; Lobanov, D.; Wildemann, V. Evaluation of the Sensitivity of Various Reinforcement Patterns for Structural Carbon Fibers to Open Holes during Tensile Tests. Polymers 2021, 13, 4287. [Google Scholar] [CrossRef] [PubMed]
- Anoshkin, A.N.; Zuiko, V.Y.; Tashkinov, M.A.; Silberschmidt, V.V. Repair of damage in aircraft composite sound-absorbing panels. Compos. Struct. 2014, 120, 153–166. [Google Scholar] [CrossRef]
- Armstrong, K.B.; Cole, W.; Bevan, G. Care and Repair of Advanced Composites; SAE International: London, UK, 2005. [Google Scholar]
- Cantwell, W.J.; Morton, J. The significance of damage and defects and their detection in composite materials: A review. J. Strain Anal. Eng. Des. 1992, 27, 29–42. [Google Scholar] [CrossRef]
- Anoshkin, A.N.; Vil’deman, V.E.; Lobanov, D.S.; Chikhachev, A.I. Evaluation of Repair Efficiency in Structures Made of Fibrous Polymer Composite Materials. Mech. Compos. Mater. 2014, 50, 311–316. [Google Scholar] [CrossRef]
- Tashkinov, M.A. Modelling of fracture processes in laminate composite plates with embedded delamination. Frattura ed Integrità Strutturale 2016, 11, 248–262. [Google Scholar] [CrossRef]
- Aksoylu, C.; Yazman, S.; Özkılıç, Y.; Gemi, L.; Arslan, M. Experimental analysis of reinforced concrete shear deficient beams with circular web openings strengthened by CFRP composite. Compos. Struct. 2020, 249, 112561. [Google Scholar] [CrossRef]
- Madenci, E.; Özkılıç, Y.; Aksoylu, C.; Safonov, A. The Effects of Eccentric Web Openings on the Compressive Performance of Pultruded GFRP Boxes Wrapped with GFRP and CFRP Sheets. Polymers 2022, 14, 4567. [Google Scholar] [CrossRef]
- Aksoylu, C.; Özkılıç, Y.; Madenci, E.; Safonov, A. Compressive Behavior of Pultruded GFRP Boxes with Concentric Openings Strengthened by Different Composite Wrappings. Polymers 2022, 14, 4095. [Google Scholar] [CrossRef]
- Aksoylu, C. Shear strengthening of reinforced concrete beams with minimum CFRP and GFRP strips using different wrapping technics without anchoring application. Steel Compos. Struct. 2022. [Google Scholar] [CrossRef]
- Nassiraei, H.; Rezadoost, P. Probabilistic analysis of the SCFs in tubular T/Y-joints reinforced with FRP under axial, in-plane bending, and out-of-plane bending loads. Structures 2021, 35, 1078–1097. [Google Scholar] [CrossRef]
- Neuber, H. Theory of Notch Stresses: Principles for Exact Calculation of Strength with Reference to Structural Form and Material, 2nd ed.; Springer: Berlin, Germany, 1958. [Google Scholar]
- Peterson, R.E. Notch sensitivity. In Metal Fatigue; Sines, G., Waisman, J.L., Eds.; McGraw Hill: New York, NY, USA, 1959; pp. 293–306. [Google Scholar]
- Tanaka, K. Engineering formulae for fatigue strength reduction due to crack-like notches. Int. J. Fract. 1983, 22, R39–R46. [Google Scholar] [CrossRef]
- Lazzarin, P.; Tovo, R.; Meneghetti, G. Fatigue crack initiation and propagation phases near notches in metals with low notch sensitivity. Int. J. Fatigue 1997, 19, 647–657. [Google Scholar] [CrossRef]
- Taylor, D. The Theory of Critical Distances: A New Perspective in Fracture Mechanics; Elsevier: Oxford, UK, 2007. [Google Scholar]
- Susmel, L.; Taylor, D. The Theory of Critical Distances to estimate the static strength of notched specimens of Al6082 loaded in combined tension and torsion. Part I: Material cracking behaviour. Eng. Fract. Mech. 2010, 77, 452–469. [Google Scholar] [CrossRef]
- Terekhina, A.I.; Plekhov, O.A.; Kostina, A.A.; Susmel, L. A comparison of the two approaches of the theory of critical distances based on linear-elastic and elas-to-plastic analyses. IOP Conf. Ser. Mater. Sci. Eng. 2017, 208, 012042. [Google Scholar] [CrossRef]
- Taylor, D. On the application of the Theory of Critical Distances for prediction of fracture in fibre composites. Frattura ed Integrità Strutturale 2009, 4, 3–9. [Google Scholar] [CrossRef]
- Susmel, L.; Taylor, D. The Theory of Critical Distances to estimate the static strength of notched specimens of Al6082 loaded in combined tension and torsion. Part II: Multiaxial static assessment. Eng. Fract. Mech. 2010, 77, 470–478. [Google Scholar] [CrossRef]
- Alanazi, N.; Susmel, L. The Theory of Critical Distances to Predict Static and Dynamic Strength of Notched Plain Concrete under Mixed-Mode I/II Loading. Procedia Struct. Integr. 2020, 28, 886–895. [Google Scholar] [CrossRef]
- Susmel, L.; Taylor, D. A novel formulation of the theory of critical distances to estimate lifetime of notched components in the medium-cycle fatigue regime. Fatigue Fract. Eng. Mater. Struct. 2007, 30, 567–581. [Google Scholar] [CrossRef]
- Taylor, D. Applications of the theory of critical distances in failure analysis. Eng. Fail. Anal. 2011, 18, 543–549. [Google Scholar] [CrossRef]
- Liao, D.; Zhu, S.; Correia, J.A.; De Jesus, A.M.; Berto, F. Recent advances on notch effects in metal fatigue: A review. Fatigue Fract. Eng. Mater. Struct. 2020, 43, 637–659. [Google Scholar] [CrossRef]
- Gillham, B.; Yankin, A.; McNamara, F.; Tomonto, C.; Huang, C.; Soete, J.; O’Donnell, G.; Trimble, D.; Yin, S.; Taylor, D.; et al. Tailoring the theory of critical distances to better assess the combined effect of complex geometries and process-inherent defects during the fatigue assessment of SLM Ti-6Al-4V. Int. J. Fatigue 2023, 172, 107602. [Google Scholar] [CrossRef]
- Terekhina, A.; Kostina, A.; Plekhov, O. Application of the theory of critical distances for the estimation of fracture under dy-namic loading. In Proceedings of the International Conference on Advanced Materials with Hierarchical Structure for New Technologies and Reliable Structures 2017, Tomsk, Russia, 9–13 October 2017; AIP Publishing: Melville, NY, USA, 2017; Volume 4. [Google Scholar]
- Vedernikova, A.; Kostina, A.; Plekhov, O.; Bragov, A. On the use of the critical distance concept to estimate tensile strength of notched components under dynamic loading and physical explanation theory. Theor. Appl. Fract. Mech. 2019, 103, 102280. [Google Scholar] [CrossRef]
- Lanning, D.B.; Nicholas, T.; Haritos, G.K. On the use of critical distance theories for the prediction of the high cycle fatigue limit stress in notched Ti?6Al?4V*1. Int. J. Fatigue 2005, 27, 45–57. [Google Scholar] [CrossRef]
- Yamashita, Y.; Ueda, Y.; Kuroki, H.; Shinozaki, M. Fatigue life prediction of small notched Ti–6Al–4V specimens using critical distance. Eng. Fract. Mech. 2010, 77, 1439–1453. [Google Scholar] [CrossRef]
- Wang, J.; Yang, X. HCF strength estimation of notched Ti–6Al–4V specimens considering the critical distance size effect. Int. J. Fatigue 2012, 40, 97–104. [Google Scholar] [CrossRef]
- Bahrami, B.; Ayatollahi, M.R.; Ghouli, S. Theory of critical distance combined with the generalized strain energy density criterion for mixed mode fracture assessment of PMMA dental materials. Procedia Struct. Integr. 2020, 28, 829–835. [Google Scholar] [CrossRef]
- Benedetti, M.; Santus, C.; Raghavendra, S.; Lusuardi, D.; Zanini, F.; Carmignato, S. Multiaxial plain and notch fatigue strength of thick-walled ductile cast iron EN-GJS-600-3: Combining multiaxial fatigue criteria, theory of critical distances, and defect sensitivity. Int. J. Fatigue 2022, 156, 106703. [Google Scholar] [CrossRef]
- Liao, D.; Zhu, S.-P.; Qian, G. Multiaxial fatigue analysis of notched components using combined critical plane and critical distance approach. Int. J. Mech. Sci. 2019, 160, 38–50. [Google Scholar] [CrossRef]
- Wildemann, V.E.; Tretyakov, M.P.; Mugaratov, A.I. Modeling the deformation process of a plate with a stress concentrator taking into account the postcritical stage of material deformation. PNRPU Mech. Bull. 2020, 3, 32–40. [Google Scholar] [CrossRef]
- Wildemann, V.E.; Mugatarov, A.I.; Tretyakov, M.P. The analytical and numerical solution of the problem of stretching a system of parallel elements with random strength characteristics taking into account the postcritical stage of deformation and rigidity of the loading system. Meccanica 2022, 57, 2323–2335. [Google Scholar] [CrossRef]
- Ermishkin, V.; Kulagin, S.P.; Minina, N.A.; Pokrasin, M.A. Determination of stress concentration factors from photometric analysis data. J. Phys. Conf. Ser. 2019, 1347, 012108. [Google Scholar] [CrossRef]
- Lyubutin, P.S.; Panin, S.V.; Titkov, V.V.; Eremin, A.V.; Sunder, R. Development of the digital image correlation method for studying the processes of deformation and destruction of structural materials. PNRPU Mech. Bull. 2019, 1, 87–107. [Google Scholar]
- Tretyakova, T.V.; Dushko, A.N.; Strungar, E.M.; Zubova, E.M.; Lobanov, D.S. Comprehensive Analysis of Mechanical Be-havior and Fracture Processes of Spatially Reinforced Carbon Fiber Specimens in Tensile Tests. PNRPU Mech. Bull. 2019, 1, 173–183. [Google Scholar]
- Strungar, E.M.; Lobanov, D.S. Development of the Digital Image Correlation Method (DIC) as Applied to Mechanical Tests at Elevated Temperatures. PNRPU Mech. Bull. 2022, 3, 147–159. [Google Scholar] [CrossRef]
- Andraju, L.B.; Raju, G. Damage characterization of CFRP laminates using acoustic emission and digital image correlation: Clustering, damage identification and classification. Eng. Fract. Mech. 2023, 277, 108993. [Google Scholar] [CrossRef]
- Özaslan, E.; Yetgin, A.; Acar, B.; Güler, M. Damage mode identification of open hole composite laminates based on acoustic emission and digital image correlation methods. Compos. Struct. 2021, 274, 114299. [Google Scholar] [CrossRef]
- Andraju, L.B.; Ramji, M.; Raju, G. Snap-buckling and failure studies on CFRP laminate with an embedded circular delamination under flexural loading. Compos. Part B Eng. 2021, 214, 108739. [Google Scholar] [CrossRef]
- Bumgardner, C.H.; Heim, F.M.; Roache, D.C.; Price, M.C.; Deck, C.P.; Li, X. Characterizing environment-dependent fracture mechanisms of ceramic matrix composites via digital image correlation. J. Am. Ceram. Soc. 2021, 104, 6545–6562. [Google Scholar] [CrossRef]
- Tretyakova, T. Singularities in using Vic-3D™ Digital Image Correlation software and its application to the study of inelastic strain fields. Comput. Contin. Mech. 2014, 7, 162–171. [Google Scholar] [CrossRef]
- Lobanov, D.; Strungar, E. Mathematical data processing according to digital image correlation method for polymer composites. Frattura ed Integrità Strutturale 2020, 14, 56–65. [Google Scholar] [CrossRef]
- Sutton, M.A.; Orteu, J.-J.; Schreier, H. Image Correlation for Shape, Motion and Deformation Measurements; University of South Carolina: Columbia, SC, USA, 2009; p. 364. [Google Scholar]
- Burud, N.B.; Kishen, J.C. Investigation of long memory in concrete fracture through acoustic emission time series analysis under monotonic and fatigue loading. Eng. Fract. Mech. 2023, 277, 108975. [Google Scholar] [CrossRef]
- Lomov, S.; Karahan, M.; Bogdanovich, A.; Verpoest, I. Monitoring of acoustic emission damage during tensile loading of 3D woven carbon/epoxy composites. Text. Res. J. 2014, 84, 1373–1384. [Google Scholar] [CrossRef]
- Sapozhnikov, S.; Zhikharev, M.; Zubova, E. Ultra-low cycle three-point bending fatigue of glass fabric reinforced plastic. Compos. Struct. 2022, 286, 115293. [Google Scholar] [CrossRef]
- Panteleev, I.A. Effect of synchronization of statistical properties of continuous acoustic emission during deformation of structurally inhomogeneous materials. Bulletin of the Perm National Research Polytechnic University. Mechanics 2022, 3, 5–13. [Google Scholar]
- Bryansky, A.A. Identification of sources of acoustic emission in a polymer composite material under conditions of cyclic tension. Vector Sci. Togliatti State Univ. 2021, 3, 19–27. [Google Scholar]
- Godin, N.; Huguet, S.; Gaertner, R.; Salmon, L. Clustering of acoustic emission signals collected during tensile tests on unidirectional glass/polyester composite using supervised and unsupervised classifiers. NDT E Int. 2004, 37, 253–264. [Google Scholar] [CrossRef]
- Burhan, I.; Kim, H.S. S-N Curve Models for Composite Materials Characterisation: An Evaluative Review. J. Compos. Sci. 2018, 2, 38. [Google Scholar] [CrossRef]
- Barbosa, J.F.; Correia, J.A.; Montenegro, P.; Júnior RC, S.F.; Lesiuk, G.; De Jesus, A.M.; Calçada, R.A. A comparison between S-N Logistic and Kohout-Věchet formulations applied to the fatigue data of old metallic bridges materials. Frattura ed Integrità Strutturale 2019, 13, 400–410. [Google Scholar] [CrossRef]
- Morgan, D.; Quinlan, S.; Taylor, D. Using the theory of critical distances to predict notch effects in fibre composites. Theor. Appl. Fract. Mech. 2022, 118, 103285. [Google Scholar] [CrossRef]
- Barre, S.; Benzeggagh, M.-L. On the use of acoustic emission to investigate damage mechanisms in glass-fibre-reinforced pol-ypropylene. Compos. Sci. Technol. 1994, 52, 369–376. [Google Scholar]
- Jong, H.-J. Transverse Cracking in a Cross-ply Composite Laminate—Detection in Acoustic Emission and Source Characteri-zation. J. Compos. Mater. 2006, 40, 37–69. [Google Scholar] [CrossRef]





















| No | Type Loading | Direction of Specimens Cutting | Specimens Type | Number of Tests | Test Conditions |
|---|---|---|---|---|---|
| 1 | Static tensile | Weft | Plain specimen | 5 | |
| Not. Sp. 15 × 3 | 3 | ||||
| Not. Sp. 15 × 1 | |||||
| Not. Sp. 5 × 1 | |||||
| 2 | Static tensile | Warp | Plain specimen | 5 | |
| Not. Sp. 15 × 3 | 3 | ||||
| Not. Sp. 15 × 1 | |||||
| Not. Sp. 5 × 1 | |||||
| 3 | Cycling tensile | Warp | Plain specimen | 12 | k = 0.99; 0.9; 0.8; 0.7; 0.6; 0.25; 0.2; 0.19; 0.18 |
| Not. Sp. 15 × 3 | 4 | k = 0.8; 0.2; 0.25 | |||
| Not. Sp. 15 × 1 | 12 | k = 0.98; 0.95; 0.9; 0.8; 0.7; 0.5; 0.3; 0.2; 0.18; 0.19; 0.21 | |||
| Not. Sp. 5 × 1 | 5 | k = 0.8; 0.25; 0.2 |
| Specimens Type | Ultimate Load, kN | |
|---|---|---|
| Weft Direction | Warp Direction | |
| Plain specimen | 30.5 | 39.9 |
| Not. Sp. 15 × 3 | 25.1 | 35.0 |
| Not. Sp. 15 × 1 | 21.2 | 32.8 |
| Not. Sp. 5 × 1 | 25.8 | 37.4 |
| Specimen Type | Model Parameters | |||
|---|---|---|---|---|
| σu | σ∞ | α | β | |
| Specimen without notch | 453.9 | 90.6 | 0.0152 | 3.42 |
| Notched specimen 15 × 1 | 364.1 | 70.8 | 0.0146 | 3.29 |
| No. | Fatigue Life (cyc) | Exp. Stress (MPa) | Pred. PM Stress (MPa) | Pred. LM Stress (MPa) | PM Error (%) | LM Error (%) | Specimen | Fiber Orientation |
|---|---|---|---|---|---|---|---|---|
| 13 | 1 * | 397.0 | 411.8 | 404.1 | 3.7 | 1.8 | Not.Sp. 5 × 1 | warp direction |
| 14 | 274 | 317.6 | 321.5 | 315.5 | 1.2 | −0.7 | Not.Sp. 5 × 1 | |
| 15 | 1,844,698 | 79.4 | 82.3 | 80.8 | 3.7 | 1.7 | Not.Sp. 5 × 1 | |
| 16 | 229,315 | 99.2 | 85.1 | 83.5 | −14.3 | −15.9 | Not.Sp. 5 × 1 | |
| 17 | 10,000 | 119.1 | 140.0 | 137.4 | 17.5 | 15.3 | Not.Sp. 5 × 1 | |
| 18 | 1 * | 371.0 | 380.2 | 413.4 | 2.5 | 11.4 | Not.Sp.15 × 3 | |
| 19 | 298 | 296.8 | 293.2 | 318.8 | −1.2 | 7.4 | Not.Sp.15 × 3 | |
| 20 | 331,000 | 111.3 | 77.5 | 84.3 | −30.4 | −24.3 | Not.Sp.15 × 3 | |
| 21 | 229,315 | 92.8 | 78.6 | 85.4 | −15.3 | −7.9 | Not.Sp.15 × 3 | |
| 22 | 1 * | 351.0 | 364.1 | 364.1 | 3.7 | 3.7 | Not.Sp.15 × 1 | |
| 23 | 145 | 315.9 | 308.4 | 308.4 | −2.4 | −2.4 | Not.Sp.15 × 1 | |
| 24 | 271 | 280.8 | 284.7 | 284.7 | 1.4 | 1.4 | Not.Sp.15 × 1 | |
| 25 | 591 | 245.7 | 250.0 | 250.0 | 1.8 | 1.8 | Not.Sp.15 × 1 | |
| 26 | 4193 | 175.5 | 157.0 | 157.0 | −10.6 | −10.6 | Not.Sp.15 × 1 | |
| 27 | 74,873 | 105.3 | 82.2 | 82.2 | −22.0 | −22.0 | Not.Sp.15 × 1 | |
| 28 | 1,639,798 | 70.2 | 72.8 | 72.8 | 3.7 | 3.7 | Not.Sp.15 × 1 | |
| 29 | 3,522,421 | 63.2 | 72.7 | 72.7 | 15.1 | 15.1 | Not.Sp.15 × 1 | |
| 30 | 137 | 333.4 | 310.3 | 310.3 | −6.9 | −6.9 | Not.Sp.15 × 1 | |
| 31 | 9,678,920 | 68.0 | 72.7 | 72.7 | 6.9 | 6.9 | Not.Sp.15 × 1 | |
| 32 | 1,216,833 | 75.0 | 72.9 | 72.9 | −2.8 | −2.8 | Not.Sp.15 × 1 | |
| 33 | 122 | 343.0 | 314.1 | 314.1 | −8.4 | −8.4 | Not.Sp.15 × 1 | |
| 34 | 1 * | 273.7 | 245.0 | 270.3 | −10.5 | −1.2 | Not.Sp.15 × 5 | weft direction |
| 35 | 1 * | 270.0 | 274.4 | 298.3 | 1.6 | 10.5 | Not.Sp.15 × 3 | |
| 36 | 1 * | 225.7 | 262.7 | 262.7 | 16.4 | 16.4 | Not.Sp.15 × 1 | |
| 37 | 1 * | 272.4 | 297.2 | 291.6 | 9.1 | 7 | Not.Sp. 4 × 1 | |
| 38 | 1 * | 310.7 | 322.7 | 305.1 | 3.9 | −1.8 | Not.Sp. 1 × 1 |
Disclaimer/Publisher’s Note: The statements, opinions and data contained in all publications are solely those of the individual author(s) and contributor(s) and not of MDPI and/or the editor(s). MDPI and/or the editor(s) disclaim responsibility for any injury to people or property resulting from any ideas, methods, instructions or products referred to in the content. |
© 2023 by the authors. Licensee MDPI, Basel, Switzerland. This article is an open access article distributed under the terms and conditions of the Creative Commons Attribution (CC BY) license (https://creativecommons.org/licenses/by/4.0/).
Share and Cite
Lobanov, D.; Yankin, A.; Mullahmetov, M.; Chebotareva, E.; Melnikova, V. The Analysis of Stress Raisers Affecting the GFRP Strength at Quasi-Static and Cyclic Loads by the Theory of Critical Distances, Digital Image Correlation, and Acoustic Emission. Polymers 2023, 15, 2087. https://doi.org/10.3390/polym15092087
Lobanov D, Yankin A, Mullahmetov M, Chebotareva E, Melnikova V. The Analysis of Stress Raisers Affecting the GFRP Strength at Quasi-Static and Cyclic Loads by the Theory of Critical Distances, Digital Image Correlation, and Acoustic Emission. Polymers. 2023; 15(9):2087. https://doi.org/10.3390/polym15092087
Chicago/Turabian StyleLobanov, Dmitrii, Andrey Yankin, Maksim Mullahmetov, Ekaterina Chebotareva, and Valeriya Melnikova. 2023. "The Analysis of Stress Raisers Affecting the GFRP Strength at Quasi-Static and Cyclic Loads by the Theory of Critical Distances, Digital Image Correlation, and Acoustic Emission" Polymers 15, no. 9: 2087. https://doi.org/10.3390/polym15092087
APA StyleLobanov, D., Yankin, A., Mullahmetov, M., Chebotareva, E., & Melnikova, V. (2023). The Analysis of Stress Raisers Affecting the GFRP Strength at Quasi-Static and Cyclic Loads by the Theory of Critical Distances, Digital Image Correlation, and Acoustic Emission. Polymers, 15(9), 2087. https://doi.org/10.3390/polym15092087

