Modeling and Position Control Simulation Research on Shape Memory Alloy Spring Actuator
Abstract
:1. Introduction
2. Working Principle of Shape Memory Alloy Spring Actuator
3. Modeling of Shape Memory Alloy Spring Actuator
3.1. Shape Memory Alloy Spring Model
3.1.1. Constitutive Model of Shape Memory Alloy
3.1.2. The Phase Transformation Kinetics Model of Shape Memory Alloy
3.1.3. Thermodynamic Model of Shape Memory Alloy Spring
3.2. Bias Shape Memory Alloy Spring Actuator Model
3.3. Differential Shape Memory Alloy Spring Actuator Model
4. Simulation Verification
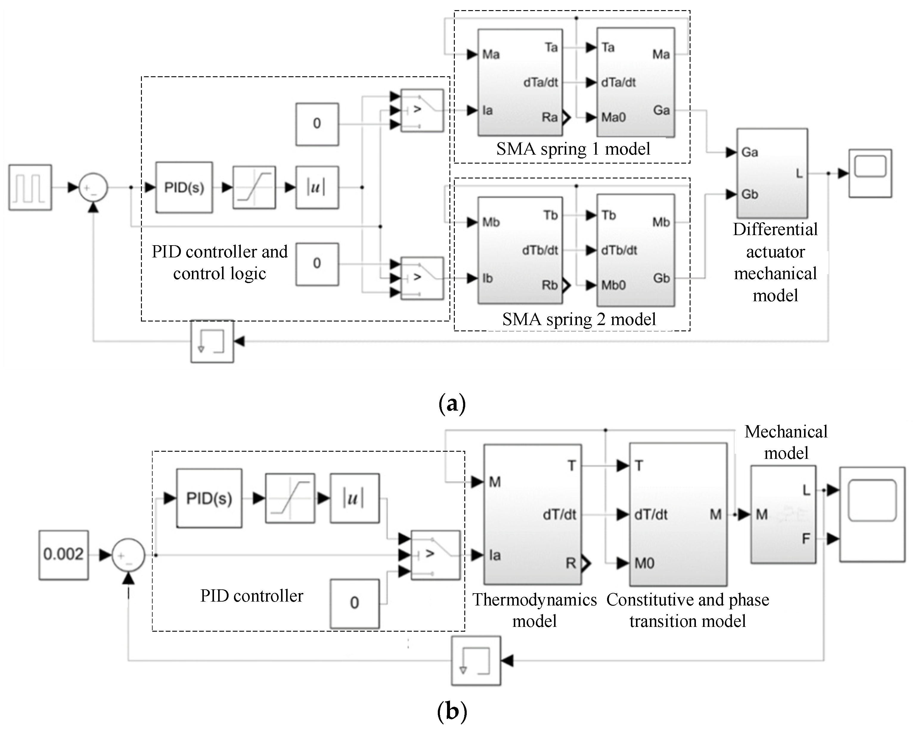
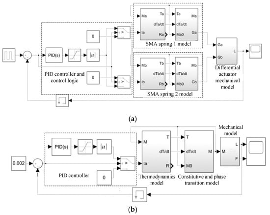
4.1. Establishment of Position Control Simulation Model
4.2. Simulation of Bias Shape Memory Alloy SPRING Actuator
4.3. Simulation of Differential Shape Memory Alloy Spring Actuator
5. Conclusions
Author Contributions
Funding
Informed Consent Statement
Data Availability Statement
Conflicts of Interest
References
- Liu, G.; Zhang, X.; Chen, X.; He, Y.; Cheng, L.; Huo, M.; Yin, J.; Hao, F.; Chen, S.; Wang, P.; et al. Additive manufacturing of structural materials. Mater. Sci. Eng. R Rep. 2021, 145, 100596. [Google Scholar] [CrossRef]
- Hu, K.J.; Rabenorosoa, K.; Ouisse, M. A Review of SMA-Based Actuators for Bidirectional Rotational Motion: Application to Origami Robots. Front. Robot. AI 2021, 8, 678486. [Google Scholar] [CrossRef] [PubMed]
- Ikuta, K. Micro/miniature shape memory alloy actuator. In Proceedings of the IEEE International Conference on Robotics and Automation, Tokyo, Japan, 13–18 May 1990; pp. 2156–2161. [Google Scholar]
- Tautzenberger, P. Thermal actuators: A comparison of shape memory alloys with thermostatic bimetals and wax actuators. Eng. Asp. Shape Mem. Alloy. 1990, 207–218. [Google Scholar]
- El-Atab, N.; Mishra, R.B.; Al-Modaf, F.; Joharji, L.; Alsharif, A.A.; Alamoudi, H.; Diaz, M.; Qaiser, N.; Hussain, M.M. Soft actuators for soft robotic applications: A review. Adv. Intell. Syst. 2020, 2, 2000128. [Google Scholar] [CrossRef]
- SEELECKE, S.; MULLER, I. Shape memory alloy actuators in smart structures: Modeling and simulation. Appl. Mech. Rev. 2004, 57, 23–46. [Google Scholar] [CrossRef]
- Ballew, W.; Seelecke, S. Mesoscopic free energy as a framework for modeling shape memory alloys. J. Intell. Mater. Syst. Struct. 2019, 30, 1969–2012. [Google Scholar] [CrossRef]
- Deng, E.; Tadesse, Y. A Soft 3D-Printed Robotic Hand Actuated by Coiled SMA. Actuators 2021, 10, 6. [Google Scholar] [CrossRef]
- Weirich, A.; Kuhlenkötter, B. Applicability of shape memory alloys in aircraft interiors. Actuators 2019, 8, 61. [Google Scholar] [CrossRef] [Green Version]
- Bhatt, N.; Soni, S.; Singla, A. Mathematical Model of SMA Spring Actuator in a Miniature Flexible Tube Robot. In Proceedings of the 4th International and 19th National Biennial Conferences on Machines and Mechanisms, Suran, India, 7 December 2019. [Google Scholar]
- Koh, J.S. Design of shape memory alloy coil spring actuator for improving performance in cyclic actuation. Materials 2018, 11, 2324. [Google Scholar] [CrossRef] [Green Version]
- Park, S.J.; Kim, U.; Park, C.H. A novel fabric muscle based on shape memory alloy springs. Soft Robot. 2020, 7, 321–331. [Google Scholar] [CrossRef]
- Roshan, U.; Amarasinghe, R.; Dayananda, N. Design and fabrication of a minimally invasive surgical device with customized shape memory alloy spring actuator. J. Robot. Netw. Artif. Life 2018, 5, 194–198. [Google Scholar] [CrossRef] [Green Version]
- Sobrinho, J.M.; Emiliavaca, A.; Cunha, M.F.; Souto, C.R.; Silva, S.A.; Ries, A. Experimental and numerical analyses of a rotary motor using shape memory alloy mini springs. Sens. Actuators A Phys. 2020, 302, 111823. [Google Scholar] [CrossRef]
- Pillai, R.; Murali, G.; Gopal, M. Modeling and simulation of a shape memory alloy spring actuated flexible parallel manipulator. Procedia Comput. Sci. 2018, 133, 895–904. [Google Scholar]
- Muralidharan, M.; Brolin, A.; Mithun, R.; Patil, R.; Palani, I.A. Investigations on bending characteristics of soft mesh structure using shape memory alloy spring towards bio-inspired robotic applications. Iran. J. Sci. Technol. Trans. Mech. Eng. 2020, 45, 927–937. [Google Scholar] [CrossRef]
- Muralidharan, M.; Palani, I.A. Development of subcarangiform bionic robotic fish propelled by shape memory alloy actuators. Def. Sci. J. 2021, 71, 94–101. [Google Scholar] [CrossRef]
- Xiang, C.; Yang, H.; Sun, Z.; Xue, B.; Hao, L.; Rahoman, M.A.; Davis, S. The design, hysteresis modeling and control of a novel SMA-fishing-line actuator. Smart Mater. Struct. 2017, 26, 037004. [Google Scholar] [CrossRef]
- Nguyen, X.T.; Calderón, A.A.; Rigo, A.; Joey, Z.G.; Pérez-Arancibia, N.O. SMALLBug: A 30-mg crawling robot driven by a high-frequency flexible SMA microactuator. IEEE Robot. Autom. Lett. 2020, 5, 6796–6803. [Google Scholar] [CrossRef]
- Bena, R.; Nguyen, X.T.; Calderon, A.A.; Rigo, A.; Perez-Arancibia, N.O. SMARTI: A 60-mg Steerable Robot Driven by High-Frequency Shape Memory Alloy Actuation. IEEE Robot. Autom. Lett. 2021, 6, 8173–8180. [Google Scholar] [CrossRef]
- Cortez-Vega, R.; Chairez, I.; Luviano-Juárez, A.; Feliu-Batlle, V. A hybrid dynamic model of shape memory alloy spring actuators. Measurement 2018, 114, 340–353. [Google Scholar] [CrossRef]
- Gédouin, P.A.; Pino, L.; Chirani, S.A.; Calloch, S.; Delaleau, E.; Bourgeot, J.M. R-phase shape memory alloy helical spring based actuators: Modeling and experiments. Sens. Actuators A Phys. 2019, 289, 65–76. [Google Scholar] [CrossRef]
- Shakiba, S.; Ayati, M.; Yousefi-Koma, A. Development of hybrid prandtl–ishlinskii and constitutive models for hysteresis of shape-memory-alloy-driven actuators. Robotica 2020, 39, 1390–1404. [Google Scholar] [CrossRef]
- Tanaka, K.; Kobayashi, S.; Sato, Y. Thermomechanics of transformation pseudoelasticity and shape memory effect in alloys. Int. J. Plast. 1986, 2, 59–72. [Google Scholar] [CrossRef]
- Liang, C.; Rogers, C.A. One-dimensional thermomechanical constitutive relations for shape memory materials. J. Intell. Mater. Syst. Struct. 1997, 8, 285–302. [Google Scholar] [CrossRef]
- Tobushi, H.; Tanaka, K. Deformation of a shape memory alloy helical spring: Analysis based on stress-strain-temperature relation. JSME Int. J. Ser. 1 Solid Mech. Strength Mater. 1991, 34, 83–89. [Google Scholar] [CrossRef] [Green Version]
- Liang, C.; Rogers, C.A. Design of shape memory alloy springs with applications in vibration control. J. Intell. Mater. Syst. Struct. 1997, 8, 314–322. [Google Scholar] [CrossRef]
- Aguiar, R.A.; Savi, M.A.; Pacheco, P.M. Experimental and numerical investigations of shape memory alloy helical springs. Smart Mater. Struct. 2010, 19, 025008. [Google Scholar] [CrossRef]
- Paiva, A.; Savi, M.A.; Braga, A.M.B.; Pacheco, P.M.C.L. A constitutive model for shape memory alloys considering tensile–compressive asymmetry and plasticity. Int. J. Solids Struct. 2005, 42, 3439–3457. [Google Scholar] [CrossRef]
- Huang, B.; Lv, H.; Song, Y. Numerical simulation and experimental study of a simplified force-displacement relationship in superelastic SMA helical springs. Sensors 2019, 19, 50. [Google Scholar] [CrossRef] [Green Version]
- Rizzello, G.; Naso, D.; Seelecke, S. Hysteresis modeling in thermal shape memory alloy wire actuators: An irreversible port-Hamiltonian approach. In Proceedings of the 58th IEEE Conference on Decision and Control (CDC), Nice, France, 11–13 December 2019. [Google Scholar]
- Ahn, K.K.; Kha, N.B. Internal model control for shape memory alloy actuators using fuzzy based Preisach model. Sens. Actuators A Phys. 2007, 136, 730–741. [Google Scholar] [CrossRef]
- Dutta, S.M.; Ghorbel, F.H. Differential hysteresis modeling of a shape memory alloy wire actuator. IEEE/ASME Trans. Mechatron. 2005, 10, 189–197. [Google Scholar] [CrossRef]
- Liang, C.; Rogers, C.A. A multi-dimensional constitutive model for shape memory alloys. J. Eng. Math. 1992, 26, 429–443. [Google Scholar] [CrossRef]
- Bekker, A.; Brinson, L.C. Phase diagram based description of the hysteresis behavior of shape memory alloys. Acta Mater. 1998, 46, 3649–3665. [Google Scholar] [CrossRef]
- Meng, L.; Bao, W.; Li, F.; Li, H. Hysteresis compensation control of a dielectric elastomer vibration isolator. J. Low Freq. Noise Vib. Act. Control 2021, 40, 497–508. [Google Scholar] [CrossRef] [Green Version]
- Rizzello, G.; Ferrante, F.; Naso, D.; Seelecke, S. Robust Interaction Control of a Dielectric Elastomer Actuator With Variable Stiffness. IEEE-Asme Trans. Mechatron. 2017, 22, 1705–1716. [Google Scholar] [CrossRef]
- Shi, Z.; Tian, J.; Luo, R.; Zhao, G.; Wang, T. Multifeedback Control of a Shape Memory Alloy Actuator and a Trial Application. IEEE Trans. Syst. Man Cybern.-Syst. 2018, 48, 1106–1119. [Google Scholar] [CrossRef]











| SMA Spring | Bias Spring | ||
|---|---|---|---|
| (Kg/m3) | 6500 | Specific heat cp (J/Kg.°C) | 320 |
| ) | 0.15 | Thermal conductivity h (W/m2.°C) | 120 |
| Ambient temperature T∞ (°C) | 20 | Martensite elastic modulus DM (Pa) | 28 × 109 |
| Austenite elastic modulus DA (Pa) | 75 × 109 | Poisson’s Ratio µSMA | 0.33 |
| Martensite transformation start temperature Ms (°C) | 45 | Martensite transformation end temperature Mf (°C) | 25 |
| Austenite transformation start temperature As (°C) | 45 | Austenite transformation end temperature Af (°C) | 65 |
| Material constant CM (Pa/°C) | 10.3 × 106 | Material constant CA (Pa/°C) | 10.3 × 106 |
| (Pa/°C) | 0. 55 × 106 | effective coil number n | 9 |
| Mean diameter of coil D (mm) | 7.3 | wire diameter d (mm) | 1.3 |
| Elastic coefficient (kb) | 850 N/m | initial length (lb) | 24 mm |
Publisher’s Note: MDPI stays neutral with regard to jurisdictional claims in published maps and institutional affiliations. |
© 2022 by the authors. Licensee MDPI, Basel, Switzerland. This article is an open access article distributed under the terms and conditions of the Creative Commons Attribution (CC BY) license (https://creativecommons.org/licenses/by/4.0/).
Share and Cite
Hu, B.; Liu, F.; Mao, B.; Chen, Z.; Yu, H. Modeling and Position Control Simulation Research on Shape Memory Alloy Spring Actuator. Micromachines 2022, 13, 178. https://doi.org/10.3390/mi13020178
Hu B, Liu F, Mao B, Chen Z, Yu H. Modeling and Position Control Simulation Research on Shape Memory Alloy Spring Actuator. Micromachines. 2022; 13(2):178. https://doi.org/10.3390/mi13020178
Chicago/Turabian StyleHu, Bingshan, Fengchen Liu, Binghao Mao, Zhiwei Chen, and Hongliu Yu. 2022. "Modeling and Position Control Simulation Research on Shape Memory Alloy Spring Actuator" Micromachines 13, no. 2: 178. https://doi.org/10.3390/mi13020178
APA StyleHu, B., Liu, F., Mao, B., Chen, Z., & Yu, H. (2022). Modeling and Position Control Simulation Research on Shape Memory Alloy Spring Actuator. Micromachines, 13(2), 178. https://doi.org/10.3390/mi13020178

