Abstract
Sea surface target detectors are often interfered by various complex sea surface factors such as sea clutter. Especially when the signal-to-clutter ratio (SCR) is low, it is difficult to achieve high-performance detection. This paper proposes a triple-channel network model for maritime target detection based on the method of multi-modal data fusion. This method comprehensively improves the traditional multi-channel inputs by extracting highly complementary multi-modal features from radar echoes, namely, time-frequency image, phase sequence and correlation coefficient sequence. Appropriate networks are selected to construct a triple-channel network according to the internal data structure of each feature. The three features are utilized as the input of each network channel. To reduce the coupling between multi-channel data, the SE block is introduced to optimize the feature vectors of the channel dimension and improve the data fusion strategy. The detection results are output by the false alarm control unit according to the given probability of false alarm (PFA). The experiments on the IPIX datasets verify that the performance of the proposed detector is better than the existing detectors in dealing with complex ocean scenes.
1. Introduction
Radar target detection in the complex and changeable marine environment has long encountered significant challenges. Due to the relatively slow movement of floating targets on the sea surface, their Doppler domain bandwidth is narrow and predominantly concentrated around 0 Hz Doppler frequency. While the Doppler bandwidth of sea clutter is large, so these targets are often submerged in the main clutter region. In the marine environment, the radar cross section (RCS) of targets is usually small which results in a weak echo signal and a relatively low signal-to-clutter ratio (SCR). Consequently, feature detection based on simple amplitude and Doppler information fails to efficiently extract discrepancy information, and the radar detection performance will be severely affected. Moreover, high-resolution sea clutter exhibits intricate spatial and temporal characteristics that are non-Gaussian, non-stationary and non-uniform [,,,]. It is difficult for general statistical models to accurately describe the complex characteristics of sea clutter, and the detection performance will decrease dramatically once the statistical model mismatches. When breaking waves appear on the sea surface, the resulting sea spikes exhibit similar characteristics to small target echoes [,], such a phenomenon is especially noticeable at low grazing angles and high sea states. With the gradual miniaturization and stealth of sea surface targets, the radar target detection task has become increasingly difficult, which places higher demands on the performance of the detectors.
In recent years, researchers have begun to focus on constructing detectors on the basis of extracting various radar echo features of sea clutter and targets due to the existing shortcomings of target detection methods based on statistical theory. Feature-based detectors provide a better solution to the problem of maritime radar target detection from a new perspective. In early research work, the concept of fractal theory [,,] was used to construct feature detectors. However, it was found that the radar detection performance in scanning mode radar observation was seriously affected by short observation time and low SCR, rendering it unsuitable for target detection tasks in complex and severe scenarios. Subsequently, polarization feature-based detectors [] were applied to the classification task.
In order to improve the detection performance of sea surface targets under the background of strong sea clutter, Shui et al. proposed three feature-based detectors [,,]. In [], the tri-feature detector extracts the relative average amplitude (RAA), the relative Doppler peak height (RPH), and the relative vector-entropy (RVE) in the Doppler domain from the radar echoes. Considering the imbalance between the amount of sea clutter samples and target samples, the fast convex hull learning algorithm is utilized to construct a multidimensional feature space. However, the detection performance would greatly degraded when the target Doppler falls within the Doppler range of sea clutter. In [], the smooth pseudo-Wigner–Ville distribution (SPWVD) was used to analyze the time-frequency (TF) domain information of the radar echoes in order to improve the detection performance under high-resolution sea clutter. The ridge integration (RI), the number (NR) and maximal size of connected regions of the binary image of significant TF points (MS) were extracted from the TF images, respectively, as the features of their method. In [], the authors combined various features to detect high-resolution sea surface targets based on the controllable false alarm K-nearest neighbor (KNN) anomaly detection classifier, which can effectively improve the detection performance by avoiding the feature compression loss and dimension restriction. According to the principal component analysis (PCA) theory [], Zhao et al. [,,] found that the special eigenvalues of the covariance matrix play an important role in the detection task, which can not only capture the correlation between data, but also retain the information of the data to the greatest extent. In [], the maximum eigenvalue of the radar echo sequence covariance matrix was taken as the feature of the matrix detector (MEMD). The experiment analysis illustrates that the MEMD method outperforms the adaptive normalized matched filtering (ANMF) algorithm [] especially when the target spectrum overlaps with the clutter spectrum. In [], the authors utilized the ratio of the maximum eigenvalue to arithmetic mean (MAM) of all eigenvalues, the ratio of the maximum eigenvalue to geometric mean (MGM) of all eigenvalues, and the ratio of the maximum eigenvalue to minimum eigenvalue (MME) to design three detectors. Since there are few works that use phase features for target detection, Xie et al. [] analyzed the phase sequences obtained from the radar echoes and extracted three phase features, and the detection performance was further improved.
With the current emergence of Deep Learning methods such as Convolutional Neural Networks (CNN) and Recurrent Neural Networks (RNN), more and more researchers [,,,,] have focused their works on how to solve the existing problems by constructing rational neural network models. It turns out that detectors based on neural networks tend to achieve better radar detection performance. Wan et al. [] extracted the instantaneous phase (IP), Doppler spectrum entropy, and short-time Fourier transform (STFT) marginal spectrum from the radar echoes as sequence features to train the bidirectional long short-term memory (Bi-LSTM) networks model (DBL). Chen et al. [] designed a dual-channel model based on the LeNet [] and VGG16 [] network models, which achieved higher performance and controllable false alarm rate compared with single-channel CNN approaches on the public dataset. Qu et al. [] proposed a PFA-controllable enhanced CNN to process TF features extracted by the STFT. They applied the asymmetric convolution to improve the backbone structure of the ResNet [] and proved its advantages. Duan et al. [] introduced the concept of multi-modal data fusion from artificial intelligence (AI) into the radar marine target detection field and constructed the model on this basis. Wang et al. [] combined CNN and dual-perspective attention (DPA) to effectively extract correlation features from the global and local perspectives. The detection performance of the method outperformed the classical constant false alarm rate (CFAR) method [] on measured datasets.
Both the feature-based detectors and the deep learning-based detectors discussed previously have made progress in maritime radar target detection. In previous deep learning methods, researchers utilized the time-Doppler spectrum, the Doppler amplitude spectrum, and the amplitude information as input data. However, there is some repetitive information between these features, resulting in insufficient complementarity. In complex marine environments, sea clutter sometimes exhibits comparable characteristics to the target in the time-frequency domain, rendering it difficult for detection models based on the above features to make effective distinctions. In addition, multi-channel detectors such as MDCCNN [] do not sufficiently analyze the corresponding relationship between different models and features. Consequently, each channel model is unable to match the input data to an optimal degree, thereby limiting the ability of the network to extract effective features.
To address these issues, it is essential to extract highly complementary input features with less overlapping information from multiple domains of the radar echoes and construct a network model with a high degree of matching with them.
Based on the preceding discussion, this paper puts forth a novel triple-channel network model for sea surface small target detection. The proposed method addresses the shortcomings of traditional multi-channel networks, including the limitations of weak feature complementarity, low matching between model and data, and insufficient data fusion. The principal contribution of this paper is mainly manifested in the following aspects. In terms of features, the proposed method fully considers the complementarity between multi-modal features, and extracts three modalities of input features for target detection: the TF image, the phase sequence, and the correlation coefficient sequence. Compared to a model with a single input feature, these features are able to characterize the radar echo properties of target and sea clutter from different perspectives, thus reducing the overlap between features and enhancing the utilization of information. In terms of the network, each channel of the triple-channel network utilizes the ResNet18 network, the LSTM network and the LeNet network, respectively, to match the three corresponding input features, ensuring a robust and optimal matching relationship between the data and the model. The integration of CNN and LSTM networks greatly improves the generalization of our network and the ability to extract deep features from input data of different modalities. Furthermore, we optimize the network structure for multi-channel data fusion. In terms of data fusion, prior to the integration of the output feature vectors from each channel, SE attention is introduced to exclude channel redundant information. The threshold output by the false alarm rate control (FAC) cell is used to obtain detection results. During the training phase of the model, the sensitivity of each channel module network to the learning rate is different. Accordingly, we assign distinct learning rates to each network structure with the intention of optimizing the convergence of the model. The performance of the model is continuously evaluated via K-Fold cross-validation. It is validated by experiments on the publicly available IPIX dataset; our method brings comprehensive performance improvements to radar target detection in a variety of maritime scenarios.
The rest of this paper is organized as follows: Section 2 presents the mathematical interpretation for maritime radar small target detection, introduces the IPIX dataset used to validate our work, and briefly illustrates the extraction of three input features and the construction of our dataset. Then, we demonstrate our method by analyzing the structure of the proposed triple-channel model in Section 3. The experimental analysis of the influence of different factors and comparison of the proposed method with the existing methods using the IPIX dataset are shown in Section 4. Ultimately, we conclude our work in Section 5.
2. Mathematical Interpretation and Dataset
2.1. IPIX Introduction
The dataset used in the experiments was measured by McMaster University with the IPIX Radar [] which is a fully coherent X-band radar working at 9.3 GHz frequency and facing the ocean at a low grazing angle. The IPIX database is widely used and acknowledged, comprising two groups of datasets collected in 1993 and 1998. The test target of the 1993 dataset is a 1 m diameter plastic ball wrapped with wire mesh and anchored to the sea surface. The test target of the 1998 dataset is a small floating boat anchored to the surface. Compared to the IPIX 1998 dataset, the IPIX 1993 dataset is more challenging for maritime target detection. Consequently, the IPIX 1993 dataset was employed to assess the performance of the proposed detector in severe sea surface scenarios.
In the 1993 IPIX dataset, there are ten datasets with different SCRs and each of them contains returns synchronously collected at HH, HV, VH and VV polarizations. The details are listed in Table 1. The data at each polarization mode contain 14 range cells including one primary cell and several secondary cells around it; the remaining cells are clutter-only cells. As the secondary cells are influenced by the primary cell, we only utilize the primary cell and clutter-only cells for sampling. Each cell has a discrete time series sampled at 1 kHz. Regarding the ten sets of data, the average SCR (ASCR) [], mainly concentrated in 0–18 dB, is affected by factors such as sea states and the radar-illuminated area of the target. It is worth noting that the ASCRs exhibit significant differences across the four polarization modes even within the same dataset. Such a phenomenon can be attributed to the different sea surface backscattering intensities. For a primary cell containing sea clutter and target echoes at a specific polarization mode, the ASCR is expressed as
where represents the target cell signal echo, and represents the average power of pure sea clutter. The ASCRs of the ten datasets are shown in Figure 1. The results demonstrated that the average SCRs at the cross-polarizations (HV, VH) are more stable and higher than those at the like-polarizations (HH, VV). Moreover, the average SCR of the VV polarization is the smallest, which can be attributed to the greater Bragg backscattering at the VV polarization than at the HH polarization.

Table 1.
Details of the ten datasets.

Figure 1.
Average SCRs of primary cells in ten datasets at the four polarization modes.
The discrete time series of each particular range cell is divided into overlapping K fragments in terms of
where N denotes the length of each fragment, and i denotes the interval between two sample vectors. Due to the presence of only one primary cell and numerous clutter-only cells, an imbalance issue arises between sea clutter samples and target samples. Therefore, equidistant interval sampling is carried out with a step size ranging between 10 and 50 points based on the requirements of the different datasets.
To assess the performance of the proposed detector under various conditions, we conducted experiments on several groups of IPIX datasets at the HH polarization. Ultimately, all ten datasets at the four polarizations are applied in experiments to compare our detectors with existing detectors.
2.2. Mathematical Problem Description
After radar transmits signals to the sea surface, the echo data reflected from the sea surface are received by the radar receiver. For a particular range cell, the data can be denoted as . Generally, the target detection problem in the background of sea clutter is summarized as the following binary hypothesis test
where the null hypothesis indicates that the cell to be detected is a pure clutter cell, and the alternative hypothesis indicates that the cell to be detected is the target cell. K represents the number of sample fragments in a range cell, P represents the number of reference cells, , and represent the radar echoes, target echoes, and sea clutter echoes at the cell to be detected, respectively. represents the sea clutter echo at the reference cell.
2.3. Feature Extraction
In this section, we extract three types of features: the TF image, the phase sequence, and the correlation coefficient sequence, respectively.
For the reason that the target and sea clutter exhibit different TF characteristics in a long integration time, we choose the smoothed pseudo-Wigner–Ville distribution (SPWVD) to obtain a time-Doppler spectrum image. SPWVD is more suitable for analyzing non-stationary series and can suppress the cross-terms appearing in the Wigner–Ville distribution (WVD). The TF image of a particular radar echo sample is calculated as follows:
where the superscript “∗” denotes the conjugate, is the sampling interval of the normalized Doppler frequency, and and are the time and frequency smoothing windows, respectively.
Figure 2a,b shows the typical TF spectrum images of sea clutter echoes and target echoes in 1 s observation time from the #IPIX_06 dataset at the HH polarization, respectively. It is evident from what is illustrated in (a) and (b) that they present completely different TF characteristics visually. As a result of the time non-stationary characteristic of sea clutter, its power distribution is more scattered on the TF plain, predominantly distributed around −250 Hz to 0 Hz. The power of the target echoes is more concentrated, showing a narrow strip around 0 Hz on the TF plain. By leveraging the distinctive characteristics between sea clutter and target, we can use the TF image as one of the input features of the network.

Figure 2.
Typical TF spectrum of target and clutter samples from IPIX dataset in observation time of 1 s: (a) clutter; (b) target.
Because of the differences in scattering mechanisms and motion characteristics between the target and the sea surface, the phase distribution of target and sea clutter echoes should differ consequently. The phase sequence of a radar echo fragment is computed as
where arg(·) denotes the function to calculate the phase of a complex variable.
Figure 3a,b illustrates the typical phase sequences of sea clutter and target echo fragments in the observation time of 1 s from the #IPIX_06 dataset at the HH polarization; the sea clutter echo fragment is from the first range cell. Upon visual observation of both phase sequences, it becomes apparent that the phase sequences of the target echoes have slower variation than that of the sea clutter echoes. This phenomenon is related to the radial velocity of the scatterer relative movement to the radar []. According to this difference, the phase feature is employed to our method to determine whether target exists.

Figure 3.
Typical phase sequence of target and clutter samples from IPIX dataset in observation time of 1 s: (a) clutter; (b) target.
It turns out that the radar sea surface scattering echo has a certain temporal and spatial correlation which is different from that of the target. Generally, the eigenvalues of the sample covariance matrix are versatile statistics that reflect the correlation characteristics of the signal. However, detectors that utilize eigenvalues do not exploit all the information contained in the covariance matrix, such as MEMD []. Since the covariance matrix is composed of correlation coefficients, we take the correlation coefficient sequence as one of the input features of the network without extracting eigenvalues from the covariance matrix. We can utilize the powerful internal feature extraction capability of deep networks to extract correlation features. The correlation coefficient of a radar echo fragment is computed as
where t is the lagging constant related to , and N is the length of the radar echo fragment. The correlation coefficient sequence composed of as
Figure 4a,b shows the typical phase sequences of sea clutter and target echo fragments in the observation time of 1 s from the #IPIX_06 dataset at the HH polarization. Since the obtained correlation coefficient sequence is a complex series, the horizontal axis of the correlation sequence shown in Figure 4 is the real part, and the vertical axis is the imaginary part. The target correlation coefficient is much larger than the sea clutter correlation coefficient, and both of them show a spiral shrinkage.

Figure 4.
Typical correlation coefficient sequence of target and clutter samples from the IPIX dataset in observation time of 1 s: (a) clutter; (b) target.
Besides, the three input features contain data from two modalities: image and sequence. There is less information overlap between the data and each has a different internal structure. This helps to diversify the selection of subsequent models and reduce the redundant information in the triple-channel output feature vectors before the feature fusion layer.
2.4. Dataset Construction
When the radar observation time is 1.024 s, for each range cell at the four polarization modes in the IPIX dataset, the time series in length of is divided into many fragments according to Equation (2). To avoid the influence of the target on adjacent cells and to obtain more accurate labels, we only use the primary cell and clutter-only cells for sampling and label them as target and sea clutter, respectively. These samples are randomly reshuffled and extracted at a ratio of 7:3 to obtain training and testing datasets []. To meet the input layer requirements of the network, we compress the size of TF images into 3 × 224 × 224. The length of the phase and correlation coefficient sequence is 1024.
3. Proposed Triple-Channel Network Model
3.1. Structure of the Proposed Detector
The maritime radar small target detection method shown in Figure 5 consists of the following parts: radar data preprocessing, dataset construction, and model training. The operation of radar data preprocessing is to extract three input features from the obtained radar echo time series: TF feature, phase feature, and correlation feature. Then, according to the obtained feature samples, the dataset is constructed for the input of the triple-channel network, and the optimal parameters are gained through model training. This model consists of four parts, namely, the feature input layer, feature extraction units, feature fusion unit, and false alarm control (FAC) unit. The feature input layer receives the constructed training set and divides it into three groups for each channel. Subsequently, the feature extraction units extract features from the data and output their respective channel feature vectors. The feature fusion unit employs the attention mechanism to perform a fusion of the output feature vectors from the three channels. The fused feature map will be provided as the input to the FAC unit for the purpose of making a final decision.

Figure 5.
Structure of the proposed detector.
3.2. Triple-Channel Network Model Construction
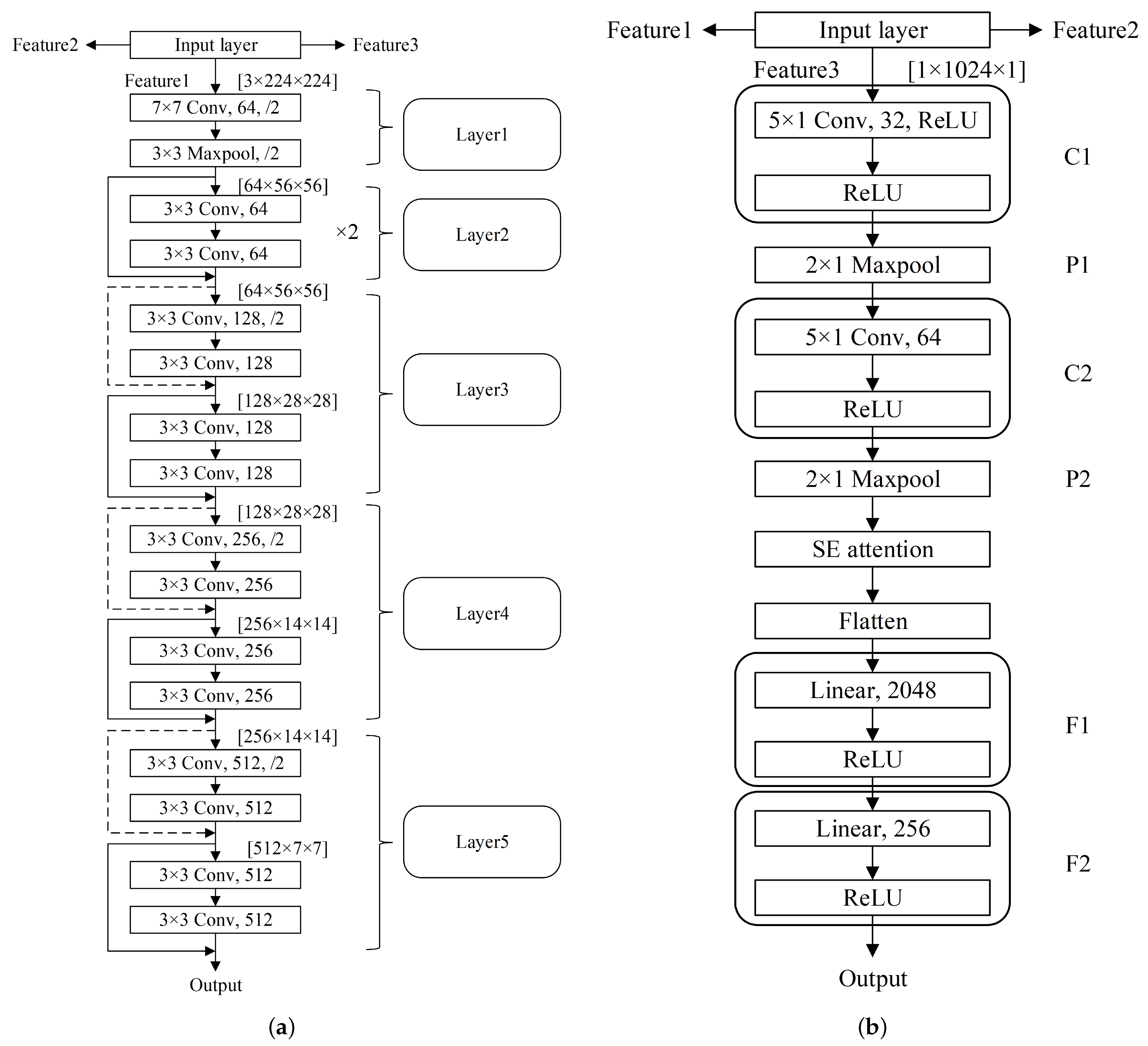
In this section, we present a neural-network-based model for target detection. The diagram in Figure 6 illustrates the structure of the triple-channel network model for target detection. Compared to the single-channel detection model, the proposed detector simultaneously exploits different types of radar echo characteristics contained in the three features, which improves the utilization of information. In the feature input layer, the dataset made up of samples of three radar echo features is ready to be the input of the network model in the feature input layer. Then, three feature vectors are obtained after the TF processing unit, phase processing unit, and correlation processing unit. In each unit, we select the appropriate network by considering the internal structure and characteristics of the input data.

Figure 6.
Structure of proposed triple-channel model.
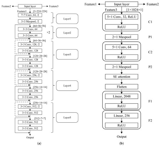
In the TF processing unit, the ResNet18 is selected from the potential networks to construct the first channel of the network model and match the input data. Compared to ordinary CNNs, the ResNet18 network overcomes the issue of network degradation via residual connection and exhibits a powerful capability for deep feature extraction, rendering it more beneficial to extract deep features from TF images. Meanwhile, the residual connection maintains the original feature, thereby facilitating a more efficacious and robust learning process for the network, while also enhancing the precision and generalization capacity of the model. As shown in Figure 7a, the ResNet18 model structure mainly contains five layers, and Layer1 is designed to process the input TF images which contains a convolutional layer and a maxpooling layer. The dotted lines in Layer2 to Layer5 represent the downsampling shortcut operation which is composed of a 1 × 1 convolution kernel and a batch normalization (BN) layer. Since the input image size is 3 × 224 × 224, the size of the feature map output by ResNet18 is 512 × 7 × 7 and it is the input of the average pooling layer, in which 512 is the number of feature map channels and 512 × 7 × 7 is the size of feature map. Finally, we utilize two fully connected (FC) layers to obtain the feature vector of the TF processing unit. In order to ensure that the feature vectors are of equal length, we adjust the output of each channel unit to 256.

Figure 7.
The network structures used in the Triple-channel model: (a) Layer1 to Layer5 in the TF processing unit; (b) LeNet network model in the correlation processing unit.
For the phase processing unit, the phase sequence has a strong temporal correlation characteristic, which can be reflected in the distribution of phase differences. The phase difference of the radar echo fragment under specific time interval is computed as
The phase difference sequences obtained at different time intervals exhibit distinct distributions. When the time interval is sufficiently large, the probability density function of the phase difference sequence tends to be flat, and its peak falls below 0.004. The phase sequence reaches decorrelation at such a time interval. Given the temporal correlation observed in the sea clutter, it can be inferred that the extracted phase sequence from the time series also exhibits sequence correlation. Models using only CNN may fail to capture the temporal correlation of input data with sequence structure. In comparison to the traditional RNN, the LSTM demonstrates superior memory performance, enabling the retention of contextual information over a longer interval while processing sequence data. In consideration of the matching relation between the model and data as well as the diversity of the network, we choose the long short-term memory (LSTM) [] network instead of CNN as the network model of the second channel. The LSTM network is often used for time series forecasting because of its excellent long-term dependent capture ability and temporal regular feature extraction ability. Its unit structure is shown in Figure 8, in which the input gate , forget gate , and output gate are responsible for updating and utilization. For the input information x, the calculation formulas are as follows
where , , , , , , , and are the learnable weight matrix, and , , are the bias matrix. denotes the candidate memory cell value, and is the current state value.

Figure 8.
The LSTM structure used in triple-channel model.
The LSTM network is adept at time series forecasting, and the number of hidden layer nodes is 32. In order to complete the classification task, we add an FC layer behind it to output a feature vector length of 256.
To extract features from the correlation coefficient sequence, we use the third feature extraction unit composed of the LeNet network, the SE attention module, and two FC layers. As the third channel in our proposed model, the further introduction of complex models will lead to an increase in the number of parameters and a decline in the training speed, and may even lead to problems such as difficult model convergence, gradient explosion, and so on. In terms of simple sequences, the LeNet network offers a balance between computational complexity and model detection performance. Thus, we choose the LeNet network as the main network for this channel, and the SE attention is utilized to optimize redundant information generated by insufficient model expression capability. Considering the output dimension of the LeNet network, the number of input channels of the SE block is set to 64. The feature vector output from the correlation processing unit is 256 in length.
3.3. Feature Fusion Unit
In this unit, we improve the implementation of multi-channel feature fusion. It is evident that the earliest detectors utilizing amplitude information did not consider the incorporation of multiple levels of data features, including but not limited to Doppler information, phase information, correlation information, and so forth. Consequently, detectors based on single modal features are inherently inferior to multi-modality feature ones. In addition, detectors based on time-Doppler spectrum and Doppler amplitude information exhibit information redundancy at the feature level and have weak complementarity. Although Doppler amplitude information can provide a degree of discriminatory ability support to the detector when the target in the time-Doppler spectrum falls into the sea clutter band, the strong correlation between the two features makes them less effective when applied simultaneously as features for multi-modality data fusion. Accordingly, we consider the time-Doppler spectrum as the first feature and discard the Doppler amplitude information. The phase feature of the sea surface floating small target shows good time-dependent characteristics and regularity due to its low velocity and more fixed relative position with respect to the sea surface, which is the key point of complementing with the time-Doppler spectrum. The relative information of the sequence under time difference reflected by the correlation coefficient feature can be complemented with the TF images and phase sequences and describe the radar echoes from multiple perspectives. The proposed method ensures that the three channels output feature vectors of the same dimension, thereby guaranteeing that the model learns the weights of each feature channel equally. Then, the information crossover and redundancy between features are further reduced by early fusion and combined with the attention mechanism.
Specifically, since the three input features extracted from the same radar echo are not completely independent of each other, SE attention is utilized to eliminate redundant information between channels by learning the channel weight coefficients of the three sets of output feature vectors. The superiority of adding the channel attention mechanism instead of the direct fusion of feature vectors is that it enables the model to pay more attention to useful information. As shown in Figure 6, feature vectors from three model channels, respectively, are simply stacked together to form a feature matrix, and the number of input channels of the SE block is set to 3 according to the feature matrix. The SE attention module performs weight learning on the feature vectors in the channel dimension and outputs the channel weight learning results, which are then flattened to obtain a fusion feature vector.
Figure 9 shows the squeeze and excitation (SE) attention module of the SENet [], in which c, w, and h denote the number of channels, the width, and the height of each input feature map, respectively. The SE attention is an efficient network module that can be conveniently integrated into various network structures. The fundamental idea is to learn the feature weights through the loss of the network, so that feature maps that exhibit high utility are assigned large weights, while those that are deemed invalid or less useful are assigned small weights. The detector will deliver improved outcomes by training the network model based on the mechanism of importance division. The process of module to learn weights is mainly divided into the following steps:

Figure 9.
The SE attention structure used in triple-channel model.
(1) Squeeze: Global average pooling is used to compress features from spatial dimensions to turn each double-dimensional channel feature into a real number
(2) Excitation: To capture channel correlation and forecast channel importance, the resulting z is passed through two FC layers and a sigmoid function to output channel weights
(3) Reweight: Finally, the obtained channel weights are multiplied with each channel of the original input feature map in a channel-wise manner to obtain a weighted feature map
where , , and represent the squeeze function, the excitation function, and the reweight function, respectively. is the c channel of the input feature map , and are the operation of the FC layer, and the dimension of is , in which r is the scale parameter to reduce computation costs. The dimension of is , and its function is to restore the number of dimensions. is the sigmoid function, and is the ReLU function.
3.4. FAC Unit
Since CFAR detection is susceptible to uncertainty in the distribution characteristics of sea clutter, the performance declines when the statistical characteristics of sea clutter are inconsistent with the thresholds. To solve this problem, we design a FAC unit according to the variable threshold softmax classifier [], which comprises two FC layers and a softmax function. The first FC layer receives the output from the SE attention module and performs simple training with an input dimension of 768 and an output dimension of 128. The second FC layer contains only two neurons, responsible for outputting model results, the first neuron represents sea clutter, and the second neuron represents the target. After calculating with the softmax function, these two neurons actually obtain the classification probability, and the sum of the probabilities is 1. The function of the softmax can be expressed as
where represents the output of the ith neuron.
In order to obtain classification results under different PFAs, threshold processing is conducted on the output probability of the softmax function. Suppose that there are N sea clutter samples in the training dataset. We put the sea clutter samples into the model and obtain N corresponding clutter probabilities under , and the expression is as follows
where is the classification score of the hypothesis output by the sea clutter neuron in the final FC layer when the input is sea clutter sample . The decision criterion can be written as
Therefore, in order to derive the expression for the decision threshold , we rewrote the PFA formula according to its definition as follows
where is the function of obtaining a number. Thus, for PFA that is assumed to be , the expression can be rewritten as
where denotes the rounding up function because sometimes may not be an integer. Finally, we put the clutter probability array in order from smallest to largest as . The decision threshold under given can be obtained by
where denotes the nth clutter probability in the ordered array.
3.5. Model Training
The training process of our model is carried out in the PyTorch 1.12.1 environment. The computer configuration includes CPU: i7-12700H, GPU: NVIDIA GeForce RTX 3070 Ti, Santa Clara, CA, USA, and the computer memory is 16 GB. The batch size is 64, and we utilize K-Fold cross-validation to estimate model performance and save the best model in the training process. The learning rate () is an important parameter in training as it determines the step size of the model updating. When the is too large, the model will fail to converge. Conversely, the optimization will be slow. The assessment of the benefits and drawbacks of different is challenging for the complex network we employ as various network structures have different sensitivities to the . We use different on different structures of the network to continuously optimize network performance. The Adam optimizer [] is employed as the parameter optimization strategy. The parameters updating is written as
where i is the number of learnable parameters, are the updated parameters, are the parameters to be optimized, stands for , and is the loss function. The cross-entropy is utilized as the loss function
where N is the number of training samples, is the model input, denotes the output detection probability of the model when using as the input, and is the actual category label for which the sea clutter category is defined as 0 and the target category is defined as 1.
4. Experimental Analysis and Results
In this section, we employ the data in Table 1 to construct training and testing datasets for experimental tasks. It is necessary to determine the selection of i in Equation (2). When the observation time is 1.024 s, for the dataset with similar features of clutter and target, choosing a relatively small i will lead to better model training results []. In addition, considering the problem of sample imbalance between the target and clutter, the i of target samples must be smaller than that of clutter samples. To sum up, we dynamically adjust the length of the overlapping part between 10 and 50 []. Then, the sliding sampling using Equation (2) yields a total of 26,010 sea clutter samples and 13,001 target samples from each dataset. After the random reshuffling of these samples, 8010 sea clutter samples and 4001 target samples are extracted to construct the testing set. Meanwhile, in order to further balance the positive and negative samples of the training set, the training data are equalized to obtain 5000 sea clutter and target samples. In order to achieve de-duplication of the training set and testing set samples, training set samples that are adjacent to testing set samples are preferentially downsampled during equalization.
To assess the performance of the proposed model, we design experiments in different scenarios: different feature data and model matching, different polarization modes, and different sea states. Moreover, it is compared with the feature-based detectors [,,], the MDCCNN detector [], the DBL detector [], the STDN detector [], and the DPA detector [] under ten IPIX datasets and different PFA conditions.
In order to quantitatively describe the detection performance of the proposed method, the PD is defined as
where is the model output probability of clutter when the input is target samples, and denotes the total number of the input target samples. PFA is defined as
4.1. Data and Model Matching Experiment
In this work, we aim to validate the matching relationship between the selected network models and the extracted input features through experimental outcomes. The networks are trained by three datasets #IPIX_03, #IPIX_02 and #IPIX_10 at the HH polarization with different SCRs (0 dB, 5 dB and 12 dB, respectively) in Table 1.
The ROC curves that display PDs under different PFAs are presented in Figure 10, Figure 11 and Figure 12, and we compare the performance of our selected network models in their corresponding modules with other potential network models. In terms of the TF processing unit, to prevent the introduction of additional complexity to our model, we only utilize the VGG16 and the ResNet18 for TF feature training performance comparison in Figure 10a, Figure 11a and Figure 12a. The blue curve is the detection performance results of the ResNet18 network, and the yellow curve is the detection performance results of the VGG16 network. The outcomes indicate that when the PFA is with different SCRs, the ResNet18 network reaches PDs of 0.22, 0.45 and 0.96, while the VGG16 network only reaches PDs of 0.18, 0.40 and 0.94. In terms of training duration, the VGG16 network requires more parameters compared to the ResNet18 network, resulting in a higher cost of computing resources. Furthermore, the residual connectivity of ResNet18 facilitates model convergence to a greater extent, and there is no need to consider the gradient problem. This characteristic of residual connection allows for the appropriate deepening of the number of network layers of ResNet18 in the model, in accordance with the demands of real-time systems and the training requirements of different input data. This significantly enhances the scalability and generalizability of the proposed method. Therefore, the validity of ResNet18 as the first channel model is verified following a comprehensive consideration of both computational complexity and model performance.

Figure 10.
ROC curves of different network models for each of the three input features, respectively, using #IPIX_03 with SCR of 0 dB: (a) ResNet18 and VGG16 performance for TF feature; (b) LeNet and LSTM performance for phase feature; (c) LeNet and LSTM performance for correlation feature.

Figure 11.
ROC curves of different network models for each of the three input features, respectively, using #IPIX_02 with SCR of 5 dB: (a) ResNet18 and VGG16 performance for TF feature; (b) LeNet and LSTM performance for phase feature; (c) LeNet and LSTM performance for correlation feature.

Figure 12.
ROC curves of different network models for each of the three input features, respectively, using #IPIX_10 with SCR of 12 dB: (a) ResNet18 and VGG16 performance for TF feature; (b) LeNet and LSTM performance for phase feature; (c) LeNet and LSTM performance for correlation feature.
In the phase processing unit, in order to reduce the number of parameters without introducing more complex networks, we only compare the performance of the LSTM network in the processing phase sequence with the traditional LeNet network to highlight its advantages in Figure 10b, Figure 11b and Figure 12b. The green curve represents the detection outcomes of the LSTM network, and the red one is the outcomes of the LeNet network. The experimental outcomes illustrate the advantage of the LSTM network in processing time series like phase sequences. When the PFA is , the PDs of the LSTM network can reach 0.19, 0.80 and 0.97 with different SCRs, and those of the LeNet network are 0.13, 0.56 and 0.84 approximately. Such a phenomenon can be attributed to the good ability of the LSTM network to capture the time-dependent property of phase sequences.
In the correlation processing unit, the LSTM network and the LeNet network are utilized for comparing the detection performance, as shown in Figure 10c, Figure 11c and Figure 12c. Contrary to the experimental results of the phase processing unit, when the PFA is with different SCRs, the PDs of the LeNet network are about 0.32, 0.39 and 0.91 which far exceeds the PD of the LSTM network.
It is obvious that the selected models can reach higher performance with various SCR conditions. Table 2 shows the target detection performance of the network with different structures and input features. The findings of the experimental results could also demonstrate that the selected features and models are more effective than other possible options. Moreover, compared with single-channel detectors, the performance of the proposed model is much better. This is because the multi-channel model can make full use of the multi-modality data information of the input features of each channel so that the network can comprehensively learn about the radar echoes. As a result, the learning and generalization abilities of the network for the same group of radar echoes are significantly improved.

Table 2.
Comparison of PD of different models and features.
4.2. Performance Analysis Under Different Polarizations
There are obvious differences in the radar sea surface scattering echoes at different polarization modes, and the experimental analysis [] indicates that the intensity of sea clutter in the cross-polarizations is lower than that in the like-polarizations. The file in Table 1 consists of the four radar polarizations under the same radar conditions. In order to analyze the effect of different polarizations on the proposed detection method, we use the IPIX database to validate the performance of our model. Table 3 shows the average PD of the ten datasets utilizing the proposed method at the four polarizations. It is obvious that the detection probabilities at the cross-polarizations are higher than those at the like-polarizations under the same PFA condition. In order to illustrate the advantages of the proposed method in severe scenarios, the remaining experiments in this section were conducted utilizing IPIX data at HH polarization.

Table 3.
PD comparison under different polarization modes.
4.3. Performance Analysis Under Different Sea States
In practical applications, radar target detection is always confronted with the complex and changeable maritime environment, wherein multiple factors impact the performance of the detection model. Thus, to enhance the adaptability of future models and validate the robustness of our proposed model, we consider several factors, including the sea state level, the SCR condition, and the Doppler shift. When the observation time is 1.024 s, the training set is utilized for model fitting and we evaluate the model detection performance using data from the testing set. To conduct a controlled trial, datasets #IPIX_01, #IPIX_03, #IPIX_07, and #IPIX_10 with different sea surface conditions in Table 1 are utilized in this experiment to obtain the ROC curves in Figure 13 and the false alarm loss curves in Figure 14, in which the false alarm loss curves are the actual PFAs under different given PFAs.

Figure 13.
ROC curves of datasets in different sea states: (a) #IPIX_01 (HH, the fourth level sea state); (b) #IPIX_07 (HH, the third level sea state); (c) #IPIX_03 (HH, the second level sea state).

Figure 14.
False alarm loss curves of datasets in different sea states: (a) #IPIX_01 (HH, the fourth level sea state); (b) #IPIX_07 (HH, the third level sea state); (c) #IPIX_03 (HH, the second level sea state).
In what is shown in Figure 13, when the PFA is , the PDs for the #IPIX_01, #IPIX_07, and #IPIX_03 datasets can reach 0.985, 0.999, and 0.711, respectively. The deterioration in detection performance observed in the IPIX03 dataset can be attributed to the presence of radar echoes exhibiting a relatively low SCR and sea clutter Doppler shift. This is reflected in the TF image, which serves to further reduce the capacity for discrimination between target and sea clutter. However, the combination of the three features increases the expressive power of the data, and the output data from the three channels are fused to enhance the reliability of the results. The experimental results prove that the proposed model can effectively detect small targets in different sea state levels and has good adaptability. The false alarm loss curves shown in Figure 14 demonstrate the PFA control capability of the proposed model, in which the green dotted line indicates that the actual PFA is equal to the given PFA, and the blue solid line represents the actual PFA change under the given PFA condition. The more closely the blue solid line aligns with the green dotted line, the better the false alarm rate control effectiveness will be. In Figure 14, when the given PFA is under , the false alarm loss is relatively large, but when the given PFA is greater than , the loss gradually decreases, and the PFA control effect tends to be stable. The reason for this phenomenon is that during the training process, the model can almost completely fit the training set, which makes the misclassification rate almost reach 0. However, the disparity in data distribution between the training and testing sets may result in some outliers in the output probability of the model during the testing process, which makes it challenging to achieve a low PFA.
To analyze the impact of various factors on the detection performance of the proposed model, we compared the test outcomes of three sets of data in different sea states. Despite delivering a satisfactory performance of different data, our findings reveal that the model with the training sets made up of the third and fourth sea states data has better performance, whereas the second sea state data have slightly inferior training outcomes. However, generally, in high sea states, the sea surface conditions are more complicated, and the sea clutter intensity is higher. The high wave height makes it difficult for targets to be irradiated by radar when they are located in the trough of the wave. Therefore, the detection performance of datasets in high sea states is usually inadequate, contradicting the experimental results. To find out the reason for this phenomenon, a comprehensive analysis of the factors that influence detector performance is comparably essential.
Figure 15 shows the average sea clutter Doppler shifts of 10 sets of IPIX radar data in Table 1, where the sea clutter Doppler shifts of the first five groups of data are relatively small. The target to be detected in the 1993 IPIX dataset is a floating ball on the sea surface. The low radial velocity of the target relative to the radar motion causes it to constantly fluctuate around a frequency of 0 Hz, which is close to the Doppler shift of sea clutter. Therefore, in the time-frequency spectrum, the target frequency of the first five datasets is submerged by the sea clutter, resulting in a decline in discrimination. However, the proposed method uses multi-domain features extracted from the radar echo data, thereby complementing each feature and effectively improving detection performance. Relatively, the sea clutter Doppler shifts of the last four groups of data are significantly distant from 0 Hz, enabling their easier differentiation from the target and enhancing discrimination.

Figure 15.
Doppler shift of sea clutter of the ten IPIX datasets.
To present the influence of different factors on the radar echoes more intuitively, we calculate the time-frequency distribution of three representative datasets, namely, #IPIX_01, #IPIX_03 and #IPIX_10, as the comparison of the three influencing factors: the swell, the SCR, and the average Doppler shift of sea clutter. Figure 16a, Figure 17a and Figure 18a show the original actual data of each dataset, (b) and (c) show TF spectrum images of the primary cell and the clutter-only cell radar echo for the datasets mentioned above, respectively. It is evident that the texture of the images presented by the raw data is considerably messy, which makes it challenging to conduct a qualitative analysis using specific indicators. Accordingly, the time-frequency images are used to make an analysis. The time-frequency images of the primary cell contain a large number of time-frequency components of sea clutter due to the presence of radar echoes from both the target and sea clutter in the primary cell. Multiple breakpoints are evident in the TF image of the primary cell as illustrated in Figure 16. The influence of the swell prevents continuous radar irradiation of the target. The influence of the surge prevents the target from being irradiated by the radar continuously. When the target is located in the trough of the waves, the sea surface reflection echo of the radar only has sea clutter. This situation presents severe challenges for sea surface radar target detection. Thus, the PD of the #IPIX_01 dataset is lower than the #IPIX_07 in Figure 13. The SCR of the #IPIX_03 dataset is 0 dB, which causes the target spectrum to be submerged by sea clutter in the TF image shown in Figure 17. This is the main reason for the unsatisfactory detection performance of the #IPIX_03 dataset. Besides, it should be noted that the sea clutter Doppler shifts of datasets used in Figure 16 and Figure 17 are close to 0 Hz, which makes the detection task more difficult. Figure 18 shows an ideal dataset #IPIX_10 with the SCR up to 12 dB. Compared to the previous two datasets, the Doppler shift of sea clutter is sufficiently distant from 0 Hz as a result of the influence of high winds, which makes the distinction in the TF images between target and clutter more than ever before. Therefore, it can be inferred that the detection performance is influenced by a combination of factors, and larger SCRs and sea clutter Doppler shifts usually result in higher PD, but such a relationship is complex and typically not absolute.

Figure 16.
Images of the #IPIX_01 dataset at the HH polarization: (a) the range-time intensity image; (b) the TF spectrum of the primary cell; (c) the TF spectrum of the clutter-only cell.

Figure 17.
Images of the #IPIX_03 dataset at the HH polarization: (a) the range-time intensity image; (b) the TF spectrum of the primary cell; (c) the TF spectrum of the clutter-only cell.

Figure 18.
Images of the #IPIX_10 dataset at the HH polarization: (a) the range-time intensity image; (b) the TF spectrum of the primary cell; (c) the TF spectrum of the clutter-only cell.
4.4. Performance Analysis Under Different Methods
In this section, we use the IPIX radar data to compare the detection performance of the proposed method with the existing detectors based on deep learning and manual features. When the preset PFA is and the observation time is 1.024 s, the detection performance of the detectors to be compared on each of the ten IPIX datasets is shown in Figure 19. Although the detection performance of the proposed detector for the #IPIX_03 dataset at HH polarization drops to 0.711, it presents a more satisfactory detection performance than other detectors. In the datasets where the sea clutter and the target are difficult to distinguish in the time-frequency domain and the radar echo SCR is low, the PDs of the three detectors decrease substantially. This observation indicates that the proposed features exhibit better complementarity than conventional features, and enough effective information can still be provided for detection even in severe scenarios.

Figure 19.
Detection performance of different detectors in IPIX database in 1.024 s observation time: (a) HH; (b) HV; (c) VH; (d) VV.
To provide a quantitative analysis of the detection capabilities of more detectors, we list the average PD of each detector on ten IPIX datasets at each polarization mode in Table 4. The performance of the detectors based on the deep learning frameworks generally surpasses that of the feature-based detectors. The average PD of the proposed detector can reach 0.977, which outperforms the existing detector. The lack of complementarity between features in single-channel neural networks leads to a limited expression ability of the single-channel network STDN []. The feature-based detectors are limited by the fast convex hull learning algorithm, which renders it challenging to break through the high-dimensional limitation. Meanwhile, the computational effort of the deep learning methods will also increase significantly with each additional feature channel. Therefore, we need to find a balance between performance and feasibility. In addition, the effectiveness of the SE module in the data fusion stage of the proposed method is validated. The result demonstrates that it is capable of eliminating information redundancy between channels and enhancing classification accuracy. In Figure 20, we compare the performance of our detector with the tri-feature detector [], the TF-tri-feature detector [] and the phase-feature detector [] on the IPIX database at the four polarization modes. Our detector always outperforms the feature-based detectors in different PFAs. Additionally, the modes of polarization have an impact on the accuracy of the feature-based detectors. It appears that feature-based detectors at the cross-polarizations are more effective than those at the like-polarizations, while our detector performs well overall. This should be attributed to the organic fusion of diverse modalities features and the good matching between the features and model of our detector.

Table 4.
Comparison of PD of different detectors under different polarization modes, 1.024 s observation time, and the PFA of .

Figure 20.
ROC curves of the proposed detector, the tri-feature detector [], the TF-tri-feature detector [], and the phase-feature detector [] in 1.024 s observation time and different polarization modes: (a) HH; (b) HV; (c) VH; (d) VV.
Table 5 presents the feature extraction time and target detection time of the proposed method and existing detectors. It should be noted that the feature inputs of the proposed method require the computation of TF images, which results in a longer feature extraction time. Furthermore, feature-based detectors that use TF features take the longest time because they require further extraction of quantized features from the spectrum image. The MDCCNN detector [] uses STFT to compute the TF image, resulting in a shorter feature extraction time than that of the proposed method. In the detection stage, the computational complexity of the convex hull learning algorithm utilized by the feature-based detectors is considerable, and it rises significantly with the increase in feature dimensions and the number of samples. Consequently, feature-based detectors will take more time when performing the detection task. In comparison to MDCCNN, which also employs deep learning models, the computational cost of the ResNet network utilized in the proposed model is considerably less than that of the VGG. In summary, the proposed method has the shortest detection time. When combining the two time metrics, the proposed method is not the shortest time-consuming detection method. Nevertheless, when the results of Table 4 are taken into account, it can be seen that the appropriate increase in time cost makes the detection performance of the proposed method more competitive, and it is believed to be more suitable for real-time radar detection. How to reduce the time cost with high detection probability will be a challenging direction for us to study in the future.

Table 5.
Time consumption in the detection phase of different detectors when the observation time is 1.024 s and the PFA is .
5. Conclusions
In this paper, we propose a maritime radar small target detection method based on multi-modal features, aiming at solving the limitations of the existing detectors in feature extraction and model selection. The input of the network is obtained by extracting the TF feature, phase feature and correlation feature of the radar echoes, and the data depth information is extracted by utilizing the three feature processing units. Then, the feature vectors output by the three units are used to obtain the false alarm rate controllable detection outcome through the FAC unit. Multiple sets of experiments are carried out using the measured radar data to verify the feasibility and effectiveness of this approach. The results of our experiment demonstrate that the average PD of our proposed method can reach 0.977 when the observation time is 1.024 s, and the PFA is . It can be concluded that both the phase and correlation features are superior to the Doppler amplitude spectrum feature and the amplitude information of existing methods in terms of complementarity between features, and can effectively distinguish between target and sea clutter in various scenarios. Meanwhile, the proposed method provides a comprehensive extraction of the information contained in radar echoes using multi-modal data. These features are capable of describing the echo information from multiple perspectives, thereby demonstrating superior performance in comparison to detectors utilizing single-modal features. Moreover, diverse modalities of features possess distinct internal structures and unique characteristics, allowing them to adapt to different networks. Therefore, the concept of data and model matching can make the network more efficient in extracting the profound features from input features, thereby enhancing the robustness in complex and changeable marine environments. The introduction of the SE block solves the problem of information redundancy between channels in the case of multiple input features and reduces the coupling between data. Ultimately, the experiments demonstrate that the proposed method is suitable for application in real-time radar systems and is believed to have better robustness and scalability.
Nevertheless, it is evident that when the given PFA is lower than , the control of the false alarm rate has unsatisfactory outcomes. Therefore, in future work, improved false alarm rate control algorithms will be discovered to enhance control effectiveness.
Author Contributions
Conceptualization, K.W.; Methodology, K.W.; Software, K.W.; Validation, K.W.; Investigation, K.W.; Resources, Z.W.; Data curation, K.W.; Writing—original draft, K.W.; Writing—review & editing, Z.W.; Supervision, Z.W.; Funding acquisition, Z.W. All authors have read and agreed to the published version of the manuscript.
Funding
This research was funded by National Natural Science Foundation of China, grant number 62301073.
Data Availability Statement
The data were downloaded from the following website: http://soma.mcmaster.ca/ipix (accessed on 1 July 2021).
Conflicts of Interest
The authors declare no conflicts of interest.
References
- Raynal, A.M.; Doerry, A.W. Doppler Characteristics of Sea Clutter; Technical Report; Sandia National Laboratories (SNL): Albuquerque, NM, USA; Livermore, CA, USA, 2010. [Google Scholar]
- Conte, E.; De Maio, A.; Galdi, C. Statistical analysis of real clutter at different range resolutions. IEEE Trans. Aerosp. Electron. Syst. 2004, 40, 903–918. [Google Scholar] [CrossRef]
- Corretja, V.; Meslot, V.; Kemkemian, S.; Montigny, R. Statistical analysis on sea clutter Doppler properties in X-band for low grazing angles. In Proceedings of the 2017 IEEE Radar Conference (RadarConf), Seattle, WA, USA, 8–12 May 2017; IEEE: Piscataway, NJ, USA, 2017; pp. 1046–1051. [Google Scholar]
- Ward, K.D.; Tough, R.J.; Watts, S. Sea clutter: Scattering, the K distribution and radar performance. Waves Random Complex Media 2007, 17, 233–234. [Google Scholar] [CrossRef]
- Melief, H.W.; Greidanus, H.; van Genderen, P.; Hoogeboom, P. Analysis of sea spikes in radar sea clutter data. IEEE Trans. Geosci. Remote Sens. 2006, 44, 985–993. [Google Scholar] [CrossRef]
- Liu, Y.; Frasier, S.J.; McIntosh, R.E. Measurement and classification of low-grazing-angle radar sea spikes. IEEE Trans. Antennas Propag. 1998, 46, 27–40. [Google Scholar] [CrossRef]
- Lo, T.; Leung, H.; Litva, J.; Haykin, S. Fractal characterisation of sea-scattered signals and detection of sea-surface targets. In IEE Proceedings F (Radar and Signal Processing); IET: London, UK, 1993; Volume 140, pp. 243–250. [Google Scholar]
- Guan, J.; Liu, N.B.; Huang, Y.; He, Y. Fractal characteristic in frequency domain for target detection within sea clutter. IET Radar Sonar Navig. 2012, 6, 293–306. [Google Scholar] [CrossRef]
- Zhou, H.; Jiang, T. Decision tree based sea-surface weak target detection with false alarm rate controllable. IEEE Signal Process. Lett. 2019, 26, 793–797. [Google Scholar] [CrossRef]
- Xu, S.; Zheng, J.; Pu, J.; Shui, P. Sea-surface floating small target detection based on polarization features. IEEE Geosci. Remote Sens. Lett. 2018, 15, 1505–1509. [Google Scholar] [CrossRef]
- Shui, P.L.; Li, D.C.; Xu, S.W. Tri-feature-based detection of floating small targets in sea clutter. IEEE Trans. Aerosp. Electron. Syst. 2014, 50, 1416–1430. [Google Scholar] [CrossRef]
- Shi, S.N.; Shui, P.L. Sea-surface floating small target detection by one-class classifier in time-frequency feature space. IEEE Trans. Geosci. Remote Sens. 2018, 56, 6395–6411. [Google Scholar] [CrossRef]
- Guo, Z.X.; Shui, P.L. Anomaly based sea-surface small target detection using K-nearest neighbor classification. IEEE Trans. Aerosp. Electron. Syst. 2020, 56, 4947–4964. [Google Scholar] [CrossRef]
- Wold, S.; Esbensen, K.; Geladi, P. Principal component analysis. Chemom. Intell. Lab. Syst. 1987, 2, 37–52. [Google Scholar] [CrossRef]
- Zhao, W.; Liu, C.; Liu, W.; Jin, M. Maximum eigenvalue-based target detection for the K-distributed clutter environment. IET Radar Sonar Navig. 2018, 12, 1294–1306. [Google Scholar] [CrossRef]
- Zhao, W.; Jin, M.; Liu, W. A modified matrix CFAR detector based on maximum eigenvalue for target detection in the sea clutter. In Proceedings of the 2018 IEEE Radar Conference (RadarConf18), Oklahoma City, OK, USA, 23–27 April 2018; IEEE: Piscataway, NJ, USA, 2018; pp. 0896–0901. [Google Scholar]
- Zhao, W.; Jin, M.; Cui, G.; Wang, Y. Eigenvalues-based detector design for radar small floating target detection in sea clutter. IEEE Geosci. Remote Sens. Lett. 2021, 19, 1–5. [Google Scholar] [CrossRef]
- Conte, E.; Lops, M.; Ricci, G. Adaptive detection schemes in compound-Gaussian clutter. IEEE Trans. Aerosp. Electron. Syst. 1998, 34, 1058–1069. [Google Scholar] [CrossRef]
- Xie, J.; Xu, X. Phase-feature-based detection of small targets in sea clutter. IEEE Geosci. Remote Sens. Lett. 2021, 19, 1–5. [Google Scholar] [CrossRef]
- Wan, H.; Tian, X.; Liang, J.; Shen, X. Sequence-feature detection of small targets in sea clutter based on Bi-LSTM. IEEE Trans. Geosci. Remote Sens. 2022, 60, 1–11. [Google Scholar] [CrossRef]
- Chen, X.; Su, N.; Huang, Y.; Guan, J. False-alarm-controllable radar detection for marine target based on multi features fusion via CNNs. IEEE Sens. J. 2021, 21, 9099–9111. [Google Scholar] [CrossRef]
- Qu, Q.; Wang, Y.L.; Liu, W.; Li, B. A false alarm controllable detection method based on CNN for sea-surface small targets. IEEE Geosci. Remote Sens. Lett. 2022, 19, 1–5. [Google Scholar] [CrossRef]
- Duan, G.; Wang, Y.; Zhang, Y.; Wu, S.; Lv, L. A network model for detecting marine floating weak targets based on multimodal data fusion of radar echoes. Sensors 2022, 22, 9163. [Google Scholar] [CrossRef]
- Wang, J.; Li, S. Maritime radar target detection in sea clutter based on CNN with dual-perspective attention. IEEE Geosci. Remote Sens. Lett. 2022, 20, 1–5. [Google Scholar] [CrossRef]
- LeCun, Y.; Bottou, L.; Bengio, Y.; Haffner, P. Gradient-based learning applied to document recognition. Proc. IEEE 1998, 86, 2278–2324. [Google Scholar] [CrossRef]
- Simonyan, K.; Zisserman, A. Very deep convolutional networks for large-scale image recognition. arXiv 2014, arXiv:1409.1556. [Google Scholar]
- He, K.; Zhang, X.; Ren, S.; Sun, J. Deep residual learning for image recognition. In Proceedings of the IEEE Conference on Computer Vision and Pattern Recognition, Las Vegas, NV, USA, 27–30 June 2016; pp. 770–778. [Google Scholar]
- Dai, H.; Du, L.; Wang, Y.; Wang, Z. A modified CFAR algorithm based on object proposals for ship target detection in SAR images. IEEE Geosci. Remote Sens. Lett. 2016, 13, 1925–1929. [Google Scholar] [CrossRef]
- The McMaster IPIX Radar Sea Clutter Database. Available online: http://soma.mcmaster.ca/ipix/ (accessed on 1 July 2021).
- Chapman, R.; Gotwols, B.; Sterner, R. On the statistics of the phase of microwave backscatter from the ocean surface. J. Geophys. Res. Ocean. 1994, 99, 16293–16301. [Google Scholar] [CrossRef]
- Hochreiter, S.; Schmidhuber, J. Long short-term memory. Neural Comput. 1997, 9, 1735–1780. [Google Scholar] [CrossRef] [PubMed]
- Hu, J.; Shen, L.; Sun, G. Squeeze-and-excitation networks. In Proceedings of the IEEE Conference on Computer Vision and Pattern Recognition, Salt Lake City, UT, USA, 18–23 June 2018; pp. 7132–7141. [Google Scholar]
- Kingma, D.P.; Ba, J. Adam: A method for stochastic optimization. arXiv 2014, arXiv:1412.6980. [Google Scholar]
Disclaimer/Publisher’s Note: The statements, opinions and data contained in all publications are solely those of the individual author(s) and contributor(s) and not of MDPI and/or the editor(s). MDPI and/or the editor(s) disclaim responsibility for any injury to people or property resulting from any ideas, methods, instructions or products referred to in the content. |
© 2024 by the authors. Licensee MDPI, Basel, Switzerland. This article is an open access article distributed under the terms and conditions of the Creative Commons Attribution (CC BY) license (https://creativecommons.org/licenses/by/4.0/).