Next Article in Journal
Exploring the Influence of Corporate Social Responsibility on Efficiency: An Extended Dynamic Data Envelopment Analysis of the Global Airline Industry
Previous Article in Journal
Teacher Entrepreneurship, Co-Creation Strategy, and Medical Student Entrepreneurship for Sustainability: Evidence from China
 
 
Font Type:
Arial Georgia Verdana
Font Size:
Aa Aa Aa
Line Spacing:
Column Width:
Background:
Essay

Seven Principles and Ten Criticisms: Towards a Charter for the Analysis, Transformation and Contestation of Smart Innovations

by
António Ferreira
CITTA: Centre for Research on Territory, Transports and Environment, Faculty of Engineering, University of Porto, 4200-465 Porto, Portugal
Sustainability 2022, 14(19), 12713; https://doi.org/10.3390/su141912713
Submission received: 9 August 2022 / Revised: 15 September 2022 / Accepted: 4 October 2022 / Published: 6 October 2022

Abstract

This theoretical essay argues that the development of so-called ‘smart innovations’ is based on the monotonous application of seven standardized principles: electrification, digitalization, webification, datafication, personalization, actuation, and marketization. When a new smart innovation appears, what has typically occurred was the implementation of these principles to an object or process that, until that moment, had managed to remain unscathed by the smart innovation monoculture. As reactions to this dominant logic, ten major critical arguments against smart innovations have emerged in the academic literature: smart innovations are considered to be superseding, unhealthy, subordinating, exploitative, manipulative, addictive, fragile, colonial, labyrinthine, and both ecologically and socially unsustainable. To a certain extent adopting the traits of a manifesto, this essay aims to challenge the monoculture of smart innovations by means of proposing the development of a charter potentially capable of promoting change on two fronts. First, facilitating technologists to develop truly creative ideas that are not based on the application of the monotonous principles of smart innovation. Second, challenging technologists to develop new ideas and concepts that are effectively beyond the above-mentioned ten criticisms. This is a highly relevant area for citizen-driven, political, and academic activism, as smart innovations, despite their conceptual weaknesses and patent negative consequences, surprisingly continue to be preferred beneficiaries for funding in contemporary policy-making and academic research circles.

1. Introduction: The Monotony of Smart-Everything-Everywhere

The Internet of Things (IoT) can be defined as a holistic vision that aspires to incorporate the full range of objects that assist everyday life in contemporary societies. If the IoT vision fully comes into being, virtually everything that humans in contemporary Western societies make regular use of—from toothbrushes to cars and from refrigerators to door locks—will become equipped with sensors, microcontrollers and microcomputers, actuators, and transceivers (a transmitter and receiver combined in one unit) that will keep these objects constantly connected to the Internet [1].
The IoT can create a multiplicity of new opportunities and efficiencies for individuals and organizations because of the variety and ubiquity of emerging virtual–physical technological assemblages it promises. Individuals might become able to automatically activate their coffee machine simply because they yawned. They might become able to automatically check what is the market value of a given property just because their smart glasses have registered a significant pupil dilation when looking at the building. The IoT can, moreover, potentially create a multiplicity of new opportunities for states, businesses, and economic activities because of the unfathomable amounts of data that smart technologies can produce and use, and the countless ways in which they can be deployed for all sorts of purposes. In fact, the IoT is considered a key enabler of the smart city [2].
Even though it is not an easy task to propose a consensual definition on what constitutes a smart city [3], it is clear for the European Commission that it should be associated with a highly pervasive, trans-sectorial, and multi-purpose logic [4]:
A smart city is a place where traditional networks and services are made more efficient with the use of digital solutions for the benefit of its inhabitants and business. A smart city goes beyond the use of digital technologies for better resource use and less emissions. It means smarter urban transport networks, upgraded water supply and waste disposal facilities and more efficient ways to light and heat buildings. It also means a more interactive and responsive city administration, safer public spaces and meeting the needs of an ageing population.
The smart city can, therefore, be seen as the IoT concept applied at the full urban scale for the purpose of achieving endorsed societal goals, in particular efficiency and economic growth. This essay explores the meaning of the similarities to be found in the IoT and smart city concepts. It proposes that smart innovations, whatever they might be, are based on seven basic principles that make them remarkably monotonous and predictable in terms of how they work. This is the case disregarding their specific sectors of activity, characteristics, scale, and purposes. As a result of the consistent application of the very same principles, this predictability also applies to the consequences of smart technologies. As this essay will argue in some detail, smart technologies typically lead to the same ten negative consequences, namely being superseding, unhealthy, subordinating, exploitative, manipulative, addictive, fragile, colonial, labyrinthine, and both ecologically and socially unsustainable. The juxtaposition of these seven principles with the ten criticisms allows the construction of a charter to analyze, transform, and contest smart innovations. Hopefully, this charter will contribute to the emergence of new ‘responsible’ innovation logics [5,6,7] that will prove to be more ethical, constructive, and ingenious than the one that currently monopolizes digital innovation policy. The present essay can, therefore, be considered a manifesto asking for a conceptual revolution in this sector.
The essay is structured as follows. Section 2 presents the seven principles of smartness while Section 3 introduces its key negative consequences. By means of combining these seven principles and ten criticisms, Section 4 proposes a new charter for the analysis, transformation, and contestation of smart innovations. Section 5 concludes the essay with some final remarks.

2. The Seven Immutable Principles of Smartness

The implementation of smart innovations, whatever they might be, depends on a set of sequential principles. These principles can be considered the DNA of smartness, as currently understood in the dominant technological, academic, and political circles. There are seven principles, which are sequenced as follows: electrification, digitalization, webification, datafication, personalization, actuation, and marketization. The seven principles will be briefly described below while explaining why they form a particularly logical sequence in that specific order.
The identification of these principles and their functional relationships was achieved by means of critically analyzing how innovations presented as smart by their developers, political supporters, or market advertisers actually work. The inductive–deductive analytical approach adopted to identify the full set of principles was conducted in two stages. First, the author analyzed advertisements, technical explanations, policy justifications, briefs, manuals, and other documents and imagery associated with smart innovations to achieve a high level of fluency on the subject. Smart innovations from several sectors were considered. The considered sectors were personal communication, transport, urban governance, logistics, urban agriculture, corporate management, childcare, and general domestic appliances. Second, aspects that were common to all products were identified and clustered. These clusters were critically analyzed so that a minimum number of clusters were used. This led to the formation of just seven clusters, which were then designated for the purpose of writing this essay as ‘principles’. A smart innovation can, therefore, be defined as a new technology that was produced in a way that actively makes use of all these seven principles. The seven principles can be described as follows:
The first principle is electrification: the conversion of things (whatever they might be; for example, toothbrushes, watches, kitchen appliances, motorized vehicles, factory machines, governance practices, public participation processes, etc.) that were hitherto powered by physical or intellectual labor, fossil fuels, or any other form of energy into things powered by electricity.
Electrification is a basic prerequisite for the second principle to be implemented, that of digitalization. In contrast to analogue technologies (such as old radios, but also mercury thermometers), smart technologies (e.g., 5G mobile phones) convert and provide information through the use of computational units. This means that the sound produced by an old radio is a direct acoustic manifestation of the radio waves received by the radio device, similarly to how the level of mercury inside a thermometer is determined by the extent to which the mercury expands or contracts inside its glass tube as the temperature varies. This also means that while some analogue technologies depend on electricity to work (e.g., old radios), some of these technologies are independent from any electricity source (e.g., mercury thermometers). Conversely, smart technologies always need electric power to work because they rely on digital processors to compute data. For example, the sound produced by a smart phone is the result of a networked computing process, which converts acoustic waves into quantified data streams that have to be analyzed by the smart phone processor so that the data can be converted back into sound. All these computational procedures consume electric energy and require electric components to be performed.
The third principle of smart technologies is webification. This can be defined as the process of incrementally creating the IoT, that is, a pervasive system capable of emitting and receiving in real time multiple streams of data from multiple interconnected devices, preferably using wireless connections. Without webification, the fourth principle, that of datafication, cannot be implemented.
With datafication, it is meant that when a given technology is used, the technology will not only produce and/or use digital data so that it can work in the way it is supposed to, but it will also have the means to store such data. There are two options for storing data: in the device itself (which grants limited possibilities for data use and is therefore discouraged) and in centralized data centers (that is, in the memory of super computers) where the data of multiple devices and from multiple users is compounded into an increasingly larger dataset. This grants a much higher number of possibilities for data usage and exploitation than when the data is exclusively stored in each device, and in particular when multiple datasets are combined into big datasets. Questions such as who did what, when, how, with whom, and at what time are becoming absolutely key for the organization of these databases. This takes us to the next principle: personalization.
By personalization, it is meant that smart technologies tend to work only after the user provides a personalized username and password or—in more advanced cases—after the identity of the user is determined through some biometric reading. After the identity of the user has been identified, the technology will produce data that will include a reference to inform who the user was when the data was produced. The large datasets that are typically compiled as a result of smart technology utilization can be, and are typically, applied to build a very precise profile for each user. With this, individuals are converted into data streams in the same way that smart technologies are also converted into data streams. Another feature of personalization is that each smart technology adapts itself to meet the needs and aspirations of each user—sometimes with the (either explicit or implicit) goal of changing his or her perceptions, thoughts, and behaviors. This takes us to the next principle: that of actuation.
Smart technologies follow the principle of actuation to different degrees. At the highest degrees, actuation is achieved through complete automation or quasi-automation of smart technologies. When full automation is deployed, these technologies become active in either forcing selected individuals to behave in given ways, or in replacing their work and/or presence completely. For example, consider a fully automated vehicle that will compulsorily replace the human driver, as there will neither be driving controls inside the cabin nor the option to turn off the automated driving functions. At the lowest degrees, actuation is achieved by means of nudging selected users to perceive certain things instead of others, or to behave in given ways.
The last of the seven principles is marketization. With marketization, it is meant that opportunities for capitalizing on smart technologies are actively explored at all times. Marketization can be achieved through selling, buying, and exploring both smart tech devices and data-related market opportunities; by means of delivering higher levels of personalization so that individuals become willing or are forced to pay for it; or by means of putting actuation at the service of profitable ends that serve the interests of individuals, organizations, or lobbies that can pay for such services—just to mention some obvious possibilities.
Table 1 presents a summary of the six principles of smart technologies presented above. The critical analysis of this table vis-à-vis the overwhelming majority of existing or forthcoming innovations to which the adjective ‘smart’ is being or was already granted leads to a disturbing insight. They typically make monotonous use of all these principles. Consider the following examples: personal computers, mobile phones, internet connections, smart kitchen appliances, health and fitness monitors, urban governance and surveillance centers, internet radios, and smart mobility solutions. In other words, the smart vision is narrow and limiting in the same proportion that it aspires to be applied to everything and anything exactly in the same way.

3. Ten Critiques: The Negative Consequences of Smartness

This section must start with a disclaimer. By means of focusing only on criticisms and negative consequences, it is not meant in this essay that smart technologies are incapable of leading to a wide range of positive outcomes. Rather, it is meant that these negative consequences are most likely to be experienced in all cases where smart innovations are being, or will be, employed. As what is being promoted is the transformation of a growing number of technologies into smart technologies alongside the smart technologization of everything that hitherto operated at a low or zero tech level, one can only expect that these problems will become increasingly pervasive and intense. As we will see, smart innovations represent not only a potential threat to human health and well-being. They also constitute a significant threat to the natural environment. The argument, therefore, goes in the direction that alternatives to smart technologies are urgently needed despite their capacity to deliver some positive outcomes.
These criticisms were identified through a literature review that encompassed a large number of academic publications (both articles and books) that presented critical views on smart innovations. The review was performed as follows. First, the author analyzed the abstracts of critical publications on the smartness subject. These publications were found in academic search engines by means of using search terms such as ‘smart’, ‘digital’, and ‘AI’ combined with terms such as ‘impacts’, ‘drawbacks’, and ‘critique’, etc. Second, the most relevant critical publications were selected and read. The reading of these publications allowed the compilation of various critical arguments against smart innovations. These were grouped in clusters by similarity to reduce their number to the minimum, and to prevent their consideration as separate criticisms arguments that share too much in common and present only minor variations on the same line of reasoning. This process led to the identification of ten high-level and distinct criticisms against smart innovations (even though some overlaps among different criticisms remained). An analytical effort was made so that the smart innovation principles that have triggered the criticisms could be identified. These ten criticisms will be presented now.
The first criticism concerns the superseding qualities of smart technologies. Mainly due to the combination of the webification, personalization, and actuation principles, smart technologies have become enablers of remarkably ubiquitous cognitive, emotional, and performative bubbles. These bubbles interfere with human senses, perceptions, and actions. They make it increasingly harder for individuals to experience the world at large without the specific biases, nudges, distortions, and even addictive properties that smart technologies are increasingly associated with due to the marketization principle—with massive costs for privacy, self-determination, and democracy [8]. Putting it in simpler terms, smart technology developers are using all sorts of things people perceive and do as opportunities for manipulation, so that the developers themselves and their clients can accumulate as much profit and power as possible. Moreover, the superseding qualities of smart technologies lead to a range of negative implications for the governance of public institutions, as the eyes and ears of governments are also increasingly perceiving the world through smart bubbles. The risks and drawbacks of technocratic governance are, therefore, becoming increasingly relevant [9,10], as governments are becoming incapable of operating in ways that do not worryingly resemble a robot in action.
The second criticism concerns the unhealthy properties of smart technologies. Due to the webification principle, the ubiquitous and inescapable smart bubbles mentioned above are exposing human beings to increasingly strong and permanent Wi-Fi radiation fields, and to all the threats that such fields might represent for physical health [11,12,13]. Human health is also being affected by the increasing levels of exposure to the radiation produced by the mobile phone base stations (commonly referred to as mobile phone antennas) that are being installed in urban areas at a massive rate so that the smart city vision can be implemented, regardless of individuals being users or non-users of mobile phones or any other portable smart devices [14,15,16]. Additionally, and mainly due to the datafication, personalization and actuation principles, smart bubbles are most likely to represent serious hindrances to children’s cognitive and emotional development [17]. Note also that smart technologies constitute a psychological and social problem for those that both want or have to stay outside smart bubbles. These individuals are exposed to the soaring risk of losing their voices, rights, and opportunities as societies increasingly focus their attention on what and who is to be found inside smart bubbles [18].
The third criticism is about the subordinating qualities of smartness. Permeating this criticism is the fundamental concern that smart technologies might be or might become state-sponsored dehumanizing tools for neoliberal corporate domination [8,9,19] (and for autocratic states to expand and consolidate their unilateral powers). Driven by the personalization, actuation, and marketization principles, these qualities convert smart tech into a tool to produce submissive, vulnerable, and replaceable individuals, companies, and even public organizations. Subordination as used here means that (some) humans will place (other) humans under the power of smart machines, either by means of giving to the machines the capacity to physically actuate upon (other) human bodies, or by means of creating the conditions in which (other) human bodies are rendered useless or alien. In the most extreme and extraordinary sense, subordination has been aimed at creating automated military devices capable of delivering death without any form of active participation from the part of those who kill. It must be said that ‘automated killing’ has been received with strong skepticism by many parties (see, for example, [20]). However, innovations such as automated mobility and AI-driven decision-making are being not only welcomed by many, but are also becoming the recipients of massive research funds mobilized by corporate governmental lobbies in the name of efficiency, innovation, health and safety promotion, and convenience.
The fourth criticism concerns the exploitative logic of smartness as yet another expression of capitalists’ pursuit of maximized profits. To a large extent legitimated by the principles of datafication and marketization (and the imperative of continuous economic growth that supposedly makes marketization morally acceptable, see [21]), the purchase of a given smart technology typically constitutes a persistent financial burden for their users and/or owners that keeps capital constantly flowing towards the big tech gargantuan bank accounts. As noted by Morozov [22], smart technologies do not represent a massive disruption to the capitalist order, as often implied, but just a normal and long-predicted expression of standard capitalism. To understand why this is the case, we will consider here again the examples given by old radios and mercury thermometers as contrasted to current mobile phones. The users of old radios and mercury thermometers would have to invest money in their purchase but, once they were acquired, they would keep on working for a long time and without additional costs—sometimes for an entire lifetime. Conversely, the users of contemporary smart phones not only pay for the purchase of these machines. They also have to pay an ongoing fee to operators to keep the mobile phones working. A variety of functions that the phones are able to perform, if activated, also represent extra costs. Additionally, users are charged in a non-monetary and hidden way through a variety of tracking and data-extraction devices that make today an integral part of smart phone operation. This is a particularly exploitative means for commodifying human privacy: in many cases, individuals have no saying or benefit from such commodification processes [8,23,24]. Furthermore, the phone is constantly trying to nudge the user so that he or she engages in additional market interactions. Finally, even though it is debatable whether mobile phones are produced with planned obsolescence in mind, it is widely accepted that they are not meant to work for long. They soon start to develop all sorts of inefficiencies and problems and have to be replaced by new ones. It is almost disheartening to compare the reliability and endurance of old school wired telephones with that of smart phones.
The manipulative drive of smart technologies is at the basis of the fifth critique. Manipulation—which is legitimated by the assumption that it is morally acceptable to alter individuals´ perceptions, attitudes, and behaviors for the achievement of third-party goals—comes into being through the principles of personalization, actuation, and marketization. The behaviorist foundations of the smart vision are exposed by Zuboff [8], who alerts her readers to the perfectly unethical assumption held by many smart innovators that the human mind is to be compared with a mechanical system to be played with. If the mechanisms that rule this system are fully understood, then smart tech will have the power to manipulate individuals accordingly to achieve the desired outcomes. This strongly resonates with the foundations of dominant public policy in Western neoliberal societies, equally convinced that states should approach individuals as mechanical systems equipped with given sets of attitudes and corresponding behaviors open for tuning [25]. This is an instrumentalist, patronizing, and anti-democratic paradigm, aimed at destroying free will in the pursuit of governmental and/or corporate goals—however, one that is so accepted today that is rarely questioned in mainstream research and policy-making circles.
The sixth critique is about the addictive properties purposefully built into smart technologies. Legitimated primarily through the personalization and marketization principles, a variety of contemporary smart technologies aims at keeping their users engaged for as long as possible, as engagement has become a source of profits. The term ‘economics of attention’ [26,27] emerged precisely as a recognition that individuals’ capacity to stay engaged with a given thing or process is limited, and this applies especially to Internet-based products (e.g., accessing a social media platform). In line with this, smart innovators started to willingly include in their products features informed by scientific research about how and why individuals develop addictions. The intention was to create addictive technologies so that users´ engagement time could be maximized. With this, the amount of data extracted from users could be maximized, as well as the number of opportunities to induce in users’ profitable behavioral changes [8].
Concerns about the risks associated with fragile smart technologies drive the seventh critique, which becomes especially relevant due to the smart principles of electrification, digitalization, and webification. The software that runs smart technologies necessarily needs to be complex due to the ambitious aspirations associated with the smart vision. As contingencies emerge, smart software needs to be patched up and updated, which represents further increments of complexity and, therefore, an even greater probability of software-related problems to manifest. As smart technologies become increasingly ubiquitous and intrusive, the probability of problems to manifest in all sorts of circumstances, sectors, devices, and places increases proportionally—or, perhaps, even exponentially due to the intricate interdependencies that are being developed among the different types of smart technologies connected to each other [9,28].
The eighth critique concerns the colonial nature of the smart vision [29]. This critique emerges primarily due to the smart vision´s reliance on the principles of complete digitalization, webification, and datafication of the world around us (and of ourselves). For the advocates of smartness, everything-everyone-everywhere should be converted into smart-something for the benefit of innovation, economic growth, efficiency, and other essentially modern ideals. This is regretfully similar to what happened during early colonialism, but this time with market maxims, mobile phones, micro-processors, and app users instead of Christian maxims, ships, guns, and slaves [30,31,32]. It also represents a regression of the intellectual achievements of the late twentieth century, where individuals are collectively going back to a quasi-religious enthusiasm with the power of technology that dominated (and misled) Western societies for so long. The same naïve, yet greedy, tech-fascinated mentality that brought us nightmarish factories, polluted cities, and oppressed working classes—and that led us to live in car-dominated cities, endless suburbs, and shopping malls—has learnt very little with its mistakes and is now willing to impose upon us its smart paraphernalia [33]. The trend seems to be as follows: as we today try to cope with the destructive consequences of the industrial revolution and the universal-colonizing car dependency, future generations will have to cope with the destructive consequences of universal and colonizing smart tech dependency as well.
The ninth critique is of a juridical nature and concerns the labyrinthine legal properties of smart technologies. Smart technologies can contribute to generate wicked legal problems, namely through the webification, datafication, personalization, actuation, and marketization principles. The multiplicity of ways in which smart technologies can be legally problematic is so vast that it completely transcends the scope of this work. Due to this, only two examples will be provided. A first example: when person A gives permission for a given smart tech to extract data from her personal or professional life, the data will entail information about a variety of individuals and organizations that maintain on-going relationships with person A. Even though these individuals and organizations might not be aware of it, their lives and activities will be converted into profitable data streams without any form of consent from their part, but only from third parties [24]. A second example: signing one electronic contract on the internet typically means celebrating a multiplicity of other, relatively invisible, or in fact invisible, contracts. This happens because most smart technologies run using a complex architecture of interconnected devices and software systems that are mutually dependent and, therefore, rely on each other to operate. Signing a contract with one service provider potentially means signing contracts with all the partners and synergists of that provider´s technology. When hidden contracts change, the overwhelming probability is that the user will not be aware of it. In fact, the probability is that the user has read no contract whatsoever in the first place as the technicalities of internet-based contracts tend to be purposefully beyond what common internet users can (or have the time to) grasp. In practice, this logic offers smart innovators all sorts of opportunities to induce clients to sign contracts absolutely against their own best interests [8].
The tenth, and last (but surely not least), critique to be covered here concerns the ecologically and socially unsustainable properties of the smart vision, which result from the electrification and digitalization principles. Interestingly, this vision has been presented by its proponents as environmentally friendly precisely because of its use of electric energy instead of fossil fuels. However, electronic devices in general and digital devices in particular require scarce resources to be built. The foreseeable future is, with this, likely to be characterized by environmentally destructive forms of mining of these scarce resources and by severe geopolitical tensions derived from their limited availability at the planetary level. Paradoxically, this topic is rarely mentioned in the academic literature, and there is limited awareness about its importance [34,35], even though mainstream newspapers are starting to cover it more frequently and critically (see, for example, [36]). Furthermore, electric machines can only be as sustainable as their primary energy sources are. If the electric energy stored in the battery of an electric vehicle was produced with the combustion of coal, the ecological sustainability of that vehicle would most probably be lower than that of a vehicle running on fuels such as gas or petrol: not only does the electric vehicle require the mining of rare materials to be produced, but it also requires the combustion of a highly destructive source of energy to be operated. As a result, electric machines cannot be presented as intrinsically sustainable, as often is the case. The narrative that defends the environmentally friendly properties of smart technologies is also based on their alleged capacity to promote efficient processes. However, there are strong reasons to believe that the pursuit of efficiency is in fact problematic for the natural environment due to so-called ‘rebound effects’ (or the Jevons paradox): long-term decreases in overall efficiency derived from sectorial efficiency improvements [37,38,39]. Finally, the pursuit of efficiency is a problematic and undesirable goal for the future of human societies. As Hill [33] notes, values that mobilize human beings are community, culture, enjoyment, conviviality, creativity, and engagement. These values are characterized by the lack of, and even aversion to, efficiency. The pursuit of smart efficiency can, with this, easily lead to highly unsustainable developments from the social point of view. Table 2, below, displays a summary of the ten critiques of smart technologies presented in this section.

4. Towards a Tentative Charter

The previous sections have presented the seven principles that rule smart technologies and the ten major criticisms held against them. These principles and criticisms can be assembled so that a charter is created for the analysis, transformation and improvement, and contestation of smart innovations.
This charter has two major sections. The first is informed by the seven principles of smart innovations: electrification, digitalization, webification, datafication, personalization, actuation, and marketization. A person or organization wanting to develop an innovative product might want to assess the extent to which their new product is ruled by these principles. If all these principles apply, we are most certainly in the presence of what is called a smart innovation, that is, a fundamentally non-innovative concept that repeats in a new setting, subject, or object something that has been done time and again in multiple other settings, subjects, or objects. The proposal made here to innovators is, therefore, to try to develop new ideas that use the least amount possible of these seven principles. Note that this first section of the charter can be equally used by a variety of other stakeholders besides tech developers: for example, political decision-makers, legal regulators, planners, activists, and so on. These stakeholders and professionals can constructively use this first section of the charter to check the smart or less-smart nature of a proposed or existing product. The greater the number of smart principles being used, the greater the probability that the product will lead to all negative consequences to be considered in the second section of the charter (to be presented below). However, and as we will see with some examples, a detailed critical analysis might also prove to be relevant in such cases. The purpose of the second section of the charter is to help in this detailed analysis.
The second section of the charter is composed by the ten major criticisms held against smart technologies. A person or organization wanting to develop an innovative product might want to assess the extent to which the product is superseding, unhealthy, subordinating, exploitative, manipulative, addictive, fragile, colonial, labyrinthine, and/or unsustainable. If the innovation fails in any of these tests, the innovator is encouraged to redesign their product so that it manages to succeed in all the tests. As with the first section of the charter, this section might also be useful for political decision-makers, legal regulators, planners, activists, and so on, in their attempts to safeguard the public interest.
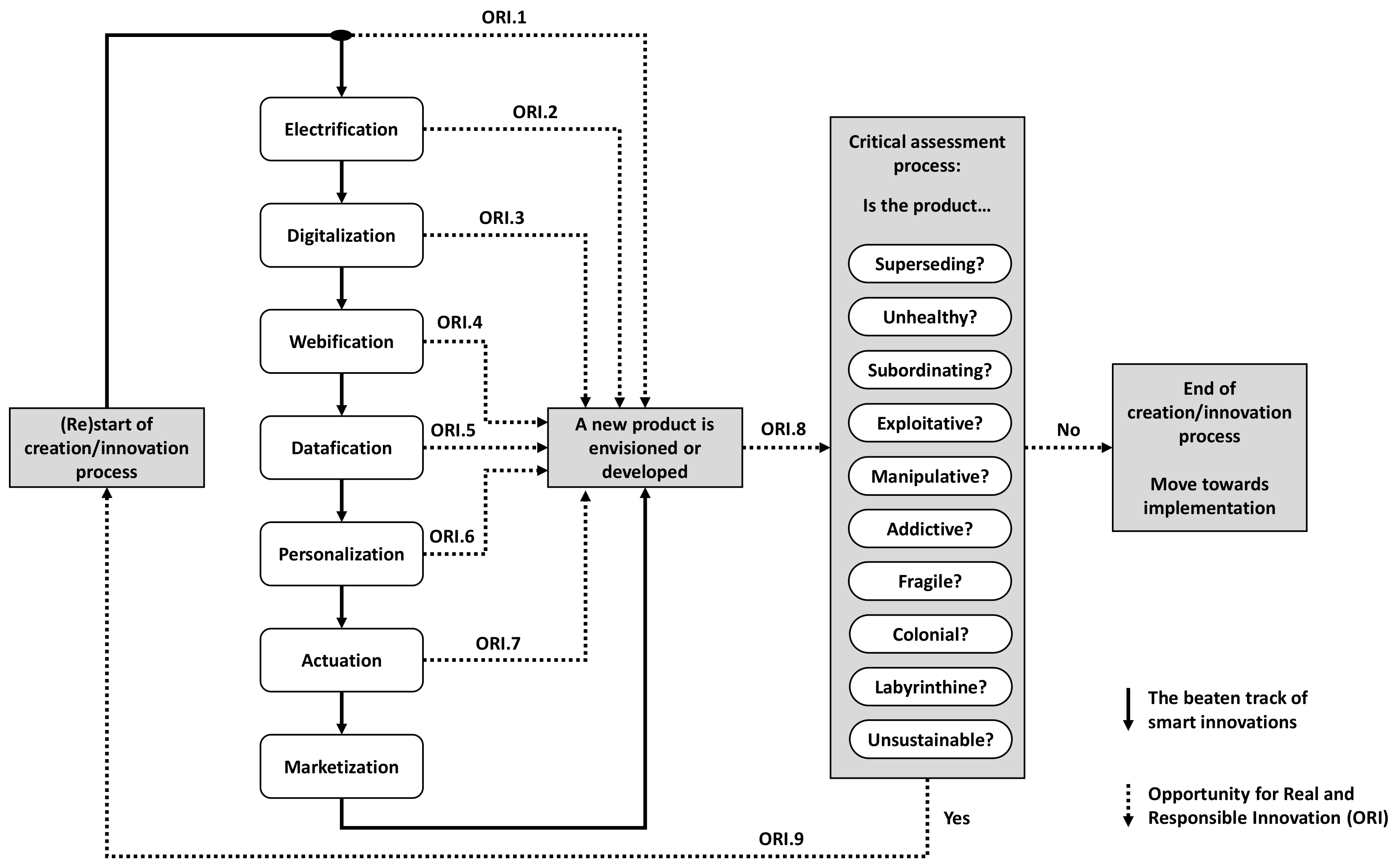
The charter is visually represented in Figure 1, which presents the act of avoiding the use of the seven principles as opportunities for achieving Real (in the sense of genuine) and Responsible Innovation (ORI). Each principle, when avoided, offers one opportunity of such kind. Additional opportunities for achieving Real and Responsible Innovations also emerge from, first, undertaking a critical assessment where the best and most ethical efforts are employed to determine whether the new product manages to avoid the ten criticisms. Even if one or several of these criticisms remain applicable to a given product, it can be of great positive consequence if the product is explicitly presented in the market as having that or those faulty aspects. Tobacco packages and the bottles of alcoholic beverages contain alerts for their negative consequences, and smart innovations should also have them. However, the most promising path would be that indicated in Figure 1 by the acronym ORI.9: when innovators conclude that any of the critiques is applicable to their envisioned product, they choose to restart the creation/innovation process.
Note that a sophisticated use of this charter is prone to lead to nuanced results. It is more useful if applied to compare alternatives than to make very fundamental statements about a given technology. Indeed, smart innovation A might be much more addictive than smart innovation B, while innovation B might be much more fragile than A—nevertheless, both might be equally considered smart. As a way of clarifying this point, one can pay attention to The New York Times issue of 18–19 September 2021. Here, reporters Brian Chen and Kate Conger report that tech giants such as Google, Facebook, and Apple are becoming increasingly willing to respect their users´ privacy rights. They are already implementing, or planning the implementation in the short term, of important changes in their products. Apple modified its web browser (Safari) in 2017 so that marketing companies could no longer track users as they navigate the Internet from site to site. Furthermore, Apple wants the users of their premium iPhones to have the right to completely block any form of tracking from third parties. As discussed in this issue of The New York Times, the consequences of this change made to iPhones (which interfere with the datafication and personalization principles) are both beneficial and problematic in terms of the exploitation critique (see Table 2). Such change will allow premium iPhone users to protect themselves from having their personal and professional lives scrutinized by marketing companies, which is beneficial. However, such change renders privacy a privilege of the rich who can afford top iPhones, which is problematic as the poor will remain equally (or even more) exploited.
We can see the same matter through another perspective. As mentioned in this The New York Times issue, Google, Facebook, and Apple are all willing to protect their users’ privacy by means of dramatically reducing the number and effectiveness of tracking devices implemented in their smart products. This change to the principles of datafication and personalization comes across, at first sight, as mainly positive in terms of the exploitation critique. However, as we have seen above, this is not completely accurate: protection from exploitation will depend on ability to pay. Furthermore, such change will increase, instead of reduce, the dependency that multiple other tech and marketing companies have on Google, Facebook, and Apple. This happens because, as cookies and other tracking means will be removed from personal devices, only very major companies with countless users such as Google, Facebook, and Apple will be able to develop their own big datasets. This will reinforce even further the monopolistic conditions these companies already enjoy and will equip smart technologies developed by them with even greater subordinating powers (see critique 3, Table 2).
In summary, this charter appears as a useful contribution for innovators to think outside their usual box. It also appears as a useful contribution for other stakeholders and professionals to assess, request changes, and contest the development and implementation of smart innovations in their communities and/or jurisdiction areas. Insights on the validity of these hypotheses and the usefulness of such charter should be provided by future research and practical attempts to apply the charter.

5. Concluding Remarks

This essay has started with the following claim: smart innovations, despite being typically presented as the cutting edge of technological development, cannot be awarded such a title, because to be developed and implemented, they unfailingly rely on a limited number of highly repetitive and even exhausted principles. To call something innovative when it is utterly characterized by uncreative monotony is, to say the very least, ironic. However, the mainstream understanding is that when a given object or process is exposed to the seven immutable principles of smartness, what results is necessarily innovative. These immutable principles are electrification, digitalization, webification, datafication, personalization, actuation, and marketization. It is necessary to challenge this false innovation claim so that tech developers are encouraged to become truly innovative once again. After making this initial claim, the essay has moved on to present a set of ten fundamental criticisms against smart technologies. These tend to be superseding, unhealthy, subordinating, exploitative, manipulative, addictive, fragile, colonial, labyrinthine, and unsustainable.
Developing greater awareness of these issues in mainstream circles—and particularly in the specific circles that expect great benefits from smart cities and the IoT—can play a very important role in the promotion of more ethical, constructive, and creative technologies. These seven principles and ten criticisms can be developed to form a charter aimed at facilitating the analysis, transformation, and contestation of smart innovations. Importantly, this charter might be useful not only among innovators interested in upgrading the quality and novelty of their ideas. It can also serve for policy-makers, regulators, and anyone concerned with the public interest to demand, finally, something truly good.
It is relevant, before concluding, to alert the reader to the possible geographical limits of the claims made in this essay. The author has limited knowledge about the latest trends concerning smart innovations in non-Western countries, and particularly in China. The claims made here, therefore, take into consideration the general context of Western societies that the author knows better. China is a country that is playing a very important role at the global level in the promotion of so-called smart technologies and cities. Future research on smart innovations in China particularly, and in non-Western countries more generally, could offer the required situated understandings so that the proposed charter could become (also?/fully?/partially?) applicable to such geographical contexts.

Funding

This research received no external funding.

Institutional Review Board Statement

Not applicable.

Informed Consent Statement

Not applicable.

Data Availability Statement

Not applicable.

Acknowledgments

The author wishes to express his gratitude to the Centre for Urban Studies of the University of Amsterdam for sponsoring his participation in the seminar ‘Beyond Technosolutionism’, which was organized by Marco te Brömmelstroet and Anna Nikolaeva. It was the author’s participation in that event that led to the writing of this essay.

Conflicts of Interest

The author declares no conflict of interest.

References

  1. Zanella, A.; Bui, N.; Castellani, A.; Vangelista, L.; Zorzi, M. Internet of Things for Smart Cities. IEEE Internet Things J. 2014, 1, 22–32. [Google Scholar] [CrossRef]
  2. Evertzen, W.; Effing, R.; Constantinides, E. The Internet of Things as Smart City Enabler: The Cases of Palo Alto, Nice and Stockholm; Springer International Publishing: Cham, Switzerland, 2019. [Google Scholar]
  3. Angelidou, M. Smart cities: A conjuncture of four forces. Cities 2015, 47, 95–106. [Google Scholar] [CrossRef]
  4. E.C. Smart Cities: Cities using Technological Solutions to Improve the Management and Efficiency of the Urban Environment. 2020. Available online: https://ec.europa.eu/info/eu-regional-and-urban-development/topics/cities-and-urban-development/city-initiatives/smart-cities_en (accessed on 3 January 2022).
  5. Stilgoe, J.; Owen, R.; Macnaghten, P. Developing a framework for responsible innovation. Res. Policy 2013, 42, 1568–1580. [Google Scholar] [CrossRef]
  6. Von Schomberg, R. Prospects for Technology Assessment in a framework of responsible research and innovation. In Technikfolgen Abschätzen Lehren: Bildungspotenziale Transdisziplinärer Methoden; Dusseldorp, M., Beecroft, R., Eds.; Vs Verlag: Wiesbaden, Germany, 2012; pp. 39–61. [Google Scholar]
  7. Von Schomberg, R. A vision of Responsible Research and Innovation. In Responsible Innovation: Managing the Responsible Emergence of Science and Innovation in Society; Owen, R., Heintz, M., Bessan, J., Eds.; John Wiley: London, UK, 2013; pp. 51–74. [Google Scholar]
  8. Zuboff, S. The Age of Surveillance Capitalism: The Fight for a Human Future at the New Frontier of Power; Profile Books: London, UK, 2019. [Google Scholar]
  9. Kitchin, R. The real-time city? Big data and smart urbanism. GeoJournal 2014, 79, 1–14. [Google Scholar] [CrossRef]
  10. Hollands, R.G. Will the real smart city please stand up? City 2008, 12, 303–320. [Google Scholar] [CrossRef]
  11. Pall, M.L. Wi-Fi is an important threat to human health. Environ. Res. 2018, 164, 405–416. [Google Scholar] [CrossRef]
  12. Sage, C.; Burgio, E. Electromagnetic Fields, Pulsed Radiofrequency Radiation, and Epigenetics: How Wireless Technologies May Affect Childhood Development. Child Dev. 2018, 89, 129–136. [Google Scholar] [CrossRef]
  13. Kostoff, R.N.; Heroux, P.; Aschner, M.; Tsatsakis, A. Adverse health effects of 5G mobile networking technology under real-life conditions. Toxicol. Lett. 2020, 323, 35–40. [Google Scholar] [CrossRef]
  14. Meo, S.A.; AlMahmoud, M.; Alsultan, Q.; Alotaibi, N.; Alnajashi, I.; Hajjar, W.M. Mobile Phone Base Station Tower Settings Adjacent to School Buildings: Impact on Students’ Cognitive Health. Am. J. Men’s Health. 2018, 13, 1557988318816914. [Google Scholar] [CrossRef]
  15. Koppel, T.; Ahonen, M.; Carlberg, M.; Hedendahl, L.K.; Hardell, L. Radiofrequency radiation from nearby mobile phone base stations-a case comparison of one low and one high exposure apartment. Oncol. Lett. 2019, 18, 5383–5391. [Google Scholar] [CrossRef]
  16. Abdel-Rassoul, G.; El-Fateh, O.A.; Salem, M.A.; Michael, A.; Farahat, F.; El-Batanouny, M.; Salem, E. Neurobehavioral effects among inhabitants around mobile phone base stations. NeuroToxicology 2007, 28, 434–440. [Google Scholar] [CrossRef] [PubMed]
  17. Desmurget, M. La Fabrique du Crétin Digital: Les Dangers des Ecrans pour nos Enfants; Seuil: Paris, France, 2019. [Google Scholar]
  18. Robinson, C.; Franklin, R. The sensor desert quandary: What does it mean (not) to count in the smart city? Trans. Inst. Br. Geogr. 2021, 46, 238–254. [Google Scholar] [CrossRef]
  19. Vanolo, A. Smartmentality: The Smart City as Disciplinary Strategy. Urban Stud. 2014, 51, 883–898. [Google Scholar] [CrossRef]
  20. Finn, P. A Future for Drones: Automated Killing. Wash. Post 2011. Available online: www.washingtonpost.com/national/national-security/a-future-for-drones-automated-killing/2011/09/15/gIQAVy9mgK_story.html (accessed on 5 October 2022).
  21. Von Schönfeld, K.; Ferreira, A. Urban Planning and European Innovation Policy: Achieving Sustainability, Social Inclusion, and Economic Growth? Sustainability 2021, 13, 1137. [Google Scholar] [CrossRef]
  22. Morozov, E. Capitalism’s New Clothes. Baffler 2019. Available online: https://thebaffler.com/latest/capitalisms-new-clothes-morozov (accessed on 4 February 2019).
  23. Foroohar, R. Don’t Be Evil: The Case Against Big Tech; Penguin: London, UK, 2019. [Google Scholar]
  24. Viljoen, S. Democratic data: A relational theory for data governance. Yale Law J. 2021, 131, 573. [Google Scholar] [CrossRef]
  25. Shove, E. Beyond the ABC: Climate Change Policy and Theories of Social Change. Environ. Plan. A Econ. Space 2010, 42, 1273–1285. [Google Scholar] [CrossRef]
  26. Goldhaber, M.H. The attention economy and the Net. First Monday 1997, 2. [Google Scholar] [CrossRef]
  27. Lanham, R. The Economics of Attention: Style and Substance in the Age of Information; The University of Chicago Press: Chicago, IL, USA, 2006. [Google Scholar]
  28. Townsend, A. Smart Cities: Big Data, Civic Hackers, and the Quest for a New Utopia; WW Norton & Company: New York, NY, USA, 2013. [Google Scholar]
  29. Ferreira, A.; Oliveira, F.P.; von Schönfeld, K.C. Planning cities beyond digital colonization? Insights from the periphery. Land Use Policy 2022, 114, e20190061. [Google Scholar] [CrossRef]
  30. Milan, S.; Torré, E. Big Data from the South(s): Beyond Data Universalism. Telev. New Media 2019, 20, 319–335. [Google Scholar] [CrossRef]
  31. Couldry, N.; Mejias, U.A. Data Colonialism: Rethinking Big Data’s Relation to the Contemporary Subject. Telev. New Media 2018, 20, 336–349. [Google Scholar] [CrossRef]
  32. Ricaurte, P. Data Epistemologies, The Coloniality of Power, and Resistance. Telev. New Media 2019, 20, 350–365. [Google Scholar] [CrossRef]
  33. Hill, D. On the smart city. Or, a ‘manifesto’ for smart citizens instead. Medium 2013. Available online: https://medium.com/butwhatwasthequestion/on-the-smart-city-or-a-manifesto-for-smart-citizens-instead-7e0c6425f909 (accessed on 5 October 2022).
  34. Stegen, K.S. Heavy rare earths, permanent magnets, and renewable energies: An imminent crisis. Energy Policy 2015, 79, 1–8. [Google Scholar] [CrossRef]
  35. Hofmann, M.; Hofmann, H.; Hagelüken, C.; Hool, A. Critical raw materials: A perspective from the materials science community. Sustain. Mater. Technol. 2018, 17, e00074. [Google Scholar] [CrossRef]
  36. Watts, J. Race to the bottom: The disastrous, blindfolded rush to mine the deep sea. In The Guardian; 2021. Available online: www.theguardian.com/environment/2021/sep/27/race-to-the-bottom-the-disastrous-blindfolded-rush-to-mine-the-deep-sea (accessed on 5 October 2022).
  37. Figge, F.; Young, W.; Barkemeyer, R. Sufficiency or efficiency to achieve lower resource consumption and emissions? The role of the rebound effect. J. Clean. Prod. 2014, 69, 216–224. [Google Scholar] [CrossRef]
  38. Alcott, B. Jevons´ Paradox. Ecol. Econ. 2005, 54, 9–21. [Google Scholar] [CrossRef]
  39. Sorrell, S. Jevons’ Paradox revisited: The evidence for backfire from improved energy efficiency. Energy Policy 2009, 37, 1456–1469. [Google Scholar] [CrossRef]
Figure 1. Visual representation of the proposed charter.
Figure 1. Visual representation of the proposed charter.
Sustainability 14 12713 g001
Table 1. The seven principles of smart technologies.
Table 1. The seven principles of smart technologies.
Smart PrincipleBrief Definition
1. ElectrificationThe conversion of technologies that were hitherto powered by human labor, wind, fossil fuels, or other forms of energy into technologies powered by electricity.
2. DigitalizationThe replacement of analogue technologies by digital technologies and the implementation of digital technologies in hitherto tech-free contexts (including nature).
3. WebificationThe systematic connection of all digital technologies to the Internet or to other means of data transmission, data storage, personalization, actuation, and marketization.
4. DataficationThe use of digital technologies to capture and store data, preferably in centralized databases that compound information from multiple devices and multiple users.
5. PersonalizationThe transformation of technologies so that they work only when the user was precisely identified and so that they adapt themselves to the specific characteristics of each user.
6. ActuationThe systematic use of technologies to change the perceptions of individuals and associated behaviors, and to suppress the agency of humans in selected activities.
7. MarketizationThe use of all previous principles to create opportunities for maximized market activity in the name of profit, capital accumulation, and economic growth.
Table 2. Summary of the ten presented critiques against smart technologies.
Table 2. Summary of the ten presented critiques against smart technologies.
Critique
(Smart Tech Is…)
Brief ExplanationAssociated Smart Principles
1. SupersedingSmart tech forms bubbles that wrap up both individuals and organizations, and progressively exclude non-digitalized means of perception, interaction, and experience.Webification, personalization, and actuation.
2. UnhealthySmart tech exposes humans to high levels of radiation while representing a threat to their psychological well-being. Even though all are affected, children are particularly vulnerable to the unhealthy consequences of smart technologies.Webification, datafication, personalization, and actuation.
3. SubordinatingSmart tech becomes a tool to produce submissive, vulnerable, and replaceable individuals, organizations, and states.Personalization, actuation, and marketization.
4. ExploitativeSmart tech represents a means to extract wealth from the vast majority of the population for the benefit of the privileged few.Datafication and marketization.
5. ManipulativeSmart tech is being used to change how individuals perceive reality so that their behaviors become aligned with the interests of smart innovators and their clients (both public and private).Personalization, actuation, and marketization.
6. AddictiveSmart tech is designed so that individuals become highly dependent on them not only at a practical level, but also at a very deep psychological level.Personalization and marketization.
7. FragileThe implementation of smart innovations leads to the proliferation of increasingly flawed, complicated, and hackable products, systems, and services.Electrification, digitalization, and webification.
8. ColonialThe smart vision is a product of Western modern ideology that aims to impose itself at the planetary level while destroying or co-opting all alternatives.Digitalization, webification, and datafication.
9. LabyrinthineSmart technologies are associated with extremely complex legal problems that are approached by smart innovators in ways that are against the public interest.Webification, datafication, personalization, actuation, and marketization.
10. UnsustainableEven though it is advertised as a green and clean revolution, the smart vision is both environmentally and socially unsustainable.Electrification and digitalization.
Publisher’s Note: MDPI stays neutral with regard to jurisdictional claims in published maps and institutional affiliations.

Share and Cite

MDPI and ACS Style

Ferreira, A. Seven Principles and Ten Criticisms: Towards a Charter for the Analysis, Transformation and Contestation of Smart Innovations. Sustainability 2022, 14, 12713. https://doi.org/10.3390/su141912713

AMA Style

Ferreira A. Seven Principles and Ten Criticisms: Towards a Charter for the Analysis, Transformation and Contestation of Smart Innovations. Sustainability. 2022; 14(19):12713. https://doi.org/10.3390/su141912713

Chicago/Turabian Style

Ferreira, António. 2022. "Seven Principles and Ten Criticisms: Towards a Charter for the Analysis, Transformation and Contestation of Smart Innovations" Sustainability 14, no. 19: 12713. https://doi.org/10.3390/su141912713

APA Style

Ferreira, A. (2022). Seven Principles and Ten Criticisms: Towards a Charter for the Analysis, Transformation and Contestation of Smart Innovations. Sustainability, 14(19), 12713. https://doi.org/10.3390/su141912713

Note that from the first issue of 2016, this journal uses article numbers instead of page numbers. See further details here.

Article Metrics

Back to TopTop