You are currently viewing a new version of our website. To view the old version click .
Sustainability
  • Article
  • Open Access

6 July 2022

Factors Influencing Parents’ Intention on Primary School Students’ Choices of Online Learning during and after the COVID-19 Pandemic in China

,
and
1
School of Journalism and Communication, Wuhan University, Wuhan 430072, China
2
National Institute of Cultural Development, Wuhan University, Wuhan 430072, China
3
Center for Studies of Media Development, Wuhan University, Wuhan 430072, China
*
Author to whom correspondence should be addressed.
This article belongs to the Special Issue Post-COVID-19 Education for a Sustainable Future: Challenges, Emerging Technologies and Trends

Abstract

Since the COVID-19 outbreak, online learning has become the norm. Primary school students require parental assistance and supervision due to their lack of digital media capabilities and safety concerns. This study uses the mixed research method to process and analyze the interview data of 10 primary school parents and 564 questionnaire data using topic coding and partial least squares structural equation model (PLS-SEM) to explore the factors influencing primary school parents’ choice of online learning and the mechanism of these factors on choice intention. The results show that online learning continuity and learning attitude development risk are two new variables affecting parents’ cognition of online learning. They have a significant positive impact on performance evaluation and risk perception. Perceived ease of use, performance evaluation, and perceived cost affect parents’ assessment of their children’s satisfaction with online learning during the pandemic. Parents’ satisfaction with online learning positively affects their intention to choose online learning. The results of this study can provide a reference for education departments and schools on how to carry out online teaching with higher quality in case of emergencies.

1. Introduction

The outbreak of COVID-19 in late 2019 disrupted regular school education in most schools around the world. In order to ensure the continuous development of education, students at home participate in online learning through network technology (including synchronous or asynchronous and other forms of network learning), which has become one of the most effective emergency measures. However, online learning during the COVID-19 pandemic was significantly different from that before and after the outbreak [1,2]. Students and teachers are not ready for prolonged, subject-wide online learning, but schools must transition from traditional face-to-face learning to technology-driven online learning in the short term. Students, teachers, and parents lack support for technology use, online learning, and training [3], and do not have sufficient knowledge and experience to deal with problems in the process of online learning. Primary school students’ parents are one of the essential participants and policymaker children participate in online learning, especially the lower grade of primary school children. Due to the limited ability of digital media, online contact is not safe and does not exist in learning the appropriate content. Due to the limited ability of digital media, online learning may exist in the process of insecurity, inappropriate content, and too much media use may lead to health problems and risks. As a result, parents face tremendous pressure [4]. Moreover, they need to spend more time and energy supporting, assisting, and supervising the child’s online learning. Studies have shown that the COVID-19 pandemic has a significant negative impact on young children’s learning (children under 11 years of age) [5]. Primary school students lack autonomy in learning and find it difficult to control the learning management system. In the process of online learning, parents are more in need of support and help [6]. As their proxy educators, parents are under tremendous pressure [7].
Parents played an important role in their children’s online learning during the COVID-19 pandemic [8], but parents’ perceptions of their children’s use of online learning to complete schoolwork during the COVID-19 pandemic are mixed. On the one hand, parents approve of online learning, and students have obtained results through online learning. Moreover, the pandemic outbreak led to parents staying at their home office, creating conditions for parents to be involved in their children’s online learning, promoting the parents to participate in the child’s education process to benefit their development [1,9]. On the other hand, online learning during the pandemic also has many problems that parents are worried about, such as eye health problems in children caused by prolonged viewing of electronic screens and financial pressure on families due to the demand for access devices [10].
Online learning experiences during the pandemic will affect future parents’ choices of online learning, so it is necessary to further clarify the key factors influencing parents’ perceptions and attitudes towards online learning during the pandemic. In the post-pandemic era, blended learning, which combines traditional school learning with online learning, is likely to become a common and acceptable way of learning [11], and parents may face multiple choices of their parents’ way of learning. Therefore, this study mainly explores the factors influencing primary school parents’ choice of online learning and the mechanism of these factors in their choice intention in the context of the COVID-19 pandemic.

2. Literature Review and Research Question

2.1. Online Learning and Parents’ Intention to Choose in the Context of COVID-19

Online learning (e-learning or distance learning) refers to the use of a variety of electronic media and communication technologies such as computers, websites, video conferencing, or virtual classrooms to achieve educational purposes [12,13]. Online learning is a significant way of learning. It can overcome the problem of insufficient teachers and classroom resources, reduce the cost of education, and provide better accessibility. A virtual learning environment may reduce students’ shyness, reduce absenteeism and facilitate students’ active participation in classroom teaching [14]. Surveys have found that distance learning during the COVID-19 pandemic was successful in higher education. It does not result in poor academic performance. Students are satisfied with the teacher, the learning process, and the tools [15]. However, existing studies on online learning have focused more on students, teachers, technology, and government policies in the online learning process and paid little attention to parents [16]. While some studies have also noted the importance of parental involvement in student learning during the pandemic, the main focus has been on the motivation and role of parents of special education students and their involvement in student online learning [17,18,19,20]. Existing studies lack systematic research on primary school parents’ perception and evaluation of online learning [21], especially after online learning during the COVID-19 pandemic. Therefore, it is necessary to study further the parents’ cognition, attitude, and choice intention towards online learning.
Previously, a large number of research models and theoretical frameworks has been used to study behavioral intentions such as selection, adoption, and continuous use of online learning. For example, the technology acceptance model (TAM), which is widely used to predict the acceptance of various information technology innovations, is also often used to study students’ intention to use technology and online learning [22]. Students’ perceived ease of use and usefulness of technology are theorized as determinants of their behavioral intentions and actual technology use [23]. Other examples, such as the unified theory of technology acceptance and use (UTAUT), the self-determination theory, and the information system continuity mode are integrated with the TAM and TPB information system achievement model (IS success model) and other common and related research. However, these models and theoretical frameworks mainly focus on the factors that influence the adoption and use of online learning systems, ignoring these factors or the relationship between the use of online learning systems and learning results [24]. In addition, these studies are mainly based on the direct users of online learning systems (mostly students) as the main research object, and lack of investigation on the choice intention of parents of primary school students.
The value-based adoption model (VAM) is used to analyze users’ willingness to use technology and services and the influencing factors behind the intention, which affect consumers’ perceived value and acceptance of the technology and services. Adoption intention is, thus, affected [25]. Benefit and loss are two key factors of perceived value, and “gain” is divided into usefulness and enjoyment, and “profit and loss” are divided into technicality and perceived fee [25]. Some studies have confirmed that the VAM model has better explanatory power and more accurate predictive power than TAM and IS in studying consumers’ adoption intention and behavioral intention [24,26].
This model has a certain degree of agreement with the study on parents’ intention to choose online learning for primary school students. Parents’ intention to choose online learning means that parents weigh the gains and losses of students’ participation in online learning, comprehensively evaluate the value of online learning, and further decide whether children choose online learning. In this study, the VAM model can be modified and expanded based on the actual technical application scenarios. Firstly, the “adoption intention” in the model is the choice intention of this study. Secondly, “perceived value” is a comprehensive evaluation of parents’ online education experience. In previous literature on online learning and users’ cognition and opinions, “satisfaction” is often used to express and measure learners’ attitudes and opinions towards online learning [12,26,27,28,29]. Therefore, the concept of satisfaction is used to represent “perceived value” in the model. There are many factors that affect learners’ satisfaction [12]. This study divides these factors into two aspects: “perceived benefit” and “perceived sacrifice”, as shown in Figure 1.
Figure 1. Analysis framework of primary school parents’ online learning in the context of the COVID-19 pandemic.

2.2. Factors Influencing Parents’ Intention to Choose Online Learning

We have sorted out the analysis framework of primary school parents’ intention to choose online learning in the pandemic context. The results show that the key to studying the mechanism of their choice of online learning intention is to clarify the perceived gain and loss factors that influence parents’ satisfaction with online learning. The concept of satisfaction comes from the measurement of customer satisfaction by enterprises and is the result of a comparison between expectation and reality [30]. Later, the concept of satisfaction was used in many fields. Parental satisfaction refers to the comparison between the quality of education obtained by parents as guardians of students and the expected quality of education in actual school education [31]. Satisfaction is an important motivation for using an online learning system. In addition, parents are usually not the primary administrators of their children’s formal education, but parents’ satisfaction is of great concern to school administrators and teachers [21]. Analysis of both the studies found that the factors affect online learning satisfaction very much, including the perception of online learning system performance evaluation (usefulness), ease of use, online learning cost, and risk factors, such as logic. These factors can be divided into performance evaluation, perceived ease of use, perceived cost, and perceived risk of four classes.

2.2.1. Performance Evaluation

The technical usefulness of perceived online learning systems has a significant impact on parents’ satisfaction [32,33]. The usefulness of parents’ perception of technology is judged directly by students’ academic performance. Therefore, parents’ perception of students’ academic performance is positively correlated with parents’ satisfaction [31]. Online learning during the pandemic is mainly for students not to miss classes, so the performance evaluation of students’ academic performance is one of the important factors affecting parents’ satisfaction with students’ online learning.
Successful online learning requires students to possess self-management skills, including the abilities and characteristics of planning, time management, and appropriate emotional management. Students’ self-management ability has a positive impact on online learning intentions [34]. Students’ self-management ability is a common concern for parents, especially young pupils who are learning online during the COVID-19 pandemic. Parents are concerned that students cannot maintain self-discipline during the online learning process and that students will have difficulty concentrating and learning efficiently due to long online classes [21,35]. Therefore, the evaluation of students’ self-discipline is related to their learning performance.
Students’ academic performance is also related to the online learning environment. Studies have shown that environmental adaptation of online learning is a key determinant of users’ self-efficacy, and a good environmental adaptation experience will increase users’ motivation to use [36,37]. The online learning environment includes both explicit physical environment factors (such as a computer and network infrastructure, network learning platforms, resources, and equipment tools, etc.) and implicit psychological environment factors (such as interpersonal relationships, cultural atmosphere, etc.), as well as the corresponding learning support and service system. The suitability of the online learning environment for learners during the pandemic affects learners’ learning performance.
In addition, teachers’ support for online learning affects students’ performance [38,39,40]. Teachers, as the main guiders and participants in students’ learning process, play an important role in both an online learning mode and in traditional classroom learning. Parents expect more support and communication from schools or teachers to ensure that their children can learn normally at home. When they do not receive the expected support, parents’ satisfaction decreases [9].

2.2.2. Perceived Ease of Use

Ease of use of technology is also an important factor influencing online satisfaction [27,41]. The technical problems in online learning make parents less confident in supporting their children [42]. Some studies show that parents have low media technology ability or heavy tasks dealing with students’ online learning technical problems. As a result, parents are less satisfied with students’ online learning process during the pandemic [43].

2.2.3. Health Risks

The impact of the use of digital devices on children’s health has always been a research area for scholars, and it is also the focus of parents’ attention to online learning. Parents worry that their children’s long-term exposure to computers, mobile phones, or TV will lead to poor eyesight [44], and that their children’s lack of human interaction will lead to increased loneliness due to long hours of online study. It may exacerbate mental health problems in children [43,45].

2.2.4. Perceived Cost

During the outbreak of online learning, parents worried that households’ equipment (computers, pads, or smartphones, etc.) and learning environment could not meet the needs of online learning. Especially for families with multiple children or parents who need to work at home, not having enough equipment means that people must share or buy a new terminal, and parents and children lack independent work and study space. These situations cause stress and distress to parents [7]. In addition, some studies have concluded that online learning requires parents to pay more time and energy supervising children’s learning and helping with their homework, which brings extra pressure on parents [46]. Therefore, parents’ perceived cost (mainly including money, time, and effort) is a factor affecting satisfaction.
Based on the above analysis, the influencing factors of elementary school students’ parents’ satisfaction can be divided into cognitive gains and perceived benefits of two kinds. For parents of students, learning performance evaluation and perceived ease of use are perceived as benefits. Teachers’ support, parents’ discipline evaluation of students, and the learning environment adaptation degree affect students’ learning results. Therefore, these three factors are a prerequisite for the performance evaluation of factors; perceived cost and perceived risk are a perceived sacrifice, the benefit of a perceived risk is primarily a health risk, and perceived costs include the cost of learning to learn and parents’ time and effort. There could be more factors affecting parents’ satisfaction, especially in the new pandemic under special circumstances, in such a large, and for a long time centralized, discipline of online learning. The factors influencing the evaluation of primary school parents’ satisfaction with online learning have become more complex and diversified. So, it is necessary to explore further the factors influencing parents’ intention to choose online learning during the pandemic and the influencing mechanism of these factors in their intention to choose. Based on the above analysis, two research questions are proposed, and this paper will focus on these two questions.
  • RQ1: In the context of the COVID-19 pandemic, what are the factors that influence parents’ intention to choose online learning for primary school students?
  • RQ2: In the context of the COVID-19 pandemic, what are the mechanisms among the factors influencing parents’ intention to choose online learning for their children?

3. Research Design

This study adopts the mixed research method of exploratory sequential design [47]. The study’s first phase used quantitative research methods to explore the main factors influencing primary school parents’ choice of online learning for their children in the context of the COVID-19 pandemic. The phase I study answered the RQ1 of this study. The second stage uses the research results of the first stage as the basis to build a theoretical model, and through the quantitative research, the method to test the theoretical model, the influence of primary school parents to choose online learning factors for their children, was built. This phase of the study answered the RQ2 of this study. The mixed research method combines the advantages of qualitative and quantitative research and comprehensively analyzes and processes the information of the two types of data to answer the research questions of this paper as comprehensively and scientifically as possible.

3.1. Qualitative Research Design

The qualitative study aims to explore the factors that influence primary school parents’ intention to choose online learning for their children in the context of the COVID-19 pandemic, considering the specificity of primary school students’ participation in online learning with the unique background of the COVID-19 pandemic. In order to further confirm the accuracy of the analysis model variables and the integrity of influencing factors, factors sorted out in literature were taken as the preset themes to guide the determination of the semi-structured interview outline. According to the research objects determined in this study, interviewees were selected to obtain qualitative research data. The subject analysis method was adopted to analyze and code the qualitative research data, test the preset theme, and further summarize the theme to determine the final theme code.

3.1.1. Participants

The samples of this study (including interviewees in the qualitative study and questionnaire participants in the quantitative study) are all from Jiaozuo city, Henan province, mainland China. As a prefecture-level city in the agricultural area of central China, Jiaozuo is typical in terms of population and economic level, which is at the average level of prefecture-level cities in China. In the qualitative research part, stratified sampling selected 10 parents of primary school students as interview objects. The basic information of the interviewees is shown in Table 1.
Table 1. Basic information of participants.

3.1.2. Outline of Semi-Structured Interview

According to the literature in Section 2, relevant factors affecting parents’ intention to choose online learning were sorted out. These factors were taken as the preset themes to guide semi-structured interviews. The semi-structured interview in this study was mainly divided into three steps: (1) demographic-related factors inquiry; (2) students’ participation in online learning; (3) preset theme questions. Table 2 lists the specific guidelines.
Table 2. Outline of semi-structured interview.
Based on the above interview outline, semi-structured interviews were conducted face-to-face or over the phone according to the actual situation of the interviewees. With the interviewees’ consent, the interview content was recorded for later analysis of interview materials.

3.2. Quantitative Research Design

After coding the topic of qualitative research, research hypotheses are proposed, research models are determined, measurement tools are made, and data of quantitative research are collected. Structural equation analysis is used to process and analyze quantitative data, and the mechanism of factors affecting parents’ intention to choose online learning for their children is explored.

3.2.1. Participants

Questionnaire participants in the quantitative study were recruited through an online questionnaire platform for parents with children in primary school during the pandemic. The sample covered most of the city’s rural and urban areas, and the children in the sample also covered all grades of primary school. After discarding invalid questionnaires (answer time less than 120 s), complete sample data of 564 respondents were obtained, as shown in Table 3.
Table 3. Basic information of participants.

3.2.2. Questionnaire Development

The data were collected through an online questionnaire. The questionnaire is divided into two parts. The first part is the measurement of variables designed in the research hypothesis. The second part is to collect the personal information (gender, identity, and education level), basic family information (children’s grade, the number of educated children in the family, the regional attributes of the family location, etc.), and their children’s use of online learning equipment and other relevant information.
Variables were measured using a 7-point Likert scale (1 = strongly disagree, 7 = strongly agree) to obtain quantitative data. The scale included multiple items to assess all the constructs, which were inspired by existing literature and adjusted to suit this study. Perceived ease of use was adapted from Deshwal et al. [27], Liaw [28], and Zuo et al. [29], and teacher support was adaptated from Abu-Rabba et al. [3] and Sahin [40]. Online learning environment adaptation was adapted from Kang et al. [37] and Franke et al. [48]. Self-discipline evaluation was adapted from Wang et al. [34], Liaw [28] and Zuo et al. [29]. Performance evaluation was adapted from Liaw [28], Venkatesh et al. [49], and Zuo et al. [29]. Parental energy cost was adapted from Pakaja et al. [33] and Sorensen [46]. Online learning cost was adapted from Kim et al. [25], perceived cost from Sorensen [46] and Kim et al. [25]. Health risk was adapted from Gothwal et al. [10] and Spiteri et al. [5]. Online learning satisfaction during a pandemic was adapted from Liaw [28] and Zuo et al. [29]. Online learning choice intention was adapted from Davis [41], Kim et al. [25] and Liaw [28] (Appendix A).

4. Data Analysis and Results

4.1. Qualitative Research Results

After the interview content was transcribed, the thematic analysis of the interview content was encoded by referring to Hesse-Biber [50]. The feedback method was used to test the reliability and validity of the coding. We submitted the coding results for review to three professors in the field of education, who evaluated the coding results and guided them to their approval.
Through preset topic coding, it was found that relevant variables deduced from previous literature and based on preset interview topics were realized in the specific interview implementation process of parents, as shown in the Table 4 preset topic coding table. In the setting of semi-structured questions, parents all mentioned teacher support, online learning environment suitability, and energy commitment of children’s online learning during the pandemic, and parents also made their own judgments and expressed their views and attitudes from these dimensions.
Table 4. Default topic encoding.
In addition to the realization of the preset theme, during the first round of coding the written materials of the interview, it was found that the interviewees proposed some new dimensions. Through the online learning experience during the pandemic period, it was found that online learning has the advantage of maintaining the continuity of children’s learning state so that children can carry out relatively continuous learning and are not vulnerable to the impact of objective factors such as the pandemic. This is one of the important reasons why parents think online learning has advantages and they are willing to choose online learning in the future. In addition, parents are worried about the impact of the pandemic on their children’s health, as well as their children’s learning attitude. Many parents have observed that in a more relaxed and less binding learning environment, children’s learning attitude has been significantly lax. After experiencing online learning during the pandemic period, teachers also reported to parents that their children’s learning attitudes had changed to some extent. After getting used to the relaxed learning environment of online learning, their learning seriousness decreased when they returned to class.
The above two statements were not included in the previous preset themes, but in parents’ statements, and they both influenced parents’ attitudes towards online learning. Therefore, relevant descriptions are summarized as “online learning continuity” and “risk of learning attitude development,” respectively, which are two new topic concepts emerging in the specific context of COVID-19. Therefore, these two factors are included in the discussion as important influencing variables of this study (Table 5).
Table 5. Summary of new theme.

4.2. Quantitative Research Results

4.2.1. Research Variable Definition and Research Hypotheses

Based on the results of the qualitative study, continuity of online learning (abbreviated as COOL), teacher support (abbreviated as TS), online learning fee cost (abbreviated as FC), parent effort cost (abbreviated as PEC), fitness of online learning environment (abbreviated as FOLE), self-discipline evaluation (abbreviated as SE), health risks (abbreviated as HR), learning attitude development risk (abbreviated as LADR), perceived ease of use (abbreviated as PEOU), performance evaluation (abbreviated as PE), cost (abbreviated as PC), perceived risk (abbreviated as PR), satisfaction with online learning during COVID-19 (abbreviated as SWOL), and parents’ intention to choose online learning for their children (abbreviated as CI). These are the key variables of the research model (attributes, definitions, and assumptions of variables in Table 6), and the research model is determined based on the relationship between these variables obtained by literature analysis and qualitative research. The model of the influence of online learning on parents’ choice intention of online learning during the pandemic is shown in Figure 2 and the corresponding hypotheses are proposed as follows:
Table 6. Variable definitions and hypotheses.
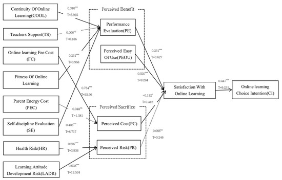
Figure 2. Model of influence of online learning on parents’ online learning choice intention during the pandemic.
Hypothesis 1 (H1).
The continuous effect of online learning has a positive and significant impact on parents’ performance evaluation of their children’s learning.
Hypothesis 2 (H2).
Teacher support during pandemic online learning has a significant positive impact on parents’ performance evaluation of their children’s learning.
Hypothesis 3 (H3).
Online learning cost has a significant positive impact on perceived cost.
Hypothesis 4 (H4).
Online learning environment fit has a positive and significant impact on performance evaluation.
Hypothesis 5 (H5).
Parents’ energy cost has a significant positive impact on perceived cost.
Hypothesis 6 (H6).
Self-discipline evaluation has a significant positive impact on performance evaluation.
Hypothesis 7 (H7).
Health risk has a positive and significant effect on perceived risk.
Hypothesis 8 (H8).
Learning attitude to risk has a significant positive impact on perceived risk.
Hypothesis 9 (H9).
Performance evaluation has a significant positive impact on online learning satisfaction during the pandemic.
Hypothesis 10 (H10).
Perceived ease of use has a significant positive impact on online learning satisfaction during COVID-19.
Hypothesis 11 (H11).
Perceived cost has a negative and significant effect on online learning satisfaction during the pandemic.
Hypothesis 12 (H12).
Perceived risk has a negative and significant effect on online learning satisfaction during the pandemic.
Hypothesis 13 (H13).
Online learning satisfaction during the pandemic has a positive and significant impact on parents’ intention to choose online learning for their children.

4.2.2. Evaluation of Measurement Model

Partial least squares (PLS) is a powerful second-generation multivariate modeling technology [55]. Compared with traditional structural equation modeling (SEM), partial least squares has advantages mainly in terms of lower requirements on sample number and residual distribution [56]. It does not require data to follow a normal distribution and has higher estimation power [57], so that it is closer to sample data [58], which is not only suitable for exploratory studies [59]. Studies on causal relationship verification can also be carried out [60]. In addition, 564 valid questionnaires collected in this study were more than 10 times the number of questions, which met the relevant requirements of PLS-SEM [55,60]. So, the partial least square structural equation (PLS-SEM) modeling analysis method was used in this study, and SmartPLS3 software (version 3.3, SmartPLS GmbH, Gewerbering 8 D-22114 Osteinbek, Germany) was used to estimate the path model [56].
First, internal consistency reliability, convergent validity, and discriminant validity were required to evaluate the response measurement model [56]. Cronbach’s α usually measures the internal consistency reliability. However, cronbach’s α is sensitive to the number of items in the model structure and underestimates the internal consistency reliability [61]. Therefore, in the PLS-SEM, internal consistency communication is often evaluated by composite reliability (CR). As shown in Table 7, the combined reliability of latent variables in this study ranged from 0.844 to 0.968, which was satisfactory. Cronbach’s α values were all greater than 0.7, and most of them were above 0.8, showing good internal consistency reliability. The primary reference factor load and average variance extract (AVE) for convergent validity evaluation is when the factor load exceeds 0.7. All the reactivity measures could be retained [55], and AVE values greater than 0.50 indicated a high polymerization [59,62]. Henseler et al. [59] believe that it lacks reliability to test differentiation by examining cross-loadings of indicator variables or using the Fornell–Larcker criterion [59]. As a remedy, they suggest assessing the heterotrait–monotrait ratio (HTMT). Hair et al. [55] believe that the values of all construct combinations in the confidence interval calculated by HTMT should not contain 1 [55]. The HTMT results in Table 8 confirm that the discriminant validity is qualified. Through the above data analysis, it can be seen that the measurement model in this paper is effective and reliable.
Table 7. Factor load, CR, AVE, and Cronbach’s α parameters of the measurement model.
Table 8. HTMT checklist.

4.2.3. Structural Model Evaluation

After verifying the validity and reliability of the measurement model, we continued to test our proposed hypothesis. Figure 3 shows the results of the PLS analysis. Firstly, the multicollinearity of the structural model was evaluated by checking the variance inflation factor (VIF). According to the calculation results, this research model’s estimated value of VIF is between 1.017 and 6.353. All conform to Gujarati’s suggestion that the value of VIF should be less than 10 [63]. That is, there is no multicollinearity problem.
Figure 3. Analysis results of the path model. Note: NS = not significant, * p < 0.05, *** p < 0.001.
Bootstrapping (5000 resample) method was used to evaluate the significance of path coefficients in the structural model. Table 9 shows the estimation results of PLS for structural equations. Nine hypotheses, H1, H3, H4, H6, H7, H8, H9, H10, H11, and H13, are supported, while three hypotheses, H2, H5, and H12, are rejected. Specifically, SWOL has been statistically proved to be significant in the interpretation of CI. Its path coefficient is 0.447, which is much higher than the significance level of 0.1 and has a tremendously positive effect. PE and PEOU have a significant effect on SWOL interpretation, and their path coefficients are both over 0.1, both of which have a tremendously positive effect. PE has the most significant effect on SWOL, and the path coefficient is 0.517. PC has a significant adverse effect on SWOL, while PR has no significant effect on SWOL, so H12 is invalid. The interpretation of COOL, FOLE, and SE on PE is significant, and the path coefficient is more than 0.1. All have a tremendous positive impact, SE has the most significant impact on PE, the path coefficient is 0.408, TS has no significant impact on PE, and H2 is invalid. FC has a tremendously positive influence on PC, and the path coefficient reaches 0.764, while PEC has no significant influence and H5 is invalid. HR and LADR explain PR significantly. LADR greatly influences PR, and the path coefficient reaches 0.628.
Table 9. Significance test results of path coefficients of structural models.
One of the PLS-SEM method’s purposes is to be used for prediction. The coefficient of determination (R2) was used to measure the prediction accuracy of our structural model. In this study, the degree of explanation for PE was 0.723, which reached a substantial level of explanation. The degree of explanation for PR, PC, and SWOL was 0.607, 0.595, and 0.447, respectively, reaching the medium and high levels of explanation. The degree of explanation for CI was 0.200, indicating a weak level of explanation.
In addition, the effect size (f2) can evaluate the contribution value of exogenous variables to endogenous variables and whether there is substantial influence. According to Hair et al. [58], f2 values of 0.02, 0.15, and 0.35, respectively, indicate that exogenous variables have a small, medium, and significant influence on endogenous variables. Table 10 shows the f2 value of the influence effect between different dimensions in the infrastructure structure model.
Table 10. Effect size of potential variables of f2 value.
PLS-SEM uses predictive relevance to evaluate the degree of interpretation of the model, with Q2 as an indicator. Hair et al. [57] believe that if the Q2 value of the endogenous latent variable is greater than 0, the path model has a prediction correlation. The closer the value is to 1, the more substantial its prediction ability is. The method of blindfolding operation in SmartPLS was used to calculate the Q2 value of the endogenous latent variable in the model. As can be seen from Table 11, Q2 values of each endogenous latent variable of the structural model in this study are all greater than 0, indicating that the model has a particular predictive ability.
Table 11. Q2 values of endogenous latent variables.
In addition, the SmartPLS 3 software (version 3.3, SmartPLS GmbH, Gewerbering 8 D-22114 Osteinbek, Germany) provides SRMR (Standardized Root Mean Square Residual) indicators for determining the fit of structural equation models. According to Henseler, when the SRMR value is less than 0.08, the model has a good fit [58]. According to SmartPLS3 calculation, the SRMR value of the model in this study is 0.069, less than 0.08, so it has a good fit. It can better explain the impact of parents’ evaluation of online learning, during the pandemic, on parents’ intention to choose online learning in the future.

5. Discussion

Online learning is relatively flexible in terms of the arrangement of learning time and space, learning equipment, and other aspects. It can adapt to students of different grades, learning environments, and family socioeconomic statuses to participate in learning [64]. In China’s context of the COVID-19 pandemic, this study applies the extended version of the value-acceptance model to construct this research model to analyze the factors and mechanisms that influence parents’ intention to choose online learning. The explanatory power R2 of the research model proposed by us is 0.723 for performance evaluation, 0.607 for perceived risk, 0.595 for perceived cost, 0.447 for online learning satisfaction during the pandemic, and 0.200 for parents’ intention to choose online learning.
Our study found that primary school parents’ satisfaction with their children’s online learning during the pandemic had little impact on parents’ intention to choose online learning for their children. Parents see online learning as an emergency measure to continue school education in times of crisis, a forced choice of teaching method, and they prefer the traditional classroom model, especially for groups such as primary school students. The main reason for this result is that China’s primary and secondary education is mainly a teacher-centered education model, which parents of primary and secondary school students are accustomed to and recognize. With the outbreak of COVID-19, students, parents, and teachers were not fully prepared and when they transitioned, all parties could not adapt to the teacher-led and student-dominated online education model. The affordances of online learning tools are underutilized [65,66].
Among the many factors that affect the satisfaction of primary school parents with online learning, performance evaluation is the main influencing factor, which is consistent with Deshwal et al. [27]. Studies conducted before the pandemic, and by Hinderliter et al. [19] in the United States during the pandemic, have had similar results [21,27], which indicates that performance is the most critical dimension used to evaluate learning in both China and the United States, whether in daily situations or the particular context of the pandemic. This study again verifies that perceived ease of use has a significant positive impact on online learning satisfaction during the pandemic and further proves the stability of this association.
The study found that online learning continuity has a positive and significant impact on performance evaluation. Online learning continuity is a new factor that we found to affect performance evaluation in the context of the COVID-19 pandemic. This shows that in the event of a public health emergency, students’ learning will not be interrupted, and the continuity of learning will be maintained, which is what parents of students are very concerned about. In addition, self-discipline evaluation and online learning environment fit significantly affect performance evaluation, which is consistent with previous research conclusions [29,34]. This is a challenge for younger students who lack self-discipline. In contrast to previous studies, the relationship between teacher support and performance evaluation has not been verified in this study. The reasons for this result may be because, during the start of the new Champions League, parents perceived teacher support as less. On the one hand, teachers lack online education experience and ability and cannot provide the corresponding support. On the other hand, it is a lot of online learning, and the teacher cannot give each student time to provide enough support.
Perceived cost is negatively correlated with satisfaction. Among them, the cost of online learning has a positive and significant impact on perceived cost. During the pandemic, the income of many families decreases, or multiple family members need to study or work online, and the cost of accessing the Internet brings pressure on families. The cost of online learning may lead to economic and social inequality extending to online education, exacerbating the inequality of education.
Parents’ time and energy expenditure have no significant effect on perceived cost. This research result is different from previous studies [46]. Many parents work at home or temporarily stop working, which is convenient for parents when they are to participate in their children’s learning; so, parents do not have a strong perception of time and energy paid. During the period of COVID-19, parents’ participation in their children’s online learning, such as the creation of a learning environment, homework guidance, and examination, has a positive impact on children’s learning results and learning psychology. In the post-epidemic era, it is of great significance for the development of basic education to promote parents’ active participation in their children’s learning and to build a new home–school collaborative relationship.
Perceived risk is an important factor for parents’ perceived profit and loss. The result reconfirms the health risk factors mentioned in previous studies [5,10]; we also found the risk of learning attitude development through qualitative analysis and confirmed that this factor is the main factor of perceived risk in quantitative research. This finding indicates that more attention should be paid to the change in students’ learning attitudes in the practice and research of online learning.

6. Conclusions

In the context of the closure of schools due to the COVID-19 pandemic and the shift to online learning, this study established a model to explain the factors and mechanisms influencing parents’ satisfaction and intention to choose online learning. This study not only expands the research framework of the VAM model but also enriches the research context of a theoretical application. Through qualitative research, this paper verified the factors influencing parents’ intention to choose online learning in previous studies, found two new factors of online learning continuity and learning attitude development risk, and verified their validity in quantitative research. The results show that primary school parents’ satisfaction with their children’s online learning has a positive impact on their intention to choose online learning for their children, but the impact is not as big as expected. In other words, after the large-scale and long-term online learning during the pandemic, parents of primary school students are still not very willing to choose online learning compared with traditional classroom learning.
Firstly, parents of primary school students have a low acceptance of online learning, and teachers, students, and parents need to deeply understand and adapt to online learning in order to cope with the mixed learning model in the post-pandemic era. At present, China’s primary school education is still a teacher-centered traditional teaching mode, and students’ subjectivity cannot be cultivated and developed. Students and their parents rely heavily on teachers or schools. Although the COVID-19 pandemic makes online learning replace classroom learning by chance, it makes us realize the importance of fostering students’ learning autonomy, skill development and awareness, and technology use. As COVID-19 prevention and control has become the new norm in Chinese society, blended learning, which combines online learning with classroom learning, has become a constant and fixed form. Students, teachers, and parents should adapt to the blended learning mode and enhance their ability to cope with emergencies.
In the post-pandemic era, information technology literacy and mixed teaching design ability are the basic professional requirements of teachers. Teachers’ support for students’ online learning needs to be strengthened. There are three main reasons for parents’ weak support from teachers: (1) teachers in less developed areas in China have low information technology literacy and are unable to provide effective support to parents; (2) parents in less developed areas in China generally have a low educational level, lack the ability and quality to support students’ online learning, and have a strong desire for teachers’ support, and in a virtual environment, limited teacher resources make it difficult to provide efficient support; (3) teachers “copy” the teaching methods and contents of traditional classes to online classes, ignoring the differences between the two different teaching modes, which weakens students’ and parents’ perception of teacher support. In the context of COVID-19, they connected online learning with classroom teaching, providing high-quality support to ensure the continuity and effectiveness of students’ learning. At the same time, they guided students to develop and learn self-discipline and strengthened communication with parents. These effectively improve students’ learning performance and parents’ satisfaction.
In addition, the mixed learning model in the post-pandemic era will become a new education model, and the inequity of education may intensify. The differences in teachers’ information technology ability, teaching resources required for online learning, and regional socio-economic aspects extend from offline to online learning. Basic costs for online learning, such as terminal equipment and access to the Internet, add to the financial pressure on families, especially those with financial difficulties and those in remote rural areas who may not be able to participate in online learning. Although there is a compulsory education phase of primary school in China, compared to Europe, Japan, and other developed countries with various resources to support and to ensure that education is fair, China needs more from the Department of Education’s policies and resources to eliminate the education gap, to ensure education fairness, especially in the case of a normalized pandemic. The education department should deal with schools in less developed areas to provide help, and make sure that this part of the students can smoothly return to class.
Finally, attention should be paid to the risk to students’ learning attitudes. How to avoid students’ bad habits such as decreased interest in learning and inattention caused by long-time online learning is an urgent problem to be solved under the new normal situation of COVID-19. Learning attitude to risk is parents’ concern that using an electronic terminal for a long time in order to participate in online learning causes health problems (mainly decreased vision) and new problems. On the one hand, the school or the teacher needs to optimize the teaching process to avoid this problem; on the other hand, it also needs to guide the depth of the parent’s involvement in their children’s learning process, address parents’ concerns, and co-manage their children’s use of smart devices.
In the post-pandemic era, the blended learning model of classroom teaching and online learning will become the mainstream teaching mode. Parents will be included in the framework of the blended learning mode, and it is of specific importance and necessity to apply the blended teaching mode to students to improve the learning effect. At the practical level, the results of this study provide useful guidance for education departments or schools to better organize students to participate in online learning in emergencies and improve parents’ satisfaction. This study has some implications for sustainable learning and teaching approaches in the post-pandemic era. Blended learning is not a simple hybrid application of distance education and traditional teaching methods. In physical and virtual learning spaces, parents, students, and teachers interact to form stable communication relationships. Learning participants are seamlessly connected to the learning space, promoting sustainable learning. Blended learning will be a sustainable model in the post-pandemic era [67].
It should not be ignored that there are some limitations in this study. First of all, the survey scope of this research is mainly in Jiaozuo, Henan Province, so the sample cannot fully represent the parents of primary school students, and the online learning status of different regions may be different. Future studies can expand the number and scope of respondents to further verify the validity of the model and obtain data from different regions for comparative studies to explain the results on a deeper level. Secondly, demographic variables of parents (such as gender, age, income, education level, occupation, etc.) are not included in this study, so future studies need to be further improved in this aspect.

Author Contributions

Conceptualization, L.L., C.H.; methodology, C.H. and S.C.; validation, L.L. and C.H.; formal analysis, L.L.; investigation, S.C.; resources, L.L.; data curation, S.C.; writing—original draft preparation, C.H., S.C.; writing—review and editing, L.L. and C.H.; visualization, C.H.; supervision, L.L.; project administration, L.L. All authors have read and agreed to the published version of the manuscript.

Funding

This research was funded by the National Key Research and Development Program of China, grant number 2018YFC1604003.

Institutional Review Board Statement

This study was conducted according to the guidelines of the Declaration of Helsinki and Measures for the Ethical Review of Biomedical Research Involving Humans released by the National Health and Family Planning Commission (China), and it was approved by the Academic Committee of the National Institute of Cultural Development, Wuhan University.

Data Availability Statement

The data presented in this study can be provided upon request to the corresponding author. For ethical reasons, these data cannot be made public.

Acknowledgments

We thank the anonymous reviewers for their valuable comments and suggestions, which have helped us improve the content and expression of this paper. Additionally, we thank all the respondents who participated in this study. We would also like to thank Ke Li for his assistance in this research.

Conflicts of Interest

The authors declare no conflict of interest.

Appendix A

Perceived ease of use
PEOU1Children could efficiently operate devices for online learning during the pandemic.
PEOU2Software used for online learning during the pandemic is simple and easy to learn.
PEOU3Children could quickly learn online through software during the pandemic.
PEOU4It was easy to provide kids with fixed equipment for online learning during the pandemic.
Teacher support
TS1During COVID-19 online learning, schools and teachers provided better course teaching.
TS2During COVID-19 online learning, teachers provided suitable teaching materials, exercises, and so on.
TS3During pandemic online learning, teachers paid more attention to children’s learning status.
TS4Teachers were conscientious and responsible during the online learning of COVID-19.
Online learning continuity
COOL1I think online learning can ensure the progress of children’s learning.
COOL2I think online learning can make the course progress steadily.
COOL3I think online learning can guarantee the continuity of children’s learning.
COOL4I think online learning is less hindered by unexpected factors such as the pandemic.
Online learning environment fit
FOLE1I think the equipment used for online learning during the pandemic is suitable for children to learn.
FOLE2I think the online environment during online learning meets the learning needs of children.
FOLE3I think the family environment during the pandemic was suitable for children to learn online.
FOLE4I think the whole environment of children during the pandemic (online, home environment) could meet the requirements of online learning.
Discipline evaluation
SE1During the pandemic online learning period, my child could take the initiative to attend classes on time every day.
SE2During the pandemic online learning, my child consciously followed the class discipline and was focused.
SE3During pandemic online learning, my child would not use the entertainment functions of digital devices (such as playing games or watching videos) during class time.
SE4During the pandemic online learning period, my child could actively control the time of using digital devices after the course.
The performance evaluation
PE1I think online learning has been beneficial for my children during the pandemic.
PE2I think online learning during the pandemic can maintain/improve my child’s performance level.
PE3I think online learning has ensured the quality of children’s learning during the pandemic.
PE4I think online learning improved children’s autonomous learning ability during the pandemic.
Parental energy cost
PEC1During the pandemic online learning period, I paid more attention to checking and helping my children’s homework than usual.
PEC2During the pandemic online learning period, I paid more energy than usual to accompany my children to class.
PEC3During the pandemic online learning period, I paid more energy than usual to manage and supervise children’s learning behavior.
PEC4During the pandemic online learning period, I paid more energy than usual to provide technical assistance (helping children operate equipment and platforms, helping children submit homework, etc.) for a smooth class.
Online learning costs
FC1I think the cost of online learning is relatively high.
FC2I think the cost of a computer, mobile phone, and other equipment needed for online learning is relatively high.
FC3I think online learning costs more money than offline teaching learning.
FC4I think the cost of online learning is a barrier to allowing children to study online.
Perceived costs
PC1I think I paid a higher monetary cost for my child’s online learning during the pandemic.
PC2The cost of money and effort I paid for online learning during the pandemic was a burden to me.
PC3I am not satisfied with the various costs of online learning during the pandemic.
Health risks
HR1I am worried that online learning will damage children’s eyesight.
HR2I am concerned that prolonged use of digital devices for online learning will affect the health of children’s cervical vertebrae and other areas.
HR3I am concerned that the radiation from digital devices used in online learning can damage children’s health.
HR4I am concerned that online learning may cause mental health harm to children (e.g., more addiction to the Internet, dependence on digital devices, etc.).
Risk of learning attitude development
LADR1I think online learning may make children slack off in their attitude towards learning.
LADR2I think online learning will reduce the rigor of children’s study.
LADR3I think online learning will make children less attentive in class.
LADR4I think online learning will reduce children’s study efforts.
Perceived risk
PR1I think online learning will bring harm and risk to children’s physical and mental health.
PR2I am concerned that online learning does not achieve the purpose of learning.
PR3I am concerned that online learning is inferior to offline teaching.
PR4I worry that the costs of online learning are not worth it.
Satisfaction with online learning during the pandemic
SWOL1I am satisfied with the teaching arrangements for online learning during the pandemic (teaching format, teaching duration, etc.).
SWOL2I am satisfied with the teachers’ care and responsibility for the students.
SWOL3I am satisfied with the overall performance of my child during online learning.
SWOL4I am satisfied with the experience of using online learning software during the pandemic.
Online learning choice intentions
CI1I will have my child learn formal introductory courses online in sync with school classes.
CI2I will choose online after-school tutoring courses for my children to supplement school courses.
CI3I will choose online specialty training courses for my children.

References

  1. Mishra, N.; Tandon, D.; Tandon, N.; Gupta, I. Online teaching perceptions amidst COVID-19. JIMS8M J. Indian Manag. Strategy 2020, 25, 46–53. [Google Scholar] [CrossRef]
  2. Liu, X.; Zhou, J.; Chen, L.; Yang, Y.; Tan, J. Impact of COVID-19 epidemic on live online dental continuing education. Eur. J. Dent. Educ. 2020, 24, 786–789. [Google Scholar] [CrossRef] [PubMed]
  3. Abu-Rabba, M.Y.; Al-Mughrabib, A.M.; Al-Awidi, H.M. Online learning in the Jordanian kindergartens during COVID-19 pandemic. J. e-Learn. Knowl. Soc. 2021, 17, 59–69. [Google Scholar]
  4. Brown, S.M.; Doom, J.R.; Lechuga-Peña, S.; Watamura, S.E.; Koppels, T. Stress and parenting during the global COVID-19 pandemic. Child Abus. Negl. 2020, 110, 104699. [Google Scholar] [CrossRef] [PubMed]
  5. Spiteri, J.; Deguara, J.; Muscat, T.; Bonello, C.; Farrugia, R.; Milton, J.; Gatt, S.; Said, L. The impact of COVID-19 on children’s learning: A rapid review. Educ. Dev. Psychol. 2022, 39, 1–13. [Google Scholar] [CrossRef]
  6. Palau, R.; Fuentes, M.; Mogas, J.; Cebrián, G. Analysis of the implementation of teaching and learning processes at Catalan schools during the Covid-19 lockdown. Technol. Pedagog. Educ. 2021, 30, 183–199. [Google Scholar] [CrossRef]
  7. Davis, C.R.; Grooms, J.; Ortega, A.; Rubalcaba, J.A.A.; Vargas, E. Distance learning and parental mental health during COVID-19. Educ. Res. 2021, 50, 61–64. [Google Scholar] [CrossRef]
  8. Bates, J.; Finlay, J.; O’Connor Bones, U. “Education cannot cease”: The experiences of parents of primary age children (age 4–11) in Northern Ireland during school closures due to COVID-19. Educ. Rev. 2022, 74, 1–23. [Google Scholar] [CrossRef]
  9. Lau, E.Y.H.; Lee, K. Parents’ views on young children’s distance learning and screen time during COVID-19 class suspension in Hong Kong. Early Educ. Dev. 2021, 32, 863–880. [Google Scholar] [CrossRef]
  10. Gothwal, V.K.; Kodavati, K.; Subramanian, A. Life in lockdown: Impact of COVID-19 lockdown measures on the lives of visually impaired school-age children and their families in India. Ophthalmic Physiol. Opt. 2022, 42, 301–310. [Google Scholar] [CrossRef]
  11. Devi, B.; Sharma, C. Blended Learning-A Global Solution in the Age of COVID-19. J. Pharm. Res. Int. 2021, 33, 125–136. [Google Scholar] [CrossRef]
  12. Ozfidan, B.; Fayez, O.; Ismail, H. Student Perspectives of Online Teaching and Learning During the COVID-19 Pandemic. Online Learn. 2021, 25, 461–485. [Google Scholar] [CrossRef]
  13. Husu, J. Access to equal opportunities: Building of a virtual classroom within two ‘conventional’ schools. J. Educ. Media 2000, 25, 217–228. [Google Scholar]
  14. Jacques, S.; Ouahabi, A.; Lequeu, T. Synchronous E-learning in Higher Education during the COVID-19 Pandemic. In Proceedings of the 2021 IEEE Global Engineering Education Conference (EDUCON), Vienna, Austria, 21–23 April 2021; pp. 1102–1109. [Google Scholar]
  15. Jacques, S.; Ouahabi, A.; Lequeu, T. Remote Knowledge Acquisition and Assessment During the COVID-19 Pandemic. Int. J. Eng. Pedagog. 2020, 10, 120–138. [Google Scholar] [CrossRef]
  16. Yang, C.; Yuan, J. Emergency online education policy and public response during the pandemic of COVID-19 in China. Asia Pac. J. Educ. 2021, 41, 1–16. [Google Scholar] [CrossRef]
  17. Spear, S.; Parkin, J.; van Steen, T.; Goodall, J. Fostering “parental participation in schooling”: Primary school teachers’ insights from the COVID-19 school closures. Educ. Rev. 2021, 73, 1–20. [Google Scholar] [CrossRef]
  18. Alabdulaziz, M.S. COVID-19 and the use of digital technology in mathematics education. Educ. Inf. Technol. 2021, 26, 7609–7633. [Google Scholar] [CrossRef]
  19. Alharthi, M. Parental Involvement in Children’s Online Education During COVID-19; A Phenomenological Study in Saudi Arabia. Early Child. Educ. J. 2022, 50, 1–15. [Google Scholar] [CrossRef]
  20. Nyanamba, J.M.; Liew, J.; Li, D. Parental burnout and remote learning at home during the COVID-19 pandemic: Parents’ motivations for involvement. Sch. Psychol. 2021, 37, 160–172. [Google Scholar] [CrossRef]
  21. Hinderliter, H.; Xie, Y.; Ladendorf, K.; Muehsler, H. Path Analysis of Internal and External Factors Associated with Parental Satisfaction over K-12 Online Learning. Comput. Sch. 2022, 38, 354–383. [Google Scholar] [CrossRef]
  22. Zhu, Y.; Zhang, J.H.; Au, W.; Yates, G. University students’ online learning attitudes and continuous intention to undertake online courses: A self-regulated learning perspective. Educ. Technol. Res. Dev. 2020, 68, 1485–1519. [Google Scholar] [CrossRef]
  23. Tarhini, A.; Hone, K.; Liu, X. A cross-cultural examination of the impact of social, organisational and individual factors on educational technology acceptance between British and Lebanese university students. Br. J. Educ. Technol. 2015, 46, 739–755. [Google Scholar] [CrossRef] [Green Version]
  24. Islam, A.N. Investigating e-learning system usage outcomes in the university context. Comput. Educ. 2013, 69, 387–399. [Google Scholar] [CrossRef]
  25. Kim, H.W.; Chan, H.C.; Gupta, S. Value-based adoption of mobile internet: An empirical investigation. Decis. Support Syst. 2007, 43, 111–126. [Google Scholar] [CrossRef]
  26. Panigrahi, R.; Srivastava, P.R.; Sharma, D. Online learning: Adoption, continuance, and learning outcome—A review of literature. Int. J. Inf. Manag. 2018, 43, 1–14. [Google Scholar] [CrossRef]
  27. Deshwal, P.; Trivedi, A.; Himanshi, H.L.N. Online learning experience scale validation and its impact on learners’ satisfaction. Procedia Comput. Sci. 2017, 112, 2455–2462. [Google Scholar] [CrossRef]
  28. Liaw, S.S. Investigating students’ perceived satisfaction, behavioral intention, and effectiveness of e-learning: A case study of the Blackboard system. Comput. Educ. 2008, 51, 864–873. [Google Scholar] [CrossRef]
  29. Zuo, M.; Ma, Y.; Hu, Y.; Luo, H. K-12 students’ online learning experiences during COVID-19: Lessons from China. Front. Educ. China 2021, 16, 1–30. [Google Scholar] [CrossRef]
  30. Cardozo, R.N. An experimental study of customer effort, expectation, and satisfaction. J. Mark. Res. 1965, 2, 244–249. [Google Scholar] [CrossRef]
  31. Fantuzzo, J.; Perry, M.A.; Childs, S. Parent satisfaction with educational experiences scale: A multivariate examination of parent satisfaction with early childhood education programs. Early Child. Res. Q. 2006, 21, 142–152. [Google Scholar] [CrossRef]
  32. Sharma, I.; Kiran, D. Study of parent’s satisfaction for online classes under lockdown due to COVID-19 in India. J. Stat. Manag. Syst. 2021, 24, 17–36. [Google Scholar] [CrossRef]
  33. Pakaja, F.; Wafa, M. Social family, parental involvement and intentions: Predicting the technology acceptance and interest students learning online. Interact. Learn. Environ. 2021, 29, 1–16. [Google Scholar] [CrossRef]
  34. Wang, Y.S.; Wu, M.C.; Wang, H.Y. Investigating the determinants and age and gender differences in the acceptance of mobile learning. Br. J. Educ. Technol. 2009, 40, 92–118. [Google Scholar] [CrossRef]
  35. Cui, S.; Zhang, C.; Wang, S.; Zhang, X.; Wang, L.; Zhang, L.; Yuan, Q.; Huang, H.; Cheng, F.; Zhang, K.; et al. Experiences and attitudes of elementary school students and their parents toward online learning in China during the COVID-19 pandemic: Questionnaire study. J. Med. Internet Res. 2021, 23, e24496. [Google Scholar] [CrossRef]
  36. Gui, H.C.; Wong, S.S.L.; Ahmad Zaini, A.; Goh, N.A. Online learning amidst covid-19 pandemic–explicating the nexus between learners’ characteristics, their learning environment and the learning outcomes in built environment studies. Interact. Learn. Environ. 2021, 29, 1–12. [Google Scholar] [CrossRef]
  37. Kang, Y.J.; Lee, W.J. Self-customization of online service environments by users and its effect on their continuance intention. Serv. Bus. 2015, 9, 321–342. [Google Scholar] [CrossRef]
  38. Valasidou, A.; Bousiou, D.M. Satisfying distance education students of the Hellenic Open University. E-Mentor 2006, 2, 1–12. [Google Scholar]
  39. Schmidt, E.K.; Gallegos, A. Distance learning: Issues and concerns of distance learners. J. Ind. Technol. 2001, 17, 2–5. [Google Scholar]
  40. Sahin, I. Predicting student satisfaction in distance education and learning environments. Turk. Online J. Distance Educ. 2007, 8, 113–119. [Google Scholar]
  41. Davis, F.D. User acceptance of information technology: System characteristics, user perceptions and behavioral impacts. Int. J. Man-Mach. Stud. 1993, 38, 475–487. [Google Scholar] [CrossRef] [Green Version]
  42. Anastasiades, P.S.; Vitalaki, E.; Gertzakis, N. Collaborative learning activities at a distance via interactive videoconferencing in elementary schools: Parents’ attitudes. Comput. Educ. 2008, 50, 1527–1539. [Google Scholar] [CrossRef]
  43. Gritsai, L. Results of Schoolchildren Teaching through Media Technologies in the Context of a Pandemic: Investigation of Parents’Opinions. Media Educ. 2020, 60, 627–635. [Google Scholar]
  44. Larreamendy-Joerns, J.; Leinhardt, G. Going the distance with online education. Rev. Educ. Res. 2006, 76, 567–605. [Google Scholar] [CrossRef] [Green Version]
  45. McMahon, J.; Gallagher, E.A.; Walsh, E.H.; O’Connor, C. Experiences of remote education during COVID-19 and its relationship to the mental health of primary school children. Ir. Educ. Stud. 2021, 40, 457–468. [Google Scholar] [CrossRef]
  46. Sorensen, C. Learning online at the K-12 level: A parent/guardian perspective. Int. J. Instr. Media 2012, 39, 297–307. [Google Scholar]
  47. Creswell, J.W.; Clark, V.L.P. Designing and Conducting Mixed Methods Research; SAGE Publications: Thousand Oaks, CA, USA, 2017. [Google Scholar]
  48. Franke, N.; Keinz, P.; Steger, C.J. Testing the value of customization: When do customers really prefer products tailored to their preferences? J. Mark. 2009, 73, 103–121. [Google Scholar] [CrossRef]
  49. Venkatesh, V.; Morris, M.G.; Davis, G.B.; Davis, F.D. User acceptance of information technology: Toward a unified view. MIS Q. 2003, 27, 425–478. [Google Scholar] [CrossRef] [Green Version]
  50. Hesse-Biber, S. Gender differences in psychosocial and medical outcomes stemming from testing positive for the BRCA1/2 genetic mutation for breast cancer: An explanatory sequential mixed methods study. J. Mix. Methods Res. 2018, 12, 280–304. [Google Scholar] [CrossRef]
  51. Yu, H.; Seo, I.; Choi, J. A study of critical factors affecting adoption of self-customisation service–focused on value-based adoption model. Total Qual. Manag. Bus. Excell. 2019, 30 (Suppl. 1), S98–S113. [Google Scholar] [CrossRef]
  52. Luarn, P.; Lin, H.H. Toward an understanding of the behavioral intention to use mobile banking. Comput. Hum. Behav. 2005, 21, 873–891. [Google Scholar] [CrossRef]
  53. Grazioli, S.; Jarvenpaa, S.L. Perils of Internet fraud: An empirical investigation of deception and trust with experienced Internet consumers. IEEE Trans. Syst. Man Cybern. Part A Syst. Hum. 2000, 30, 395–410. [Google Scholar] [CrossRef] [Green Version]
  54. Park, J.H.; Choi, H.J. Factors influencing adult learners’ decision to drop out or persist in online learning. J. Educ. Technol. 2009, 12, 207–217. [Google Scholar]
  55. Hair, J.F.; Sarstedt, M.; Ringle, C.M.; Mena, J.A. An assessment of the use of partial least squares structural equation modeling in marketing research. J. Acad. Mark. Sci. 2011, 40, 414–433. [Google Scholar] [CrossRef]
  56. Ringle, C.M.; Sarstedt, M.; Straub, D.W. A Critical Look at the Use of PLS-SEM in MIS Quarterly. Mis Q. 2012, 36, iii–xiv. [Google Scholar] [CrossRef] [Green Version]
  57. Hair, J.F., Jr.; Hult, G.T.M.; Ringle, C.M.; Sarstedt, M. A Primer on Partial Least Squares Structural Equation Modeling (PLS-SEM); SAGE Publications: Washington, DC, USA, 2014; pp. 32–243. [Google Scholar]
  58. Chin, W.W.; Marcolin, B.L.; Newsted, P.R. A Partial Least Squares Latent Variable Modeling Approach for Measuring Interaction Effects: Results from a Monte Carlo Simulation Study and an Electronic-Mail Emotion/Adoption Study. Inf. Syst. Res. 2003, 14, 189–217. [Google Scholar] [CrossRef] [Green Version]
  59. Henseler, J.; Ringle, C.M.; Sarstedt, M. A new criterion for assessing discriminant validity in variance-based structural equation modeling. J. Acad. Mark. Sci. 2014, 43, 115–135. [Google Scholar] [CrossRef] [Green Version]
  60. Gefen, D.; Straub, D.; Boudreau, M.-C. Structural Equation Modeling and Regression: Guidelines for Research Practice. Commun. Assoc. Inf. Syst. 2000, 4, 7. [Google Scholar] [CrossRef] [Green Version]
  61. Osburn, H.G. Coefficient alpha and related internal consistency reliability coefficients. Psychol. Methods 2000, 5, 343. [Google Scholar] [CrossRef]
  62. Fornell, C.; Bookstein, F.L. Two structural equation models: LISREL and PLS applied to consumer exit-voice theory. J. Mark. Res. 1982, 19, 440–452. [Google Scholar] [CrossRef] [Green Version]
  63. Gujarati, D.N. Basic Econometrics; McGraw Hill: New York, NY, USA, 2003. [Google Scholar]
  64. Huang, R.H.; Liu, D.J.; Tlili, A.; Yang, J.F.; Wang, H.H. Handbook on Facilitating Flexible Learning during Educational Disruption: The Chinese Experience in Maintaining Undisrupted Learning during the COVID-19 Outbreak; Smart Learning Institute of Beijing Normal University: Beijing, China, 2020. [Google Scholar]
  65. Abrami, P.C.; Bernard, R.M.; Bures, E.M.; Borokhovski, E.; Tamim, R.M. Interaction in distance education and online learning: Using evidence and theory to improve practice. J. Comput. High. Educ. 2011, 23, 82–103. [Google Scholar] [CrossRef]
  66. Hernández-Sellés, N.; Muñoz-Carril, P.-C.; González-Sanmamed, M. Computer-supported collaborative learning: An analysis of the relationship between interaction, emotional support and online collaborative tools. Comput. Educ. 2019, 138, 1–12. [Google Scholar] [CrossRef]
  67. Kanetaki, Z.; Stergiou, C.; Bekas, G.; Jacques, S.; Troussas, C.; Sgouropoulou, C.; Ouahabi, A. Grade Prediction Modeling in Hybrid Learning Environments for Sustainable Engineering Education. Sustainability 2022, 14, 5205. [Google Scholar] [CrossRef]
Publisher’s Note: MDPI stays neutral with regard to jurisdictional claims in published maps and institutional affiliations.

Article Metrics

Citations

Article Access Statistics

Multiple requests from the same IP address are counted as one view.