Next Article in Journal
A Comprehensive Review of Bimetallic Nanoparticle–Graphene Oxide and Bimetallic Nanoparticle–Metal–Organic Framework Nanocomposites as Photo-, Electro-, and Photoelectrocatalysts for Hydrogen Evolution Reaction
Next Article in Special Issue
Recent Advances in Power Quality Analysis and Robust Control of Renewable Energy Sources in Power Grids
Previous Article in Journal
Applicability of Face Masks as Recyclable Raw Materials for Self-Made Insulation Panels
Previous Article in Special Issue
A Novel Supercapacitor Model Parameters Identification Method Using Metaheuristic Gradient-Based Optimization Algorithms
 
 
Font Type:
Arial Georgia Verdana
Font Size:
Aa Aa Aa
Line Spacing:
Column Width:
Background:
Article

An Experimental Analysis of Three-Phase Low-Voltage Power Factor Controllers Used in a Deforming Regime

by
Corina Maria Diniș
and
Gabriel Nicolae Popa
*
Department of Electrical Engineering and Industrial Informatics, Politehnica University of Timișoara, 5 Revolution Street, 331128 Hunedoara, Romania
*
Author to whom correspondence should be addressed.
Energies 2024, 17(7), 1647; https://doi.org/10.3390/en17071647
Submission received: 15 February 2024 / Revised: 15 March 2024 / Accepted: 26 March 2024 / Published: 29 March 2024

Abstract

In industry, to improve the power factor in low-voltage power substations, a power factor controller (the most used method) can be installed which connects capacitors banks (connected, or not, with coils) in the electrical installation. The most important parameters of power engineering are the power factors that indicate the efficiency of energy use. Currently, many non-linear consumers (more single-phase than three-phase) are used on low voltages. Harmonics (currents and/or voltages) are the most important dynamic component of power quality, affecting electrical equipment performance and also reducing power factors. The purpose of this analysis is to increase the displacement power factor and to decrease the total harmonic distortion (for the current) in the conditions where there are linear and non-linear consumers, where the power factor must be improved with capacitors banks. Relevant different consumers have been selected for both the industry and the home sector, as follows: inductive motors that are linear, inductive consumers, compact fluorescent lamps that are non-linear, and capacitive consumers. This analysis was carried out depending on the number of steps used for the power factor controller, the values of the capacitors banks, the AC reactor (connected in series with all consumers), and the LC shunt filters. For a slight deformation regime, a large number of capacitors banks with different values ensure a finer adjustment of the displacement factor. The maximum number of steps that regulators can command should not necessarily be used (the reliability of the installation decreases with the increase in the number of capacitors banks), but a reduced number of steps can be used, which can lead to higher values of displacement power factors. To improve the deforming regime and to increase the displacement power factor, the use of LC shunt filters, connected to a small number of steps, will also increase the displacement power factor (over 0.9) and decrease the total harmonic distortion (up to 7–10%) for the current. Weaker results were obtained with AC reactors connected to the power supply phases of consumers and, if a larger number of stages were used, to which LC shunt filters were connected, these filters become difficult to calibrate (resonances occur).

1. Introduction

Improved power factor means that, in a defined part of the installation, the necessary steps are taken to increase the power factor by locally delivering the necessary power to reduce current values and power flows through the upstream network with the same output power required. In this way, lines, generators, and transformers can be sized to lower power. The size of generators and transformers depends on the apparent power. At the same active power, the smaller the reactive power provided, the smaller the apparent power. Therefore, by improving the power factor, this equipment can be sized for less apparent power, but still provide the same active power. The devices that produce reactive power are synchronous generators, synchronous condensers, static VAR compensators, and capacitors banks [1,2].
The shunt compensation with capacitors banks of the reactive power can be used at load level, power substations, or transmission (at various voltage levels from low voltage to high voltage). Compensation must be provided as close to the consumption point as possible, in order to avoid the distribution of this power elsewhere in the network.
From a strictly technical point of view, even a suitable size installation can work properly in the case of low power factors. However, improving the power factors is a solution that can achieve technical and economic benefits and, in fact, managing low-cost installations will increase costs for power generation [3,4,5,6].
The main advantages of power factor correction can be summarized as follows: better use of electrical machines, better use of electrical lines, loss reduction, and lower voltage drops.
The correction of the power factor also allows us to obtain benefits for the size of the cables. In fact, at the same output power, the current decreases by increasing the power factor. This current reduction can enable the selection of conductors with lower cross section areas.
There are no general rules for all types of installations and, in theory, capacitors can be installed at any place, but the appropriate practical and economic feasibility must be assessed. The main methods of improving power factor correction depend on the position of the capacitors banks, as follows: the distribution power factor correction, the group power factor correction, the central power factor correction, the combined power factor correction, and the automatic power factor correction. According to the literature, improving the power factors in power engineering can lead to cost savings of 10 to 30% [7,8,9,10,11].
Power factor is related to the power quality. Currently, linear and non-linear consumers are connected to power substations (due to switching sources), which, together with the capacitors (used to improve the power factor), cause current distortion (power quality is affected). In practice, the voltage is not perfectly sinusoidal. The harmonic currents generated by the load will circulate in the circuit through the impedance of the source and all other branches in parallel. Consequently, harmonic voltages will appear on the impedance of the power supply and they will be present everywhere in the installation. The main equipment that produce harmonics are personal computers, LED lamps, fluorescent and gas expanding lamps, static converters, variable speed drives, welding machines, and arc and induction furnaces [12].
The presence of harmonics (currents or/and voltages) in electrical networks may cause equipment failure, such as the overloading of neutral conductors, increasing transformer losses, and causing torque disturbances in motors. More important problems occur when distortions reach high values and the danger of resonances between power factor correction systems and electrical networks are present [13,14].
In three-phase systems, the capacitors bank is composed of three capacitors with the same capacity and can have wye or delta connections. The capacitors banks can be combined with the inductors to limit the harmonic on the network and reduce inrush currents. In fact, the combination capacitor–inductor forms a harmonic filter. In this way, the component inductors–capacitors provide a very low reaction in correspondence to the elimination of harmonics that circulate in the component without affecting the entire network. Also, to limit the distortion of the current, AC reactors can be used that are connected in series with the electrical consumers [15,16,17,18,19].
Normally, two options are used to solve power quality problems (non-sinusoidal current), as follows: passive power factor correction (to improve power factor by filtering harmonics with passive filters) and active power factor correction (using a switching converter to modulate distorted waves and shape them into sine waves). For ordinary electrical consumers who have a switching source, a power factor correction circuit is added to the energy supply circuit to increase the power factor and/or reduce the harmonics. There are three power factor correction techniques: passive with reactors, active that controls a current at high frequency using a switching device, and partial switching with switching devices to regulate currents several times per mains cycle and whose applications are limited [20,21].
Power passive filters can be used to improve power factors in electrical systems. It is difficult to use passive filters to increase power factor and to decrease deformation (currents) because they must also take into account consumer specificities (linear or non-linear, capacitive or inductive characteristics). Reactive power and negative sequence currents generated by inductive unbalanced loads not only increase line losses, but also cause relay protection devices to fail due to negative sequence components of the power grid, threatening the safe operation of the power system. Reactive power compensation and unbalance suppression were achieved in three-phase wye connectors, with complex electronic structures for inductive unbalanced electric consumers [7,14,22,23].
Real-time control of the reactive power is currently the most efficient solution to avoid voltage fluctuations and maintain the standard limits. For this purpose, capacitors banks, reactors, synchronous generators, synchronous condensers, and FACTS (Flexible Alternating Current Transmission Systems) installations are used. Types of FACTS installations are SVC (Static VAR Compensator), STATCOM (Static Synchronous Compensator), SSCR (Switched Shunt-Capacitor and Reactor), UPFC (Unified Power Flow Controller) and D-STATCOM (Distribution STATCOM) that provide control of reactive power to obtain voltage stabilization and ensure mitigation solutions for voltage changes, swelling, interruptions, and flashes. These solutions are usually used for medium and high voltages. For the power substation, the most common solution for improving the power factor is the use of capacitors banks controlled by a power factor controller (which makes the adjustment according to the displacement power factor) mounted in the point of common coupling [24,25,26].
This paper is divided into five sections. The second section is about materials and methods and presents theoretical aspects about electrical parameters used in the deforming regime and the power factor controller with capacitors banks used for improving power factors. The third section presents the experimental results (20 groups of experiments) with capacitors (without coils connected in series), AC reactors, and LC shunt filters. The fourth section is a detailed discussion about the use of power factor controllers in different conditions. Conclusions on the use of the power factor controller are presented in the last section.

2. Materials and Methods

2.1. Theoretical Aspects

The RMS values for voltage (U) and current (I) in a deforming mode are calculated with [14]:
U = U 0 2 + k = 1 50 U k 2
I = I 0 2 + k = 1 50 I k 2
where U0 and I0 are the continuous components of voltage and current and Uk and Ik are fundamental (k = 1) and higher harmonics of voltage and current.
In periodic non-sinusoidal mode, the following powers can be defined [12,26]:
  • apparent power:
S = U · I,
  • active power:
P = U 0 · I 0 + k = 1 50 U k · I k · cos φ k
where φk represents the phase shift between the k component of the voltage and the k component of the current.
  • reactive power:
Q = k = 1 50 U k · I k · sin φ k
  • deforming power:
D = S 2 P 2 Q 2
Based on the powers S, P, Q, and D, the power factor is defined in non-sinusoidal mode:
P F = P S = P P 2 + Q 2 + D 2
The displacement power factor is calculated with:
D P F = cos φ 1
where φ1 represents the phase shift between the voltage and current fundamentals (50 Hz).
The total harmonic distortion factor (THD, Total Harmonic Distortion) is a ratio between the deforming residue and the RMS value of the fundamental:
T H D = k = 2 50 G k 2 G 1
where Gk is the RMS value for harmonics of rank k and G1 is the RMS value of the fundamental harmonic. THD can be calculated for both current and voltage. As can be seen, the total harmonic distortion factor does not take into account the phases of the harmonics, only their RMS values.
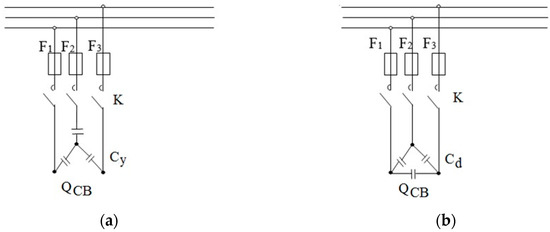
In order to decrease the reactive energy, all electrical energy consumers are obliged to operate at a power factor higher than the neutral power factor. In three-phase alternating voltage, the capacitors can be connected to the network in wye or delta connections (Figure 1). It is denoted by Cy—the capacitor on a branch of the capacitors bank in wye connection; Cd—the capacitor on a branch of the bank at the delta connection; and QCB—total reactive power for the capacitors bank.
For a consumer balanced on the three-phases powered from a symmetrical three-phase voltage, if QCB is the total reactive power of the three-phase capacitors bank [7]:
QCB = P · (tgφ1 − tgφ2)
where P is the active power of the consumer (on all phases), φ1 is the initial phase shift between voltage and current, and φ2 is the final phase shift (it is usually imposed by the neutral power factor) between voltage and current after the introduction of the capacitors bank.
Depending on the phase voltage, the capacitor for the wye connection is determined using:
C y = P 2 · π · f · U l 2 · 1 c o s 2 φ 1 cos φ 1 1 c o s 2 φ 2 cos φ 2
The capacitor for the delta connection is determined using:
C d = P 3 · 2 · π · f · U l 2 · 1 c o s 2 φ 1 cos φ 1 1 c o s 2 φ 2 cos φ 2
For the same reactive power of the capacitor bank:
C d = C y 3
So, at the same reactive power of the capacitors bank, the capacitors in the delta connection are three times less than the capacitors in the wye connection, but the capacitors in the delta connection must work at the line voltage, compared to the capacitors in the wye connection, which must work at the phase voltage.
To reduce the deforming regime of the current determined by connecting the capacitors to real supply voltages, which differ from the sinusoidal form, LC filters can be used, whose frequency is calculated with:
f c = 1 2 · π · L · C

2.2. Classical Power Factor Controller

The power factor improvement with classical power factor controllers (PFCs; also known as reactive power controllers) is known (Figure 2) [4]. Normally, using a single current transformer, CT measures the line current and the PFC measures the phase voltage, and displacement power factor is calculated and, depending on the set value of displacement power factor (usually the neutral power factor), capacitors banks (CB1, CB2, CB3, CB4, CB5, and CB6) are timed to switch on or switch off through electromagnetic relays (K1, K2, K3, K4, K5, and K6). Choosing the number of banks steps depends on the fineness of the displacement power factor adjustment and the values of banks, depending on the reactive power. PFCs monitor the presence of harmonics in the network, incorrect operation of capacitors banks, and the temperature level of the space where the capacitors banks (CBs) are located.
The disadvantage of this installation is that when connected to a capacitors bank, the high values of currents peaks are generated by the capacitors bank (depending on the values of capacitors, the remanent voltages on the capacitors, and the initial voltage applied on capacitors). With these types of PFCs, a fine adjustment of the displacement power factor cannot be achieved (the change is in steps). Using the classical PFC, premature wear of the electromagnetic relay contacts occurs (reducing their lifetime).
When connecting capacitors banks in an installation with inductive consumers, the power factor is improved, but the current will be distorted. To improve the waveforms of the currents, AC reactors can be used that are connected in series with the consumers (Figure 3). Basically, the higher their value, the closer they are obtained to the sinusoidal currents. It is obvious that their value cannot be any higher because there will be a significant voltage drop on the AC reactors [14].
In power engineering, a synchronous condenser is a DC-driven synchronous motor, whose shaft is not connected to anything but rotates freely. Its objective is to adjust the conditions (adjustment of power factor or voltage) of the electric network. Its field is controlled by a voltage regulator to generate or absorb reactive power, as needed, to adjust the voltage of the network or to improve the power factor. The installation and operation of the synchronous condenser is identical to that of the large electric motor and generator (some generators are designed to work as synchronized condensers with the main motor disconnected). However, due to high installation and maintenance costs, they are not suitable for most low-voltage applications (e.g., power substations). However, synchronous condensers have higher energy losses than static capacitors banks. Most synchronous condensers connected to electrical networks have a rating of between 20 and 200 MVAR, but are not used in ordinary low-voltage substations (usually, up to 1600 KVA maximum power), and many of them are hydrogen-cooled. An advantage of using synchronous condensers is that a fine adjustment of the power factor can be achieved, which is very difficult to achieve with installations with condenser banks (many capacitors banks are controlled by power factor controllers) [22].
The mean cost for a synchronous condenser is between USD (10 ÷ 40)/kVAR with high maintenance costs, and for an installation with capacitors banks is between USD (10 ÷ 30)/kVAR, but with very low maintenance costs [24]. For example, for a reactive power of 5 MVAR, the costs (capital cost, preventive maintenance cost, and voltage regulator maintenance) when using an installation with capacitors banks, the estimated values are USD 34,600, and for an installation with a synchronous condenser the estimated costs are USD 56,800 (almost double), under the conditions in which the same annual financial benefits are obtained. However, it should be mentioned that the average life span for an installation with capacitors banks is 10 years, while an installation with a synchronous condenser is 20 years [24].
On medium voltages, for high-power electrical industrial consumers, it is beneficial to use a synchronous condenser that can adjust both the voltage level and the power factor.

3. Results

The purpose of the experimental measurements is to analyze the operation of the PFC with different numbers of capacitors banks (from 2 to 6 stages), when using the same values or different values for the capacitors banks, and when using the capacitors banks connected to coils (each terminal of the capacitors bank is in series with a coil).
To experimentally analyze the PFC (Roederstein ESTAmat RPR type, Vishay), two induction motors (inductive character, linear) and two compact fluorescent lamps (CFLs, capacitive character, non-linear consumers) were used (Figure 4) which connected to the installation in Figure 2. The characteristics of consumers are as follows:
  • M1, three-phase induction motor with the following data (ASI 90L-24-2 type): 2.2 kW; 2780 rpm; 400 V; 4.95 A; PF = 0.855;
  • M2, three-phase induction motor with the following data (N 80 L type): 750 W; 1450 rpm; 400 V; 2.13 A; PF = 0.72;
  • Compact fluorescent lamps, connected in parallel on the phase where CT (15/5 A, SM 5VA, Metra type) is also connected with the following data: CFL1: 220 V, 50 Hz, 85 W, 6400 K; CFL2: 220–240 V, 50/60 Hz, 120 W, 580 mA, 4000 K.
Figure 4. The electrical consumers used in the experiments depicted in the diagram in Figure 2 [27].
Figure 4. The electrical consumers used in the experiments depicted in the diagram in Figure 2 [27].
Energies 17 01647 g004
Induction motors work without mechanical loads to have a power factor as low as possible and the two CFLs work in parallel. Consumers can be connected manually through electrical separators (S1, S2, S3—Figure 4). The measurements were made with a power quality analyzer (CA 8334B type, Chauvin-Arnoux).
The main electrical characteristics of the consumers used in the experiments are listed in Table 1. In all the tables, the quantities have the following meanings: P—active power; Q—reactive power; S—apparent power; PF—power factor; DPF—displacement power factor; THDc—total harmonic distortion for current. In all the tables, for Q, PF, and DPF, for the numerical values, i represents the inductive character and c represents the capacitive character. Figure 5 shows a view of the experimental setup used in the experiments.
In the following tables i represents the inductive character, and c represents the capacitive character of the loads.
Although it also measures the deforming regime of voltage and current, PFC ensures the regulation of capacitors banks according to the displacement power factor (DPF). It would be impossible for the PFC to improve the PF in the installation by introducing CBs, under the conditions that, by connecting the CBs, it determines the pronounced deformation of the current and the PF decreases (all the more as the deforming regime increases). From a practical point of view, it is not possible to ensure a fine adjustment of the DPF in the electrical installation (due to the stages to which the CBs are connected), but it is possible to ensure an adjustment in stages (depending on the combination of CBs).
During the experiments, all the capacitors used were new (they have very low dielectric loss) and were working at 450 V, 50 Hz. The neutral power factor for low voltages is 0.9, value adjusted at PFC. In experiments, wye connection for CBs were used.
With Equation (11) and with the data from Table 1, the (theoretical) capacities of the capacitors (on a branch of the wye-connected bank) that must be inserted in parallel with the inductive consumers were determined as follows:
  • for Uf = 220 V, f = 50 Hz: for electric motor M1: CM1 = 35.57 µF; for the electric motor M2: CM2 = 18.01 µF, and when the two motors are operating, the total capacity CM = 53.58 µF;
  • for Uf = 230 V, f = 50 Hz: for electric motor M1: CM1 = 32.55 µF; for the electric motor M2: CM2 = 16.47 µF, and when the two motors are operating, the total capacity CM = 49.02 µF.
Using Equation (11), the equivalent capacity was determined for CFLs:
  • for Uf = 220 V, f = 50 Hz: CCFLs = 7.76 µF;
  • for Uf = 230 V, f = 50 Hz: CCFLs = 7.1 µF.
Table 2 shows some examples of combinations of electrical consumers (M1, M2, and/or CFLs) together with capacitors (on phase L1) that ensure a certain DPF.
The power factor controller (Roederstein ESTAmat RPR type, Vishay; software version 4.1.2) used in the experiments is a typical regulator (measurement of current on a single phase through a CT; with identification of CBs values; DPF adjustment using a single CT; timed switch on/switch off of CBs; identification of the pronounced deforming regime in the case of connecting a certain CB; possibilities to adjust the DPF according to a set value; multiple display), which is commonly used in power substations (where inductive consumers are connected, usually in industry) for improving the power factor in low-voltage electrical installations. Depending on the DPF value on phase L1 (the phase difference between the fundamental voltage and the fundamental current), the regulator timed switch on or switch off of one or several CBs. From a practical point of view, the PFC can have between 6 and 14 stages and the CBs can be identical or different (on one CB there are identical capacitors in wye or delta connection). An example of the worsening of the deforming regime when the displacement power factor is improved is presented in Figure 6.
When supplying voltage to the PFC, a calibration (value, symmetry) of the CBs on each stage is performed. Obviously, if there is no CB connected to a certain step, it is not taken into account in the adjustment. The identification of the connected CBs is carried out three times, in an interval of approx. 3 min.
In order to carry out the calibration, it is necessary to connect an electrical consumer in the installation. During several experiments, calibrations were made with linear consumers (e.g., induction motors) or with non-linear consumers (e.g., CFLs). It was found that the capacitors banks are correctly identified, regardless of the type of electrical consumer (linear or non-linear) used for calibration (at the beginning of the PFC’s operation).
The transformation ratio of the current transformer (CT) must be chosen in such a way (depending on the consumers and the CBs) that the current in the secondary CT is not less than 150 mA and does not exceed 5 A. A CT 15A/5A (Metra) was used for the experiments.
Several experiments were carried out to identify the operation of the PFC with different numbers of CBs (identical or not), when using coils in series per phase (Figure 3) and when using coils in series with capacitors banks (LC shunt filters, Figure 7). The main quantities monitored during the experiments were DPF (quantity according to which the adjustment is made by the PFC) and total harmonic distortion for the current (THDc).
In the following, the experiments refer to the capacitors on a branch from the bank in wye connection. In the vast majority of the cases analyzed, capacitors were used to compensate the reactive power of the consumers (in the worst case).
To make it easier to understand the results of the experiments, measurements are presented only for phase L1 for the current and for the voltage between L1 and null (N). A current transformer (CT, Figure 2) is mounted on the L1 phase, which has a secondary connection to the PFC, where the current is measured, which ensures the connection of the capacitors banks (wye connections).

3.1. Connecting Consumers without PFC and without Capacitors Banks

A first experiment was carried out without PFC and without CBs, only with electrical consumers connected in a certain order (Table 3).
Induction motors, being inductive and linear consumers, will cause a large phase shift (DPF has very small values) between voltage and current (current follows the voltage), and THDc has values of the order of percentages (current is more distorted than voltage).
If CFLs are introduced in parallel with IMs, which have a capacitive and non-linear character, they will cause a slightly smaller phase shift between voltage and current (DPF has small values), and the current will be more distorted (compared to the previous situation).
Next, when the value of a capacitor is specified, it refers to the capacitor on a branch of a capacitors bank in wye connection.

3.2. Single-Step PFC, C1 = 54 μF

In these experiments, a single stage was connected with a capacitor (on the branch) of 54 µF (Table 4).
The use of a single CB leads to the impossibility of adjusting the DPF in the installation where the DPF is modified within wide limits. A high-capacity CB also introduces a greater distortion of the current (high THDc) in the situation where only inductive consumers are connected. If non-linear and capacitive consumers are connected, THDc decreases.
If the capacitive reactive power is too high, the bank is not connected into the circuit.
If the two induction motors are used, the PFC connects the capacitors bank. The capacity, being large, will determine a large DPF, the current drops considerably, but the current will be highly distorted (high THDc).
By introducing CFLs, the DPF increases and the THDc decreases almost by half (and due to the diversity affect that can determine this effect).

3.3. Single-Step PFC, C1 = 54 µF and AC Reactor of 9 mH

In the following experiments, a phase coil was used, inserted with consumers and CB (Table 5). A single capacitors bank was used.
If it is connected into circuit M1, by inserting CB (using the PFC), this having high capacitors, the character of the consumers will be capacitive and the current will be distorted (THDc = 52.3%).
If M2 is also connected, the current becomes lower, the DPF will be high (inductive character), but the current will be very distorted.
If CFLs are also connected, the DPF will have a maximum value, and the current will be very distorted (THDc = 62.6%).
By disconnecting M2, the remaining consumers will have a capacitive character and the current will be distorted. When using some coils inserted with the consumers, the absorbed currents will be more distorted (higher THDc) compared to the experiments from Section 3.2. It is mentioned that the usual adjustment of the DPF is carried out in the inductive range (e.g., if the DPF has been set to 0.9, the PFC adjusts the DPF in the inductive range 0.9–0.99).

3.4. Single-Step PFC (Stage 1), LC Shunt Filter LC, C = 54 µF, L = 9 mH

The PFC does not immediately connect (case a, Table 6) the LC shunt filter (f = 228.3 Hz) but does so after a period of time (case b in Table 6). If a filter is used and connected in parallel with the consumers, it is found that THDc increases and DPF decreases.

3.5. PFC with Two Identical Steps, C1 = 20 μF, C2 = 20 μF

If two stages are used, with identical CBs, a finer adjustment of the DPF can be achieved (it has both inductive and capacitive values) compared to the previous situation (Table 7).
By using two identical CBs, finer adjustment of the DP is not obtained and the current will be equally distorted (high THDc). Larger capacities will lead to greater current distortion. However, in this situation there is an under-dimensioning of the CBs.

3.6. PFC with Two Different Steps, C1 = 20 μF, C2 = 40 μF

If two different steps are used (Table 8), an adjustment of the DPF can be made (it has values in the inductive as well as capacitive character), but THDc has higher values compared to Section 3.5.

3.7. PFC with Three Identical Steps, C1 = 20 μF, C2 = 20 μF, C3 = 20 μF

When three identical CBs are used (Table 9), a DPF of high values is not obtained (Table 9). Since the CBs are identical, a finer adjustment cannot be achieved compared to Section 3.6.
Surprisingly, by using three identical CBs, the DPF has lower values than in Section 3.6, but the current will be less distorted.
In all situations, the current is distorted, having large harmonics, the largest being 3, 5, 7, 9, 13, etc. When using only electric motors, the third harmonic is much reduced.

3.8. PFC with Three Different Steps, C1 = 10 μF, C2 = 20 μF, C3 = 30 μF

When CBs of different values are used (but which have the same reactive power as in Section 3.7), the PFC works better, the DPF has an inductive character only (Table 10). When CBs of large values are introduced and electric motors are used, then the current is distorted the most (high THDc).
Three CBs of different values will result in better DPF tuning, but THDc will be higher.

3.9. PFC with Three Identical Steps, C1 = 20 μF, C2 = 20 μF, C3 = 20 μF and AC Reactor of 9 mH

When using the PFC with three identical CBs, together with AC reactors, a DPF is obtained that is both inductive and capacitive (Table 11).
The DPF has higher values compared to the case in Section 3.7 and the THDc has lower values (by 3–5%).

3.10. PFC with Three Different Steps, C1 = 10 μF, C2 = 20 μF, C3 = 30 μF and with AC Reactor of 9 mH

The combined use of PFC with three different stages and with AC reactors leads to DPF with only inductive character (Table 12). THDc will have higher values when only electric motors are used and will have lower values when combinations of consumers are used compared to Section 3.7.

3.11. PFC with Five Different Steps, C1 = 1.9 μF, C2 = 4 μF, C3 = 8 μF, C4 = 16.9 μF, C5 = 31.9 μF

Five different capacitors banks connected at five stages to the PFC are used. The values of the capacitors were chosen so that they are (approx.) twice the other, with the aim of obtaining a smaller number of steps. In this situation, inductive DPFs were obtained with values above 0.92 (Table 13). When the M2 motor was disconnected, steps 2,3,4 were initially connected (case a), then, after a period of time (case b), steps 1,2,3,4 were connected.
THDc has high values when using electric motors and values are reduced by half when using a combination of electrical consumers. Higher capacity CBs lead to higher current distortion.
When only electric motors are used, high harmonics are recorded, fitting with the 5th order.
When a combination of consumers is used, the amplitudes of the harmonics decrease (due to the diversity effect).

3.12. PFC with Six Identical Steps, C1 = C2 = C3 = C4 = C5 = C6 = 10 µF

The use of six identical CBs leads to an inductive DPF adjustment with values above 0.93. THDc has 10–15% lower values compared to using five-stage PFC (Table 14).

3.13. PFC with Six Steps with Different Capacitors, C1 = 1.9 μF, C2 = 2.5 μF, C3 = 4 μF, C4 = 10 μF, C5 = 15 μF, C6 = 20 μF

When using the PFC with six different CBs, an adjustment of the inductive DPF over 0.9 was obtained (Table 15). THDc has high values, compared to the measurements made in Section 3.11.
By using six stages with different CBs, DPF adjustment is obtained, but THDc will have high values when IM is connected.
When electric motors are used, the harmonics starting with rank 5 will have high values.
With the combined use of electrical consumers, the third order harmonic increases, but the higher order ones decrease.

3.14. PFC with Three Steps with LC Shunt Filters, Case 1

In the following experiments, LC filters were introduced instead of CBs (Table 16). The values are as follows:
  • Step 1 (Filter LC 1): L1 = 97.07 mH; C1 = 10 µF; If1 = 0.74 A; f = 161.54 Hz;
  • Step 2 (Filter LC 2): L2 = 26.42 mH; C2 = 20 µF; If2 = 1.43 A; f = 218.94 Hz;
  • Step 3 (Filter LC 3): L3 = 15.48 mH; C3 = 30 µF; If3 = 2.24 A; f = 233.54 Hz.
Table 16. Experimental measurements for Section 3.14.
Table 16. Experimental measurements for Section 3.14.
Consumer StatusConnected StepsDPF (-)I (A)THDc (%)Figure
Connection M1 + M22,30.86 i0.992103.7Figure 37
Connection CFLs2,311.4249.9Figure 38
Disconnection M2 2,30.98 i1.2260.4Figure 39
Disconnection CFLs30.73 i0.58378.6
Inductive DPF was obtained in all cases, but the filters did not reduce THDc.
A decalibration of the coils and, implicitly, of the filters will lead to a lower value DPF and a THDc of over 100%.
Current harmonics are large for ranks 3, 5, 7, 9, etc.

3.15. PFC with Three Steps with LC Shunt Filters, Case 2

In the following experiments, LC filters were introduced instead of CBs. The values are as follows:
  • Step 1 (Filter LC 1): L1 = 97.07 mH; C1 = 10 µF; If1 = 0.74 A; f = 161.53 Hz;
  • Step 2 (Filter LC 2): L2 = 10.81 mH; C2 = 20 µF; If2 = 1.42 A; f = 342.29 Hz;
  • Step 3 (Filter LC 3): L3 = 24.26 mH; C3 = 30 µF; If3 = 2.3 A; f = 186.55 Hz.
In all experiments, the inductive DPF is adjusted. When only electric motors are used, THDc is reduced considerably (by tens of %)—Table 17.
When using consumers, the filters can amplify some harmonics (e.g., of the 5th order).

3.16. PFC with Three Steps with LC Shunt Filters, Case 3

In the following experiments, LC filters were introduced instead of CBs (Table 18). The values are as follows:
  • Step 1 (Filter LC 1): L1 = 10.78 mH; C1 = 20 µF; If1 = 1.45 A; f = 342.76 Hz;
  • Step 2 (Filter LC 2): L2 = 10.78 mH; C2 = 20 µF; If2 = 1.45 A; f = 342.76 Hz;
  • Step 3 (Filter LC 3): L3 = 10.78 mH; C3 = 20 µF; If3 = 1.45 A; f = 342.76 Hz.
Table 18. Experimental measurements for Section 3.16.
Table 18. Experimental measurements for Section 3.16.
Consumer StatusConnected StepsDPF (-)I (A)THDc (%)
Connection M1 + M21,30.42 i1.3165.9
Connection CFLs1,30.76 i1.6954.1
Disconnection M2 1,30.97 c1.373.9
Disconnection CFLs1,30.92 c0.6142.7
Lower values of coil inductances can lead to a decrease in DPF (inductive and capacitive character) and a slight increase in THDc (Table 18).

3.17. PFC with Six Different Steps with LC Shunt Filters

In the following experiments, LC filters were introduced instead of CBs (Table 19). The values are as follows:
  • Step 1 (Filter LC 1): L1 = 97.07 mH; C1 = 4 µF; f = 255.41 Hz;
  • Step 2 (Filter LC 2): L2 = 97.07 mH; C2 = 5 µF; f = 228.45 Hz;
  • Step 3 (Filter LC 3): L3 = 26.42 mH; C3 = 11.9 µF; f = 283.84 Hz;
  • Step 4 (Filter LC 4): L4 = 15.48 mH; C4 = 16.9 µF; f = 311.16 Hz;
  • Step 5 (Filter LC 5): L5 = 24.26 mH; C5 = 7,5 µF; f = 373.11 Hz;
  • Step 6 (Filter LC 6): L6 = 47 mH; C6 = 10 µF; f = 232.15 Hz.
Table 19. Experimental measurements for Section 3.17.
Table 19. Experimental measurements for Section 3.17.
Consumer StatusConnected StepsDPF (-)I (A)THDc (%)
Connection M1 a4–60.7 i0.63101.3
Connection M1 b2,4–60.99 i0.58116.6
Connection M2 a2–60.75 i1105.6
Connection M2 b1–60.92 i0.979108.5
Connection CFLs2–60.97 i1.6288.1
An inductive DPF was obtained, but the THDc has very high values (Table 19).
The use of a greater number of stages, which also fulfill the function of LC filters, will not lead, at the same time, to the increase in the DPF and to the decrease in the deforming regime.

3.18. PFC with Six Different Steps with LC Shunt Filters

In the following experiments, LC filters were introduced instead of CBs (Table 20). The values are as follows:
  • Step 1 (Filter LC 1): L1 = 11.45 mH; C1 = 10 µF; f = 470.58 Hz;
  • Step 2 (Filter LC 2): L2 = 11.45 mH; C2 = 10 µF; f = 470.58 Hz;
  • Step 3 (Filter LC 3): L3 = 11.45 mH; C3 = 10µF; f = 470.58 Hz;
  • Step 4 (Filter LC 4): L4 = 63.6 mH; C4 = 10 µF; f = 199.66 Hz;
  • Step 5 (Filter LC 5): L5 = 63.6 mH; C5 = 10µF; f = 199.66 Hz;
  • Step 6 (Filter LC 6): L6 = 63.6 mH; C6 = 10 µF; f = 199.66 Hz.
Table 20. Experimental measurements for Section 3.18.
Table 20. Experimental measurements for Section 3.18.
Consumer StatusConnected StepsDPF (-)I (A)THDc (%)
Connection M1 + M21–50.86 i0.39380.4
Connection CFLs1–50.99 i1.4961.9
Disconnection M23–50.99 i1.3569
Disconnection CFLs3–50.69 i0.58195.5
When adjusting the DPF, only inductive characteristics were obtained and THDc decreased (by 15–20%) compared to the previous case (Table 20).
The results are better than in Section 3.18. DPF is higher (above 0.69) and THDc is lower (below 96%).

3.19. PFC with Six Steps with Capacitors and AC Reactor of 3 mH

CBs were used in the following experiments and AC reactors were introduced in series with the consumers. The values are as follows:
  • Step 1: C1 = 4 µF;
  • Step 2: C2 = 5 µF;
  • Step 3: C3 = 11.9 µF;
  • Step 4: C4 = 16.9 µF;
  • Step 5: C5 = 7.5 µF;
  • Step 6: C6 = 10 µF.
In the analyzed situations, DPFi had an inductive character (with values over 0.96), and THDc had lower values compared to the use of LC filters (Table 21).
It is a combination between the coil inserted with consumers and capacitors C. The capacity of the capacitors when using L-C filters must be chosen 10–15% higher compared to the case of using only single capacitors banks.

3.20. PFC with Six Steps with LC Shunt Filters and AC Reactor of 3 mH

In the following experiments, LC filters were introduced instead of CBs and AC reactors were introduced in series with the consumers. The values are as follows:
  • Step 1 (Filter LC 1): L1 = 47 mH, C1 = 4 µF, f = 367.25 Hz;
  • Step 2 (Filter LC 2):L2 = 26.29 mH, C2 = 5 µF, f = 439.2 Hz;
  • Step 3 (Filter LC 3):L3 = 15.48 mH, C3 = 11.9 µF, f = 371 Hz;
  • Step 4 (Filter LC 4):L4 = 26.42 mH, C4 = 16.9 µF, f = 238.3 Hz;
  • Step 5 (Filter LC 5):L5 = 24.26 mH, C5 = 7.5 µF, f = 373.11 Hz;
  • Step 6 (Filter LC 6):L6 = 97.07 mH, C6 = 10 µF, f = 161.62 Hz.
In the analyzed situations, DPF had an inductive character, but THDc has higher values compared to the previous cases (Table 22).
The combined use of AC reactors and LC filters is not recommended for a PFC with a large number of stages.

4. Discussion

The most common PFCs are those that have a large number of stages (6–14) of capacitors that can be connected in the electrical installation and that are intended for DPF regulation in three-phase installations. Typically, these PFCs measure (via a CT) the line current and a phase voltage to determine the DPF. The improvement of the power factor of these PFCs is achieved by obtaining a DPF above a certain preset value (e.g., the neutral power factor). In deforming mode, things are more complicated because there are differences between the power factor and DPF (the more deforming the regime, the bigger the difference between PF and DPF). Obviously, the number of steps is chosen depending on the number, type, and operating mode of the consumers that are supplied from the power station. A large number of steps can ensure a finer adjustment of the DPF, but it decreases the reliability of the entire installation (it becomes more complex, with more switching and protection equipment and more CBs). Usually, the PFC works properly when an inductive DPF (not capacitive) is obtained with values higher than the preset value (0.9).
In the following (Table 23, Table 24 and Table 25), the experimental measurements from Section 3 are presented, depending on the connection of consumers used in the experiments, DPF and THDc, after which PFC introduced CBs or LC filters.
A relatively fine adjustment of the DPF can be obtained even if there are fewer steps (e.g., three steps with different CBs). With one stage (with a high capacity per stage), two stages (identical or different), or three identical stages, DPF can be obtained several times. Under these conditions, the use of coils inserted when one, two, or three stages are used does not result in a decrease in THDc (it can even result in an increase of 5 to 7%).
The DPF is best adjusted when using 5 and 6 steps, where, in all situations, an inductive DPF is obtained. If 6 stages are used, all different, with capacities to compensate the inductive reactive power, in the most disadvantageous case (inductive consumers), slightly higher inductive DPFs are obtained, but also a higher THDc compared to the use of six identical stages.
An interesting case is the use of five different stages, where each stage has double the capacity of the other. In this case, inductive DPFs have slightly higher values than in the case of using the six-step regulator, but THDc is also higher. So, if it uses steps with double the capacity compared to each other, it can obtain an even better adjustment of the DPF than in the case of six steps (with different or identical values).
It is important to choose the values of the capacitors to improve the DPF when all the inductive consumers are connected. The use of deforming consumers that also have a capacitive character determines a slight improvement of the DPF.
If an LC shunt filter is used instead of a single stage, DPF can be lower and THDc higher, compared to the situation of a single stage (with high capacity) or a coil inserted with consumers and a single stage.
If PFC is used with three different stages, each stage having an LC shunt filter, it is possible to increase the DPF (above the value of 0.9) and decrease the THDc (by 5–7%). It is important to properly adjust the filters (quite difficult in practice), otherwise they can cause a slight increase in the DPF (does not reach 0.9) and an increase in the THDc (higher values compared to using only capacitors for the PFC). The use of LC filters, with identical capacitors leads to inductive and capacitive DPF, and the THDc can have higher values (compared to the use of LC shunt filters, with different capacities connected to the PFC).
It has been determined experimentally that the use of a large number of steps (e.g., 6) of LC shunt filters or combinations of coils inserted with consumers and LC shunt filters does not lead, at the same time, to the increase in DPF and to the decrease in THDc. With a large number of steps, it is more efficient to use AC reactors, compared to the use of LC filters on each step. Practically, it is difficult to tune several LC filters, and resonances can appear when the LC filters are operating in parallel. The best performances were achieved with three stages with LC filters, where the capacities have different values.
Some electrical consumers can be inductive, while others can have a capacitive character. Depending on the place where PFC is used in the power substations, there are, usually, three-phase linear electrical consumers (e.g., induction motors) or single-phase consumers (electric heaters), but there can also be three-phase non-linear consumers (e.g., variable frequency drives) and non-linear single-phase consumers (e.g., compact fluorescent lamps). Through the intelligent distribution of the various consumers on phases, an improvement of the DPF can be ensured, and perhaps a reduction in the THDc (the phenomenon of diversity also appears, which can reduce the THDc). For example, at a transformer substation that supplies many non-linear capacitive consumers (e.g., transformer substations that supply households and residential and educational institutions [20]), a classic PFC with capacitors banks no longer proves its usefulness because, overall, consumers have a capacitive character with a high value DPF (0.9–1). At the same time, it must be taken into account that most consumers are single-phase ones that determine an unbalance on the three-phases in the point of common coupling of the installation and even a significant current through the neutral conductor (due to both the unbalance and the consumers non-linearity).
For classic PFCs that measure a single line current, it is important to choose the phase on which the CT is mounted (usually, it is mounted on the most loaded phase). Another important aspect concerns the choice of an optimal transformation ratio for the CT. A too-low value of the transformation ratio may exceed the maximum value of the current measured by the PFC, and a too-high value of the transformation ratio may determine a current below the sensitivity limit of the PFC (e.g., below 150 mA, the current is no longer measured correctly and the DPF adjustment is no longer performed correctly).
For unbalanced electrical networks that have slightly deforming consumers, it is recommended to use high-performance PFCs with a large number of capacitors banks (of different values, appropriately sized) that perform the regulation of the reactive power independently on each phase separately (by using three CTs mounted on each phase separately). The installation can also have AC reactors to reduce the deforming regime. The use of different steps, where each step has double the value of the other, can achieve the DPF adjustment with a smaller number of steps, and the reliability of the installation increases. A large number of steps reduces the reliability of the entire installation. For unbalanced electrical networks that have high deformation consumers, it is recommended to use a small number of PFCs (e.g., three) of high-performance LC filters (with different capacities in each phase) to control the reactive power independently in each phase (using three CTs mounted in each phase and measuring the DPF independently in each phase), while reducing (to some extent) the deformation regime.
To reduce the deforming regime, the combined use of AC reactors and LC filters is not recommended (even if they are sized appropriately for common operation, there is a high chance that the deforming regime will be amplified due the resonance).

5. Conclusions

Classical power factor controllers with capacitors banks, which use a single current transformer per phase and measures a phase voltage (in order to determine the phase shift between the voltage and current fundamentals to calculate the displacement power factor) have been used for a long time. Such a regulator cannot provide regulation according to the power factor. They are used more often in industry in transformer stations, where there are many single-phase and three-phase inductive consumers.
Usually, a small number of steps (below three) is not recommended because a fine adjustment of the displacement power factor will not be obtained (of course there are exceptions). Using a smaller number (than the maximum number of adjustment stages of the power factor controller) of capacitors banks, where the capacity doubles from one bank to another, can determine the same results as using the power factor controller with a maximum number of steps.
By connecting capacitors banks, a higher displacement power factor can be obtained, but the deforming regime increases (the current becomes more distorted, and the total harmonic distortion increases). If the deforming regime worsens, there will be a considerable difference between the displacement power factor and the power factor (which is smaller). To improve the deforming regime (to some extent) AC reactors can be used, which can be used in a power factor controller with several capacitors banks, or LC shunt filters can be used if a power factor controller with fewer capacitors banks is required. The use of several LC shunt filters and the combination of AC reactors and LC shunt filters leads to the amplification of the deforming regime (unwanted resonances appear).
Future research will be carried out on the analysis of the operation of the classical power factor controller that controls the displacement power factors, on all phases (even if the displacement power factor is adjusted on a single-phase) in unbalanced three-phase electrical networks, with linear and non-linear electrical consumers. Research will be carried out to use new power factor controllers that independently control the operation of improving the power factor and improving currents at each phase.

Author Contributions

Conceptualization, C.M.D. and G.N.P.; Data curation, C.M.D. and G.N.P.; Formal analysis, C.M.D. and G.N.P.; Investigation, C.M.D. and G.N.P.; Methodology, C.M.D. and G.N.P.; Supervision, G.N.P.; Writing—G.N.P. All authors have read and agreed to the published version of the manuscript.

Funding

This paper benefited from financial support through the program on “Supporting the research activity by funding an internal grant competition—SACER 2023”, Competition 2022, University Politehnica Timișoara, Financing contract no.28/3 January 2023.

Data Availability Statement

Data is contained within the article.

Conflicts of Interest

The authors declare no conflicts of interest.

References

  1. Helmi, B.A.; D’Souza, M.; Bolz, B.A. Power factor correction capacitors. IEEE Ind. Appl. Mag. 2015, 21, 78–84. [Google Scholar] [CrossRef]
  2. Raghavendra, P.; Dattatraya, N.G. Coordinated volt-var control. IEEE Ind. Appl. Mag. 2018, 24, 14–22. [Google Scholar] [CrossRef]
  3. Power Factor Correction and Control of Electrical Network Quality; ALPES Technologies: Annecy, France, 2016.
  4. Power Factor Correction: A Guide for the Plant Engineer; Technical Data SA02607001E; EATON: Dublin, Ireland, 2022.
  5. Voloh, I.; Ernst, T. Review of Capacitor Bank Control Practices; GE Grid Solutions: Houston, TX, USA, 2015. [Google Scholar]
  6. Reactive Power Compensation; ABB: Santiago, Chile, 2013.
  7. Power Factor Correction and Harmonic Filtering in Electrical Plants; Technical Application Papers No. 8; ABB: Santiago, Chile, 2010.
  8. Riese, P. Manual of Power Factor Correction; FRAKO: Teningen, Germany, 2010. [Google Scholar]
  9. Latt, A.Z. Power Factor Correction Using Shunt Capacitor Bank for 33/11/0.4 kV, 10 MVA Distribution Substation. Int. J. Innov. Res. Multidiscip. Field 2019, 5, 1–8. [Google Scholar]
  10. Tan, M.; Zhang, C.; Chen, B. Size Estimation of Bulk Capacitor Removal Using Limited Power Quality Monitors in the Distribution Network. Sustainability 2022, 14, 15153. [Google Scholar] [CrossRef]
  11. Scott, M.A. Working Safely with Hazardous Capacitors: Establishing Practical Thresholds for Risks Associated with Stored Capacitor Energy. IEEE Ind. Appl. Mag. 2019, 25, 44–53. [Google Scholar] [CrossRef]
  12. De la Rosa, F.C. Harmonics and Power Systems; CRC Press Taylor & Francis Group: Hazelwood, MI, USA, 2006. [Google Scholar]
  13. Baggini, A. Handbook of Power Quality; John Wiley & Sons Ltd.: Chichester, UK, 2008. [Google Scholar]
  14. Power Quality Application Guide. Available online: https://www.sier.ro/ghid_aplicare.html (accessed on 22 January 2024).
  15. Das, J.C. Passive Filters—Potentialities and Limitations. IEEE Trans. Ind. Appl. 2004, 40, 232–241. [Google Scholar] [CrossRef]
  16. Liang, X.; Ilochonwu, O. Passive Harmonic Filter Design Scheme. IEEE Ind. Appl. Mag. 2011, 17, 36–44. [Google Scholar] [CrossRef]
  17. Thentral, T.M.T.; Usha, S.; Palanisamy, R.; Geetha, A.; Alkhudaydi, A.M.; Sharma, N.K.; Bajaj, M.; Ghoneim, S.S.M.; Shouran, M.; Kamel, S. An energy efficient modified passive power filter for power quality enhancement in electric drives. Front. Energy Res. 2022, 10, 989857. [Google Scholar] [CrossRef]
  18. Azebaze Mboving, C.S. Investigation on the Work Efficiency of the LC Passive Harmonic Filter Chosen Topologies. Electronics 2021, 10, 896. [Google Scholar] [CrossRef]
  19. Azebaze Mboving, C.S.; Firlit, A. Investigation of the Line-Reactor Influence on the Active Power Filter and Hybrid Active Power Filter Efficiency: Practical Approach. Przegląd Elektrotechniczny 2021, 97, 39–44. [Google Scholar] [CrossRef]
  20. Hudson, T. Power Factor Correction; Article #A-0030 Rev. 1.0; MPS: New York, NY, USA, 2022; pp. 1–9. [Google Scholar]
  21. Power Factor Correction; Application Note; Toshiba Electronic Devices & Storage Corporation: Austin, TX, USA, 2019; pp. 1–20.
  22. Liudvinavičius, L. The Methods of Reactive Power Compensation in the 25 KV, 50 Hz Contact Network. Transp. Probl. 2018, 13, 59–68. [Google Scholar] [CrossRef]
  23. Wang, X.; Dai, K.; Chen, X.; Zhang, X.; Wu, Q.; Dai, Z. Reactive Power Compensation and Imbalance Suppression by Star-Connected Buck-Type D-CAP. Energies 2019, 12, 1914. [Google Scholar] [CrossRef]
  24. Igbinovia, F.O.; Fandi, G.; Müller, Z.; Tlusty, J. Cost Implication and Reactive Power Generating Potential of the Synchronous Condenser. In Proceedings of the 2016 2nd International Conference on Intelligent Green Building and Smart Grid (IGBSG), Prague, Czech Republic, 27–29 June 2016. [Google Scholar] [CrossRef]
  25. Zin, A.B.M.; Moradi, M.; Khairuddin, A.B.; Zareen, N.; Naderipour, A.R.; Moradi, M. A Comprehensive Comparison of Facts Devices for Enhancing Static Voltage Stability. J. Eng. Appl. Sci. 2016, 11, 12602–12606. [Google Scholar]
  26. Popa, G.N.; Iagăr, A.; Diniș, C.M. Considerations on Current and Voltage Unbalance of Nonlinear Loads in Residential and Educational Sectors. Energies 2021, 14, 102. [Google Scholar] [CrossRef]
  27. Popa, G.N.; Diniș, C.M. Low-Cost System with Transient Reduction for Automatic Power Factor Controller in Three-Phase Low-Voltage Installations. Energies 2024, 17, 1363. [Google Scholar] [CrossRef]
Figure 1. (a) The wye connection of a capacitors bank. (b) The delta connection of a capacitors bank.
Figure 1. (a) The wye connection of a capacitors bank. (b) The delta connection of a capacitors bank.
Energies 17 01647 g001
Figure 2. Block diagram of a power factor controller in low-voltage three-phase installations with capacitors banks connected through electromagnetic contactors.
Figure 2. Block diagram of a power factor controller in low-voltage three-phase installations with capacitors banks connected through electromagnetic contactors.
Energies 17 01647 g002
Figure 3. Block diagram of a power factor controller in low-voltage three-phase installations with capacitors banks with AC reactors.
Figure 3. Block diagram of a power factor controller in low-voltage three-phase installations with capacitors banks with AC reactors.
Energies 17 01647 g003
Figure 5. Experimental setup used for experiments.
Figure 5. Experimental setup used for experiments.
Energies 17 01647 g005
Figure 6. (a) Currents through electric motors M1 + M2; (b) the harmonic spectra of the currents through the electric motors M1 + M2; (c) currents through electric motors M1 + M2 and a capacitors bank (in wye connection) with C = 54 µF (on one branch); and (d) the harmonic spectra of the currents through the electric motors M1 + M2 and a capacitors bank (in wye connection) with C = 54 µF (on one branch).
Figure 6. (a) Currents through electric motors M1 + M2; (b) the harmonic spectra of the currents through the electric motors M1 + M2; (c) currents through electric motors M1 + M2 and a capacitors bank (in wye connection) with C = 54 µF (on one branch); and (d) the harmonic spectra of the currents through the electric motors M1 + M2 and a capacitors bank (in wye connection) with C = 54 µF (on one branch).
Energies 17 01647 g006
Figure 7. LC shunt filters without core and with core used in some experiments.
Figure 7. LC shunt filters without core and with core used in some experiments.
Energies 17 01647 g007
Figure 8. (a) The voltage and the current. (b) The spectrum of harmonics for the current supplying the induction motor M1.
Figure 8. (a) The voltage and the current. (b) The spectrum of harmonics for the current supplying the induction motor M1.
Energies 17 01647 g008
Figure 9. (a) The voltage and the current. (b) The spectrum of harmonics for the current supplying the induction motors M1 and M2.
Figure 9. (a) The voltage and the current. (b) The spectrum of harmonics for the current supplying the induction motors M1 and M2.
Energies 17 01647 g009
Figure 10. (a) The voltage and the current. (b) The spectrum of harmonics for the current supplying the induction motors M1, M2, and compact fluorescent lamps.
Figure 10. (a) The voltage and the current. (b) The spectrum of harmonics for the current supplying the induction motors M1, M2, and compact fluorescent lamps.
Energies 17 01647 g010
Figure 11. (a) The voltage and the current. (b) The spectrum of harmonics for the current supplying the induction motor M1 and compact fluorescent lamps.
Figure 11. (a) The voltage and the current. (b) The spectrum of harmonics for the current supplying the induction motor M1 and compact fluorescent lamps.
Energies 17 01647 g011
Figure 12. (a) The voltage and the current. (b) The spectrum of harmonics for the current supplying the induction motor M1.
Figure 12. (a) The voltage and the current. (b) The spectrum of harmonics for the current supplying the induction motor M1.
Energies 17 01647 g012
Figure 13. (a) The voltage and the current. (b) The spectrum of harmonics for the current supplying the induction motors M1 and M2.
Figure 13. (a) The voltage and the current. (b) The spectrum of harmonics for the current supplying the induction motors M1 and M2.
Energies 17 01647 g013
Figure 14. (a) The voltage and the current. (b) The spectrum of harmonics for the current supplying the induction motors M1, M2, and compact fluorescent lamps.
Figure 14. (a) The voltage and the current. (b) The spectrum of harmonics for the current supplying the induction motors M1, M2, and compact fluorescent lamps.
Energies 17 01647 g014
Figure 15. (a) The voltage and the current. (b) The spectrum of harmonics for the current supplying the induction motor M1.
Figure 15. (a) The voltage and the current. (b) The spectrum of harmonics for the current supplying the induction motor M1.
Energies 17 01647 g015
Figure 16. (a) The voltage and the current. (b) The spectrum of harmonics for the current supplying the induction motors M1 and M2.
Figure 16. (a) The voltage and the current. (b) The spectrum of harmonics for the current supplying the induction motors M1 and M2.
Energies 17 01647 g016
Figure 17. (a) The voltage and the current. (b) The spectrum of harmonics for the current supplying the induction motors M1, M2, and compact fluorescent lamps.
Figure 17. (a) The voltage and the current. (b) The spectrum of harmonics for the current supplying the induction motors M1, M2, and compact fluorescent lamps.
Energies 17 01647 g017
Figure 18. (a) The voltage and the current. (b) The spectrum of harmonics for the current supplying the induction motor M1 and compact fluorescent lamps.
Figure 18. (a) The voltage and the current. (b) The spectrum of harmonics for the current supplying the induction motor M1 and compact fluorescent lamps.
Energies 17 01647 g018
Figure 19. (a) The voltage and the current. (b) The spectrum of harmonics for the current supplying the induction motor M1.
Figure 19. (a) The voltage and the current. (b) The spectrum of harmonics for the current supplying the induction motor M1.
Energies 17 01647 g019
Figure 20. (a) The voltage and the current. (b) The spectrum of harmonics for the current supplying the induction motors M1 and M2.
Figure 20. (a) The voltage and the current. (b) The spectrum of harmonics for the current supplying the induction motors M1 and M2.
Energies 17 01647 g020
Figure 21. (a) The voltage and the current. (b) The spectrum of harmonics for the current supplying the induction motors M1, M2, and compact fluorescent lamps.
Figure 21. (a) The voltage and the current. (b) The spectrum of harmonics for the current supplying the induction motors M1, M2, and compact fluorescent lamps.
Energies 17 01647 g021
Figure 22. (a) The voltage and the current. (b) The spectrum of harmonics for the current supplying the induction motor M1 and compact fluorescent lamps.
Figure 22. (a) The voltage and the current. (b) The spectrum of harmonics for the current supplying the induction motor M1 and compact fluorescent lamps.
Energies 17 01647 g022
Figure 23. (a) The voltage and the current. (b) The spectrum of harmonics for the current supplying the induction motor M1.
Figure 23. (a) The voltage and the current. (b) The spectrum of harmonics for the current supplying the induction motor M1.
Energies 17 01647 g023
Figure 24. (a) The voltage and the current. (b) The spectrum of harmonics for the current supplying the induction motors M1 and M2.
Figure 24. (a) The voltage and the current. (b) The spectrum of harmonics for the current supplying the induction motors M1 and M2.
Energies 17 01647 g024
Figure 25. (a) The voltage and the current. (b) The spectrum of harmonics for the current supplying the induction motors M1, M2, and compact fluorescent lamps.
Figure 25. (a) The voltage and the current. (b) The spectrum of harmonics for the current supplying the induction motors M1, M2, and compact fluorescent lamps.
Energies 17 01647 g025
Figure 26. (a) The voltage and the current. (b) The spectrum of harmonics for the current supplying the induction motor M1 and compact fluorescent lamps.
Figure 26. (a) The voltage and the current. (b) The spectrum of harmonics for the current supplying the induction motor M1 and compact fluorescent lamps.
Energies 17 01647 g026
Figure 27. (a) The voltage and the current. (b) The spectrum of harmonics for the current supplying the induction motors M1 and M2.
Figure 27. (a) The voltage and the current. (b) The spectrum of harmonics for the current supplying the induction motors M1 and M2.
Energies 17 01647 g027
Figure 28. (a) The voltage and the current. (b) The spectrum of harmonics for the current supplying the induction motors M1, M2, and compact fluorescent lamps.
Figure 28. (a) The voltage and the current. (b) The spectrum of harmonics for the current supplying the induction motors M1, M2, and compact fluorescent lamps.
Energies 17 01647 g028
Figure 29. (a) The voltage and the current. (b) The spectrum of harmonics for the current supplying the induction motor M1 and compact fluorescent lamps.
Figure 29. (a) The voltage and the current. (b) The spectrum of harmonics for the current supplying the induction motor M1 and compact fluorescent lamps.
Energies 17 01647 g029
Figure 30. (a) The voltage and the current. (b) The spectrum of harmonics for the current supplying the induction motors M1 and M2.
Figure 30. (a) The voltage and the current. (b) The spectrum of harmonics for the current supplying the induction motors M1 and M2.
Energies 17 01647 g030
Figure 31. (a) The voltage and the current. (b) The spectrum of harmonics for the current supplying the induction motors M1, M2, and compact fluorescent lamps.
Figure 31. (a) The voltage and the current. (b) The spectrum of harmonics for the current supplying the induction motors M1, M2, and compact fluorescent lamps.
Energies 17 01647 g031
Figure 32. (a) The voltage and the current. (b) The spectrum of harmonics for the current supplying the induction motor M1 and compact fluorescent lamps (steps 1, 5, 6).
Figure 32. (a) The voltage and the current. (b) The spectrum of harmonics for the current supplying the induction motor M1 and compact fluorescent lamps (steps 1, 5, 6).
Energies 17 01647 g032
Figure 33. (a) The voltage and the current. (b) The spectrum of harmonics for the current supplying the induction motor M1.
Figure 33. (a) The voltage and the current. (b) The spectrum of harmonics for the current supplying the induction motor M1.
Energies 17 01647 g033
Figure 34. (a) The voltage and the current. (b) The spectrum of harmonics for the current supplying the induction motors M1 and M2.
Figure 34. (a) The voltage and the current. (b) The spectrum of harmonics for the current supplying the induction motors M1 and M2.
Energies 17 01647 g034
Figure 35. (a) The voltage and the current. (b) The spectrum of harmonics for the current supplying the induction motors M1, M2, and compact fluorescent lamps.
Figure 35. (a) The voltage and the current. (b) The spectrum of harmonics for the current supplying the induction motors M1, M2, and compact fluorescent lamps.
Energies 17 01647 g035
Figure 36. (a) The voltage and the current. (b) The spectrum of harmonics for the current supplying the induction motor M1 and compact fluorescent lamps.
Figure 36. (a) The voltage and the current. (b) The spectrum of harmonics for the current supplying the induction motor M1 and compact fluorescent lamps.
Energies 17 01647 g036
Figure 37. (a) The voltage and the current. (b) The spectrum of harmonics for the current supplying the induction motors M1 and M2.
Figure 37. (a) The voltage and the current. (b) The spectrum of harmonics for the current supplying the induction motors M1 and M2.
Energies 17 01647 g037
Figure 38. (a) The voltage and the current. (b) The spectrum of harmonics for the current supplying the induction motors M1, M2 and compact fluorescent lamps.
Figure 38. (a) The voltage and the current. (b) The spectrum of harmonics for the current supplying the induction motors M1, M2 and compact fluorescent lamps.
Energies 17 01647 g038
Figure 39. (a) The voltage and the current. (b) The spectrum of harmonics for the current supplying the induction motor M1 and compact fluorescent lamps.
Figure 39. (a) The voltage and the current. (b) The spectrum of harmonics for the current supplying the induction motor M1 and compact fluorescent lamps.
Energies 17 01647 g039
Figure 40. (a) The voltage and the current. (b) The spectrum of harmonics for the current supplying the induction motors M1 and M2.
Figure 40. (a) The voltage and the current. (b) The spectrum of harmonics for the current supplying the induction motors M1 and M2.
Energies 17 01647 g040
Figure 41. (a) The voltage and the current. (b) The spectrum of harmonics for the current supplying the induction motors M1, M2, and compact fluorescent lamps.
Figure 41. (a) The voltage and the current. (b) The spectrum of harmonics for the current supplying the induction motors M1, M2, and compact fluorescent lamps.
Energies 17 01647 g041
Figure 42. (a) The voltage and the current. (b) The spectrum of harmonics for the current supplying the induction motor M1 and compact fluorescent lamps.
Figure 42. (a) The voltage and the current. (b) The spectrum of harmonics for the current supplying the induction motor M1 and compact fluorescent lamps.
Energies 17 01647 g042
Figure 43. (a) The voltage and the current. (b) The spectrum of harmonics for the current supplying the induction motor M1.
Figure 43. (a) The voltage and the current. (b) The spectrum of harmonics for the current supplying the induction motor M1.
Energies 17 01647 g043
Table 1. The main electrical characteristics of the consumers used in the experiments, measured on the L1 phase.
Table 1. The main electrical characteristics of the consumers used in the experiments, measured on the L1 phase.
TypeP (W)Q (W)S (VA)PF (-)DPF (-)THDc (%)
M175.7573.1 i578.20.13 i0.13 i7.8
M244.8296 i299.30.15 i0.15 i3.5
CFLs183.4118 c213.30.84 c0.986 c58.9
Table 2. Combinations of consumers used in experiments and different capacitors (a branch of the wye-connected banks) that ensure a certain DPF, without PFC, determined on the L1 phase.
Table 2. Combinations of consumers used in experiments and different capacitors (a branch of the wye-connected banks) that ensure a certain DPF, without PFC, determined on the L1 phase.
TypeCapacitors (µF)DPF (-)
M1 + M220 + 300.76 i
M1 + M210 + 20 + 300.78 c
M1 + M24 + 20 + 300.93 i
M1 + M2 + CFLs300.6 i
M1 + M2 + CFLs10 + 300.78 i
M1 + M2 + CFLs4 + 10 + 300.86 i
M1 + M2 + CFLs2 × 4 + 10 + 300.94 i
M1 + M2 + CFLs20 + 300.99 i
Table 3. Experimental measurements for Section 3.1.
Table 3. Experimental measurements for Section 3.1.
Consumer StatusDPF (-)I (A)THDc (%)Figures
Connection M10.13 i2.68.2Figure 8
Connection M20.12 i3.97Figure 9
Connection CFLs0.32 c3.9417.3Figure 10
Disconnection M2 0.44 i2.6723.3Figure 11
Table 4. Experimental measurements for Section 3.2.
Table 4. Experimental measurements for Section 3.2.
Consumer StatusConnected StepsDPF(-)I (A)THDc (%)Figures
Connection M1-0.16 i2.649.3Figure 12
Connection M210.91 c0.68101.1Figure 13
Connection CFLs111.456.1Figure 14
Disconnection M2-0.44 i2.7122.5
Table 5. Experimental measurements for Section 3.3.
Table 5. Experimental measurements for Section 3.3.
Consumer StatusConnected StepsDPF(-)I (A)THDc (%)Figures
Connection M110.34 c1.2452.3Figure 15
Connection M210.95 i0.66113.5Figure 16
Connection CFLs111.4162.6Figure 17
Disconnection M2 10.68 c1.7944.5Figure 18
Table 6. Experimental measurements for Section 3.4.
Table 6. Experimental measurements for Section 3.4.
Consumer StatusConnected StepsDPF(-)I (A)THDc (%)
Connection M1 + M2 a-0.12 i4.146.4
Connection M1 + M2 b10.82 i0.75116.1
Table 7. Experimental measurements for Section 3.5.
Table 7. Experimental measurements for Section 3.5.
Consumer StatusConnected StepsDPF(-)I (A)THDc (%)
Connection M11,20.92 c0.46110.8
Connection M21,20.38 i1.230.2
Connection CFLs1,20.76 i1.6239.5
Disconnection M21,20.97 c1.2550.7
Table 8. Experimental measurements for Section 3.6.
Table 8. Experimental measurements for Section 3.6.
Consumer StatusConnected StepsDPF(-)I (A)THDc (%)
Connection M120.85 c0.47100.8
Connection M21,20.86 c0.7117.1
Connection CFLs1,20.93 c1.4359.5
Disconnection M210.72 i1.5136.1
Table 9. Experimental measurements for Section 3.7.
Table 9. Experimental measurements for Section 3.7.
Consumer StatusConnected StepsDPF(-)I (A)THDc (%)Figure
Connection M11,20.7 i0.5480.6Figure 19
Connection M21,20.49 i0.9437.9Figure 20
Connection CFLs1,20.86 c1.4645.6Figure 21
Disconnection M21,20.91 c1.2951.9Figure 22
Table 10. Experimental measurements for Section 3.8.
Table 10. Experimental measurements for Section 3.8.
Consumer StatusConnected StepsDPF (-)I (A)THDc (%)Figure
Connection M11,20.59 i0.554.5Figure 23
Connection M22,30.77 i0.6490.3Figure 24
Connection CFLs2,30.99 i1.3459.4Figure 25
Disconnection M230.93 i1.1551Figure 26
Table 11. Experimental measurements for Section 3.9.
Table 11. Experimental measurements for Section 3.9.
Consumer StatusConnected StepsDPF(-)I (A)THDc (%)
Connection M110.34 i1.04415.1
Connection M21,20.51 i0.97841.7
Connection CFLs1,20.87 i1.51653
Disconnection M21,20.9 c1.33356
Disconnection M1-0.99 c0.8673.2
Table 12. Experimental measurements for Section 3.10.
Table 12. Experimental measurements for Section 3.10.
Consumer StatusConnected StepsDPF (-)I (A)THDc (%)
Connection M130.75 i0.4365.5
Connection M22,30.98 i0.58104.8
Connection CFLs2,311.3569.7
Disconnection M220.8 i1.3645.6
Table 13. Experimental measurements for Section 3.11.
Table 13. Experimental measurements for Section 3.11.
Consumer StatusConnected StepsDPF (-)I (A)THDc (%)Figures
Connection M12,50.97 i0.381106.5
Connection M21,2,4,50.97 i0.605123.3Figure 27
Connection CFLs1,2,3,50.92 i1.46549.5Figure 28
Disconnection M2 a2,3,40.94 i1.25147.9
Disconnection M2 b1,2,3,40.97 i1.249.6Figure 29
Table 14. Experimental measurements for Section 3.12.
Table 14. Experimental measurements for Section 3.12.
Consumer StatusConnected StepsDPF (-)I (A)THDc (%)Figure
Connection M1 + M21–60.96 i0.63791.4Figure 30
Connection CFLs1,3,4,5,60.96 i1.34242.4Figure 31
Disconnection M23,4,50.93 i1.19241.4Figure 32
Disconnection CFLs a1,5,60.52 i0.65730.7
Disconnection CFLs b1,2,5,60.97 i0.488.3
Table 15. Experimental measurements for Section 3.13.
Table 15. Experimental measurements for Section 3.13.
Consumer StatusConnected StepsDPF (-)I (A)THDc (%)Figure
Connection M15,60.96 i0.383105.1Figure 33
Connection M21–60.9 i0.634105.9Figure 34
Connection CFLs3–60.97 i1.42454.5Figure 35
Disconnection M22–50.98 i1.21948.8Figure 36
Table 17. Experimental measurements for Section 3.15.
Table 17. Experimental measurements for Section 3.15.
Consumer StatusConnected StepsDPF (-)I (A)THDc (%)Figure
Connection M1 + M22,30.9 i0.774.8Figure 40
Connection CFLs2,311.3953.9Figure 41
Disconnection M230.98 i1.28663.8Figure 42
Disconnection CFLs30.7 i0.6585.1Figure 43
Table 21. Experimental measurements for Section 3.19.
Table 21. Experimental measurements for Section 3.19.
Consumer StatusConnected StepsDPF (-)I (A)THDc (%)
Connection M13,4,60.99 i0.36594.1
Connection M21–60.96 i0.61884.2
Connection CFLs2–60.98 i1.44145.6
Table 22. Experimental measurements for Section 3.20.
Table 22. Experimental measurements for Section 3.20.
Consumer StatusConnected StepsDPF (-)I (A)THDc (%)
Connection M12–40.94 i0.54112.6
Connection M22–60.95 i0.686108.6
Connection CFLs3–60.97 i1.48969.7
Table 23. Connecting the M1 motor.
Table 23. Connecting the M1 motor.
Experiment NumberDPF (-)THDc (%)
Section 3.10.13 i8.2
Section 3.20.16 i9.3
Section 3.30.34 c52.3
Section 3.50.92 c110.8
Section 3.60.85 c100.8
Section 3.70.7 i80.6
Section 3.80.59 i54.5
Section 3.90.34 i15.1
Section 3.100.75 i65.5
Section 3.110.97 i106.5
Section 3.130.96 i105.1
Section 3.170.99 i116.6
Section 3.190.99 i94.1
Section 3.200.94 i112.6
Table 24. Connecting the M1 and M2 motors.
Table 24. Connecting the M1 and M2 motors.
Experiment NumberDPF (-)THDc (%)
Section 3.10.12 i7
Section 3.20.91 c101.1
Section 3.30.95 i113.5
Section 3.40.82 i116.1
Section 3.50.38 i30.2
Section 3.60.86 c117.1
Section 3.70.49 i37.9
Section 3.80.77 i90.3
Section 3.90.51 i41.7
Section 3.100.98 i104.8
Section 3.110.97 i123.3
Section 3.120.96 i91.4
Section 3.130.9 i105.9
Section 3.140.86 i103.7
Section 3.150.9 i74.8
Section 3.160.42 i65.9
Section 3.170.92 i108.5
Section 3.180.86 i80.4
Section 3.190.96 i84.2
Section 3.200.95 i108.6
Table 25. Connecting the M1 and M2 motors and CFLs.
Table 25. Connecting the M1 and M2 motors and CFLs.
Experiment NumberDPF (-)THDc (%)
Section 3.10.32 c17.3
Section 3.2156.1
Section 3.3162.6
Section 3.50.76 i39.5
Section 3.60.93 c59.5
Section 3.70.86 c45.6
Section 3.80.99 i59.4
Section 3.90.87 i53
Section 3.10169.7
Section 3.110.92 i49.5
Section 3.120.96 i42.4
Section 3.130.97 i54.5
Section 3.14149.9
Section 3.15153.9
Section 3.160.76 i54.1
Section 3.170.97 i88.1
Section 3.180.99 i61.9
Section 3.190.98 i45.6
Section 3.200.97 i69.7
Disclaimer/Publisher’s Note: The statements, opinions and data contained in all publications are solely those of the individual author(s) and contributor(s) and not of MDPI and/or the editor(s). MDPI and/or the editor(s) disclaim responsibility for any injury to people or property resulting from any ideas, methods, instructions or products referred to in the content.

Share and Cite

MDPI and ACS Style

Diniș, C.M.; Popa, G.N. An Experimental Analysis of Three-Phase Low-Voltage Power Factor Controllers Used in a Deforming Regime. Energies 2024, 17, 1647. https://doi.org/10.3390/en17071647

AMA Style

Diniș CM, Popa GN. An Experimental Analysis of Three-Phase Low-Voltage Power Factor Controllers Used in a Deforming Regime. Energies. 2024; 17(7):1647. https://doi.org/10.3390/en17071647

Chicago/Turabian Style

Diniș, Corina Maria, and Gabriel Nicolae Popa. 2024. "An Experimental Analysis of Three-Phase Low-Voltage Power Factor Controllers Used in a Deforming Regime" Energies 17, no. 7: 1647. https://doi.org/10.3390/en17071647

APA Style

Diniș, C. M., & Popa, G. N. (2024). An Experimental Analysis of Three-Phase Low-Voltage Power Factor Controllers Used in a Deforming Regime. Energies, 17(7), 1647. https://doi.org/10.3390/en17071647

Note that from the first issue of 2016, this journal uses article numbers instead of page numbers. See further details here.

Article Metrics

Back to TopTop