Abstract
In the modern world, issues related to the use of alternative fuels are becoming increasingly pressing. These fuels offer the potential to achieve significantly improved environmental and technological performance. Currently, among such fuels, biodiesel, ammonia, LPG, and hydrogen are considered the most promising options. LPG and hydrogen exhibit a high Lower Heating Value (LHV) and have a relatively low environmental impact. This article investigates the combustion of hydrogen-LPG mixtures in a diffusion burner. The main parameters under study include the proportion of hydrogen in the fuel, equivalence ratio, and vane angle. The analyzed parameters encompass NOx and CO concentrations. The studies have demonstrated that the addition of hydrogen can reduce greenhouse gas emissions, as the combustion product is clean water. The primary focus of this research is the examination of combustion processes involving flow swirl systems and alternative fuels and their mixtures. The studies indicate that flame stabilization is significantly influenced by several factors. The first factor is the amount of hydrogen added to the fuel mixture. The second factor is the degree of mixing between the fuel and oxidizer, along with hydrogen. Lastly, the equivalence ratio plays a crucial role. As the studies have shown, the maximum stabilization for a speed of 5 m/s is achieved at an angle of 60° and a hydrogen fraction of 40%, resulting in φLBO = 0.9. This represents an 8.0% improvement in stabilization compared to the baseline mode, primarily due to the substantial proportion of hydrogen. An analysis of flame photographs reveals that as the twist angle increases, a recirculation zone becomes more apparent. Increasing the blade angle and incorporating hydrogen leads to a reduction in CO concentrations in the exhaust gases. The analysis indicates that increasing the hydrogen proportion to 50%, compared to the absence of hydrogen, results in a 30% decrease in CO concentration. In our case, for the option φ = 0.3 and blade angles of 60°, the reduction in CO concentration was 28.5%. From the authors’ perspective, the most optimal vane angle is 45°, along with a hydrogen fraction of 30–40%. With these parameters, it was possible to achieve concentrations of NOx = 17–25 ppm, φLBO = 0.66, and CO = 130–122 ppm.
1. Introduction
Review and Analysis
Currently, the use of alternative fuels as the primary source of energy in various burner devices is becoming increasingly relevant [1,2]. There are numerous alternative fuels available, including biogas [3,4], ammonia [5], biodiesel [6], LPG [7], HVO [8], hydrogen [9], and several others. In the study [10], the results of an analysis of biogas combustion with various oxidizers are presented. Experimental and numerical studies have shown that the composition of the oxidizer significantly influences the temperature of the flue gases and the CO2 content. Specifically, it was observed that the proportion of CO2 shows a slight difference when pure oxygen and air are used as oxidizers. Concerning nitrogen oxides, the use of pure oxygen and a mixture of oxygen and CO2 leads to a significant reduction. In the study [11], it is demonstrated that when burning biogas and methane in a mixture with air, there exists a specific equivalence ratio limit beyond which the share of CO in the exhaust gases increases significantly compared to the combustion of pure methane. In [12], researchers investigated NOx emissions from biogas combustion in an internal combustion engine. The analysis indicated that an increase in the proportion of biogas leads to a decrease in brake power, as well as a reduction in NOx concentration. In [4], the combustion of biogas with different CO2 compositions was examined. Similar to the previously analyzed work, the proportion of nitrogen oxides decreases with an increasing proportion of biogas and, consequently, CO2. An increase in fuel consumption was also observed. From this study, it can be concluded that biogas exhibits varying compositions; however, it consistently contains CO2. While this composition is effective in terms of reducing NOx, it results in an increase in the share of CO2 and a decrease in specific power per kilogram of fuel consumed.
Paper [13] presents an analysis of the addition of ammonia to pure methane. Studies have shown that adding ammonia leads to a significant increase in NO, N2O, and other radicals. Moreover, this growth exhibits a multiplicative nature. Similarly, as plant power increases, the concentration of nitrogen oxides also rises significantly. The work [14] presents the results of a study on ammonia combustion in three types of combustion chambers. Based on the analysis, it can be concluded that nitrogen oxides pose a serious obstacle to the use of this type of fuel. In [15], the influence of plasma on the processes of ammonia combustion and NOx formation was examined. The article notes that during combustion, two major problems arise: flame stabilization because combustion is quite slow and a high concentration of nitrogen oxides in the combustion products. The results of the study show that when using a 59 W plasma, it is possible to reduce the concentration of nitrogen oxides from 2000 ppm to 1600–1700 ppm, as well as improve flame stabilization. However, it should be noted that the use of plasma is not always feasible and involves additional costs. In [16], experiments were conducted on the combustion of methane-ammonia mixtures in a laboratory installation under the influence of swirling. Studies have shown that as the proportion of ammonia increases, flame stabilization improves for all swirling options, CO concentrations decrease, and nitrogen oxide concentrations increase significantly, sometimes doubling. Unlike conventional diesel, biodiesel offers several advantages, including the absence of sulfur and aromatic compounds [17], as well as a higher oxygen content and cetane number [18]. In the study [19], the results reveal that an increase in the proportion of biodiesel leads to higher NOx concentrations. Numerical studies of biodiesel combustion in a furnace [20] demonstrated a twofold decrease in NOx concentrations when burning ammonia in a stepped furnace. Overall, biodiesel shows promise, but there are limitations in terms of its low calorific value, high viscosity, and low volatility. In [21], studies were conducted on adding natural gas to an internal combustion engine. In [22], studies were carried out on macroscopic spray characteristics of various oxygenated diesel fuels.
A significant amount of research has been dedicated to the study of LPG combustion [23,24,25,26,27]. In the study [23], experimental research focuses on the combustion of LPG premixed with air in a swirl burner device equipped with two levels of vane. The research indicates that flame stabilization during combustion is notably influenced by the degree of flow swirl and the size of the recirculation zones. It has been demonstrated that it is possible to reduce nitrogen oxides by “leaning” the mixture at the inlet. In the work [24], a comparison is made between the combustion of LPG and diesel in an internal combustion engine. Based on the experimental results, it is shown that the use of LPG can lead to a threefold reduction in NOx concentration within the studied pressure range from 1 to 5. Similar findings are observed when analyzing CO2 concentrations, where the concentration of CO2 in the exhaust gases decreases by 2.6 times. However, as the experiments have revealed, a drawback is the presence of CO, with their quantity in the exhaust gases being greater than when burning diesel. From an engine perspective, one disadvantage of LPG is its high ignition temperature. In [25], studies are conducted on the addition of hydrogen fuel to diesel, LPG, and gasoline. Meanwhile, [26] delves into the combustion process of a mixture of LPG and hydrogen. The research indicates that adding hydrogen up to 15% can lead to a reduction in CO2 emissions by up to 15.1%. In [27], combustion processes were investigated during the burning of LPG in a domestic stove burner. In [28], research was conducted to investigate the addition of HVO to diesel fuel. The studies indicated that the addition of HVO has a negligible effect on specific NOx emissions in g/kWh and on engine power. Positive outcomes include a reduction in the specific concentration of CO with an increase in the proportion of HVO. Ref. [29] explored the addition of various HVO options under real vehicle operating conditions. The research revealed that the concentration of CO2 in the exhaust gases remained approximately the same for all types of fuel, including diesel. However, NOx concentrations for HVO-7 were half as much as those for diesel, whereas for HVO-30 and HVO-100, they were nearly three times higher. In [30], research focused on the combustion of hydrogen/methane mixtures in a porous burner device. The study revealed that within the range from 0.6 to 1.0, changes in the range of 10 to 20 ppm occurred. Additionally, the maximum concentration corresponded to φ = 0.8. An increase in the equivalence ratio resulted in a decrease in NOx concentration. Regarding the influence of the proportion of hydrogen in the methane mixture, an increase starting from 50% led to a significant increase in the concentration of nitrogen oxides. Works [31,32] studied the addition of hydrogen to internal combustion engines. The work [33] presents a study of a new burner device, focusing on the nozzle angle’s impact. The results indicate that both the feeding method and angle significantly influence the formation of nitrogen oxides. In [34], it is demonstrated that staged air supply, at specific values of the fuel excess ratio, can significantly reduce NOx concentrations.
The analysis of alternative fuels reveals that each type of fuel has its own set of advantages and disadvantages. From the authors’ perspective, the most suitable fuel options for the conditions in Kazakhstan are hydrogen and LPG. This is attributed to their high heat of combustion, with hydrogen also having a low ignition temperature. Consequently, hydrogen/LPG mixtures take precedence. In this study, hydrogen was mixed with LPG directly within the combustion zone. Additionally, the impact of the degree of flow swirl in the burner device is considered by changing the vane angle. The primary objective of this study is to determine flame stabilization and the concentration of harmful substances, all of which depend on geometric parameters, particularly the installation angle of the vanes and the proportion of hydrogen in the fuel.
2. Materials and Methods
The experimental research methodology is illustrated in Figure 1. The consumption of LPG, hydrogen, and air is presented in Table 1.
Figure 1.
Experimental research methodology.
Table 1.
Linear dimensions of burner device.
Figure 2 depicts a diagram of the burner device. The burner comprises internal vanes, a tapering channel, a fuel supply tube with holes, openings for hydrogen supply, and an outer ring of blades. During the experiment, the vanes were positioned at 30°, 40°, and 60° relative to the burner axis.
Figure 2.
Burner device.
According to previous studies, the most optimal inner vanes angle is 45° [35]. For the study, three vane angles were taken, which varied along the burner axis.
The volume fraction of hydrogen (γ) for the base case is 0%. The hydrogen fraction was taken by volume as the ratio of the volume of hydrogen entering the combustion zone to the sum of the volumes of hydrogen and LPG. Calculations were made according to Formula (2). During the study, the LPG consumption was constant and equal to 0.0105 m3/s. The equivalence ratio changed due to changes in airflow. The hydrogen fraction varied in the range of 0–0.0036 m3/s.
The range from 0.3 to 1.0 was adopted as the basic equivalence ratio. The equivalence ratio was calculated for the base case using Formula (1), where «fuel/air» is the actual ratio of fuel and air consumption, and «(fuel/air)(stoich.)» is the theoretical ratio of fuel and air consumption. The coefficient 15.8 was adopted as the stoichiometric fuel/air ratio for LPG.
The linear dimensions of the burner device are provided in Table 1. LPG was supplied through 6 holes with a diameter of 2 mm. The holes are arranged radially around the fuel supply tube. Hydrogen was supplied through 12 holes with a diameter of 1.5 mm located in front of the vanes at a distance of 10 mm. Hydrogen was supplied through a tube with a diameter of 9 mm. The hydrogen was in a cylinder with a volume of 40 L. A needle valve was used to regulate the hydrogen flow. Hydrogen consumption was measured with a flow meter.
Fourteen vanes, 20 mm high, were installed at the burner inlet. At the burner outlet, there are 12 vanes 40 mm high.
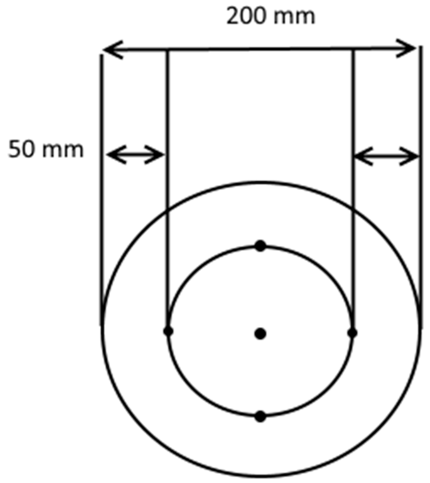
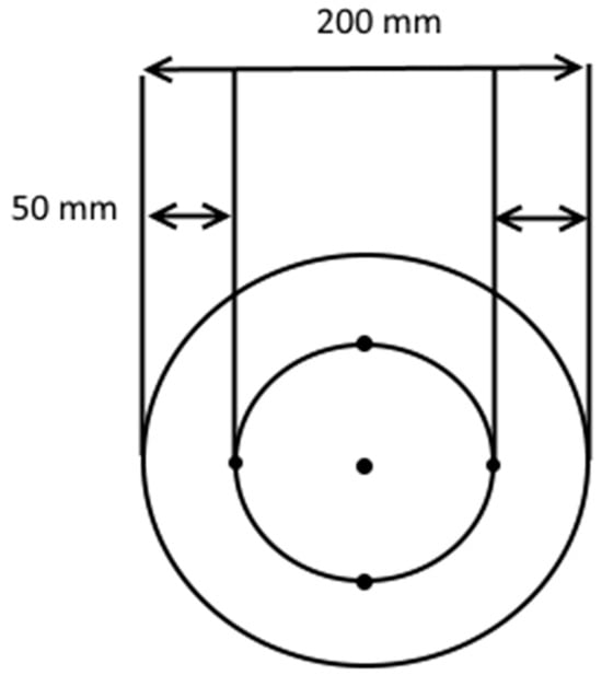
The fire chamber, designed for studying the operation of gas burners, simulates the functioning of a combustion chamber. Exhaust gases were measured at a distance of 5 cm from the outlet of the experimental setup. To determine the average values, measurements were carried out at 5 points: 4 points along the radius and one point in the center. The measurement scheme is shown in Figure 3.
Figure 3.
Measurement points of exhaust gases.
Table 2 presents the main experimental conditions. To measure NOx and CO, the following steps were taken:
Table 2.
Experimental conditions.
- The compressor speed was set.
- LPG was supplied through the fuel supply pipe.
- After ignition, hydrogen was supplied.
- After achieving a steady state, flue gas measurements were taken.
To analyze flame stabilization, the following steps were followed:
- The speed was set.
- Fuel was supplied.
- Hydrogen was supplied.
- After achieving a steady state, fuel consumption was gradually reduced in increments of 0.1 kg/hour. Hydrogen consumption decreased proportionally.
To calculate the equivalence ratio, the following formula was used (1):
Hydrogen fraction was calculated by Formula (2) [36]:
Swirl number was calculated by formula:
Swirl number was calculated by formula:
Table 3 presents the primary equipment used in the research. The list of main equipment includes a compressor, gas analyzer, anemometer, and several other elements. The table also displays the key error margins of the equipment.
Table 3.
Equipment and error margin.
3. Results
As a result of the research, the authors analyzed the stabilization characteristics of the burner device, as well as the emissions of harmful substances in the exhaust gases. These analyses were dependent on the swirl angle of the flow, the proportion of hydrogen, and the equivalence ratio. The results of the study of flame stabilization when adding hydrogen and changing the angle are presented in Figure 4. The y-axis depicts the equivalence ratio where lean blow-off occurs. The x-axis depicts hydrogen fraction γ.
Figure 4.
Dependence of flame stabilization on the vane angle and fraction of hydrogen.
As shown in the figure, at an angle of 30°, the addition of hydrogen with changing air velocity leads to a decrease of φLBO. This dependence is nearly linear. This phenomenon can be explained by the fact that a weak twist angle leads to the formation of twisted vortices in the near-wall region. Another contributing factor to the slight decrease in stabilization is the combustion rate. As the proportion of hydrogen increases, the combustion rate significantly rises, a finding supported by the authors in [23]. Additionally, it was observed that an increase in velocity results in greater centrifugal forces and the appearance of a central core in the flame. However, due to the increased combustion rate and fuel flow, this ultimately leads to a decrease in stabilization characteristics. As the angle increases to 45°, the stabilization characteristics noticeably improve. Previous studies in the field of burner devices with variable blade positions [35] have shown that, from the perspective of flame stabilization and the generation of toxic substances, an angle of 45° is the most optimal. This effect occurs because, at this specific angle, the most effective recirculation zone is created, primarily in the central part of the burner. The new fuel-air mixture enters this zone and is sufficiently heated by the gases, which remain there for an extended period. Increasing the twist angle further enhances flame stabilization; at an angle of 60°, flame stabilization improves even more. This leads to the development of a well-defined recirculation zone in which gases remain for an extended duration, resulting in increased stabilization. However, it is important to note that the time gases spend in the high-temperature zone is a primary source of thermal nitrogen oxides [37]. In general, the experiments conducted align well with previous research and the findings of other authors. The higher reactivity of the fuel positively impacts only the equivalence ratio values. It should also be noted that an increase in the proportion of hydrogen in the flame leads to increased flame stabilization. Maximum stabilization is achieved at a velocity of 5 m/s with an angle of 60° and a hydrogen fraction of 40%, resulting in φLBO = 0.9. Compared to the basic mode, this represents an 8.0% improvement in stabilization due to the significant presence of hydrogen. On the other hand, minimum stabilization occurs at an angle of 30° with a minimal addition of hydrogen at 10%. Under these conditions, stabilization is 5.7% higher than in the basic mode. As the velocity increases up to 10 m/s, the difference between the maximum and minimum stabilization values is observed at angles of 60° and 30°, respectively. These findings hold true for a velocity of 15 m/s as well.
The baseline conditions are represented with γ = 0%. Compared to this base mode, flame stabilization increases significantly. Across all angles, the stabilization range at all speeds does not exceed φLBO = 0.03–1.8. Increasing the proportion of hydrogen leads to significant stabilization. At the maximum hydrogen fraction, stabilization increases by 3.5 to 4 times for all variations.
Figure 5 illustrates the relationship between lean blow-off and the angle at a constant hydrogen fraction value. An increase in velocity leads to a decrease in flame stabilization characteristics, particularly noticeable at a 30° angle. This can be attributed to the underdeveloped recirculation zone’s inability to sustain a high-temperature flame due to the small proportion of fuel and a large proportion of air, which cools the gases. As the vame angle increases, stabilization characteristics improve. Notably, the difference between the angles of 30° and 45° is much more significant than between the angles of 45° and 60°. This disparity occurs because a smaller angle lacks the necessary “anchor” to maintain the mixture in a specific zone and at a certain temperature at higher speeds. For an angle of 45° and the same values of the hydrogen fraction, the equivalence ratios are as follows: 30° − φLBO = 0.39, 45° − φLBO = 0.41, 60° − φLBO = 0.47. For comparison, baseline conditions have been presented, where the hydrogen fraction is set to 0%. Flame stabilization with 30% hydrogen fraction is significantly higher than that without it. With a hydrogen fraction of 0%, at maximum air velocity, the flame lean blow-off occurs at values of φLBO = 0.03–0.07 for various vane angles.
Figure 5.
Lean blow-off dependence from vane angle at a constant hydrogen fraction value.
3.1. NOx and CO Concentrations
Figure 6 depicts the relationship between the concentrations of nitrogen oxides and both the angle and the proportion of hydrogen in the fuel-air mixture. Currently, the formation of NOx depends on four known mechanisms: Zeldovich, prompt, NNH mechanism, and N2O [38]. It is established that in the combustion zone, NOx is primarily formed due to the prompt and N2O mechanisms. Subsequently, in the post-flame zone, approximately 90% of NOx is generated due to thermal nitrogen. This study did not delve into the specific impact of each mechanism. Nevertheless, it is evident that as the proportion of hydrogen increases, the concentration of nitrogen oxides rises across all vane angle variations. In the case of the 30° angle option, it is noticeable that at φ = 1.0, there is a significant increase in NOx concentration. This is attributed to the fact that at this equivalence ratio or close to it, the maximum flame temperature is reached. As the proportion of hydrogen in the fuel-air mixture increases, the contribution of the NNH mechanism responsible for NOx generation also increases [38]:
Figure 6.
Dependence of NOx emissions from vane angle and fraction of hydrogen.
As the angle increases to 45°, the recirculation zone formed along the torch axis also increases in size. This results in an extended residence time of gases in the high-temperature zone. These findings align with the obtained flame stabilization dependencies. A larger recirculation zone leads to the creation of a high-temperature recirculation zone where fuel and burnt gases mix more extensively. The expansion of this zone leads to a prolonged presence of gases in the high-temperature region. It is worth noting that the formation of thermal NOx is influenced by both temperature and the duration of time spent in a high-temperature zone [37].
However, it is important to consider that in the post-flame region, as the proportion of hydrogen increases, the concentration of O free radicals decreases slightly [38]. This leads to a minor reduction in the formation of thermal nitrogen oxides and an increased contribution from the N2O mechanism. Nonetheless, an increase in the equivalence ratio leads to a rise in the proportion of thermal NOx and the N2O mechanism. Therefore, for all angle options, the highest NOx concentrations are associated with φ = 1.0.
Similar characteristics are observed for the 60° angle. In comparison to the 30° and 45° angles, NOx concentrations across the entire range are, on average, 65% and 31% higher, respectively. This increase in NOx concentration is attributed to the enlarged recirculation zone, which maintains a high temperature due to the continuous inflow of new mixture and the recirculation of hot gases. The concentration of nitrogen oxides also rises due to the extended residence time of gases in the high-temperature zone.
The baseline conditions are represented with γ = 0%. Compared to the base mode, where the hydrogen fraction is 0%, NOx emissions have significantly lower concentrations. At an angle of 45°, NOx concentrations range from 11 to 19 ppm. An increase in the hydrogen fraction to 40% leads to an increase in concentrations to 22 to 40 ppm.
Figure 7 illustrates the relationship between the concentrations of nitrogen oxides at a constant hydrogen fraction of 30%, the equivalence ratio, and the vane angle. In essence, this graph highlights the impact of swirl on NOx concentration. If we disregard the proportion of nitrogen introduced with the fuel combustion, then the variation in concentrations—i.e., the dependence on the vane angle—ranges from 25% to 35%. This observation indirectly suggests that altering the vane angle increases stabilization and concurrently raises the nitrogen oxide concentration by approximately 25% to 40%. When compared with baseline conditions, an increase in the equivalence ratio leads to an increase in NOx concentration. Compared to the γ = 30% option, the NOx concentration is lower. For example, at an angle of 45° and an equivalence ratio of 1.0, the concentration is 12 ppm. When hydrogen is added, this value is 27 ppm.
Figure 7.
Dependence of NOx emissions from a vane angle.
Figure 8 illustrates the dependencies of CO concentrations on both the blade angle and the proportion of hydrogen in the fuel-air mixture. The data presented indicate that, across all options, the percentage of CO decreases. It is important to note the reasons for CO formation: (1) a rapid temperature drop, causing CO to “freeze”; and (2) a reduction in the concentration of oxygen and its radicals in the combustion area for complete oxidation. These fundamental mechanisms are responsible for carbon monoxide formation.
Figure 8.
Dependence of CO emissions from vane angle and fraction of hydrogen.
At a 30° angle, there is a noticeable reduction in CO concentration as the proportion of hydrogen increases. This relationship appears to be nearly linear. For instance, with a hydrogen fraction of 30%, CO concentration is 233 ppm at φ = 1.0, 212 ppm at φ = 0.5, and 180 ppm at φ = 0.3. In general, the difference between these values is approximately 8–10%. The primary reason for the decrease in CO, aside from the higher hydrogen content, is the decrease in φ, leading to a higher proportion of air. This results in excess of the oxidizing agent and oxygen-free radicals in the combustion area, allowing CO to be completely oxidized.
At a 45° angle, the dependence is more pronounced, with a more significant decrease as hydrogen content increases. This can be attributed to more efficient fuel-air mixing coupled with the addition of hydrogen. As previously mentioned, a 45° angle facilitates a more developed recirculation zone where combustion products (with oxygen concentrations of 14–16%) and fresh fuel with hydrogen are mixed. These conditions ensure a sufficient oxygen surplus in the combustion zone for complete combustion, i.e., the complete oxidation of CO to CO2. With 30% hydrogen concentration, CO concentration at φ = 1.0, φ = 0.5, and φ = 0.3 is 217 ppm, 189 ppm, and 163 ppm, respectively. The average difference is approximately 12–13%.
At a 60° angle, a significant decrease in concentration is evident for φ = 0.3. This is explained by the fact that, at this equivalence ratio, the oxygen concentration in the recirculation zone reaches its maximum. Analysis in [36] demonstrates that increasing the proportion of hydrogen to 50% compared to the absence of hydrogen leads to a 30% decrease in CO concentration. In our specific case, with φ = 0.3 and a 60° vane angle, the reduction in CO concentration was 28.5%. Overall, it is important to note that an increase in the proportion of hydrogen promotes the formation of more radical OH, which, in turn, enhances the oxidation of CO [38].
At γ = 0%, the CO concentration is 294 ppm at a 45° angle. When γ = 30% of hydrogen is added, the CO concentration drops to 217 ppm. The addition of hydrogen leads to an increase in temperature and ensures combustion of the fuel, which reduces the concentration of CO in the exhaust gases.
For a more in-depth analysis of the influence of the blade angle and equivalence ratio, Figure 9 illustrates the relationship between CO concentration, vane angle, and φ, with a constant hydrogen fraction. This figure reveals a general linear dependence of CO concentration on the equivalence ratio. This behavior can be attributed to the fact that the presence of free oxygen radicals in the combustion zone is the most crucial factor for CO formation in any combustion process. An increase in the equivalence ratio signifies a higher proportion of fuel in the combustion zone, which in turn reduces the presence of free oxygen radicals due to the oxidation of individual fuel elements. It is worth noting that CO concentration is also influenced by the degree of mixing. Greater fuel-oxidizer mixing, in our case with air, results in lower CO concentration. This is because improved mixing enhances the likelihood of encounters between CO and oxygen radicals, which are essential for combustion.
Figure 9.
Dependence of CO emissions from a vane angle.
For comparison, baseline conditions have been included. As shown in the figure, the presence of hydrogen significantly reduces the concentration of CO in the flue gases. At a 45° angle without hydrogen, the CO concentration for φ = 1.0 is 294 ppm. With the addition of hydrogen at a similar angle, the CO concentration decreases to 217 ppm. In general, it is evident that increasing the equivalence ratio in all cases results in a higher CO concentration due to the increased amount of fuel.
3.2. Flame Shape
Figure 10 shows the flame shape behind the blades at various vane angles. The shape and color of the flame are similar to the results obtained in [24]. The photographs were taken at φ = 1.0 and γ = 10%. As can be seen from the figure, the flame has 12 divided parts, which corresponds to the number of vanes at the exit. The flame is blue and evenly distributed throughout the combustion zone. As is known, the color of the flame is determined by the stoichiometric ratio. For example, an increase in the proportion of fuel leads to the appearance of “yellow” spots, indicating a high temperature and some underburning of the fuel. In this case, this is especially noticeable at small vane angles of 30–45°. It was not possible to photograph the torch along the axis due to the design features of the burner apparatus. Increasing the vane angle to 60° leads to the appearance of a yellow high-temperature zone with a relative diameter of 52 mm. This bright zone confirms the results obtained for CO and NOx concentrations. In this zone, a high-temperature recirculation zone is formed, which leads to high flame stabilization due to the constant ignition of the mixture, even at high speeds. On the other hand, the recirculation zone leads to a longer residence time of gases in this zone, which leads to an increase in NOx. On the third hand, high temperature and long residence time of gases in this zone leads to a complete combustion reaction, i.e., oxidation of CO to CO2, which reduces CO concentrations.
Figure 10.
Flame shape dependence from a vane angle.
4. Conclusions
The concentrations of NOx and CO and stabilization parameters during the combustion of hydrogen and LPG were studied at various hydrogen concentrations and vane angles. The degree of hydrogen addition was regulated in volume fractions of hydrogen in the total fuel mixture. The fuel enters the combustion zone along with hydrogen after passing the vane. The degree of influence of mixing in the diffusion flame was controlled by changing the position of the blades along the axis of the burner device. In the experiment, the equivalence ratio was varied in the range of 0.3–1.0. The study demonstrated that maximum stabilization, achieved at a speed of 5 m/s, occurs at an angle of 60° with a 40% hydrogen fraction, corresponding to φLBO = 0.9. This configuration enhances stabilization by 8.0% compared to the baseline mode. Conversely, minimum stabilization is observed at a 30° angle with minimal hydrogen addition (10%), resulting in stabilization that is 5.7% higher under these conditions. These trends persist as speed increases, up to 10 m/s, with the maximum and minimum stabilization values being associated with 60° and 30° angles, respectively. Similar results hold true for a speed of 15 m/s.
Increasing the vane angle and increasing hydrogen fraction leads to a decrease in CO concentrations in the exhaust gases. From the point of view of the vane angle, an increase in the angle leads to the formation of a developed recirculation zone, where high temperature and sufficient oxygen lead to the oxidation of CO to CO2. An increase in the hydrogen fraction leads to an increase in the proportion of oxygen due to OH radicals, as well as to an increase in the flame temperature due to high LHV. This leads to a decrease in the fraction of CO in the exhaust gases. In our case, for the option φ = 0.3 and vane angles of 60°, the reduction in CO concentration was 28.5%.
As is known, the main sources of the formation of thermal NO are the residence time of gases in a high-temperature zone and the temperature itself. An increase in the vane angles leads to the formation of a developed recirculation zone, in which gases are retained longer, and accordingly, the temperature in this zone increases. The sum of these factors leads to an increase in NOx concentration. However, it should be taken into account that in the post-flame, with an increase in hydrogen fraction, the concentration of O free radicals decreases, which leads to a slight decrease in the formation of thermal nitrogen oxides and an increase in the role of the N2O mechanism. However, an increase in the equivalence ratio leads to an increase in the proportion of thermal NOx and the N2O mechanism. Therefore, for all options, the highest NOx concentrations correspond to φ = 1.0.
Author Contributions
Conceptualization, A.M.D.; methodology, D.R.U. and A.A.K.; software, D.R.U. and A.K.Y.; validation, A.M.D. and M.E.T.; formal analysis, M.E.T.; investigation, G.A.K. and M.A.A.; resources, A.M.D.; data curation, A.K.Y.; writing—original draft preparation, D.R.U.; writing—review and editing, D.R.U. and A.A.K.; visualization, D.R.U.; supervision, A.M.D.; project administration, A.M.D.; funding acquisition, A.M.D. All authors have read and agreed to the published version of the manuscript.
Funding
This research has been funded by the Science Committee of the Ministry of Science and Higher Education of the Republic of Kazakhstan (Grant No. AP14872041).
Data Availability Statement
Raw data can be provided by the corresponding and first author (A.M.D and D.R.U.) upon reasonable request.
Conflicts of Interest
The authors declare no conflict of interest.
References
- Liu, F.; Shafique, M.; Luo, X. Literature review on life cycle assessment of transportation alternative fuels. Environ. Technol. Innov. 2023, 306, 103343. [Google Scholar] [CrossRef]
- Ma, X.; Wang, Q.; Xiong, S.; Yuan, Y. Application of fuel cell and alternative fuel for the decarbonization of China’s road freight sector towards carbon neutral. Int. J. Hydrogen Energy 2023, in press. [Google Scholar] [CrossRef]
- Alabaş, H.A.; Bilge Çeper, A. Effect of oxygen enrichment on the combustion characteristic and pollutant emissions of kerosene-biogas mixtures on a mini jet engine combustion chamber. J. Energy Inst. 2023, 111, 101420. [Google Scholar] [CrossRef]
- Jiao, J.; Yungang, W.; Yufei, L.; Xingbang, Z.; Qinxin, Z. Study on combustion characteristics of fully premixed water-cooled biogas burner. Case Stud. Therm. Eng. 2023, 52, 103669. [Google Scholar] [CrossRef]
- Kuang, Y.; Han, D.; Xu, Z.; Wang, Y.; Wang, C. Numerical study on combustion characteristics of ammonia mixture under different combustion modes. Int. J. Hydrogen Energy 2024, 54, 1403–1409. [Google Scholar] [CrossRef]
- Mofijur, M.; Ahmed, S.F.; Ahmed, B.; Mehnaz, T.; Mehejabin, F.; Shome, S.; Almomani, F.; Chowdhury, A.A.; Kalam, M.A.; Badruddin, I.A.; et al. Impact of nanoparticle-based fuel additives on biodiesel combustion: An analysis of fuel properties, engine performance, emissions, and combustion characteristics. Energy Convers. Manag. 2023, X, 100515. [Google Scholar] [CrossRef]
- Munoz-Herrera, C.; Hernández, C.; Rojas, P.; Bernal, L.; Monzó, C.; Cartagena, R.; Ripoll, N.; Toledo, M. Experimental investigation of the co-combustion of LPG-hydrogen blends on LPG-fueled systems. Energy 2023, 284, 129090. [Google Scholar] [CrossRef]
- Pinto, G.M.; de Souza, T.A.Z.; da Costa, R.B.R.; Roque, L.F.A.; Frez, G.V.; Coronado, C.J.R. Combustion, performance and emission analyses of a CI engine operating with renewable diesel fuels (HVO/FARNESANE) under dual-fuel mode through hydrogen port injection. Int. J. Hydrogen Energy 2023, 48, 19713–19732. [Google Scholar] [CrossRef]
- Kozhukhova, A.E.; du Preez, S.P.; Bessarabov, D.G. Development of Pt–Co/Al2O3 bimetallic catalyst and its evaluation in catalytic hydrogen combustion reaction. Int. J. Hydrogen Energy 2024, 51, 1079–1096. [Google Scholar] [CrossRef]
- Ilbas, M.; Guler, N.U.; Sahin, M. Experimental and numerical investigation of biogas distributed combustion with different oxidizers in a swirl stabilized combustor. Fuel 2021, 304, 121452. [Google Scholar] [CrossRef]
- Jung, C.; Park, J.; Song, S. Performance and NOx emissions of a biogas-fueled turbocharged internal combustion engine. Energy 2015, 86, 186–195. [Google Scholar] [CrossRef]
- Kim, Y.; Kawahara, N.; Tsuboi, K.; Tomita, E. Combustion characteristics and NOX emissions of biogas fuels with various CO2 contents in a micro co-generation spark-ignition engine. Appl. Energy 2016, 182, 539–547. [Google Scholar] [CrossRef]
- Okafor, E.C.; Kurata, O.; Yamashita, H.; Inoue, T.; Tsujimura, T.; Iki, N.; Hayakawa, A.; Ito, S.; Uchida, M.; Kobayashi, H. Liquid ammonia spray combustion in two-stage micro gas turbine combustors at 0.25 MPa; Relevance of combustion enhancement to flame stability and NOx control. Appl. Energy Combust. Sci. 2021, 7, 100038. [Google Scholar] [CrossRef]
- Ni, S.; Zhao, D.; You, Y.; Huang, Y.; Wang, B.; Su, Y. NOx emission and energy conversion efficiency studies on ammonia-powered micro-combustor with ring-shaped ribs in fuel-rich combustion. J. Clean. Prod. 2021, 320, 128901. [Google Scholar] [CrossRef]
- Choe, J.; Sun, W.; Ombrello, T.; Carter, C. Plasma assisted ammonia combustion: Simultaneous NOx reduction and flame enhancement. Combust. Flame 2021, 228, 430–432. [Google Scholar] [CrossRef]
- Abdullah, M.; Guiberti, T.F.; Alsulami, R.A. Experimental Assessment on the Coupling Effect of Mixing Length and Methane-Ammonia Blends on Flame Stability and Emissions. Energies 2023, 16, 2955. [Google Scholar] [CrossRef]
- Saluja, R.K.; Kumar, V.; Sham, R. Stability of biodiesel a review. Renew. Sustain. Energy Rev. 2016, 62, 866–881. [Google Scholar] [CrossRef]
- Kim, H.Y.; Ge, J.C.; Choi, N.J. Application of Palm Oil Biodiesel Blends under Idle Operating Conditions in a Common-Rail Direct-Injection Diesel Engine. Appl. Sci. 2018, 8, 2665. [Google Scholar] [CrossRef]
- Mao, G.; Shi, K.; Zhang, C.; Chen, S.; Wang, P. Experimental research on effects of biodiesel fuel combustion flame temperature on NOX formation based on endoscope high-speed photography. J. Energy Inst. 2020, 93, 1399–1410. [Google Scholar] [CrossRef]
- Shen, J.; Li, F.; Li, Z.; Wang, H.; Shen, Y.; Liu, Z. Numerical investigation of air-staged combustion to reduce NOX emissions from biodiesel combustion in industrial furnaces. J. Energy Inst. 2019, 92, 704–716. [Google Scholar] [CrossRef]
- Bao, J.; Qu, P.; Wang, H.; Zhou, C.; Zhang, L.; Shi, C. Implementation of various bowl designs in an HPDI natural gas engine focused on performance and pollutant emissions. Chemosphere 2022, 303, 135275. [Google Scholar] [CrossRef] [PubMed]
- Bao, J.; Wang, H.; Wang, R.; Wang, Q.; Di, L.; Shi, C. Comparative experimental study on macroscopic spray characteristics of various oxygenated diesel fuels. Energy Sci. Eng. 2023, 11, 1579–1588. [Google Scholar] [CrossRef]
- Elbaz, A.M.; Moneib, H.A.; Shebil, K.M.; Roberts, W.L. Low NOX—LPG staged combustion double swirl flames. Renew. Energy 2019, 138, 303–315. [Google Scholar] [CrossRef]
- Kannan, S.; Mahalingam, S.; Srinath, S.; Sivasankaran, M.; Kannan, S. An experimental study in HCCI combustion of LPG in diesel engine. Mater. Today Proc. 2021, 37, 3625–3629. [Google Scholar] [CrossRef]
- Akal, D.; Öztuna, S.; Büyükakın, M.K. A review of hydrogen usage in internal combustion engines (gasoline-Lpg-diesel) from combustion performance aspect. Int. J. Hydrogen Energy 2020, 45, 35257–35268. [Google Scholar] [CrossRef]
- Jemni, M.A.; Kassem, S.H.; Driss, Z.; Abid, M.S. Effects of hydrogen enrichment and injection location on in-cylinder flow characteristics, performance and emissions of gaseous LPG engine. Energy 2018, 150, 92–108. [Google Scholar] [CrossRef]
- Panigrahy, S.; Mishra, N.K.; Mishra, S.C.; Muthukumar, P. Numerical and experimental analyses of LPG (liquefied petroleum gas) combustion in a domestic cooking stove with a porous radiant burner. Energy 2016, 95, 404–414. [Google Scholar] [CrossRef]
- Bohl, T.; Smallbone, A.; Tian, G.; Roskilly, A.P. Particulate number and NOx trade-off comparisons between HVO and mineral diesel in HD applications. Fuel 2018, 215, 90–101. [Google Scholar] [CrossRef]
- Suarez-Bertoa, R.; Kousoulidou, M.; Clairotte, M.; Giechaskiel, B.; Nuottimäki, J.; Sarjovaara, T.; Lonza, L. Impact of HVO blends on modern diesel passenger cars emissions during real world operation. Fuel 2019, 235, 1427–1435. [Google Scholar] [CrossRef]
- Ferrarotti, M.; De Paepe, W.; Parente, A. Reactive structures and NOx emissions of methane/hydrogen mixtures in flameless combustion. Int. J. Hydrogen Energy 2021, 46, 34018–34045. [Google Scholar] [CrossRef]
- Chitragar, P.R.; Shivaprasad, K.V.; Nayak, V.; Bedar, P.; Kumar, G.N. An Experimental Study on Combustion and Emission Analysis of Four Cylinder 4-Stroke Gasoline Engine Using Pure Hydrogen and LPG at Idle Condition. Energy Procedia 2016, 90, 525–534. [Google Scholar] [CrossRef]
- Shi, C.; Chai, S.; Wang, H.; Ji, C.; Ge, Y.; Di, L. An insight into direct water injection applied on the hydrogen-enriched rotary engine. Fuel 2023, 339, 127352. [Google Scholar] [CrossRef]
- Xu, Q.; Shen, M.; Shi, K.; Liu, Z.; Feng, J.; Xiong, Y.; Liu, L.; Wang, J.; Han, J.; Tang, Z.; et al. Influence of jet angle on diffusion combustion characteristics and NOx emissions in a self-reflux burner. Case Stud. Therm. Eng. 2021, 25, 100953. [Google Scholar] [CrossRef]
- Zhou, C.; Wang, Y.; Jin, Q.; Chen, Q.; Zhou, Y. Mechanism analysis on the pulverized coal combustion flame stability and NOx emission in a swirl burner with deep air staging. J. Energy Inst. 2019, 92, 298–310. [Google Scholar] [CrossRef]
- Dostiyarov, A.; Nauryz, B.; Kumargarina, M.; Dostiyarova, A. Experimental study results of the front-end device With two-tier air burner as part of the gas turbine Engine combustion chamber. Therm. Sci. 2023, 27, 3709–3718. [Google Scholar] [CrossRef]
- Zhen, H.S.; Cheung, C.S.; Leung, C.W.; Choy, Y.S. Effects of hydrogen concentration on the emission and heat transfer of a premixed LPG-hydrogen flame. Int. J. Hydrogen Energy 2012, 37, 6097–6105. [Google Scholar] [CrossRef]
- Lefebvre, A. Gas Turbine Combustion; Hemisphere Publishing: London, UK, 1983; 550p. [Google Scholar]
- Sungwoo, P. Hydrogen addition effect on NO formation in methane/air lean-premixed flames at elevated pressure. Int. J. Hydrogen Energy 2021, 46, 25712–25725. [Google Scholar]
Disclaimer/Publisher’s Note: The statements, opinions and data contained in all publications are solely those of the individual author(s) and contributor(s) and not of MDPI and/or the editor(s). MDPI and/or the editor(s) disclaim responsibility for any injury to people or property resulting from any ideas, methods, instructions or products referred to in the content. |
© 2024 by the authors. Licensee MDPI, Basel, Switzerland. This article is an open access article distributed under the terms and conditions of the Creative Commons Attribution (CC BY) license (https://creativecommons.org/licenses/by/4.0/).









