You are currently viewing a new version of our website. To view the old version click .
Journal of Composites Science
  • Article
  • Open Access

21 August 2024

Geometry and Hybridization Effect on the Crashworthiness Performances of Carbon and Flax/Epoxy Composites

,
,
,
,
,
and
1
School of Sciences and Technology, Mathematics Division, University of Camerino, Via Madonna delle Carceri 9, 62032 Camerino, Italy
2
ITW Test and Measurement Italia S.r.l., Instron CEAST Division, Via Airauda 12, 10044 Pianezza, Italy
3
HP Composites SpA, Department of Research & Development, Via del Lampo S.N., Z.Ind.le Campolungo, 63100 Ascoli Piceno, Italy
*
Author to whom correspondence should be addressed.
This article belongs to the Section Fiber Composites

Abstract

Recent pressure on scientists and industries to use renewable resources, as well as the need to produce environmentally friendly materials, has led researchers and manufacturers to use natural fibres as possible reinforcements for their composites. Although they seem to be “ideal” due to their low cost, light weight and interesting energy absorption properties, they cannot be compared to synthetic fibres. To solve this problem, hybridization techniques can be considered, since the combination of synthetic and natural fibres allows for good performances. The aim of this study was to characterize the delamination and in-plane crashworthiness behaviour of carbon, flax and hybrid composites from experimental and numerical points of view. Double Cantilever Beam and Four-Point End Notched Flexure tests were carried out to determine the interlaminar fracture modes. In-plane crashworthiness tests were then performed to investigate the delamination phenomenon and the energy absorption capacity considering two different geometries: flat and corrugated. Numerical models were created and validated on both geometries, comparing the obtained load–displacement curves with the experimental ones. Crush force efficiency and specific energy absorption were quantified to provide a proper comparison of the investigated materials. The good results achieved represent a promising starting point for the design of future and more complex structures.

1. Introduction

The increasing consciousness of environmental diseases, together with the new European regulations for a reduction in gas emissions, led industries to investigate innovative and more sustainable materials. Since the petroleum-derived resources used up to now are harmful to human health and limited in the environment, they need to be gradually or fully replaced by green solutions []. The EU has taken decisive action to tackle climate change by promoting a 31% reduction in greenhouse gas emissions from 1990 levels by 2022. This has been made possible by increasing the use of renewable energy and limiting the consumption of fossil fuels. The next ambitious target is to achieve a reduction of at least 55% by 2030 and climate neutrality by 2050 []. In this context, natural fibres play a pivotal role. They are obtained from plant or animal sources and can be applied in several sectors due to their high availability, low weight, low cost and minimal health hazards. In recent decades, several automotive industries have adopted natural fibre composites (NFCs) in interior components, such as door-trim and noise insulation panels, seat backs, front and rear door coating, and parcel shelves [,]. In addition to the automotive sector, NFCs are also used in construction, sports, shipping and packaging [,]. Despite some of the advantages mentioned above, these fibres are not free from problems: their mechanical properties are difficult to predict as they are very sensitive to environmental conditions, fibre harvesting and extraction processes, fibre shape and chemical composition []. Moreover, they are characterized by poor thermal stability and a tendency to absorb moisture, which leads to reduced adhesion to other fibres or the matrix. This makes the production of composites time consuming and their hydrophilic nature may cause clumping during the manufacturing process [,]. To overcome all these issues and to preserve the mechanical performances that only synthetic materials are actually able to guarantee, hybrid composites have been developed. They are obtained by incorporating two or more different reinforcements in order to reduce the defects of each fibre type and maintain their benefits at the same time. The result is the creation of new materials whose properties cannot be achieved in composites containing only one reinforcement []. Several studies [,,,,,] have been focused on investigation into the mechanical and thermal properties of hybrid solutions obtained by blending synthetic and natural fibres. In particular, the literature discusses the combination of carbon and basalt fibres as external layers, with natural ones like flax [], areca [] and bamboo [] as cores. In all these works, the mechanical and Izod impact properties of hybrid solutions were compared with those obtained using purely natural reinforcements and the results revealed that hybridization led to better performances. However, hybridization does not refer only to the combination of synthetic and natural reinforcements, but also to the presence of different types of vegetable fibres in the same composite. As a reference, the work by Sisodia et al. [] can be mentioned, where flax/epoxy and hybrid flax–hemp/epoxy composite laminates were investigated through tensile and bending tests. Comparing the results, in both cases, an increment in the strength and modulus was observed for the hybrid solution, due to an improved adhesion given by the combination of different fibre types. This aspect was also confirmed in [], where three different hybrid configurations obtained from flax, hemp and jute/epoxy were manufactured by the hand lay-up technique and then analysed through tensile, bending and impact tests. All these results indicate that finding the best hybrid configuration for a specific purpose is the main challenge for researchers and industries. Therefore, the outcomes from the literature need to be extended by new experimental and numerical analyses that include hybrid solutions. In particular, in addition to the abovementioned experimental tests, crashworthiness deserves attention as it allows the analysis of the ability of a material to withstand a crash and the evaluation of its possible use in structural applications. The present work fits well into this context, as the aim is to investigate the in-plane crashworthiness behaviour of carbon, flax and two hybrid solutions consisting of a combination of these fibres. The four configurations are all embedded in the same toughened epoxy resin. In addition to choosing the best hybrid combination, many other aspects such as geometry, fibre type and orientation must be considered []. Here, the focus is on investigating the energy absorption properties and failure modes of two different geometries: flat and corrugated, under dynamic conditions. The flat shape is initially chosen due to its easy manufacturing, although it requires a fixture that could influence the crushing behaviour. As concerns the corrugated samples, they are selected since they are stable and do not require any additional support []. Moreover, they allow for the analysis of composites’ behaviour in the presence of curvature, which is fundamental to the investigation of more complex structures like bumpers or crashboxes. Since it is in the authors’ interest to provide a complete investigation and identify the best solution in terms of CFE and SEA, the in-plane crashworthiness behaviour is analysed for the following material configurations: flax/epoxy, carbon/epoxy and two hybrid solutions. Three different orientations, [ 0 ] 8 , [ 90 ] 8 and quasi-isotropic (ISO) [ 0 3 /+45/−45/90/ 0 2 ], are considered to understand whether the use of different layer directions could improve the performances. The investigation of all these solutions is the strong point of this work since a complete comparison is provided and the importance of hybridization is evidenced.
The paper is organized as follows: a detailed description of the involved materials and experimental tests is provided in Section 2. Section 3 describes the finite element (FE) models created to reproduce the experimental trends and solved through LS-DYNA []. Finally, in Section 4, the experimental and numerical results are compared and discussed in terms of the load–displacement plot, CFE, SEA and fracture phenomenon.

2. Experimental Tests

All the laminates involved in this study consist of eight layers. They were manufactured by HP Composites S.p.A. using a PrePreg composed of a toughened epoxy resin and two different woven fabric reinforcements, namely carbon (balanced Twill 2 × 2, 384 gsm, RC = 38%) and flax (balanced Twill 2 × 2, 350 gsm, RC = 52%). Both configurations were cured in autoclave, under a vacuum bag, at 135 °C and 6 bar for 90 min, with an initial heating ramp (rate of 3 °C/min) and a final cooling ramp (rate of 4 °C/min) to ensure uniform temperature distribution and avoid deformation of the samples.
The mechanical properties determined by tensile and compression tests for carbon and flax/epoxy laminates are listed in Table 1 and Table 2. In addition to the mechanical characterization, Double Cantilever Beam (DCB) and Four-Point End Notched Flexure (4ENF) tests are carried out on the same materials to evaluate the properties of the epoxy resin. Finally, dynamic in-plane crashworthiness tests are performed on both the already discussed single materials and the following two hybrid configurations. The first one, denoted with CFC, consists of 4 carbon layers as the outer skins and 4 flax layers as the core—i.e., C2F4C2; the second one is obtained by reversing carbon and flax in the stacking sequence—i.e., F2C4F2, and is referred to as FCF.
Table 1. Experimental tensile properties of carbon and flax/epoxy laminates. E: Young modulus; G: shear modulus; σ u : ultimate tensile strength; τ u : ultimate shear strength.
Table 2. Experimental compression properties of carbon and flax/epoxy laminates. E C : Young compressive modulus; σ u , C : ultimate compressive strength.

2.1. Double Cantilever Beam (DCB)

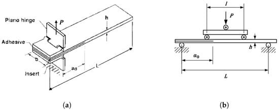
DCB tests are carried out to compute the Mode I interlaminar fracture toughness ( G I c ) in accordance with ASTM D5528-94a []. The test specimens are rectangular (180 mm × 20 mm) and have a thickness of 3.70 and 5.18 mm for carbon and flax, respectively. As required by the standard, the specimens are pre-cracked. This opening is wide as the sample and has a length a 0 of 15 mm (see Figure 1a). In the test method, hinges are glued to the ends of the specimen to ensure the grip with the testing machine. The load is applied perpendicular to the crack plane so that the two edges of the sample move apart and the original crack propagates. The test speed is equal to 5 mm/min. To achieve good testing repeatability, five samples for each material are tested.
Figure 1. Experimental scheme for (a) DCB and (b) 4ENF tests [].
Once the test has been performed, the Modified Compliance Calibration (MCC) method is applied to determine the G I c value. The first step of this technique consists of generating a least squares plot of the delamination length normalized by the specimen thickness, a / h , as a function of the cube root of compliance C 1 / 3 . The slope of this line is called A 1 . Therefore, the G I c value is computed as follows:
G I c = 3 P 2 C 2 / 3 2 A 1 b h
where P is the load, C is the compliance, and b and h are the specimen’s width and thickness, respectively. For carbon and flax, the following G I c values are obtained: 2108.6 and 2000.8 J/m2.

2.2. Four-Point End Notched Flexure (4ENF)

Similarly to the previous test, 4ENF is performed to evaluate the Mode II interlaminar fracture toughness ( G I I c ), according to ASTM D7905 []. This is basically a 4-point bending test, with the pre-cracked sample, as in the case of DCB. The test scheme is illustrated in Figure 1b: in particular, the specimens are rectangular (125 mm × 20 mm) with a thickness of 3.21 and 5.16 mm for carbon and flax, respectively. The instrument required for the test consists of loading and support cylinders: the span between the lower support—called support span and denoted as L—is equal to 60 mm, and the span between the upper cylinders—called load span, l—is equal to 30 mm. The load, P, should be equally distributed between the two loading cylinders; therefore, the cylinder on which the force is applied (see Figure 1b) should be centred between the loading and the support cylinders []. A test speed of 0.5 mm/min and an initial crack length a 0 of almost 25 mm are considered. Also in this case, five samples are tested for each material. At the end of the test, the G I I c values are computed as follows:
G I I c = 3 m P m a x 2 a P C 2 2 b
where m is the compliance calibration (CC) coefficient—i.e., the slope of the linear fit of compliance versus crack length cubed data [,], P m a x is the maximum force, a P C 2 is the crack length and b is the specimen width. For carbon and flax, the following G I I c values are obtained: 1810.7 and 1794.0 J/m2.

2.3. In-Plane Crashworthiness

Dynamic in-plane crashworthiness tests are carried out using the 9450 Instron drop tower to evaluate the crush energy absorption capabilities of carbon, flax, FCF and CFC samples. The following orientations are investigated: [ 0 ] 8 , [ 90 ] 8 and ISO [ 0 3 /+45/−45/90/ 0 2 ]. Two different geometries are analysed: flat (rectangular) and corrugated (S-shape).
In the first case, the considered specimens are rectangular plates (100 mm × 150 mm), with one of the shorter sides having a sawtooth-shaped release feature (called trigger), as shown in Figure 2a. In addition, an initial crack of 10 mm on the same side of the trigger helps to initiate delamination in the correct portion of the sample, avoiding undesirable failure modes such as tearing or buckling. It is important to note that there is still no recognized standard for this type of test; for this reason, the anti-buckling fixture presented by Vigna in [] (see Figure 2b) is used for this experimental campaign. This consists of three bronze columns on each side: the lateral columns are shorter to avoid resistance when the impactor falls. The central columns, on the other hand, are divided into two parts: a fixed part at the bottom and a sliding part at the top pushed down by the impactor during the test. All these columns leave a constant unsupported height of 7.5 mm in the lower part of the sample, where failure occurs, to avoid over-constraining and to leave enough space to remove debris and foils during failure [,]. The specimen must be placed with the sawtooth in the lower part to help failure initiation in the unsupported area. The load is transferred to the plate through a flat circular impactor of 70 mm diameter which hits the upper part of the specimen. A strain-gauge instrumented striker is used to measure the load acting on the specimen during the dynamic impact test and it is sampled with a frequency of 1 MHz. The impact mass is 22.75 kg, the initial velocity is 5.14 m/s and the impact energy is 300 J.
Figure 2. (a) Geometry of the flat specimens used for the in-plane crashworthiness tests, with detailed dimensions. (b) Anti-buckling fixture for compression crash testing of flat plates under dynamic impact conditions [].
The other geometry, first proposed by Feraboli [], is investigated since it has been demonstrated that it exhibits energy performances close to those obtained testing tubular structures []. This half-circle shape was manufactured considering a two-part tool. Although these samples are more complex to be realized, they do not require any specific texting fixture. Specimens with cross-section in Figure 3a were produced considering the same stacking sequences used for the flat shape. In this case, the laminates are 75 mm high and 50.8 mm wide. The only exception is represented by CFC samples: they have a height of 50 mm, due to a production process error. Differently from the flat case, only a clamping device of 13 mm is used to fix the sample during the test. The impactor becomes directly in contact with the upper part of the specimen, where failure takes place (see Figure 3b). The force is acquired through the same drop-tower instruments used for the other geometry, but a mass of 37.75 kg is used to reach an energy of 500 J, maintaining the test velocity constant (5.14 m/s). To obtain reliable results, six samples are tested for each configuration. However, instability phenomena are very common, especially for flat geometry: for this reason, in some cases, a lower number of experimental curves are shown in the images displayed in Section 4.
Figure 3. (a) Geometry of the corrugated specimens used for the in-plane crashworthiness tests, with detailed dimensions. (b) Testing fixture for corrugated plates under dynamic impact conditions [].

3. Numerical Modelling

The finite element models for all the tests described above are created using Altair Hypermesh software and then explicitly run using the LS-DYNA solver []. The only exception is the 4ENF test, for which numerical modelling is not discussed as it is not the focus of this paper. On the contrary, its experimental treatment is necessary to determine the values required by the models.
The approach used in this study consists of a hybrid mesh of shell and solid cohesive elements: the first is used to model the materials and the latter to reproduce the resin behaviour and, consequently, the overall delamination phenomenon, as suggested in [,]. According to the thickness of the available samples, each modelled ply is 0.42 and 0.62 mm thick for carbon and flax, respectively. The most commonly used material model for composites is MAT54/55 (MAT_ENHANCED_COMPOSITE_DAMAGE), which is designed to represent the brittle behaviour of unidirectional materials. Since, in this case, woven fabrics are analysed, the 2WAY flag must be activated in the card to correctly reproduce the two-way fibre behaviour. The Chang-Chang failure criterion handles the elements, as suggested in [,]. As previously mentioned, cohesive elements are adopted in all the models instead of tie-break contacts, since in this way better results can be achieved without affecting simulation times. MAT138 (MAT_COHESIVE_MIXED_MODE) is the associated material card, which requires the G I c and G I I c values to be experimentally determined. In the same order as the tests are presented in Section 2, a more detailed description of each numerical model is given below.
  • Double Cantilever Beam (DCB)
The numerical model for the DCB test (see Figure 4) is created considering the real specimen’s dimensions. It consists of two composite shell layers (PART_COMPOSITES) each of which have four integration points through the thickness, in order to reproduce the eight layers of the real samples. Fully integrated shell element formulation (ELFORM = 16) is used for the laminate. To connect these two parts, a layer of solid elements is created to reproduce the cohesive material. In this case, ELFORM = 20 is selected, according to the LS-DYNA user’s guide []. Moreover, to re-create the same conditions as the physical test, the two steel hinges are modelled using solid elements with a mesh size of 2 mm, taking into account their real dimensions: 15 mm × 20 mm × 1 mm. The MAT001 (MAT_ELASTIC) material model is used for these components, to which the steel properties are assigned. As boundary conditions, an interlocking constraint is imposed to the lower hinge and a prescribed motion along the z-axis direction is set to the upper hinge. The test velocity—which is equal to 5 mm/min—has been incremented to reduce simulation times, using a scale factor SF = 1 × 10 4 . This model is able to reproduce the progressive crack opening by gradual elimination of the failed cohesive elements at the interface. A detailed discussion on the parameters used in the numerical model will be discussed in Section 4.
Figure 4. FE numerical model of DCB test.
  • In-plane Crashworthiness—Flat shape
To simulate the splaying phenomenon on the flat samples, a similar approach is adopted. In this case, the model consists of four shell layers with two integration points through the thickness, and cohesive layers between each of them. As previously, ELFORM = 16 is chosen. The impactor is modelled as a rigid steel body, using the MAT020 (MAT_RIGID) material card. This solution helps to avoid non-realistic failures in the upper part of the specimen, which did not occur during the tests. The mass and the velocity are assigned to the central node of the impactor, and they correspond to those of the real test. The anti-buckling columns are modelled using the rigid material (MAT020), and the lower crash plate—i.e., the surface against which the test specimen fails—is modelled as a rigid wall. A CONTACT_AUTOMATIC_SINGLE_SURFACE is imposed to reproduce the contacts between the specimen, the anti-buckling columns and the impactor. In this case, a dynamic friction coefficient of 0.06 is used, as suggested by the experiments performed by Vigna in []. Considering that the static coefficient is generally double the dynamic one, a value of 0.12 is chosen. Since the test specimens have an initial crack of 10 mm, the cohesive elements in the trigger portion—i.e., those between the second and the third layers—are not present. This allows reproducing the opening, as it can be seen from Figure 5. As regards the shape of the mesh, a deep analysis is performed: the first case considers a quad mesh with elements of 1.5 mm per side. The corresponding image is shown in Figure 5a. A mesh of perfectly square elements provides a very irregular force signal (see Figure 6a) since rows of elements covering the entire width of the specimen are progressively deleted. To overcome this issue, elements with a waved architecture are considered, as shown in Figure 5b. In particular, the same mesh size as before is used. Finally, the size of the mesh also needs to be investigated: therefore, a model with a wavy finer mesh of 1 mm in the lower part is considered (see Figure 5c). Comparing the results in Figure 6b, it can be noticed that the homogeneous mesh generates some irregular force peaks in the first part and, then, a significant drop. This trend indicates that the elements are too large and lead to the premature elimination of an important portion of the sample. Conversely, the use of a finer mesh in the bottom part—i.e., the one of interest in failure—reveals more realistic results. For this reason, all the analyses are performed based on this latter configuration.
Figure 5. FEM of flat samples, with a close-up view of the trigger part: (a) 1.5 mm quad mesh, (b) 1.5 mm wavy mesh and (c) 1.5/1 mm wavy mesh.
Figure 6. Load–displacement trend comparison between (a) mesh geometries and (b) mesh sizes for flat carbon samples oriented at 0°.
  • In-plane Crashworthiness—Feraboli shape
The same approach has been applied in the creation of the numerical model for the Feraboli geometry. Both the sample and the impactor are modelled using the same characteristics as before. However, in this case, the mass assigned to the central node is higher, as higher energy values are reached. As described in Section 2.3, the corrugated shape samples do not require any specific fixture to be tested: so, an interlocking constraint is prescribed as a total height of 13 mm, in order to replicate the same fixing conditions as in the experiments. To faithfully reproduce the experimental scheme in Figure 3a, a 45° chamfer on the top of the specimen is created, as shown in Figure 7. Differently from the previous geometry, no evident force peaks or load drops are reported, so only a quad mesh of 1 mm per side is analysed. The material parameters used in this model are the same as in the previous case, and they will be discussed in Section 4 along with the comparison between the numerical and experimental results.
Figure 7. FE model of Feraboli specimen with a close-up view of the 45° chamfer.

4. Results and Discussion

Following the same order as the previous sections, the numerical results are here discussed. The load–displacement curves and the damage mechanisms are compared to those obtained from the experiments. Particular attention is paid to the evaluation of CFE and SEA in the case of the in-plane crashworthiness tests.
  • DCB
The first model to be validated is DCB since it allows the determination of the parameters required by the MAT138 material card for modelling the cohesive elements. These are reported in Table 3. Except for G I c and G I I c which are experimentally determined, the other parameters are tuned by trial and error, and the omitted parameters are default values. In particular, the value assigned to density is symbolic, as the materials at our disposal are PrePregs and, therefore, the reinforcement fabrics are already embedded in the toughened epoxy resin. Since the resin system is the same for all the analysed materials, the model is validated only on carbon laminates. Figure 8 shows the comparison between the experimental load–displacement results (in grey) and the numerical results (in green), from which it can be noted that the model reproduces the experimental trend well. In particular, this agreement in the results justifies the use of the proposed MAT138 material card in all the models, since the toughened epoxy resin is the same.
Table 3. MAT138 material properties of the cohesive elements. See [] for parameter description.
Figure 8. Comparison between experimental and numerical load–displacement trend for carbon/epoxy samples subjected to DCB test.
  • In-plane Crashworthiness
To provide an immediate comparison between the experimental and the numerical results of the in-plane crashworthiness tests, the load–displacement curves are considered. All the physical parameters required by the MAT54/55 material card come from the experimental campaign, except for the maximum strain for fibre tension (DFAILT), compression (DFAILC) and maximum shear strain (DFAILS), whose experimental values are too small to ensure a correct reproduction of the splaying phenomenon. For this reason, these values are determined through an optimization process performed on a simpler numerical model, i.e., the low-velocity impact (LVI). Details regarding this strategy are extensively discussed in []. This choice is related to the need for reducing the computational cost related to the higher complexity of in-plane crashworthiness models. Moreover, the fact that the optimal values found for another type of test fit well into different models represents a very important aspect in an attempt to use such models as prediction tools for the behaviour of more complex structures. In addition to the physical parameters discussed so far, these models require the investigation of additional non-physical values, like SOFT, for which a trial-and-error approach is generally followed [,]. All the parameters required for the material models are collected in Table 4 and Table 5, for carbon and flax, respectively.
Table 4. MAT54/55 material properties for carbon/epoxy laminates. See [] for parameter description.
Table 5. MAT54/55 material properties for flax/epoxy laminates. See [] for parameter description.
Looking at Figure 9, Figure 10, Figure 11 and Figure 12, it can be noted that the introduction of flax combined with carbon allows performances close to pure carbon to be reached. This happens only in the FCF case; in the CFC, instead, lower values of force are observed. This suggests that hybridization could be an important strategy to reduce the carbon footprint without renouncing the mechanical performances offered by synthetic fibres. However, comparing the two hybrid solutions, it emerges that it is fundamental to study the best stacking sequence, in order to exploit the potential coming from both fibre types. Similar conclusions can be drawn by looking at Figure 13, Figure 14, Figure 15 and Figure 16, where the experimental and numerical results are compared for the Feraboli geometry. In all the cases described above, it is evident that the models are able to capture the load–displacement experimental trend well. The only exception is given by Figure 10, where the model seems to underestimate the experimental trend in the stable region, which is characterized by high oscillations. This can be attributed to the fact that MAT54/55 is designed to reproduce the performance of unidirectional brittle materials; therefore, this is not the most appropriate material card for woven natural fibres. A material card that takes into account the non-linear trend typical of natural fibres is the MAT58 (MAT_LAMINATED_COMPOSITE_FABRIC), which, however, requires a large number of parameters to be determined. Therefore, for our purposes, the MAT54/55 can be considered a good compromise between performance and required values. However, this agreement is not sufficient to demonstrate the validity of the models. Therefore, starting from these data, two measures of the material’s performance are analysed and compared: CFE and SEA.
Figure 9. Experimental and numerical load–displacement curves of flat carbon samples oriented at (a) 0°, (b) 90° and (c) ISO.
Figure 10. Experimental and numerical load–displacement curves of flat flax samples oriented at (a) 0°, (b) 90° and (c) ISO.
Figure 11. Experimental and numerical load–displacement curves of flat hybrid FCF samples oriented at (a) 0°, (b) 90° and (c) ISO.
Figure 12. Experimental and numerical load–displacement curves of flat hybrid CFC samples oriented at (a) 0°, (b) 90° and (c) ISO.
Figure 13. Experimental and numerical load–displacement curves of Feraboli carbon samples oriented at (a) 0°, (b) 90° and (c) ISO.
Figure 14. Experimental and numerical load–displacement curves of Feraboli flax samples oriented at (a) 0°, (b) 90° and (c) ISO.
Figure 15. Experimental and numerical load–displacement curves of Feraboli hybrid FCF samples oriented at (a) 0°, (b) 90° and (c) ISO.
Figure 16. Experimental and numerical load–displacement curves of Feraboli hybrid CFC samples oriented at (a) 0°, (b) 90° and (c) ISO.
The first quantity is defined as the ratio between the force evaluated in the stable region P m and the maximum initial load P m a x [], i.e.,
CFE = P m P m a x
This is a dimensionless value, which measures the crushing stability and the ability of the material to transfer the energy into the structure. In particular, it is used in the automotive and aerospace sectors, to determine the risk of passengers’ injuries in case of collision; therefore, a value close to unity is desirable for the design of crashworthy structures, since it stands for a safer component []. According to the classical definition, SEA can be computed as the absorbed energy over the “destroyed” mass w d . Both these quantities are evaluated in the stable region, which, for the flat case, corresponds to the following ranges: 20–30 mm for flax, and 10–20 mm for carbon, FCF and CFC. For the Feraboli case, instead, the ranges are the following: 10–20 mm for flax and 6–16 mm for all the other configurations. Since the quantity w d is difficult to measure, especially for the corrugated geometry, an alternative but equivalent equation can be used to evaluate the SEA, as proposed by Cutting et al. []:
SEA = P ¯ L w
where P ¯ is the average load evaluated in the stable region, L is the length and w is the mass of the specimen. This approach does not require the evaluation of the cross-section of the corrugated sample, which is a very difficult process that can lead to non-negligible errors. Therefore, in this study, SEA is computed following Equation (4). To provide visual evidence of the model’s robustness, the experimental and numerical CFE and SEA values are compared and the results are collected in Table 6 and Table 7, for the flat and Feraboli shapes, respectively. Since the three analysed orientations exhibit quite similar results, the reported values are averaged among all those available. A look at the table reveals that both models seem to provide good results, except for the flax case, confirming the previous observations. According to the load–displacement trends, FCF also provides results close to carbon in terms of CFE and SEA. This allows us to confirm that, as they are constructed, the FE models are able to capture the experimental trend well and, therefore, they can be considered powerful tools for predicting the behaviour of other materials under the same conditions.
Table 6. Flat shape: experimental and numerical CFE and SEA comparison.
Table 7. Feraboli shape: experimental and numerical CFE and SEA comparison.
To complete this assessment, Figure 17 is added. This shows the different experimental performance between the flat and Feraboli samples for all materials in terms of CFE and SEA. Also in this case, the reported values are averaged between the three orientations. The higher values obtained for the corrugated case indicate that geometry is an important aspect to take into account because of the interesting results obtained by simply changing the shape of the samples. The results shown by those histograms confirm the importance of hybridization as a way to reach results close to carbon through the introduction of natural fibre layers. In particular, both the FCF hybrid configurations provide better results with respect to CFC because of the major resistance given by carbon in the inner layers.
Figure 17. Experimental comparison between flat and Feraboli samples: (a) CFE and (b) SEA.
Finally, it should be mentioned that both models are also able to guarantee the correct reproduction of the failure mechanism. Evidence for the correspondence between the numerical and experimental results in terms of damage is provided in Figure 18 and Figure 19, which display the numerical damage evolution of the flat and corrugated samples, respectively. For all the materials analysed, the 0° orientation is shown as a reference. For the flat case, delamination, fragmentation and frond formation are observed: the numerical model accurately reproduces the splaying phenomenon, with frond formation exactly in the middle of the sample. For the corrugated case, instead, tearing and fibre breakage together with delamination and fragmentation are experimentally detected.
Figure 18. Experimental and numerical damage progression for flat samples at 0°: (a) carbon, (b) flax, (c) FCF and (d) CFC.
Figure 19. Experimental and numerical damage progression for Feraboli samples at 0°: (a) carbon, (b) flax, (c) FCF and (d) CFC.

5. Conclusions

This paper presents a detailed experimental and numerical investigation into the in-plane crashworthiness behaviour of carbon, flax, FCF and CFC/epoxy composites. The focus is on the identification of (1) the most efficient geometry that helps to capture the failure modes during a crash event, and (2) the best hybrid combination for the partial substitution of carbon in view of a greater sustainability. To better understand the advantages of hybridization, the authors are interested in exploring different combinations, even though FCF provides the best results among the examined solutions. As mentioned at the beginning, it is fundamental to perform as few tests as possible in order to optimize costs and manufacturing efficiency and reduce production scraps. Therefore, this work aims to be a guide for those who want to know which are the necessary tests to provide a complete material characterization. In addition to the standard tensile and compression tests, DCB and 4ENF need to be considered to analyse the properties of the resin. Moreover, the investigation of LVI tests could be useful for the selection of the unknown parameters required by the material card. Finally, to understand the energy absorption capability of the analysed materials, dynamic in-plane crashworthiness tests are performed. Particular attention has been paid to the comparison between flat and Feraboli samples, from which it emerged that the latter geometry can be considered a good candidate for energy absorption applications due to the better results in terms of CFE and SEA. Corrugated specimens, indeed, are self-supporting and represent an alternative to the most common tubular structures, as they are more versatile from a manufacturing point of view and do not exhibit the hoop fibre constraint []. It is clear that the MAT54/55 material card is not properly designed for woven composites, but the good results obtained suggest that it can be considered a good candidate since it represents a compromise between performances and parameters that have to be determined.

Author Contributions

Conceptualization, V.G. and S.B.; methodology, V.G.; software, V.G.; validation, V.G.; investigation, L.V., A.C. and V.C.; resources, V.C.; data curation, V.G.; writing—original draft preparation, V.G.; writing—review and editing, V.G., G.D.B., M.C., S.B., L.V. and A.C.; visualization, V.G.; supervision, S.B.; project administration, S.B. All authors have read and agreed to the published version of the manuscript.

Funding

This research received no external funding.

Data Availability Statement

The datasets presented in this article are not readily available because the data are part of an ongoing study.

Conflicts of Interest

The authors declare no conflicts of interest.

Abbreviations

The following abbreviations are used in this manuscript:
NFCsNatural Fibre Composites
CFECrush Force Efficiency
SEASpecific Energy Absorption
ISOQuasi-isotropic
FEFinite Element
RCResin Content
DCBDouble Cantilever Beam
4ENFFour-Point End Notched Flexure
CFCCarbon–Flax–Carbon: C 2 F 4 C 2
FCFFlax–Carbon–Flax: C 2 F 4 C 2
MCCModified Compliance Calibration
CCCompliance Calibration
MAT54/55MAT_ENHANCED_COMPOSITE_DAMAGE
MAT138MAT_COHESIVE_MIXED_MODE
MAT001MAT_ELASTIC
MAT020MAT_RIGID
DFAILTMaximum Strain for Fibre Tension
DFAILCMaximum Strain for Fibre Compression
DFAILSMaximum Shear Strain
LVILow-Velocity Impact

References

  1. Elfaleh, I.; Abbassi, F.; Habibi, M.; Ahmad, F.; Guedri, M.; Nasri, M.; Garnier, C. A comprehensive review of natural fibers and their composites: An eco-friendly alternative to conventional materials. Results Eng. 2023, 19, 101271. [Google Scholar] [CrossRef]
  2. Agency, E.E. Climate Change Mitigation: Reducing Emissions, December 2023. Available online: https://www.eea.europa.eu/en/topics/in-depth/climate-change-mitigation-reducing-emissions (accessed on 10 July 2024).
  3. Mohammed, L.; Ansari, M.N.M.; Pua, G.; Jawaid, M.; Islam, M.S. A Review on Natural Fiber Reinforced Polymer Composite and Its Applications. Int. J. Polym. Sci. 2015, 2015, 243947. [Google Scholar] [CrossRef]
  4. Colamartino, I.; Pinato, E.; Cavasin, M.; Tagliabue, M.; Anghileri, M.; Boniardi, M. Static, dynamic and impact properties of a high-performance flax-fiber composite. Results Mater. 2023, 20, 100493. [Google Scholar] [CrossRef]
  5. Peças, P.; Carvalho, H.; Salman, H.; Leite, M. Natural Fibre Composites and Their Applications: A Review. J. Compos. Sci. 2018, 2, 66. [Google Scholar] [CrossRef]
  6. Pulikkalparambil, H.; Varghese, S.A.; Chonhenchob, V.; Nampitch, T.; Jarupan, L.; Harnkarnsujarit, N. Recent Advances in Natural Fibre-Based Materials for Food Packaging Applications. Polymers 2023, 15, 1393. [Google Scholar] [CrossRef] [PubMed]
  7. Venkateshwar Reddy, P.; Saikumar Reddy, R.V.; Lakshmana Rao, J.; Mohana Krishnudu, D.; Rajendra Prasad, P. An overview on natural fiber reinforced composites for structural and non-structural applications. Mater. Today Proc. 2021, 45, 6210–6215. [Google Scholar] [CrossRef]
  8. Sharath Shekar, H.S.; Ramachandra, M. Green Composites: A Review. Mater. Today Proc. 2018, 5, 2518–2526. [Google Scholar] [CrossRef]
  9. Abdur Rahman, M.; Haque, S.; Athikesavan, M.M.; Kamaludeen, M.B. A review of environmental friendly green composites: Production methods, current progresses, and challenges. Environ. Sci. Pollut. Res. 2023, 30, 16905–16929. [Google Scholar] [CrossRef]
  10. Dhakal, H.N.; Zhang, Z.Y.; Guthrie, R.; MacMullen, J.; Bennett, N. Development of flax/carbon fibre hybrid composites for enhanced properties. Carbohydr. Polym. 2013, 96, 1–8. [Google Scholar] [CrossRef]
  11. Nisini, E.; Santulli, C.; Liverani, A. Mechanical and impact characterization of hybrid composite laminates with carbon, basalt and flax fibres. Compos. Part B Eng. 2017, 127, 92–99. [Google Scholar] [CrossRef]
  12. Agopian, J.C.; Téraube, O.; Hajjar-Garreau, S.; Charlet, K.; Dubois, M. Study of carbon-flax hybrid composites modified by fibre fluorination. J. Fluor. Chem. 2023, 272, 110213. [Google Scholar] [CrossRef]
  13. Fairlie, G.; Njuguna, J. Damping Properties of Flax/Carbon Hybrid Epoxy/Fibre-Reinforced Composites for Automotive Semi-Structural Applications. Fibers 2020, 8, 64. [Google Scholar] [CrossRef]
  14. Wang, A.; Liu, X.; Yue, Q.; Xian, G. Tensile properties hybrid effect of unidirectional flax/carbon fiber hybrid reinforced polymer composites. J. Mater. Res. Technol. 2023, 24, 1373–1389. [Google Scholar] [CrossRef]
  15. Wang, A.; Liu, X.; Yue, Q.; Xian, G. Effect of volume ratio and hybrid mode on low-velocity impact properties of unidirectional flax/carbon fiber hybrid reinforced polymer composites. Thin-Walled Struct. 2023, 187, 110764. [Google Scholar] [CrossRef]
  16. Yashas Gowda, T.G.; Vinod, A.; Madhu, P.; Kushvaha, V.; Rangappa, S.M.; Siengchin, S. A new study on flax-basalt-carbon fiber reinforced epoxy/bioepoxy hybrid composites. Polym. Compos. 2021, 42, 1891–1900. [Google Scholar] [CrossRef]
  17. Yashas Gowda, T.G.; Madhu, P.; Kushvaha, V.; Rangappa, S.M.; Siengchin, S. Comparative evaluation of areca/carbon/basalt fiber reinforced epoxy/bio epoxy based hybrid composites. Polym. Compos. 2022, 43, 4179–4190. [Google Scholar] [CrossRef]
  18. Yorseng, K.; Mavinkere Rangappa, S.; Parameswaranpillai, J.; Siengchin, S. Towards green composites: Bioepoxy composites reinforced with bamboo/basalt/carbon fabrics. J. Clean. Prod. 2022, 363, 132314. [Google Scholar] [CrossRef]
  19. Sisodia, R.; Jerry, K.; Pratim Das, P.; Gupta, P.; Gupta, S.; Chaudhary, V. Experimental study on mechanical behaviour of linen/epoxy and linen/hemp/epoxy hybrid polymer composite. Mater. Today Proc. 2023, 78, 372–377. [Google Scholar] [CrossRef]
  20. Chaudhary, V.; Bajpai, P.K.; Maheshwari, S. Studies on Mechanical and Morphological Characterization of Developed Jute/Hemp/Flax Reinforced Hybrid Composites for Structural Applications. J. Nat. Fibers 2018, 15, 80–97. [Google Scholar] [CrossRef]
  21. Guo, K.; Liu, X.; Ren, Y.; Jiang, H. Experimental study on crashworthiness and failure mechanisms of aeronautical multi-fibers hybrid composite corrugated structures with Carbon, Glass, Kevlar. Aerosp. Sci. Technol. 2023, 142, 108599. [Google Scholar] [CrossRef]
  22. Grauers, L.; Olsson, R.; Gutkin, R. Energy absorption and damage mechanisms in progressive crushing of corrugated NCF laminates: Fractographic analysis. Compos. Struct. 2014, 110, 110–117. [Google Scholar] [CrossRef]
  23. LS-DYNA, R13. Volume II, Material Models. Livermore Software Technology: Troy, MI, USA, 2021.
  24. ASTM D5528-13; Standard Test Method for Mode I Interlaminar Fracture Toughness of Unidirectional Fiber-Reinforced Polymer Matrix Composites. ASTM International: West Conshohocken, PA, USA, 1994.
  25. Belingardi, G.; Boria, A.S. Delaminazione Sperimentale e Numerica in Laminati Composito. In Proceedings of the 40° Convegno Nazionale AIAS, Palermo, Italy, 7–10 September 2011. [Google Scholar]
  26. ASTM D7905/D7905M-19e1; Standard Fracture Toughness of Unidirectional Fiber-Reinforced Polymer Matrix Composites. ASTM International: West Conshohocken, PA, USA, 2014.
  27. Cerioni, A. Simulation of Delamination in Composite Materials under Static and Fatigue Loading by Cohesive Zone Models. Ph.D. Thesis, Università degli Studi di Cagliari, Cagliari, Italy, 2009. [Google Scholar]
  28. Syed Abdullah, S.I.B.; Bokti, S.K.; Wong, K.J.; Johar, M.; Chong, W.W.F.; Dong, Y. Mode II and mode III delamination of carbon fiber/epoxy composite laminates subjected to a four-point bending mechanism. Compos. Part B Eng. 2024, 270, 111110. [Google Scholar] [CrossRef]
  29. Vigna, L. Development of an Innovative Procedure to Assess the Crashworthiness of Composite Materials. Ph.D. Thesis, ScuDo-Doctoral School Politecnico di Torino, Torino, Italy, 2023. [Google Scholar]
  30. Vigna, L.; Calzolari, A.; Galizia, G.; Belingardi, G.; Paolino, D.S. Effect of impact speed and friction on the in-plane crashworthiness of composite plates. Procedia Struct. Integr. 2021, 33, 623–629. [Google Scholar] [CrossRef]
  31. Babaei, I.; Garg, R.; Vigna, L.; Paolino, D.S.; Belingardi, G.; Cascone, L.; Calzolari, A.; Galizia, G. Newly Developed Anti-Buckling Fixture to Assess the In-Plane Crashworthiness of Flat Composite Specimens. Appl. Sci. 2020, 10, 7797. [Google Scholar] [CrossRef]
  32. Feraboli, P. Development of a Corrugated Test Specimen for Composite Materials Energy Absorption. J. Compos. Mater. 2008, 42, 229–256. [Google Scholar] [CrossRef]
  33. Barnett, P.R.; Vigna, L.; Martínez-Collado, J.L.; Calzolari, A.; Penumadu, D. Crashworthiness of recycled carbon fiber composite sinusoidal structures at dynamic rates. Compos. Struct. 2023, 311, 116847. [Google Scholar] [CrossRef]
  34. Rabiee, A.; Ghasemnejad, H. Finite Element Modelling Approach for Progressive Crushing of Composite Tubular Absorbers in LS-DYNA: Review and Findings. J. Compos. Sci. 2022, 6, 11. [Google Scholar] [CrossRef]
  35. Feindler, N. Charakterisierungs- und Simulationsmethodik zum Versagensverhalten Energieabsorbierender Faserverbundstrukturen. Ph.D. Thesis, Technische Universität München, München, Germany, 2012. [Google Scholar]
  36. Giammaria, V.; Del Bianco, G.; Raponi, E.; Fiumarella, D.; Ciardiello, R.; Boria, S.; Duddeck, F.; Belingardi, G. Material parameter optimization of flax/epoxy composite laminates under low-velocity impact. Compos. Struct. 2023, 321, 117303. [Google Scholar] [CrossRef]
  37. Feraboli, P.; Wade, B.; Deleo, F.; Rassaian, M.; Higgins, M.; Byar, A. LS-DYNA MAT54 modeling of the axial crushing of a composite tape sinusoidal specimen. Compos. Part A Appl. Sci. Manuf. 2011, 42, 1809–1825. [Google Scholar] [CrossRef]
  38. Abdallah, M.H.; Braimah, A. Numerical design optimization of the fiber orientation of glass/phenolic composite tubes based on tensile and radial compression tests. Compos. Struct. 2022, 280, 114898. [Google Scholar] [CrossRef]
  39. Kim, J.S.; Yoon, H.J.; Shin, K.B. A study on crushing behaviors of composite circular tubes with different reinforcing fibers. Int. J. Impact Eng. 2011, 38, 198–207. [Google Scholar] [CrossRef]
  40. Wang, Y.; Feng, J.; Wu, J.; Hu, D. Effects of fiber orientation and wall thickness on energy absorption characteristics of carbon-reinforced composite tubes under different loading conditions. Compos. Struct. 2016, 153, 356–368. [Google Scholar] [CrossRef]
  41. Cutting, R.A.; Rios-Tascon, F.; Goodsell, J.E. Experimental investigation of the crush performance of prepreg platelet molding compound tubes. J. Compos. Mater. 2020, 54, 4311–4324. [Google Scholar] [CrossRef]
  42. Feraboli, P.; Wade, B.; Deleo, F.; Rassaian, M. Crush energy absorption of composite channel section specimens. Compos. Part A Appl. Sci. Manuf. 2009, 40, 1248–1256. [Google Scholar] [CrossRef]
Disclaimer/Publisher’s Note: The statements, opinions and data contained in all publications are solely those of the individual author(s) and contributor(s) and not of MDPI and/or the editor(s). MDPI and/or the editor(s) disclaim responsibility for any injury to people or property resulting from any ideas, methods, instructions or products referred to in the content.

Article Metrics

Citations

Article Access Statistics

Multiple requests from the same IP address are counted as one view.