Tensile Properties of Z-Pin Reinforced Laminates with Circumferentially Notched Z-Pins
Abstract
1. Introduction
2. Materials and Test Procedure
2.1. Materials
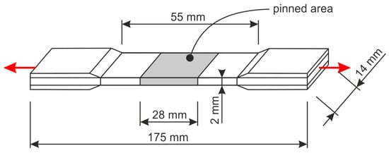
2.2. Tensile Test Set-Up
3. Results and Discussion
3.1. Swelling of Laminate
3.2. Tensile Strength
3.3. Young’s Modulus
4. Conclusions
Author Contributions
Funding
Acknowledgments
Conflicts of Interest
References
- Kinloch, A.J.; Young, R.J. Fracture Behaviour of Polymers; Elsevier: London, UK, 1983. [Google Scholar]
- Yee, A.F.; Pearson, R.A. Toughening mechanisms in elastomer-modified epoxies. J. Mater. Sci. 1986, 21, 2462–2474. [Google Scholar] [CrossRef]
- Mouritz, A.P.; Bannister, M.K.; Falzon, P.J.; Leong, K.H. Review of applications for advanced three-dimensional fibre textile composites. Compos. Part A Appl. Sci. Manuf. 1999, 30, 1445–1461. [Google Scholar] [CrossRef]
- Tong, L.; Mouritz, A.P.; Bannister, M.K. 3D Fibre Reinforced Polymer Composites, 1st ed.; Elsevier: Boston, MA, USA, 2002. [Google Scholar]
- Leong, K.; Ramakrishna, S.; Huang, Z.; Bibo, G. The potential of knitting for engineering composites—A review. Compos. Part A Appl. Sci. Manuf. 2000, 31, 197–220. [Google Scholar] [CrossRef]
- Mungalov, A. Complex shape 3-D braided composite-preforms: Structural shapes for marine and aerospace. SAMPE J. 2004, 40, 7–21. [Google Scholar]
- Kyosev, Y. Advances in Braiding Technology: Specialized Techniques and Applications; Woodhead Publishing Series in Textiles; Elsevier Science: Amsterdam, The Netherlands, 2016. [Google Scholar]
- Weimer, C.; Preller, T.; Mitschang, P.; Drechsler, K. Approach to net-shape preforming using textile technologies. Part I: Edges. Compos. Part A Appl. Sci. Manuf. 2000, 31, 1261–1268. [Google Scholar] [CrossRef]
- Dransfield, K.; Baillie, C.; Mai, Y.W. Improving the delamination resistance of CFRP by stitching—A review. Compos. Sci. Technol. 1994, 50, 305–317. [Google Scholar] [CrossRef]
- Dell’Anno, G.; Cartié, D.D.R.; Partridge, I.K.; Rezai, A. Exploring mechanical property balance in tufted carbon fabric/epoxy composites. Compos. Part A Appl. Sci. Manuf. 2007, 38, 2366–2373. [Google Scholar] [CrossRef]
- Kusaka, T.; Watanabe, K.; Hojo, M.; Fukuoka, T.; Ishibashi, M. Fracture behaviour and toughening mechanism in Zanchor reinforced composites under mode I loading. Eng. Fract. Mech. 2012, 96, 433–446. [Google Scholar] [CrossRef]
- Mouritz, A.P. Review of z-pinned composite laminates. Compos. Part A Appl. Sci. Manuf. 2007, 38, 2383–2397. [Google Scholar] [CrossRef]
- Hoffmann, J.; Scharr, G. Pull-out performance of rectangular z-pins in hot-cured carbon fiber reinforced laminates. Compos. Struct. 2018, 186, 62–67. [Google Scholar] [CrossRef]
- Knaupp, M.; Baudach, F.; Franck, J.; Scharr, G. Mode I and pull-out tests of composite laminates reinforced with rectangular z-pins. J. Compos. Mater. 2014, 48, 2925–2932. [Google Scholar] [CrossRef]
- Partridge, I.K.; Cartié, D.D.R. Delamination resistant laminates by Z-Fiber® pinning: Part I manufacture and fracture performance. Compos. Part A Appl. Sci. Manuf. 2005, 36, 55–64. [Google Scholar] [CrossRef]
- Partridge, I.K.; Cartié, D.D.R.; Bonnington, T. Manufacture aNd Performance of Z-Pinned Composites. In Advanced Polymeric Materials: Structure Property Relationships; Shonaike, G.O., Advani, S.G., Eds.; CRC Press: Boca Raton, FL, USA, 2003; pp. 114–153. [Google Scholar]
- Freitas, G.; Magee, C.; Dardzinski, P.; Fusco, T. Fiber insertion process for improved damage tolerance in aircraft laminates. J. Adv. Mater. 1994, 25, 36–43. [Google Scholar]
- Liu, H.Y.; Takeda, N.; Yan, W.; Hamada, H.; Gu, B.; Ogihara, S.; Dai, S.C.; Nakai, A.; Mai, Y.W. Z-pinning reinforcement and its bridging law. In Proceedings of the Asian-Australian Conference on Composite Materials, Tokyo, Japan, 18–21 November 2003; pp. 389–393. [Google Scholar]
- Cartié, D.D.R.; Troulis, M.; Partridge, I.K. Delamination of Z-pinned carbon fibre reinforced laminates. Compos. Sci. Technol. 2006, 66, 855–861. [Google Scholar] [CrossRef]
- Cartié, D.D.R.; Laffaille, J.M.; Partridge, I.K.; Brunner, A.J. Fatigue delamination behaviour of unidirectional carbon fibre/epoxy laminates reinforced by Z-Fiber® pinning. Eng. Fract. Mech. 2009, 76, 2834–2845. [Google Scholar] [CrossRef]
- Hoffmann, J.; Scharr, G. Mode I delamination fatigue resistance of unidirectional and quasi-isotropic composite laminates reinforced with rectangular z-pins. Compos. Part A Appl. Sci. Manuf. 2018, 115, 228–235. [Google Scholar] [CrossRef]
- Yan, W.; Liu, H.Y.; Mai, Y.W. Mode II delamination toughness of z-pinned laminates. Compos. Sci. Technol. 2004, 64, 1937–1945. [Google Scholar] [CrossRef]
- Allegri, G.; Yasaee, M.; Partridge, I.K.; Hallett, S.R. A novel model of delamination bridging via Z-pins in composite laminates. Int. J. Solids Struct. 2014, 51, 3314–3332. [Google Scholar] [CrossRef]
- Cartié, D.D.R. Effect of z-Fibres™ on the Delamination Behaviour of Carbon-Fibre/epoxy Laminates. Ph.D. Thesis, Cranfield University, Cranfield, UK, 2000. [Google Scholar]
- Zhang, B.; Allegri, G.; Yasaee, M.; Hallett, S.R. Micro-mechanical finite element analysis of Z-pins under mixed-mode loading. Compos. Part A Appl. Sci. Manuf. 2015, 78, 424–435. [Google Scholar] [CrossRef]
- Rugg, K.L.; Cox, B.N.; Massabo, R. Mixed mode delamination of polymer composite laminates reinforced through the thickness by z-fibers. Compos. Part A Appl. Sci. Manuf. 2002, 33, 177–190. [Google Scholar] [CrossRef]
- Zhang, X.; Hounslow, L.; Grassi, M. Improvement of low-velocity impact and compression-after-impact performance by z-fibre pinning. Compos. Sci. Technol. 2006, 66, 2785–2794. [Google Scholar] [CrossRef]
- Knaupp, M.; Baudach, F.; Franck, J.; Scharr, G. Impact and post-impact properties of cfrp laminates reinforced with rectangular z-pins. Compos. Sci. Technol. 2013, 87, 218–223. [Google Scholar] [CrossRef]
- Francesconi, L.; Aymerich, F. Effect of Z-pinning on the impact resistance of composite laminates with different layups. Compos. Part A Appl. Sci. Manuf. 2018, 114, 136–148. [Google Scholar] [CrossRef]
- Francesconi, L.; Aymerich, F. Impact and Post-impact Behavior of Composite Laminates Reinforced by Z-Pins. In Mechanics of Composite, Hybrid and Multifunctional Materials; Springer: Berlin/Heidelberg, Germany, 2019; Volume 5, pp. 159–167. [Google Scholar]
- Dai, S.C.; Yan, W.; Liu, H.Y.; Mai, Y.W. Experimental study on z-pin bridging law by pullout test. Compos. Sci. Technol. 2004, 64, 2451–2457. [Google Scholar] [CrossRef]
- Cartié, D.D.R.; Cox, B.N.; Fleck, N.A. Mechanisms of crack bridging by composite and metallic rods. Compos. Part A Appl. Sci. Manuf. 2004, 35, 1325–1336. [Google Scholar] [CrossRef]
- Vazquez, J.T.; Castanié, B.; Barrau, J.J.; Swiergiel, N. Multi-level analysis of low-cost Z-pinned composite joints: Part 1: Single Z-pin behaviour. Compos. Part A Appl. Sci. Manuf. 2011, 42, 2070–2081. [Google Scholar] [CrossRef]
- Knopp, A.; Scharr, G. Effect of z-pin surface treatment on delamination and debonding properties of z-pinned composite laminates. J. Mater. Sci. 2014, 49, 1674–1683. [Google Scholar] [CrossRef]
- Knopp, A.; Scharr, G. X-ray photo-electron spectroscopic studies of cryogenic and plasma surface-treated z-pins. J. Compos. Mater. 2017, 51, 1155–1166. [Google Scholar] [CrossRef]
- Knopp, A.; Scharr, G. Experimental Investigations on the Influence of Notch Definition on the Pullout Performance of Circumferentially Notched z-pins. Compos. Struct. 2020, in press. [Google Scholar] [CrossRef]
- Knopp, A.; Scharr, G. Experimental Investigation on the Influence of Different Notch Designs on the Pullout Performance of Circumferentially Notched Z-Pins. J. Compos. Sci. 2020, 4, 67. [Google Scholar] [CrossRef]
- Steeves, C.A.; Fleck, N.A. In-plane properties of composite laminates with through-thickness pin reinforcement. Int. J. Solids Struct. 2006, 43, 3197–3212. [Google Scholar] [CrossRef]
- Chang, P.; Mouritz, A.P.; Cox, B.N. Properties and failure mechanisms of z-pinned laminates in monotonic and cyclic tension. Compos. Part A Appl. Sci. Manuf. 2006, 37, 1501–1513. [Google Scholar] [CrossRef]
- Mouritz, A. Compression properties of z-pinned composite laminates. Compos. Sci. Technol. 2007, 67, 3110–3120. [Google Scholar] [CrossRef]
- Steeves, C.A.; Fleck, N.A. In-plane properties of CFRP laminates containing through-thickness reinforcing rods (Z-pins). In Proceedings of the 12th International Conference on Composite Materials (ICCM-12), Paris, France, 5–9 July 1999. [Google Scholar]
- Chang, P.; Mouritz, A.; Cox, B. Flexural properties of z-pinned laminates. Compos. Part A Appl. Sci. Manuf. 2007, 38, 244–251. [Google Scholar] [CrossRef]
- Knopp, A.; Düsterhöft, C.; Reichel, M.; Scharr, G. Flexural properties of z-pinned composite laminates in seawater environment. J. Mater. Sci. 2014, 49, 8343–8354. [Google Scholar] [CrossRef]
- Hoffmann, J.; Sabban, J.; Scharr, G. Pullout performance of circumferentially notched z-pins in carbon fiber reinforced laminates. Compos. Part A Appl. Sci. Manuf. 2018, 110, 197–202. [Google Scholar] [CrossRef]
- Hoffmann, J.; Scharr, G. Mechanical properties of composite laminates reinforced with rectangular z-pins in monotonic and cyclic tension. Compos. Part A Appl. Sci. Manuf. 2018, 109, 163–170. [Google Scholar] [CrossRef]
- Partridge, I.K.; Cartié, D.D.R.; Troulis, M.; Grassi, M.; Zhang, X. Evaluating the mechanical effectiveness of z-pinning. In Proceedings of the 35th International SAMPE Technical Conference, Dayton, OH, USA, 28 September–2 October 2003. [Google Scholar]
- Dan, M.; Yong, L.; Tao, S.; Lin, F.; Peng, W.; Jun, X. Tensile properties of Z-pins reinforced laminates. Polym. Polym. Compos. 2011, 19, 251–258. [Google Scholar] [CrossRef]
- Stringer, L.G.; Hiley, M.J. Through-thickness Reinforcement of Composites: Z-pinning, Stitching, and 3D weaving. In Proceedings of the 14th International Conference on Composite Materials, San Diego, CA, USA, 14–18 July 2003. [Google Scholar]












| Notch Definition | ||||
|---|---|---|---|---|
| Design | Depth tn [m] | Width bn [m] | Distance dn [m] | No. of [Pcs] |
| Unpinned | - | - | - | 5 |
| Unnotched | - | - | - | 5 |
| Rectangular | 10 | 100 | 100 | 5 |
| Rectangular | 15 | 100 | 100 | 5 |
| Rectangular | 20 | 100 | 100 | 5 |
| Rectangular | 25 | 100 | 100 | 5 |
| Rectangular | 20 | 100 | 200 | 5 |
| Rectangular | 20 | 100 | 300 | 5 |
| Triangular | 20 | 100 | 100 | 5 |
| Sinusoidal | 20 | 100 | 100 | 5 |
| Circular | 20 | 100 | 100 | 5 |
| Circular | 10 | 100 | 100 | 5 |
| Circular | 15 | 100 | 100 | 5 |
| Circular | 25 | 100 | 100 | 5 |
© 2020 by the authors. Licensee MDPI, Basel, Switzerland. This article is an open access article distributed under the terms and conditions of the Creative Commons Attribution (CC BY) license (http://creativecommons.org/licenses/by/4.0/).
Share and Cite
Knopp, A.; Scharr, G. Tensile Properties of Z-Pin Reinforced Laminates with Circumferentially Notched Z-Pins. J. Compos. Sci. 2020, 4, 78. https://doi.org/10.3390/jcs4020078
Knopp A, Scharr G. Tensile Properties of Z-Pin Reinforced Laminates with Circumferentially Notched Z-Pins. Journal of Composites Science. 2020; 4(2):78. https://doi.org/10.3390/jcs4020078
Chicago/Turabian StyleKnopp, André, and Gerhard Scharr. 2020. "Tensile Properties of Z-Pin Reinforced Laminates with Circumferentially Notched Z-Pins" Journal of Composites Science 4, no. 2: 78. https://doi.org/10.3390/jcs4020078
APA StyleKnopp, A., & Scharr, G. (2020). Tensile Properties of Z-Pin Reinforced Laminates with Circumferentially Notched Z-Pins. Journal of Composites Science, 4(2), 78. https://doi.org/10.3390/jcs4020078

