Abstract
To reduce the level of saponin while preserving essential nutrients and antioxidative properties in quinoa (Chenopodium quinoa), this study delves into the optimization of the HUMVP process and thoroughly examines its effects on antioxidation as well as its inhibitory influence on α-amylase and α-glucosidase. The optimal HUMVP conditions involved wetting quinoa grains with 6% water (pH = 6.0) and subjecting them to a 4 min treatment under 0.35 MPa pressure. The values of •OH, DPPH, and ABTS•+ scavenging rate of the extracts from the quinoa sample (named Q2HUMVP) treated under the optimum HUMVP process were 70.02, 87.13, and 50.95%, respectively. Furthermore, the treatment preserved 95.20% of polyphenols and 73.06% of flavonoids, while the saponin content was reduced to 23.13% of that in raw quinoa. Notably, Q2HUMVP extracts demonstrated superior inhibitory activity against α-amylase and α-glucosidase compared to dehulled quinoa samples. The inhibition exhibited by the quinoa sample extracts on α-amylase and α-glucosidase was found to be reversible.
1. Introduction
Quinoa (Chenopodium quinoa), classified as a pseudocereal, is renowned for its exceptional nutritional characteristics [1,2]. Notably, it is rich in phenolic compounds, flavonoids, saponins, anthocyanins, contributing to its robust antioxidant properties in quinoa-based foods [3]. Additionally, research indicates that a diet incorporating whole-grain quinoa might reduce the lipid profiles and glucose levels in rats [4]. Moreover, the consumption of quinoa products has been shown to notably lower blood sugar and triglyceride level [5]. Interest in quinoa is growing around the world [6].
Quinoa grains can be cooked similarly to rice and are versatile ingredients used in various culinary applications, including porridge, baked goods, and extrusion products [7]. However, it is well established that the nutrient composition, bioactive compounds, and antioxidant capacity of foods can vary significantly due to different processing methods. Processing inevitably leads to alterations in nutritional properties, often resulting in the reduction of certain constituents in the food product [8]. The saponins in quinoa limit its application because of the strong bitter taste associated with them. Consequently, there have been two traditional techniques for saponin removal: dry and wet methods. Dry processing involves scouring quinoa grain under dry conditions, while wet processing entails washing the quinoa grain after scrubbing [8]. Some studies have explored the use of various types of milling equipment, such as roller, pin, or abrasive millers, to decrease the saponin level in quinoa. Research results showed that different dehulling methods yield varying production rates and levels of saponin in quinoa samples, and the nutrient composition differs among the final products [9]. Dry scouring resulted in an uneven outer surface and significant damage to the embryo, leading to a high degree of kernel fragmentation in the final products. Attempting to remove all or most of the saponins from quinoa using the dry method can result in substantial resource wastage. According to previous research findings, dry scouring quinoa grains can lead to the loss of over 11% of protein, more than 7% of fat, more than 4% of starch, more than 28% of total dietary fiber, more than 45% of soluble dietary fiber, more than 48% of saponins, more than 26% of flavonoids, and more than 42% of the total phenolics in quinoa grain. Remarkably, these significant losses occur even when only 8.6% of the grain is removed during the scouring process [10].
Dietary factors undoubtedly play an important role in the development of type 2 diabetes (T2DM) [11], by regulating and slowing down the activity of major digestive enzymes, especially pancreatic alpha amylase and alpha glucosidase, the absorption rate of carbohydrates in the gastrointestinal tract is significantly reduced, effectively controlling T2DM and alleviating symptoms of hyperglycemia [12]. The amylase and α-glucosidase in the pancreas, like delicate molecular scissors, are responsible for separating complex carbohydrates into easily absorbable disaccharides and monosaccharides, which then enter the bloodstream through the small intestine wall. Therefore, if the “scissors” can be effectively used, it will open up an effective pathway for relief, and thus, benefit T2DM patients. This strategy not only aims at the links accurately, but also shows the great potential of diet regulation in diabetes management [13].
Therefore, it becomes of paramount importance to identify a suitable method for saponin removal from quinoa while preserving its valuable nutrients, antioxidants, and functional components. In light of this, this study delves into the process of HUMVP as a means to decrease the level of saponin and retain more nutritious, antioxidative, and functional components in quinoa. This approach holds promise for facilitating the production of nutritionally rich and functional quinoa products.
2. Materials and Methods
2.1. Standards and Reagents
The raw quinoa was donated by the College of Agriculture and Animal Husbandry, Qinghai University in the Qinghai Province, Xining City, China.
The reagents used in this study were of analytical grade including Trolox(6-Hydroxy-2,5,7,8-tetramethylchromane-2-carboxylic acid), (purity > 97%), sodium carbonate, ferric chloride, α-amylase (A7720), pepsin (P7000), DPPH (2,2-Diphenyl-1-picrylhydrazyl), bile salt, trypsin (P7545), gallic acid, oleanolic acid, rutin, ABTS (2,2′-azino-bis(3-ethylbenzothiazoline-6-sulfonic acid) (>98%), phosphate buffer, ethanol, methanol, Folin–Ciocâlteu reagent, hydrochloric acid (37%), and acarbose (98%) and were supplied by Merck (Shanghai, China).
2.2. Processing of Quinoa Grains
The raw quinoa (recorded as Q2QQ) was donated from Qinghai province in China, the saponin, flavonoid, and total phenolic content of the raw quinoa grain were 24.97 mg/g, 2.63 mg/g, and 343.72 mg/100 g. The quinoa grains were dehulled using an abrasive mill, and the material was sieved, and the material over the sieves with a size of 250 μm was collected and named the dehulled grain (recorded as Q2MM), with the yield of 91.4%. The saponin, flavonoid, and total phenolics content of the dehulled quinoa grain were 20.22 mg/g, 1.82 mg/g, and 297.43 mg/100 g.
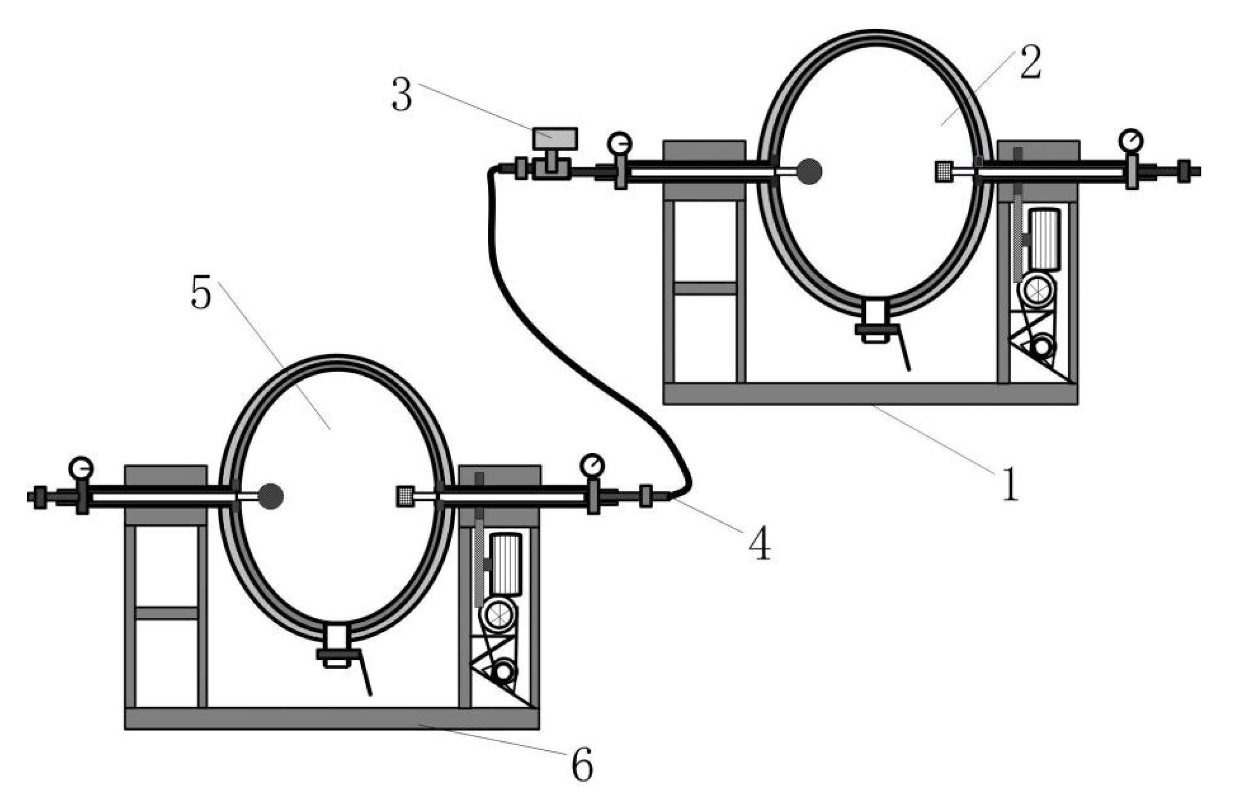
The HUMVP equipment was the new equipment invented by our research team, for which we applied for a patent in China in 2021 [14]. The HUMVP equipment consists of two same units, as shown in Figure 1, a pipe controlled by the electromagnetic high-pressure valve (3) connects one ellipsoid tank (2) to another ellipsoid tank (5). When the quinoa grains were poured in, the air was substituted by the inert gas and heated to a certain pressure value P1 (P1 = 0.2–0.45 MPa) for 3–5 min in the ellipsoid tank (2), and the air was substituted by the inert gas to a certain pressure value P2 (P2 = P1 − 0.02 MPa) in the ellipsoid tank (5) at the same time. The electromagnetic high-pressure valve (3) was then automatically opened, the pressure of both ellipsoid tank (2) and (5) were balanced instantly, and the internal air pressure of the quinoa grains was higher than that outside of the grains, at this time. As the pressure decreases slightly and instantaneously outside, the quinoa grains expanded slightly resulting in the cortex being chapped and the tissue loosened, and then the quinoa grains were cooled down quickly. After cooling, the samples were collected and recorded as Q2HUMVP.
Figure 1.
The sketch map of heating under micro variable pressure (HUMVP) equipment. 1—the HUMVP equipment unit; 2—ellipsoid tank; 3—the electromagnetic high-pressure valve; 4—pipe; 5—ellipsoid tank; 6—the HUMVP equipment unit.
2.3. Digestion of Quinoa Samples
The digestive of the quinoa samples was prepared as follows: the quinoa flour (dry basis) samples were weighed into 50 mL polypropylene copolymer tubes and mixed thoroughly with 3.5 mL of distilled water. The suspension was kept at 37 °C for 5 min and combined with 1.5 mL of pepsin–HCl solution (1.35% w/w pepsin, 0.05 M HCl, pH 2.0), and the mixture was incubated at 37 °C for 30 min on a magnetic stirrer. The pH was brought up to 6.0 by adding 3.0 mL pH 6.4 maleate buffer (0.1 M, 10 mM CaCl2). To initiate digestion, 2 mL of enzyme solution (0.1 M maleate buffer pH 6.0, 10 mM CaCl2) containing 110 units of porcine pancreas α-amylase and 33 units of amyloglucosidase was added. Digestion was performed at 37 °C with a magnetic stirrer. Aliquots of 0.5 mL were taken at selected time intervals and immediately added to 1.5 mL of a cold ethanol solution (90% v/v). The mixture was kept in an ice bath for 10 min and then centrifuged (3000× g, 10 min) to separate the supernatant. The collected supernatant was lyophilized as the digestive of quinoa samples (dry basis).
2.4. Determination of the Content of Saponin, Flavonoid, and Total Phenolics
The content of total polyphenolics (TPC) in quinoa was determined spectrophotometrically with Folin Ciocalteau reagent (FCR), the determination method was the same as described by Kumar et al. [15]. TPC was expressed, according to the method described by Ando et al. [16], as Gallic acid equivalent mg GAE/100 g of quinoa.
The determination of the content of total flavonoids was performed according to Jia et al. [17], with a colorimetric assay, and the results were shown with catechin equivalents (CE), which were transformed from absorbance to the concentration in the standard curve prepared from the authentic catechin reported by Han et al. [18].
The determination of saponin content in quinoa was performed in light of the method reported by Han et al. [18].
2.5. Evaluation of Hydroxyl Radical, DPPH, and ABTS•+ Scavenging Rate
The evaluation of the hydroxyl radical, DPPH, and ABTS•+ scavenging rate were performed as the method reported by Wu et al. [10]. The calculation of the clearance rate of the hydroxyl radical, DPPH, and ABTS•+ scavenging rate were performed in light of the method reported by the references [18,19,20,21,22,23,24,25].
2.6. Inhibitory Activities Against Enzymes
2.6.1. Inhibitory Activities Against α-Amylase
The method adopted to determine the inhibitory activities against α-amylase by the extracts of quinoa samples was as described by Hemalatha, Bomzan, Rao, and Sreerama [2], and the soluble starch was used as substrate, while acarbose was the positive control in the inhibition assays. Different concentrations of acarbose were prepared with a pH 6.9 phosphate buffer.
2.6.2. Inhibitory Activities Against α-Glucosidase
The inhibitory activity of the extracts of quinoa against α-glucosidase was determined by the method described byHemalatha, Bomzan, Rao, and Sreerama [2].
2.6.3. Inhibition Kinetics Against α-Amylase
The determinations of the inhibition kinetics against α-amylase by quinoa extracts were performed in light of the method by Zhao et al. [26]. A gradient of maize starch solution (1.25, 2.5, 5, 10 mg/mL) was kept under 90 °C for 15 min until gelatinized to be the substrate. The solution of α-amylase (50 μL) was mixed with 50 μL extract from the quinoa samples, and the mixture was kept at 4 °C for 15 min. The digestion started as soon as 4 mL of the substrate was poured in. The production processes to calculate the reaction rate were the methods reported by Uysal et al. [27] and Zhao et al. [26]. The constants of inhibition kinetics of quinoa extracts against α-amylase were calculated by the Dixon equation, and then those constants determined the inhibition type.
The inhibition kinetics of quinoa extracts against α-glucosidase were studied as follows: The substrate (maltose) was configured at different concentrations of 5, 10, 15, 20, and 25 mM, and then the substrate was mixed with α-glucosidase without the inhibitor, and with 7.5 mg/mL and 15 mg/mL of quinoa extracts in phosphate buffer pH 7.2 (0.1 M) to be incubated at 37 °C, and the content of glucose in the digest was mensurated using the glucose oxidase method. The nature of inhibition was constructed from the double reciprocal plots of enzyme kinetics relying on the Lineweaver and Burk method. Depending on the Lineweaver–Burk plots (1/S vs. 1/V), Km and Vmax values were calculated [28].
2.7. Statistics
Statistical analyses for the results of this paper were accomplished using SPSS 18, a statistics software supplied by IBM Corporation, New York, NY, USA. The Tukey-b test for p < 0.01 was used to establish significant differences by one-way analysis of variance (ANOVA). The Original 9.0 software was used to draw the related charts. All experiments were in triplicate.
3. Results
3.1. Effect of HUMVP on the Saponin Content in Quinoa
As shown in Figure 2A, an increase in pressure (from 0.2 to 0.45 MPa) resulted in a significant reduction in quinoa saponin levels by 24.90% (p < 0.01), decreasing from 19.68 to 14.78 mg/g, in comparison to the sample treated at 0.1 MPa. Additionally, the duration of HUMVP treatment influenced saponin levels, with a 12.99% variation observed as treatment time increased from 2 to 6 min. Notably, saponin levels initially rose to 20.54 mg/g from the starting value of 17.37 mg/g and then declined to 16.38 mg/g due to the pH value increasing from 5 to 8.5 (Figure 2B). The saponin level in quinoa was the highest at pH 7, demonstrating an 18.25% increase compared to levels at pH 5.
Figure 2.
Effect of HUMVP conditions on saponin, polyphenol, and flavonoid content. (A)—effect of pressure on content; (B)—effect of time on content; (C)—effect of pH on content; (D)—effect of the interaction between pressure and pH on saponin content in quinoa.
The impact of pH adjustments in the water, along with variations in pressure and treatment duration during HUMVP, was assessed for its effect on total phenolic content (TPC) and total flavonoid content (TFC). Notably, both TPC (from 298.32 to 210.12 mg/100 g) and TFC (from 1.82 to 1.23 mg/g) exhibited a significant reduction with increasing pressure, reaching their peak values at a pH of 7.0 (Figure 2C).
To determine the optimal conditions for minimizing saponin content in quinoa samples, an investigation into the HUMVP treatment was conducted, and the results were shown in Table 1. The saponin content was significantly affected by the time, pressure, pH, and the interaction between pressure and pH during HUMVP treatment (Figure 2D). Compared to raw quinoa, the quinoa sample treated under the optimal HUMVP conditions (Q2HUMVP) retained 95.20% of polyphenols, 73.06% of flavonoids, and 57.35% of saponins. In contrast, the dehulled quinoa sample (Q2MM) retained 75.21% of polyphenols, 77.63% of flavonoids, and 67.17% of saponins. Notably, the TPC value in Q2HUMVP reached its maximum at 327.22 mg GAE/100 g, with saponin content minimized to 10.65 mg/g, the lowest among all samples, while flavonoid content measured at 1.60 mg/g.
Table 1.
The optimum HUMVP treatment depending on the content of saponin, TPC, flavonoid, and antioxidant activity in quinoa.
The optimal HUMVP conditions for quinoa, aiming to minimize saponin content and enhance bioactive antioxidation, involved the following steps: The quinoa grains were moistened with water (pH 6.0, equivalent to 6% of the quinoa in weight). Subsequently, the quinoa grains were heated to 0.35, and this pressure was maintained for 4 min. Afterwards, the pressure was released gradually at a constant drop-pressure until it returned to normal, and the quinoa samples were rapidly cooled by pumping air into the settle.
The experimental results for •OH, DPPH•, and ABTS•+ scavenging rate in HUMVP-treated quinoa samples are presented in Table 1. Under the optimized conditions, the scavenging rates of •OH, DPPH•, and ABTS•+ were 69.89, 91.87, and 52.18% and not 70.02%, respectively. Notably, the values of •OH, DPPH, and ABTS•+ scavenging rate were significantly affected by the treatment time and pressure, with the most substantial impact arising from the interaction between pressure and treatment time (Table 1).
3.2. Enzyme Inhibitory Activities
The inhibitory IC50 values of the quinoa sample extracts on α-amylase and α-glucosidase are shown in Table 2. The IC50 α-amylase value of the quinoa sample extracts ranged from 180.14 to 190.97%, and the IC50 α-amylase value of the Q2HUMVP was significantly higher than that of the raw quinoa sample (p < 0.05). Conversely, the IC50 α-glucosidase value of the quinoa sample extracts ranged from 80.37 to 86.70%. The IC50 α-glucosidase value of the Q2HUMVP was significantly higher than that of the raw quinoa sample (p < 0.05) and lower than that of Q2MM (p < 0.05). Furthermore, it is worth noting that the IC50 α-glucosidase value was much lower than the IC50 α-amylase value, which was consistent with the results in previous research literature. For instance, Gao [29] reported that the IC50 α-amylase value and the IC50 α-glucosidase of green tea extract were 4020.16 μg/mL and 4.42 μg/mL separately [29]. The IC50 α-amylase value and the IC50 α-glucosidase of Salvia eriophora (S. eriophora) leaf extracts were 8.88 μg/mL and 2.94 μg/mL, respectively [24]. Hemalatha [2] found the IC50 α-amylase and IC50 α-glucosidase values of whole grain quinoa extract were 163.52 μg/mL and 72.36 μg/mL separately [2]. Meng [13] extracted total flavonoid myricetin and quercetin from Hovenia dulcis Thunb by ethanol and found the IC50 α-amylase and IC50 α-glucosidase values were 32.8 μg/mL, 662 μg/mL, and 770 μg/mL and 8 μg/mL, 3 μg/mL, and 32 μg/mL, respectively [13]. However, there were different results in a study by Pramod [30], who found that the IC50 α-amylase values of ethanol extracts and water extracts from the plant Alternanthera Pungens Kunth in India were 6.96 μg/mL and 7.54 μg/mL, respectively, and the IC50 α-glucosidase value were 76.78 μg/mL and 70.62 μg/mL, respectively. This suggests that the inhibitory effect of the extraction on α-amylase was stronger than on α-glucosidase. The extract from the plant (Alternanthera Pungens Kunth) contains saponins, alkaloids, steroids, triterpenes, white anthocyanins, and other compounds. The variation in the composition ratio may be the cause of the difference in the inhibitory activity against α-amylase and α-glucosidase [31]. The observed lower inhibitory activity of the extract against α-amylase in comparison to α-glucosidase may indicate a preferred strategy for effectively regulating the release of glucose from intestinal disaccharides. This strategy involves achieving moderate amylase inhibition and strong glucosidase inhibition. However, the strong α-amylase inhibitors might cause undigested sugars in the colon to subsequently abnormally ferment, causing gastrointestinal problems [28,32].
Table 2.
Inhibition activity of extraction from quinoa on α-amylase and α-glucosidase (µg/mL).
Comparing the inhibitory activities against α-amylase and α-glucosidase of the quinoa extracts and the in vitro digestive system (Table 2), it becomes evident that the IC50 α-amylase and IC50 α-glucosidase values of the quinoa digestive system were several times higher than those of the undigested quinoa sample extract. Herrera [32] reported that the inhibitory activities of fenugreek extracts and quinoa extracts against pancreatic lipase were found to be more effective than those of the in vitro digestive process. Explaining these results is complex and multifaceted because the inhibitory effect can be influenced by enzyme activity, interactions among reaction components, changes in extract components during the extraction process, etc. Some researchers have attributed such findings to the degradation of biologically active compounds during intestinal digestion. Ercan [31] observed that the activity of the in vitro digestive processes for chickpea and the saponins extracted from Tribulus terrestris were lower than their activity before digestion.
3.3. Correlation Between IC50 α-amylase and IC50 α-glucosidase Values and the Content of Polyphenols, Flavonoids, and Saponins in Quinoa
The results of the correlation analysis between the IC50 α-amylase and IC50 α-glucosidase values and the content of polyphenols, flavonoids, and saponins in quinoa are shown in Table 3. The treatment method significantly affected the content of polyphenols and flavonoids in undigested quinoa, the content of flavonoids and saponins in the digestive quinoa samples, and the IC50 α-glucosidase value in the quinoa extract (p < 0.05). Moreover, the treatment method had an extremely significant effect on the IC50 α-amylase value in quinoa sample extract, the IC50 α-amylase and IC50 α-glucosidase value in quinoa digestive, and the content of polyphenols in quinoa digestive (p < 0.01). The IC50 α-amylase and IC50 α-glucosidase values of the quinoa extract were extremely significantly correlated with the polyphenol content in quinoa samples (p < 0.01). The content of flavonoids in quinoa samples was significantly correlated with the IC50 α-amylase and IC50 α-glucosidase value in quinoa digestive samples (p < 0.05). Additionally, the content of polyphenols and flavonoids in the digestive samples demonstrated a high correlation with the IC50 α-amylase and IC50 α-glucosidase values in the digestive (p < 0.01).
Table 3.
The relativity of polyphenol, flavonoid, and saponin contents in quinoa samples to the inhibitory IC50 of α-amylase and α-glucosidase.
3.4. Inhibition Kinetics
The inhibition kinetics of quinoa extractions on starch digestion were studied to elucidate the inhibition mechanisms and patterns. The results are illustrated in Figure 3, and the rate lines (Figure 3A,C,E) went through the origin, which indicates that the inhibition type of Q2QQ, Q2MM, and Q2HUMVP against α-amylase was reversible. Reversible inhibition implies that there is no accumulation effect in vivo, suggesting that it should be safe to develop functional foods using quinoa extracts [13].
Figure 3.
Inhibition kinetics and Lineweaver–Burk plots of α-amylase by quinoa samples: ((A)—Q2QQ, (C)—Q2MM, (E)—Q2HUMVP; double reciprocal plots (B)—Q2QQ, (D)—Q2MM, (F)—Q2HUMVP), (1/V, no inhibition; 1/V1, 50 µL inhibition; 1/V2, 100 µL inhibition).
The inhibition mode was determined based on the Lineweaver–Burk plots (Figure 3B,D). In these plots, the inhibition kinetics curves of Q2QQ and Q2MM intersected in the first quadrant, indicating that the inhibition type of Q2QQ and Q2MM against α-amylase was competitive. Conversely, the inhibition kinetics curves of Q2HUMVP crossed in the second quadrant, suggesting that the inhibition type of Q2HUMVP against α-amylase involved a combination of competitive and non-competitive mechanisms.
The effects of the three quinoa sample extractions on initial reaction rates are depicted in Figure 4. In these plots, the rate lines (Figure 4A,C,E) went through the origin, signifying the inhibition type of Q2QQ, Q2MM, and Q2HUMVP against α-glucosidase was reversible inhibition. Lineweaver–Burk plots, presented in Figure 4B,D, illustrate that the inhibition kinetics curves of Q2QQ, Q2MM, and Q2HUMVP for α-glucosidase crossed in the X-axis, implying the inhibition type of Q2QQ, Q2MM, and Q2HUMVP on α-glucosidase was non-competitive. The results were consistent with the findings of Nagmoti and Juvekar [28], who observed that the mechanism of the P. dulce seeds extract against α-glucosidase inhibition was of a reversible, non-competitive nature.
Figure 4.
Inhibition kinetics and Lineweaver–Burk plots of α-glucosidase by quinoa samples: ((A)—Q2QQ, (C)—Q2MM, (E)—Q2HUMVP; double reciprocal plots (B)—Q2QQ, (D)—Q2MM, (F)—Q2HUMVP), (1/V, no inhibition; 1/V1, 50 µL inhibition; 1/V2, 100 µL inhibition).
4. Conclusions
Decreasing the saponin content in quinoa is an essential step in the production of quinoa-based foods to mitigate the bitter taste. However, this process often leads to significant nutrient and bioactive material loss. The HUMVP process applied to quinoa effectively decreased saponin levels while preserving more nutrients and bioactive functional components. Compared to raw quinoa, the optimal HUMVP treatment (Q2HUMVP) retained 95.20% of polyphenols, 73.06% of flavonoids, and 23.13% of saponins, maintaining higher levels of TPC and TFC and a lower level of saponin than dehulled quinoa. Furthermore, the Q2HUMVP quinoa extract exhibited superior inhibitory activity against α-amylase and α-glucosidase compared to dehulled quinoa samples (Q2MM). Interestingly, the inhibitory activity of the digestive system of the optimized quinoa (Q2HUMVP) against α-amylase and α-glucosidase did not significantly differ from that of raw quinoa (Q2QQ). The type of inhibition observed in the quinoa samples (Q2QQ, Q2MM, Q2HUMVP) against α-amylase and α-glucosidase was reversible inhibition. Further studies are required to gain a deeper understanding of the effects on the composition, structure, and activities of the polyphenols, flavonoids, and saponins involved in quinoa processing. In conclusion, this study’s primary goal was to assess the impact of HUMPV conditions on quinoa’s ability to retain nutrients while lowering saponins and the findings support this purpose.
Author Contributions
Conceptualization, L.W. and A.W.; methodology, L.W. and A.W.; formal analysis, L.W. and A.W.; data curation, L.W. and A.W.; investigation, L.W. and A.W.; resources, L.W. and A.W.; writing—original draft preparation, L.W. and A.W.; writing—review and editing, L.W. and A.W.; visualization, L.W. and A.W.; supervision, L.W. and A.W. All authors have read and agreed to the published version of the manuscript.
Funding
The authors acknowledge financial support by the Chinese National Natural Science Foundation (Grant No. 31201294). The project was supported by the Scientific Research Start-up Fund Project of High-level Talents of Henan University of Technology (2021BS057) and the Henan Province Key R&D Special Project, Key processing technology and application demonstration of traditional characteristic wheat flour food (221111112000).
Data Availability Statement
The original contributions presented in the study are included in the article, further inquiries can be directed to the corresponding author.
Conflicts of Interest
There are no conflicts of interest to declare.
References
- Huang, K.; Liu, Y.Y.; Zhang, Y.; Cao, H.W.; Luo, D.K.; Yi, C.P.; Guan, X. Formulation of plant-based yoghurt from soybean and quinoa and evaluation of physicochemical, rheological, sensory and functional properties. Food Biosc. 2022, 49, 101831. [Google Scholar] [CrossRef]
- Hemalatha, P.; Bomza, D.P.; Sathyendra Ra, B.V.; Sreerama, Y.N. Distribution of phenolic antioxidants in whole and milled fractions of quinoa and their inhibitory effects on α-amylase and α-glucosidase activities. Food Chem. 2016, 199, 330–338. [Google Scholar] [CrossRef] [PubMed]
- Chandrasekara, A.; Shahidi, F. Inhibitory activities of soluble and bound millet seed phenolics on free radicals and reactive oxygen species. J. Agr. Food Chem. 2011, 59, 428–436. [Google Scholar] [CrossRef]
- Lanzerstorfer, P.; Rechenmacher, E.; Lugmayr, O.; Stadlbauer, V.; Höglinger, O.; Vollmar, A.; Weghuber, J. Effects of Various Commercial Whole-Grain Breads on Postprandial Blood Glucose Response and Glycemic Index in Healthy Subjects. Austin J. Clin. Med. 2018, 5, id1031. [Google Scholar]
- Berti, C.; Riso, P.; Monti, L.D.; Porrini, M. In vitro starch digestibility and in vivo glucose response of gluten free foods & their gluten counterparts. Eur. J. Nutr. 2004, 43, 198–204. [Google Scholar]
- Hirose, Y.; Fujita, T.; Ishii, T.; Ueno, N. Antioxidative properties and flavonoid composition of Chenopodium quinoa seeds cultivated in Japan. Food Chem. 2010, 119, 1300–1306. [Google Scholar] [CrossRef]
- Vega-Galvez, A.; Miranda, M.; Vergara, J.; Uribe, E.; Puente, L.; Martinez, E.A. Nutrition facts and functional potential of quinoa (Chenopodium quinoa Willd.), an ancient Andean grain: A review. J. Sci. Food Agr. 2010, 90, 2541–2547. [Google Scholar] [CrossRef]
- Nickel, J.; Spanier, L.P.; Botelho, F.T.; Gularte, A.; Helbig, E. Effect of different types of processing on the total phenolic compound content, antioxidant capacity, and saponin content of Chenopodium quinoa Willd grains. Food Chem. 2016, 209, 139–143. [Google Scholar] [CrossRef]
- D’Amicoa, S.D.; Jungkunz, S.; Balasz, G.; Foeste, M.; Jekle, M.; Tömösköszi, S.; Schoenlechner, R. Abrasive milling of quinoa: Study on the distribution of selected nutrients and proteins within the quinoa seed kernel. J. Cereal Sci. 2019, 86, 132–138. [Google Scholar] [CrossRef]
- Wu, L.G.; Wang, A.N.; Shen, R.L.; Qu, L.B. The effect of slight milling on nutritional composition and morphology of quinoa (Chenopodium) grain. Int. J. Food Eng. 2020, 16, 20190371. [Google Scholar] [CrossRef]
- Bhandari, M.R.; Jong-Anurakkun, N.; Hong, G.; Kawabata, J. α-glucosidase and α-amylase inhibitory activities of Nepalese medicinal herb Pakhanbhed (Bergenia Ciliata, haw). Food Chem. 2008, 106, 247–252. [Google Scholar] [CrossRef]
- Hernandez-Saavedra, D.; Mendoza-Sanchez, M.; Hernandez-Montiel, H.L.; Guzman-Maldonado, H.S.; Loarca-Pina, G.F.; Salgado, L.M.; Reynoso-Camacho, R. Cooked common beans (Phaseolus vulgaris) protect against beta-cell damage in streptozotocininduceddiabetic rats. Plant Foods Hum. Nutr. 2013, 68, 207–212. [Google Scholar] [CrossRef]
- Meng, Y.H.; Su, A.P.; Yuan, S.; Zhao, H.G.; Tan, S.Y.; Hu, C.Y.; Deng, H.; Guo, Y.R. Evaluation of Total Flavonoids, Myricetin, and Quercetin from Hovenia dulcis Thunb. As Inhibitors of α-Amylase and α-Glucosidase. Plant Foods Hum. Nutr. 2016, 71, 444–449. [Google Scholar] [CrossRef] [PubMed]
- Anna, W.; Ligen, W. The Method of Manufactory of the Heating Under Micro Variable Pressure (HUMVP) Equipment. China 202111478154.8, 2021. [Google Scholar]
- Kumar, M.; Dahuja, A.; Sachdev, A.; Kaur, C.; Varghese, E.; Saha, S.; Sairam, K.V.S.S. Evaluation of enzyme and microwave-assisted conditions on extraction of anthocyanins and total phenolics from black soybean (Glycine max L.) seed coat. Int. J. Biol. Macromol. 2019, 135, 1070–1081. [Google Scholar] [CrossRef]
- Ando, H.; Chen, Y.C.; Tang, H.; Shimizu, M.; Mitsunaga, T. Food components in fractions of quinoa seed. Food Sci. Technol. Res. 2002, 8, 80–84. [Google Scholar] [CrossRef]
- Jia, Z.S.; Tang, M.C.; Wu, J.M. The determination of flavonoid contents in mulberry and their scavenging effects on superoxide radicals. Food Chem. 1999, 64, 555–559. [Google Scholar]
- Han, Y.M.; Chi, J.W.; Zhang, M.W.; Zhang, R.F.; Fan, S.H.; Huang, F.; Liu, L. Changes in saponins, phenolics and antioxidant activity of quinoa (Chenopodium quinoa willd) during milling process. LWT-Food Sci. Technol. 2019, 114, 108381. [Google Scholar] [CrossRef]
- Mariola, S.Z.; Ewa, R.; Danuta, K.; Barbara, L. Antioxidant properties of coffee substitutes rich in polyphenols and minerals. Food Chem. 2019, 278, 101–109. [Google Scholar]
- Cai, L.L.; Chen, B.H.; Yi, F.L.; Zou, S.S. Optimization of extraction of polysaccharide from dandelion root by response surface methodology: Structural characterization and antioxidant activity. Int. J. Biol. Macromol. 2019, 140, 907–919. [Google Scholar] [CrossRef]
- Jan, K.N.; Panesar, P.S.; Singh, S.C. Optimization of antioxidant activity, textural and sensory characteristics of gluten-free cookies made from whole indian quinoa flour. LWT-Food Sci Technol. 2018, 93, 573–582. [Google Scholar]
- Xie, J.H.; Wang, Z.J.; Shen, M.Y.; Nie, S.P.; Gong, B.; Li, H.S.; Zhao, Q.; Li, W.J.; Xie, M.Y. Sulfated modification, characterization and antioxidant activities of polysaccharide from Cyclocarya paliurus. Food Hydrocolloid. 2016, 53, 7–15. [Google Scholar] [CrossRef]
- Vulic, J.J.; Ćebović, T.N.; Čanadanović-Brunet, J.M.; Ćetković, G.S.; Čanadanović, V.M.; Djilas, S.M.; Šaponjac, V.T.T. In vivo and in vitro antioxidant effects of beetroot pomace extracts. J. Funct. Foods 2014, 6, 168–175. [Google Scholar] [CrossRef]
- Bursal, E.; Aras, A.; Kiliҫ, Ö.; Taslimi, P.; Gören, A.C.; Gülҫin, İ. Phytochemical content, antioxidant activity, and enzyme inhibition effect of Salvia eriophora Boiss. & Kotschy against acetylcholinesterase, α-amylase, butyrylcholinesterase, and α-glycosidase enzymes. J. Food Biochem. 2019, 43, 12776. [Google Scholar]
- Wang, K.; Zhang, J.L.; Ping, S.; Ma, Q.X.; Chen, X.; Xuan, H.Z.; Shi, J.H.; Zhang, C.P.; Hu, F.L. Anti-inflammatory effects of ethanol extracts of Chinese propolis and buds from poplar (Populus × canadensis). J. Ethnopharmacol. 2014, 155, 300–311. [Google Scholar] [CrossRef] [PubMed]
- Zhao, T.; Sun, L.J.; Wang, Z.C.; Nisar, T.; Gong, T.; Li, D.; Niu, P.F.; Guo, Y.R. The antioxidant property and α-amylase inhibition activity of young apple polyphenols are related with apple varieties. LWT-Food Sci. Technol. 2019, 111, 252–259. [Google Scholar] [CrossRef]
- Uysal, S.; Sinan, K.I.; Jekő, J.; Cziáky, Z.; Zengin, G. Chemical characterization, comprehensive antioxidant capacity, and enzyme inhibitory potential of leaves from Pistacia terebinthus L. (Anacardiaceae). Food Biosc. 2022, 48, 101820. [Google Scholar]
- Nagmoti, D.M.; Juvekar, A.R. In vitro inhibitory effects of Pithecellobium dulce (Roxb.) Benth. seeds on intestinal α-glucosidase and pancreatic α-amylase. J. Biochem. Technol. 2013, 4, 616–621. [Google Scholar]
- Gao, J.J.; Xu, P.; Wang, Y.F.; Wang, Y.Q. Combined effects of green tea extracts, green tea polyphenols or epigallocatechin gallate with acarbose on inhibition against a-amylase and a-glucosidase in vitro. Molecules 2013, 18, 11614–11623. [Google Scholar] [CrossRef]
- Pramod, M.; Gurdeep, S.; Neetesh, J.; Gupta, M.K. In-vitro studies on inhibition of alpha amylase and alpha glucosidase by plant extracts of alternanthera Pungens kunth. J. Drug Deliv. Ther. 2018, 8, 64–68. [Google Scholar]
- Ercan, P.; Nehir-El, S. Inhibitory effects of chickpea and Tribulus terrestris on lipase, α-amylase and α-glucosidase. Food Chem. 2016, 205, 163–169. [Google Scholar] [CrossRef]
- Herrera, T.; Hierro, J.N.D.; Fornari, T.; Reglero, G.; Martin, D. Inhibitory effect of quinoa and fenugreek extracts on pancreatic lipase and α-amylase under in vitro traditional conditions or intestinal simulated conditions. Food Chem. 2019, 270, 509–517. [Google Scholar] [CrossRef] [PubMed]
Disclaimer/Publisher’s Note: The statements, opinions and data contained in all publications are solely those of the individual author(s) and contributor(s) and not of MDPI and/or the editor(s). MDPI and/or the editor(s) disclaim responsibility for any injury to people or property resulting from any ideas, methods, instructions or products referred to in the content. |
© 2024 by the authors. Licensee MDPI, Basel, Switzerland. This article is an open access article distributed under the terms and conditions of the Creative Commons Attribution (CC BY) license (https://creativecommons.org/licenses/by/4.0/).



