Numerical Approximation for a Nonlocal and Nonlinear Reaction–Diffusion Problem with Robin Boundary Conditions
Abstract
1. Introduction
- , , , and are positive values, standing for the speed, diffusion, reaction, source, and thermal transfer parameters, respectively;
- and are given real functions;
- represents the surface element in the surface integral;
- J and G are symmetric non-negative real functions in compactly supported in the unit ball such that and . We set
- is the initial condition.
2. Existence and Uniqueness of the Solution to Problem (1)
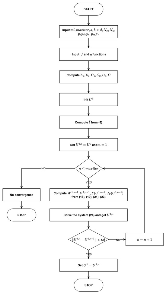
3. Numerical Approximation
- We need to obtain and solve the linear system (24) for each Newton iteration.
| Algorithm 1: NEWTON ALGORITHM |
| Input: |
| , , |
| p, , , , , |
| , , , , , C |
| Output: |
| —the approximative solution of (1) at |
| Initialize |
| Compute from (6) |
| For to |
| Compute , , , from (18), (19), (21), (23) |
| Solve the system (24) and get the solution |
| If then break |
| If |
| Else |
| ‘No convergence’ |
4. Numerical Experiments
5. Conclusions
Author Contributions
Funding
Institutional Review Board Statement
Data Availability Statement
Acknowledgments
Conflicts of Interest
References
- Croitoru, A.; Moroşanu, C. On the existence and numerical approximation of a nonlocal and nonlinear second-order boundary value problem with in-homogeneous Cauchy-Newmann boundary condition. Case 2D. Discret. Contin. Dyn. Syst.-S 2005. [Google Scholar] [CrossRef]
- Bates, P.W.; Brown, S.; Han, J. Numerical analysis for a nonlocal Allen-Cahn equation. Int. J. Numer. Anal. Model. 2009, 6, 33–49. [Google Scholar]
- Bogoya, M.; Gómez, J. On a nonlocal diffusion model with Neumann boundary conditions. Nonlinear Anal. 2012, 75, 3198–3209. [Google Scholar] [CrossRef]
- Miranville, A. Some mathematical models in phase transition. Discret. Contin. Dyn. Syst.-S 2014, 7, 271–306. [Google Scholar] [CrossRef]
- Miranville, A.; Moroşanu, C. Qualitative and Quantitative Analysis for the Mathematical Models of Phase Separation and Transition. Aplications; American Institute of Mathematical Sciences, Differential Equations & Dynamical Systems: Springfield, IL, USA, 2020; Volume 7, Available online: https://www.aimsciences.org/fileAIMS/cms/news/info/28df2b3d-ffac-4598-a89b-9494392d1394.pdf (accessed on 1 October 2024).
- Moroşanu, C. Analysis and Optimal Control of Phase-Field Transition System: Fractional Steps Methods; Bentham Science Publishers: Oak Park, IL, USA, 2012. [Google Scholar] [CrossRef]
- Stoleriu, I. Non-local models for solid-solid phase transitions. ROMAI J. 2011, 7, 157–170. [Google Scholar]
- Croitoru, A.; Moroşanu, C.; Tănase, G. Well-posedness and numerical simulations of an anisotropic reaction-diffusion model in case 2D. J. Appl. Anal. Comput. 2021, 11, 2258–2278. [Google Scholar] [CrossRef] [PubMed]
- Moroşanu, C.; Pavăl, S. Rigorous Mathematical Investigation of a Nonlocal and Nonlinear Second-Order Anisotropic Reaction-Diffusion Model: Applications on Image Segmentation. Mathematics 2021, 9, 91. [Google Scholar] [CrossRef]
- Moroşanu, C.; Satco, B. Qualitative and quantitative analysis for a nonlocal and nonlinear reaction-diffusion problem with in-homogeneous Neumann boundary conditions. Discret. Contin. Dyn. Syst.-S 2013, 16, 1–15. [Google Scholar] [CrossRef]
- Moşneagu, A.-M. On some local and nonlocal reaction-diffusion models with Robin boundary conditions. Discret. Contin. Dyn. Syst.-S 2023, 16, 104–125. [Google Scholar] [CrossRef]
- Moşneagu, A.-M.; Stoleriu, I. An adaptive time-step method for a nonlocal version of the Allen-Cahn equation. Discret. Contin. Dyn. Syst.-S 2024. [Google Scholar] [CrossRef]
- Pérez-Llanos, M.; Rossi, J.D. Blow-up for a non-local diffusion problem with Neumann boundary conditions and a reaction term. Nonlinear Anal. 2009, 70, 1629–1636. [Google Scholar] [CrossRef]
- Banerjee, M.; Kuznetsov, M.; Udovenko, O.; Volpert, V. Nonlocal Reaction–Diffusion Equations in Biomedical Applications. Acta Biotheor. 2022, 70, 12. [Google Scholar] [CrossRef]
- Barbu, T.; Miranville, A.; Moroşanu, C. On a Local and Nonlocal Second-Order Boundary Value Problem with In-Homogeneous Cauchy–Neumann Boundary Conditions. Applications in Engineering and Industry. Mathematics 2024, 12, 2050. [Google Scholar] [CrossRef]
- Croitoru, A.; Tănase, G. On a nonlocal and nonlinear second-order anisotropic reaction-diffusion model with in-homogeneous Neumann boundary conditions. Discret. Contin. Dyn. Syst.-S 2023, 16, 75–88. [Google Scholar] [CrossRef]
- Miranville, A.; Moroşanu, C. Analysis of an iterative scheme of fractional steps type associated to the nonlinear phase-field equation with non-homogeneous dynamic boundary conditions. Discret. Contin. Dyn. Syst. Ser.-S 2016, 9, 537–556. [Google Scholar] [CrossRef]
- Croitoru, A.; Moroşanu, C. Analysis of an iterative scheme of fractional steps type associated to the phase-field equation endowed with a general nonlinearity and Cauchy-Neumann boundary conditions. J. Math. Anal. Appl. 2015, 425, 1225–1239. [Google Scholar] [CrossRef]
- Fetecău, C.; Moroşanu, C. Fractional Step Scheme to Approximate a Non-Linear Second-Order Reaction–Diffusion Problem with Inhomogeneous Dynamic Boundary Conditions. Axioms 2023, 12, 406. [Google Scholar] [CrossRef]
- Fetecău, C.; Moroşanu, C.; Stoicescu, D.C. Fractional Steps Scheme to Approximate the Phase Field Transittion System Endowed with Inhomogeneous/Homogeneous Cauchy-Neumann/Neumann Boundary Conditions. Axioms 2023, 12, 1098. [Google Scholar] [CrossRef]
- Fetecău, C.; Moroşanu, C.; Pavăl, S.D. On the Convergence of an Approximation Scheme of Fractional-Step Type, Associated to a Nonlinear Second-Order System with Coupled In-Homogeneous Dynamic Boundary Conditions. Axioms 2024, 13, 286. [Google Scholar] [CrossRef]
- Moşneagu, A.-M.; Tănase, G. A second-order fractional-steps method to approximate a nonlinear reaction-diffusion equation with non-homogeneous Robin boundary conditions. Discret. Contin. Dyn. Syst.-S 2025. [Google Scholar] [CrossRef]
- Tănase, G. A first-order fractional–steps–type method to approximate a nonlinear reaction–diffusion equation with homogeneous Cauchy–Neumann boundary conditions. Discret. Contin. Dyn. Syst.-S 2024, 18, 566–577. [Google Scholar] [CrossRef]
- Barbu, T. Deep learning-based multiple moving vehicle detection and tracking using a nonlinear fourth-order reaction-diffusion based multi-scale video object analysis. Discret. Contin. Dyn. Syst.-S AIMS J. 2023, 16, 16–32. [Google Scholar] [CrossRef]






Disclaimer/Publisher’s Note: The statements, opinions and data contained in all publications are solely those of the individual author(s) and contributor(s) and not of MDPI and/or the editor(s). MDPI and/or the editor(s) disclaim responsibility for any injury to people or property resulting from any ideas, methods, instructions or products referred to in the content. |
© 2025 by the authors. Licensee MDPI, Basel, Switzerland. This article is an open access article distributed under the terms and conditions of the Creative Commons Attribution (CC BY) license (https://creativecommons.org/licenses/by/4.0/).
Share and Cite
Barbu, T.; Moşneagu, A.-M.; Tănase, G. Numerical Approximation for a Nonlocal and Nonlinear Reaction–Diffusion Problem with Robin Boundary Conditions. Mathematics 2025, 13, 3498. https://doi.org/10.3390/math13213498
Barbu T, Moşneagu A-M, Tănase G. Numerical Approximation for a Nonlocal and Nonlinear Reaction–Diffusion Problem with Robin Boundary Conditions. Mathematics. 2025; 13(21):3498. https://doi.org/10.3390/math13213498
Chicago/Turabian StyleBarbu, Tudor, Ana-Maria Moşneagu, and Gabriela Tănase. 2025. "Numerical Approximation for a Nonlocal and Nonlinear Reaction–Diffusion Problem with Robin Boundary Conditions" Mathematics 13, no. 21: 3498. https://doi.org/10.3390/math13213498
APA StyleBarbu, T., Moşneagu, A.-M., & Tănase, G. (2025). Numerical Approximation for a Nonlocal and Nonlinear Reaction–Diffusion Problem with Robin Boundary Conditions. Mathematics, 13(21), 3498. https://doi.org/10.3390/math13213498

