You are currently on the new version of our website. Access the old version .
AerospaceAerospace
  • Article
  • Open Access

28 February 2025

Finite-Time Control for Satellite Formation Reconfiguration and Maintenance in LEO: A Nonlinear Lyapunov-Based SDDRE Approach

,
and
1
School of Advanced Technologies, Iran University of Science and Technology, Narmak, Tehran 1311416846, Iran
2
School of Aerospace Engineering, University of Tehran, North Kargar Street, Tehran 1417935840, Iran
*
Author to whom correspondence should be addressed.
This article belongs to the Section Astronautics & Space Science

Abstract

This paper introduces a nonlinear Lyapunov-based Finite-Time State-Dependent Differential Riccati Equation (FT-SDDRE) control scheme, considering actuator saturation constraints and ensuring that the control system operates within safe operational limits designed for satellite reconfiguration and formation-keeping in low Earth orbit (LEO) missions. This control approach addresses the challenges of reaching the relative position and velocity vectors within a defined timeframe amid various orbital perturbations. The proposed approach guarantees precise formation control by utilizing a high-fidelity relative motion model that incorporates all zonal harmonics and atmospheric drag, which are the primary environmental disturbances in LEO. Additionally, the article presents an optimization methodology to determine the most efficient State-Dependent Coefficient (SDC) form regarding fuel consumption. This optimization process minimizes energy usage through a hybrid genetic algorithm and simulated annealing (HGASA), resulting in improved performance. In addition, this paper includes a sensitivity analysis to identify the optimized SDC parameterization for different satellite reconfiguration maneuvers. These maneuvers encompass radial, along-track, and cross-track adjustments, each with varying baseline distances. The analysis provides insights into how different parameterizations affect reconfiguration performance, ensuring precise and efficient control for each type of maneuver. The finite-time controller proposed here is benchmarked against other forms of SDRE controllers, showing reduced error margins. To further assess the control system’s effectiveness, an input saturation constraint is integrated, ensuring that the control system operates within safe operational limits, ultimately leading to the successful execution of the mission.

1. Introduction

Formation flying, the coordinated motion of a group of vehicles that hold precise relative positions between them, is a concept that has the potential to unlock new and exciting capabilities in the satellite industry [1]. Formation flying can offer a multitude of advantages. These include enhanced on-orbit redundancy, increased reliability and survivability, and reduced costs [2,3]. Additionally, it enables the execution of more complex tasks through the collaboration of multiple satellites—tasks that a single satellite alone would not be able to accomplish [4]. This capability opens up a wide range of possibilities [5,6]. However, these benefits are not without their challenges, particularly in managing the dynamics and control of multiple satellites within the formation [7].
Earth Observation (EO) missions aim to improve our understanding of Earth’s natural phenomena through advanced observation techniques, particularly by using satellite formations instead of large individual satellites [8]. This approach enhances both temporal and spatial resolution, which is especially important for tasks like magnetic studies and multi-angular observations that require precise, in situ data collection [9]. Small satellites, however, face challenges related to limited power and size, making precise positioning through closed-loop control critical [10]. Multi-angular measurements from these formations provide more detailed and frequent insights into climate and environmental characteristics, such as aerosol types and land cover [11]. Unlike traditional single-satellite methods like those used by the Multi-angle Imaging Spectro-Radiometer (MISR) [12], and the Moderate-Resolution Imaging Spectro-Radiometer (MODIS) [13], satellite formations offer a cost-effective, high-resolution solution for monitoring Earth’s dynamic systems, improving data accuracy and timeliness [9].
In recent years, the research on formation flying is a hotbed of innovation [14] that encompasses various methods for formation control, addressing different facets of the issue, including relative spacecraft control, coupled mission objectives, and global fuel minimization [15]. When it comes to formation coordination approaches, formation control can be divided into some categories; for example, Leader/Follower, Virtual Structure, Behavior-Based Approach, Orbit Tracking, and Swarming [16]. Sparks [17] studied the effectiveness of LQR for satellite formation-keeping under the influence of gravity perturbations using the Clohessy–Wiltshire equation. Capó-Lugo and Bainum [18] employed the Carter–Humi equation and developed an LQR controller to preserve the separation between a pair of satellites. Scala [8] recently discussed employing MPC and LQR controllers for formation-keeping and reconfiguration problems, considering a system of relative orbital elements equation that accounts for drag perturbations in different geometry and numbers of satellites.
Within the State-Dependent Riccati Equation technique framework, Park et al. [19] introduced two types of nonsingular and nonlinear relative equations of motion with and without J 2 perturbation. Subsequently, they proposed an SDRE controller for these equations and assessed their performance against LQR and LPV controllers applied to relative motion models introduced in the literature. However, they should have considered the perturbations on the target satellite, resulting in lower outcome accuracy. Massari and Bernelli-Zazzera [20] suggested an SDRE controller and filter for relative position control of satellite formations with a collision avoidance option. Then, Massari and Zamaro [21] applied an SDRE controller and filter to coupled relative orbit and attitude dynamics without considering any perturbation in their calculations. Franzini and Innocenti [22] examined the nonlinear S D R E H controller for terminal rendezvous and formation control in the presence of the J 2 and drag perturbation. Navabi and Akhloumadi [23] utilized the nonlinear SDRE technique to address coupled relative rotational and translational motion in spacecraft for both far- and close-range rendezvous and compared its results with LQR. Bilal et al. [24] developed an SDRE controller using nonlinear relative dynamics, considering J 2 perturbation for the formation-keeping issue. Although their approach included considering the second zonal harmonic perturbation, incorporation of the drag force is also necessary for low Earth orbit missions. Rouzegar et al. [25] proposed an on/off SDRE controller for the control of spacecraft formation flying around the Sun-Earth L2 libration point, taking into account the dynamics of the circular restricted three-body problem (CRTBP).
While the previously discussed studies ensure the asymptotic stability of the Satellite formation flying system, they do not address the need for faster convergence rates. To address this limitation, finite-time control methods have been developed, which ensure that system states converge to equilibrium within a finite time. Various finite-time control strategies are explored in the literature. For instance, finite-time sliding mode controllers have been proposed for NPC converters by Shen at al. [26,27], and a finite-time SDRE control method has been introduced for the Van Der Pol Oscillator in [28]. In the context of satellite formation flying, Wang et al. proposed a finite-time controller based on dual quaternions for the six degrees of freedom control problem of the dynamical synchronization between the leader and follower spacecraft with consideration of second zonal harmonics [29]. Additionally, Mathavaraj and Padhi [30] investigated the performance of both finite- and infinite-time LQR and SDRE controllers for formation-keeping using the Clohessy–Wiltshire equations, comparing their effectiveness across different scenarios. However, their analysis does not consider the effects of perturbations, which may significantly impact the performance of these controllers in practical applications.
This paper addresses multiple challenges, which are summarized as follows:
  • The paper accurately models satellite relative motion in near-Earth space by considering zonal harmonics and atmospheric drag acting on both the target and deputy satellites. Moreover, due to the perturbation in the space environment, the target orbit may be moved away from the nominal situation and become elliptical. Therefore, this article discusses a previously developed dynamics model by Bakhtiari et al. [31], which incorporates all zonal harmonics and atmospheric drag and can handle elliptical target orbits suitable for Earth observation.
  • The current study employs a Finite-Time State-Dependent Differential Riccati Equation (FT-SDDRE) method as a nonlinear controller to compute formation reconfiguration trajectories and develop a formation-keeping regulator. The outcomes were then compared to the classical SDRE and finite-time STM approaches to validate the superiority of the employed controller.
  • This paper presents a new approach for achieving a fuel-optimized SDC form, a crucial factor in the performance of the SDDRE controller. It involves using a hybrid genetic and simulated annealing algorithm to minimize fuel consumption during the mission. Additionally, a sensitivity analysis is conducted to evaluate the performance of various SDC forms for diverse mission classes.
The rest of the paper is divided into three main sections, followed by conclusions. In Section 2. the dynamics of relative motion and its governing equations are discussed. Section 3. covers the theory behind the Lyapunov-based Finite-Time State-Dependent Differential Riccati Equation. Section 4. addresses the implementation of the controller on the nonlinear relative motion equations, alongside the optimization technique used to derive the optimized SDC form. Section 5. includes numerical simulations for satellite reconfiguration and formation-keeping, showcasing the practical application of the introduced controller. It also compares these findings with results from other controllers in the existing literature to demonstrate the advantages of the suggested controller in this field, highlighting its potential impact on satellite control systems.

2. Relative Motion Dynamics

This section will outline the dynamics model that describes the relative motion between the target and deputy satellites. Reference [31] introduces a robust dynamics model that is precise at both close and far relative distances, accounting for perturbations in low Earth orbits, such as atmospheric drag and the Earth’s oblateness, without any simplifications. First, the target satellite’s equations of motion are modeled considering these perturbations using six hybrid orbital elements. Subsequently, the relative motion equations are derived using Lagrangian mechanics to incorporate these perturbations.

2.1. Nonlinear Dynamics Model for a Perturbed Target Orbit

In this study, two Cartesian coordinate systems are employed to analyze the satellite formation flying problem. The Earth-Centered Inertial (ECI) frame is used to describe the motion of the target satellite, while the Local-Vertical–Local-Horizontal (LVLH) frame, centered on the target satellite, is utilized to determine the motion of the deputy satellites. As depicted in Figure 1, the ECI coordinate system is defined by unit vectors ( X ^ , Y ^ , Z ^ ) , and the LVLH coordinate system is characterized by unit vectors ( x ^ , y ^ , z ^ ) . In addition, the position and velocity of the target satellite are represented by vectors r and r ˙ , respectively. These frames provide a basis for understanding the relative motion of the satellites in formation.
Figure 1. Schematic diagram of ECI and LVLH frames used in relative motion analysis.
The equations of motion for the target satellite were derived by incorporating the effects of all zonal harmonics and atmospheric drag. These calculations were performed using hybrid orbital elements ( r , v x , i , h , θ , Ω ) , which define the satellite’s orbital dynamics. These elements include geocentric distance r = r ^ , velocity in the radial direction v x , inclination i , angular momentum h = r ^ × r ^ ˙ , the argument of latitude θ , and right ascension of ascending node Ω . The resulting differential equations describing the target’s motion are as follows:
r ˙ = v x
v ˙ x = μ r 2 + h 2 r 3 ψ C V ^ a v x
h ˙ = r χ cos θ sin i C V ^ a ( h ω e r 2 cos i )
θ ˙ = h r 2 + r χ cos 2 i sin θ h sin i + C V ^ a ω e r 2 cos i sin 2 θ 2 h
i ˙ = r χ cos i cos θ h C V ^ a ω e r 2 sin i cos 2 θ h
Ω ˙ = r χ cos i sin θ h sin i C V ^ a ω e r 2 sin 2 θ 2 h
where V ^ a = V ^ ω ^ e × r ^ is the relative velocity of the target satellite to the atmosphere and, · denotes the Euclidean norm. In addition, ω ^ e = ω e Z ^ is the vector of rotation of the Earth around itself in the ECI frame. μ is the Earth’s gravitational constant. The expression C = c d A m is utilized to enhance the elucidation of the equations, where c d represents the drag coefficient, A is the cross-sectional area, and m is the satellite mass. In addition, the values for ψ and χ can be determined by applying Equations (7) and (8).
ψ ( r , cos φ ) = μ r 2 n = 2 J n ( R e r ) n ( n + 1 ) P n ( cos φ )
χ ( r , cos φ ) = 1 r U ( cos φ ) = μ r 2 n = 2 J n ( R e r ) n P n ( cos φ )
In these expressions, J n represents the zonal harmonic coefficient of the Earth, while, φ denotes the geocentric latitude of the satellite, which can be calculated using the relation cos φ = sin θ sin i [32]. P n refers to the Legendre polynomial, and R e is the Earth’s equatorial radius. Additionally, U represents the gravitational potential energy of the satellite.

2.2. Accurate Perturbed Relative Motion

This section presents the precise dynamic model of the deputy satellite relative to the target satellite, as displayed in Figure 2. In this figure, all terms containing the subscript j represent the j th deputy in the formation within the LVLH frame. The position of the deputy in the LVLH frame is given by ρ ^ j = x j x ^ + y j y ^ + z j z ^ . Consequently, the position vector of the deputy in the ECI frame can be determined using Equation (9), with the velocity being the time derivative of this position vector. This approach ensures accurate modeling of the deputy’s motion relative to the target, accounting for the complexities of satellite dynamics.
r j = r + ρ j = ( r + x j ) x ^ + ( y j ) y ^ + ( z j ) z ^
Figure 2. Schematic diagram of the deputy satellite relative to the target satellite.
Similarly to the target’s equations of motion, the equations governing the relative motion, which account for all zonal harmonics and atmospheric drag, are presented in Equations (10)–(12). These equations provide a comprehensive model that incorporates the key perturbative forces affecting satellite dynamics, ensuring accurate predictions for both short-term and long-term satellite formations.
x ¨ j = 2 y ˙ j ω z x j η j 2 ω z 2 + y j α z z j ω x ω z ζ j ξ sin i sin θ r η j 2 η C j V a ( x ˙ j y j ω z ) ( C j V a j C V j ) v x
y ¨ j = 2 x ˙ j ω z + 2 z ˙ j ω x x j α z y j ( η j 2 ω z 2 ω x 2 ) + z j α x ( ζ j ξ ) sin i cos θ C j V a j y ˙ j + x j ω z z j ω x ( C j V a j C V j ) ( h r ω e r cos i )
z ¨ j = 2 y ˙ j ω x x j ω x ω z y j α x z j ( η j 2 ω x 2 ) ( ζ j ξ ) cos i ( C j V a j C V a ) ω e r cos θ sin i
The terms χ j , η 2 , η j 2 , and r j Z are defined as follows:
χ j = 1 r j U cos ϕ j = μ r j 2 n = 2 J n ( R e r j ) n P n ( cos φ j )
η 2 = μ r 3 + 1 r ( ψ χ sin i sin θ )
η j 2 = μ r j 3 + 1 r j 5 ( ψ j χ r j Z r j )
r j Z = ( r + x j ) sin ( i ) sin ( θ ) + y j sin ( i ) cos ( θ ) + z j cos ( i )
In addition, the orbital rate ω x and steering rate ω z can be calculated using the following equations, and the orbital acceleration α x and steering acceleration α z can be extracted with a single derivative from these equations:
ω x = r χ cos i h C V ^ a ω e r 2 cos θ sin i h
ω z = h r 2
The obtained equations of the motion for both the deputy and target satellites are precise and free from approximations. They accurately account for short-term and long-term effects, including secular effects. This model’s versatility is evident in its suitability for long-duration flights and its applicability to both formation-keeping and reconfiguration missions [33]. For additional information regarding the derivation and coefficients used, please refer to Appendix A.

3. The Finite-Time State-Dependent Differential Riccati Equation Control Approach

In this work, a Finite-Time State-Dependent Differential Riccati Equation (SDDRE) approach is employed for satellite formation flying control. The State-Dependent Riccati Equation (SDRE) technique is highly regarded in the field of control systems for its ability to synthesize nonlinear feedback controls while accounting for system state nonlinearities. Additionally, it offers substantial design flexibility through the use of state-dependent weighting matrices. In this study, the SDRE approach is further enhanced by incorporating a finite-time constraint, resulting in the SDDRE. This modification is intended to improve the controller’s performance within a predefined time horizon, addressing the limitation of the classical SDRE method, which drives errors to zero asymptotically [31].
Asymptotic convergence is inadequate for satellite formation flying, where maintaining precise positioning in specific orbits is crucial. Unlike aerial vehicle formations, satellite formations must achieve specific relative position and velocity vectors within a fixed time frame. After reaching these targets, the satellite must maintain its desired orbit relative to the target satellite. Therefore, a finite-time optimal control framework is better suited to address the unique challenges of satellite formation flying [31].
Several techniques exist for solving the SDDRE. These include forward integration [34,35], approximating sequences of Riccati equations [36,37], iterative procedures [38], state transition matrices [39,40], approximate solutions [41], and backward integration [42]. The backward integration method necessitates a two-round (offline) solution, making it unsuitable for systems that frequently alter initial and final conditions due to constant perturbations in the space environment. In addition, the State Transition Matrix (STM) approach lacks computational robustness [43]. Thus, in the present work, a Lyapunov-based method for finite-time SDDRE is proposed, expanding upon the method developed by [28] to address time-varying non-affine systems.

3.1. Main Formulation

Considering the following nonlinear, time-varying dynamics:
x ˙ ( t ) = f ( x ( t ) , t ) + g ( x ( t ) , u ( t ) , t )
Here, f x t , t : R n × R + R n , and g x t , u t , t : R n × R m × R + R n represent the system’s dynamics, where n is the dimension of the state vector and m is the total number of actuators. The equilibrium point is f ( 0 , t ) = 0 [44].
It is notable to mention that the vectors f ( x ( t ) , t ) and g ( x ( t ) , u ( t ) ) are piecewise continuous with respect to t and they are smooth functions of their respective variables, adhering to the Lipschitz condition. Additionally, f ( 0 , t ) and g ( 0 , u ( t ) , t ) are uniformly bounded for all t R + .
The system described by Equation (19) is reformulated using the non-unique state-dependent coefficient (SDC) parameterization approach into [45]:
f ( x ( t ) , t ) = A ( x ( t ) , t ) x ( t )
g ( x ( t ) , u ( t ) , t ) = B ( x ( t ) , u ( t ) , t ) u ( t )
where A ( x ( t ) , t ) : R n × R + R n × n , and B ( x ( t ) , u ( t ) , t ) : R n × R m × R + R n × m represent the system matrices, where A is an n × n matrix and B is an n × m matrix. Therefore, the system described by Equation (19) can be reformulated into:
x ˙ ( t ) = A ( x ( t ) , t ) x ( t ) + B ( x ( t ) , u ( t ) , t ) u ( t )
The optimal control problem involves determining the control force u ( t ) that minimizes the following performance index [45]:
J = 1 2 x T ( t f ) S x ( t f ) + 0 t f x T ( t ) Q ( x ( t ) , t ) x ( t ) + u T ( t ) R ( x ( t ) , t ) u ( t ) d t
In this context, t f R + denotes the final time of the control task. Q x t , t : R n R n × n and S R n × n are the weighting matrices for the states, where Q ( x ( t ) , t ) is a symmetric positive semi-definite matrix that can vary with t R + , and S is a symmetric positive semi-definite matrix evaluated at the final time. Meanwhile, R ( x ( t ) , t ) : R n R m × m is the symmetric positive definite weighting matrix for the control inputs.
Note that the pair A ( x ( t ) , t ) , B ( x ( t ) , u ( t ) , t ) provides a stabilizable parameterization of the nonlinear system outlined by Equation (17) for all x ( t ) R n , u ( t ) R m , and t R + . Additionally, the pair A ( x ( t ) , t ) , Q ( x ( t ) , t ) represents an observable parameterization of the system for all x ( t ) R n , t R + . To evaluate the system’s controllability and observability, one can verify whether the controllability and observability matrices, respectively, have full rank [46,47].
The control law can be established using the equation below [47]:
u ( t ) = R 1 ( x ( t ) , t ) B T ( x ( t ) , u ( t ) , t ) k ( x ( t ) , u ( t ) , t ) x ( t )
where the nonlinear suboptimal gain, k ( x ( t ) , u ( t ) , t ) , can be obtained from the following equation:
k ˙ x t , u t , t = k ( x ( t ) , u ( t ) , t ) A ( x ( t ) , t ) + A T x t , t k x t , u t , t k ( x ( t ) , u ( t ) , t ) B ( x ( t ) , u ( t ) , t ) R 1 ( x ( t ) , t ) B T ( x ( t ) , u ( t ) , t ) k ( x ( t ) , u ( t ) , t ) + Q ( x ( t ) , t )
This equation is referred to as the State-Dependent Differential Riccati equation (SDDRE), which can be solved by applying the final boundary condition k ( t f ) = S [45].

3.2. The Approximate Closed-Form Solution to the SDDRE Using the Lyapunov-Based Method

In this section, rather than solving the SDDRE directly, the Lyapunov-based approach is used to obtain a positive definite suboptimal gain k ( x ( t ) , u ( t ) , t ) . This approach offers an approximate closed-form solution in a single iteration.
To solve the SDDRE, the following steps can be followed: first, solve the SDRE provided in Equation (26).
A T ( x ( t ) , t ) k S D R E ( x ( t ) , u ( t ) , t ) + k S D R E ( x ( t ) , u ( t ) , t ) A ( x ( t ) , t ) + Q ( x ( t ) , t ) k S D R E ( x ( t ) , u ( t ) , t ) B ( x ( t ) , u ( t ) , t ) R 1 ( x ( t ) , t ) B T ( x ( t ) , u ( t ) , t ) k S D R E ( x ( t ) , u ( t ) , t ) = 0
Subtracting Equation (26) from Equation (25) yields the differential Lyapunov equation, which depends on both state and control variables:
p ˙ ( x ( t ) , u ( t ) , t ) = A C l ( x ( t ) , u ( t ) , t ) p ( x ( t ) , u ( t ) , t ) + p ( x ( t ) , u ( t ) , t ) A C l T ( x ( t ) , u ( t ) , t ) B ( x ( t ) , u ( t ) , t ) R 1 ( x ( t ) , t ) B T ( x ( t ) , u ( t ) , t )
in which, a newly introduced variable, p ( x ( t ) , u ( t ) , t ) , and the closed-loop matrix of the system can be computed using the following equations:
p ( x ( t ) , u ( t ) , t ) = k ( x ( t ) , u ( t ) , t ) k S D R E ( x ( t ) , u ( t ) , t ) 1
A C l ( x ( t ) , u ( t ) , t ) = A ( x ( t ) , t ) B ( x ( t ) , u ( t ) , t ) R 1 ( x ( t ) , t ) B T ( x ( t ) , u ( t ) , t ) k S D R E ( x ( t ) , u ( t ) , t )
By using the final boundary condition for the SDDRE, k ( t f ) = S , and by incorporating Equation (25), the final boundary condition of the differential Lyapunov equation, p ( t f ) = ( S k S D R E ( x ( t ) , u ( t ) , t ) ) 1 , is obtained. Thus, a solution to the differential Lyapunov equation is given by following equation:
p ( x ( t ) , u ( t ) , t ) = L ( x ( t ) , u ( t ) , t ) + exp A C l ( x ( t ) , u ( t ) , t ) ( t t f ) [ p ( t f ) L ( x ( t ) , u ( t ) , t ) ] exp A C l T ( x ( t ) , u ( t ) , t ) ( t t f )
in which L ( x ( t ) , u ( t ) , t ) is the solution to a state-dependent algebraic Lyapunov equation as illustrated below:
A C l ( x ( t ) , u ( t ) , t ) L ( x ( t ) , u ( t ) , t ) + L ( x ( t ) , u ( t ) , t ) A C l T ( x ( t ) , u ( t ) , t ) B ( x ( t ) , u ( t ) , t ) R 1 ( x ( t ) , t ) B T ( x ( t ) , u ( t ) , t ) = 0
Finally, the positive gain for the SDDRE is represented as k ( x ( t ) , u ( t ) , t ) = k SDRE ( x ( t ) , u ( t ) , t ) + p 1 ( x ( t ) , u ( t ) , t ) , where k SDRE ( x ( t ) , u ( t ) , t ) can either be a negative definite solution k SDRE ( x ( t ) , u ( t ) , t ) or a positive definite solution k SDRE + ( x ( t ) , u ( t ) , t ) to the SDRE. This study utilizes the lyapunov-based method via the negative root.
It is important to note that the negative root is computationally more robust than the positive root, which is why it has been utilized in this work [41]. The solution to the SDDRE tends to converge with that of the SDRE, and as a result, the term p ( x ( t ) , u ( t ) , t ) , which represents the inverse of k ( x ( t ) , u ( t ) , t ) k S D R E ( x ( t ) , u ( t ) , t ) , can potentially become singular. To prevent this singularity, Nguyen and Gajic [48] recommend calculating the negative definite solution of the SDRE instead of the positive definite one. This approach ensures that k ( x ( t ) , u ( t ) , t ) k S D R E ( x ( t ) , u ( t ) , t ) remains positive definite, thereby guaranteeing the existence of its inverse.
In addition, one can find the negative definite solution, k S D R E ( x ( t ) , u ( t ) , t ) , by obtaining the positive definite solution of the algebraic riccati equation.
k n ( x ( t ) , u ( t ) , t ) A T ( x ( t ) , u ( t ) , t ) k n ( x ( t ) , u ( t ) , t ) k n ( x ( t ) , u ( t ) , t ) B ( x ( t ) , u ( t ) , t ) R 1 ( x ( t ) , t ) B T ( x ( t ) , u ( t ) , t ) k n ( x ( t ) , u ( t ) , t ) + Q ( x ( t ) , t ) = 0
Therefore, it is clear that:
k S D R E ( x ( t ) , u ( t ) , t ) = k n ( x ( t ) , u ( t ) , t )

4. Implementation of the FT-SDDRE on Nonlinear Relative Motion Dynamics

This section is devoted to applying the FT-SDDRE controller to the relative equations of motion. The design of an FT-SDDRE controller is an accurate process, starting with converting the nonlinear equations of motion into state-dependent form, known as SDC parameterization, which is detailed below.

4.1. SDC Parameterization

The first step involves obtaining the state-space representation of the dynamic system. To achieve this, the position and velocity of the deputy satellite relative to the target satellite are considered the six states of the system ( x [ x j , y j , z j , x ˙ j , y ˙ j , z ˙ j ] T ). Therefore, the nonlinear equations of motion described in Section 2.2 are converted into the control-affine state-space form, x ˙ = f ( x ( t ) , t ) + B ( x ( t ) , t ) u , as illustrated in Equation (34), where x ˙ represents the derivatives of the system’s states.
x ˙ = x ˙ j y ˙ j z ˙ j 2 y ˙ j ω z x j η j 2 ω z 2 + y j α z z j ω x ω z ζ j ξ sin i sin θ r η j 2 η C j V a ( x ˙ j y j ω z ) ( C j V a j C V j ) v x 2 x ˙ j ω z + 2 z ˙ j ω x x j α z y j η j 2 ω z 2 ω x 2 + z j α x ζ j ξ sin i cos θ C j V a j ( y ˙ j + x j ω z z j ω x ) ( C j V a j C V j ) ( h r ω e r cos i ) 2 y ˙ j ω x x j ω x ω z y j α x z j ( η j 2 ω x 2 ) ( ζ j ξ ) cos i ( C j V a j C V a ) ω e r cos θ sin i f ( x ( t ) , t ) + 0 0 0 0 0 0 0 0 0 1 0 0 0 1 0 0 0 1 B ( x ( t ) , t ) u
In order to derive the SDC format, the system’s equations are expressed in Equation (34) and factored to create a pseudo-linear representation, described in Equation (35). This formulation is the critical connection between the system’s dynamics and the control mechanism.
x ˙ = a 11 a 12 a 13 a 14 a 15 a 16 a 21 a 22 a 23 a 24 a 25 a 26 a 31 a 32 a 33 a 34 a 35 a 36 a 41 a 42 a 43 a 44 a 45 a 46 a 51 a 52 a 53 a 54 a 55 a 56 a 61 a 62 a 63 a 64 a 65 a 66 A ( x ( t ) , t ) x j y j z j x ˙ j y ˙ j z ˙ j + 0 0 0 0 0 0 0 0 0 1 0 0 0 1 0 0 0 1 B ( x ( t ) , t ) u
Three forms for SDC, A ( x ( t ) , t ) , are derived, each varying based on the state-independent terms of the equations of motion. These formulations are provided in Appendix B.

4.2. Least Energy Consumption Through SDC Parameterization Optimization

The accurate parameterization of state-dependent coefficients (SDCs) in the design of FT-SDDRE controllers is crucial, as the effectiveness of the control method is highly dependent on this choice [49]. Cloutier et al. [50] demonstrated that, for multivariable systems, an infinite number of SDC parameterizations exists, significantly broadening the range of potential design options. This non-uniqueness provides significant flexibility, offering degrees of freedom that are not available in other nonlinear control design methods. This flexibility allows for constructing an SDC parameterization, A ( x ( t ) , t , α ) , as a parametric representation of a hypersurface that encompasses k + 1 distinct parameterizations, provided they exist. Here, α is a vector of dimension k , and A ( x ( t ) , t , α ) takes the following form:
A ( x ( t ) , t , α ) = ( 1 α k ) A k + 1 ( x ( t ) , t ) + i = 1 k ( N = i k α N ) ( 1 α i 1 ) A i ( x ( t ) , t )
where α 0 0 .
The degrees of freedom provided by α can be leveraged to optimize performance or balance trade-offs among performance, stability, robustness, and disturbance rejection. This study’s key contribution is the introduction of a least fuel consumption criterion to identify the optimized SDC parameterization. To facilitate this optimization, an energy index is defined as demonstrated below:
E t = t 0 t f j = 1 N u j ( t ) 2 d t
In this context, the subscript j represents the deputy satellite, and u j ( t ) is the control input. By minimizing this cost function, the optimized SDC parameterization that achieves the lowest energy consumption is identified. To accomplish this, three distinct forms are explored in this study to determine the most effective configuration for the given objective. As a result, the minimization problem is formulated as follows:
minimize α 1 , α 2 E t Subject To : 0 α p 1    p = 1,2 P a i r A ( x ( t ) , t ) , B ( x ( t ) , u ( t ) , t )   be   stabilizable P a i r A ( x ( t ) , t ) , Q ( x ( t ) , t )   be   o b s e r v a b l e
The constraint minimization problem in Equation (38) is solved using a hybrid genetic and simulated annealing algorithm.

4.3. Hybrid Genetic Algorithm and Simulated Annealing

Genetic algorithms (GAs) and simulated annealing (SA) are widely used stochastic search algorithms for solving combinatorial optimization problems. GA, introduced in 1975 [51], is based on Darwinian natural selection, while SA simulates the physical process of annealing [52,53]. The limitations of individual metaheuristic approaches have led to the development of hybrid algorithms, which offer improved efficiency and flexibility, particularly for complex, large-scale problems [54,55].
GA and SA each have unique strengths and limitations. GA benefits from parallelism and the retention of past solutions but can suffer from premature convergence due to its acceptance of poor solutions, and solution loss and degradation due to the disruptive nature of genetic operators. In contrast, SA is effective at escaping local optima and has strong convergence properties by accepting less optimal solutions probabilistically. To leverage the strengths of both methods, a hybrid genetic algorithm and simulated annealing (HGASA) approach is used, combining GA’s exploration ability with SA’s effective convergence [56,57]. Algorithm 1 outlines the step-by-step process of this hybrid approach.
Algorithm 1. HGASA algorithm
  • Make the initial population
  • Evaluate the fitness function for the current population (parent population)
  • Create a new population (offspring population) by using the processes of crossover, and mutation.
  • Perform the following steps a certain number of times:
    I.
    Set a starting temperature and use the existing solution ( T = T 0 ) .
    II.
    The difference between the current solution (parent population) and its neighbor (offspring population) should be calculated ( W = W i + 1 W i ) for all members of the population.
    III.
    Use the Metropolis criterion and the temperature to decide whether to accept or reject the neighbor solution. (if W 0 accept the new solution. Otherwise, if W > 0 compute P W = exp W K B T Then, if r a n d ( 0,1 ) P W accept the new solution, in other condition, reject the new solution)
    IV.
    Generation of the new population
    V.
    According to the annealing schedule, reduce the temperature ( T k + 1 = α T k )
    VI.
    Assessment of the termination condition or convergence criterion
    VII.
    Return to step I if the stop condition or convergence criterion is not established

5. Simulations and Results

5.1. Model’s Accuracy and Error Assessment

As discussed in previous sections, efficient control of satellite formations requires a high-fidelity relative motion model. The first step in the simulation is to validate the accuracy of the proposed model, ensuring its reliability for low Earth orbit (LEO) missions. To do this, the model’s performance is compared to the ECI-based Relative Motion (ERM) model proposed in previous work [31] to gauge its effectiveness and suitability for the intended purpose. Notably, the simulation takes into account the primary perturbations in LEO, second zonal harmonic, and atmospheric drag, which are the main perturbations in low Earth orbit.
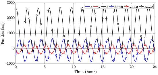
Figure 3 illustrates the deputy trajectory around the target in the LVLH frame, based on the initial orbital elements provided in Table 1. To further assess the model’s accuracy, Figure 4 and Figure 5 are plotted that present a comparison between the relative motion model in terms of position and velocity and the ERM model in a 24 h period. The results demonstrate the high precision of the proposed model, with a root mean square error of 1.3832   k m for the position and 0.0011   k m s for the velocity. This level of accuracy highlights the model’s effectiveness and its potential advantages for advancing satellite formation flying.
Figure 3. The 3D sketch of deputy satellite trajectory in LVLH frame.
Table 1. The initial orbital elements for relative motion error assessment.
Figure 4. The introduced model’s position accuracy compared to the ERM Model.
Figure 5. The introduced model’s velocity accuracy compared to the ERM Model.

5.2. Sensitivity Analysis of the State-Dependent Coefficient

In the second stage, to identify the ideal SDC parameterization that minimizes energy consumption while completing the mission within the predetermined time frame and under the same initial and desired conditions, three distinct matrices— A 1 ( x ( t ) , t ) , A 2 ( x ( t ) , t ) , and A 3 ( x ( t ) , t ) —are considered. These matrices, which are derived in Appendix B, differ in the state-independent terms of the relative motion equations, as detailed in Appendix B. The relation between the optimized layout of the SDC and the primary configurations is formulated in Equation (39):
A O p t i m i z e d ( x t , t , α )         = α 2 α 1 A 1 ( x ( t ) , t ) + ( 1 α 1 ) A 2 ( x ( t ) , t )         + 1 α 2 A 3 x t , t         = β A 1 x t , t + γ A 2 x t , t + δ A 3 x t , t
where β , γ , and δ are the variables that dictate the extent to which the initial matrices influence the optimized configuration.
A sensitivity analysis is subsequently performed to assess the effectiveness of these matrices across different types of motion, including cross-track, along-track, and radial movements. Given the prevalence of nonlinear dynamics in control systems, a central challenge in this domain is understanding how these dynamics impact system performance [58]. Figure 6 illustrates the optimal values of β , γ , and δ in the scenarios where only radial, along-track, and cross-track motion occur, respectively, from the left to the right plot. Beginning with Figure 6a, it depicts the optimal values of β , γ , and δ in a scenario where only radial motion is present. As the radial separation between the target and the deputy satellite increases, the values of α 1 and α 2 shift to that the optimized matrix converges toward the A 1 ( x ( t ) , t ) , which contains the state-independent terms in radial motion direction. Consequently, the value for γ and δ decrease to zero, while β increases to 1. Similarly, Figure 6b illustrates the variation in the optimal coefficient values for along-track motion. It reveals that with the growth in the along-track separation, the values of the β , and γ , which represent the contributions of A 1 ( x ( t ) , t ) , and A 2 ( x ( t ) , t ) in the optimal matrix, stabilize around 0.25, while the contribution of A 3 ( x ( t ) , t ) changes to nearly 0.50. Figure 6c shows that, regardless of the increase in cross-track separation, the optimizer tends to exclude the A 3 ( x ( t ) , t ) , which contains the state-independent term in a cross-track direction. Instead, it favors an approximate average between the A 1 ( x ( t ) , t ) and A 2 ( x ( t ) , t ) as the optimal SDC parameterization.
Figure 6. The variation in the optimal values of β , γ , and δ in the scenarios with radial motion only (a), along-track motion only (b), and cross-track motion only (c).

5.3. Establishment of the Formation Geometry

The next step in the satellite formation flying control scheme is to design the satellite formation geometry for multi-angular Earth observation missions, which require capturing images from multiple angles within a short time frame to minimize scene changes. A single satellite typically lacks this capability, making it essential to develop a satellite formation geometry that enables multiple satellites to capture images of the same area within the required time frame. This requirement highlights the projected circular orbit (PCO) formation as the most effective configuration as it provides the most angular diversity at the target area, thereby enhancing the quality and precision of the observations [59]. In PCO formation, satellites maintain a fixed relative position within the y z plane, enabling them to capture overlapping images from different perspectives, which is vital for high-resolution imaging and creating precise three-dimensional models [60].
In order to design reference trajectories for deputy satellites that ultimately result in a PCO formation geometry, it is possible to utilize the Hill–Clohessy–Wiltshire (HCW) equations, which outline the linearized relative motion of a deputy concerning a target in a circular earth orbit. This step serves as the guidance component of the control system, determining the desired position and velocity of the deputy satellites relative to the target at each time step, which must then be tracked accordingly [61]. These equations are presented in Equations (40)–(42).
x ¨ 2 ν ˙ y ˙ 3 ν ˙ 2 x = 0
y ¨ + 2 ν ˙ x ˙ = 0
z ¨ + ν ˙ 2 z = 0
Here, ν is the true anomaly, and ν ˙ is the angular velocity of the target satellite.
Sabol et al. [60] established the initial conditions necessary for producing the PCO formation based on the HCW equations, as outlined in Equation (43).
x 0 = ( r 2 ) c o s θ ,   y 0 = 2 x ˙ 0 ν ˙ ,   z 0 = ± 2 x 0 x ˙ 0 = ( r ν ˙ 2 ) s i n θ ,   y ˙ 0 = 2 ν ˙ x 0 ,   z ˙ 0 = ± 2 x ˙ 0
The projected circular formation properties are defined by several key conditions: the radius of the target satellite is constant r t a r g e t = c o n s t , and the average angular velocity of the target satellite is constant ν ˙ = c o n s t . The target satellite, moving in a circular Earth orbit, has zero angular acceleration ν ¨ = 0 . Another notable characteristic is that the ellipse of relative motion becomes a circle when projected onto the along-track/cross-track plane [60,62].
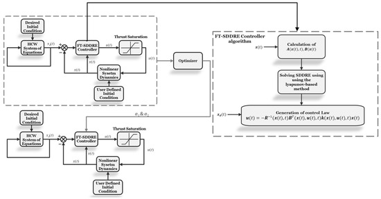
To comprehensively illustrate the control system process and the optimization strategy employed, a block diagram is presented in Figure 7. This diagram outlines the key components and interactions within the system.
Figure 7. Block diagram of the satellite formation flying control and optimization process.

5.4. Satellite Reconfiguration and Formation-Keeping Numerical Simulation

In order to begin the satellite formation flying mission process, the first task is configuring the simulation parameters, including simulation time, step size, and drag coefficients for both the target and deputy satellites, as outlined in Table 2. It is equally essential to define the initial and desired properties of the target and deputy satellites. In this study, a target satellite in a Sun-Synchronous Orbit (SSO) is selected for its enhanced Earth’s surface coverage and constant illumination conditions, with its initial orbital elements provided in Table 3. However, the most crucial aspect is the initial conditions for the four deputy satellites, which play a significant role in forming the diamond-like geometry in the relative frame. These are created using Equation (43), as detailed in Table 4. The mission outlined in this article involves a reconfiguration maneuver by four deputy satellites, transitioning from an initial projected circular orbit (PCO) formation with a radius of 35 km to an expanded radius of 60 km. Following this maneuver, the second phase of the mission focuses on maintaining the newly established formation geometry, ensuring stability and precision throughout the remainder of the mission. This sustained formation is vital for consistent and accurate data collection over the mission’s duration.
Table 2. Simulation Setup.
Table 3. Initial condition for the Target Satellite.
Table 4. Initial and desired condition for the deputy satellite.
In satellite formation reconfiguration and maintenance, applying a thrust saturation limit is critical for ensuring control precision and protecting system integrity. A thrust limit of 5 newtons has been established to prevent the propulsion system from operating beyond its designed capacity. The deputy satellites could employ a hydrazine thruster with a specific impulse ( I s p ) of 253 s. By capping the thrust at 5 N, this approach facilitates accurate maneuvering during formation adjustments and enhances fuel utilization, thereby extending the operational lifespan of the propulsion system.
Figure 8 depicts the motion of the deputy satellites in the absence of any control forces. Without intervention, the deputy satellites gradually drift from their initial orbits, underscoring the need for a formation-keeping controller.
Figure 8. Uncontrolled motion of deputy satellites with respect to the target satellite.
In this section, the minimization problem defined in Equation (38) is addressed using the HGASA algorithm under the specified conditions. Table 5 provides the essential parameters used in the optimization process. The goal is to identify the optimal values of α 1 and α 2 that minimize control efforts, thereby ensuring the least fuel consumption for the successful completion of the mission.
Table 5. Hybrid genetic and simulated annealing algorithm parameters.
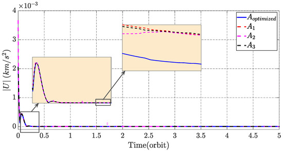
Figure 9 illustrates the cost function reduction process during iterations of the HGASA algorithm. This optimization procedure yielded optimized values for α 1 and α 2 , which were determined to be 1.00 and 0.2864, respectively. This indicates that both A 1 ( x ( t ) , t ) and A 3 ( x ( t ) , t ) , or a combination of the two, represent the most fuel-efficient configuration for this mission. In contrast, A 2 ( x ( t ) , t ) consumes more fuel compared to the other two options and is, therefore, recommended for removal from the optimized system configuration. In Figure 10, the total control force of the four deputy satellites is exhibited using these ideal values, which are intended to be minimized in this procedure. The optimized matrix is able to achieve a reduced consumption of fuel when compared to the A 1 ( x ( t ) , t ) , A 2 ( x ( t ) , t ) and A 3 ( x ( t ) , t ) . This improvement is evident from the reduced surface area under the curve, indicating a more efficient solution.
Figure 9. The process of cost reduction in optimization through the HGASA.
Figure 10. The absolute sum of the magnitudes of the control forces for four deputy satellites using three types of SDC and the optimized form.
Figure 11 and Figure 12 illustrate the two-phase mission, where the deputy satellites follow the trajectory established by the Lyapunov-based SDDRE controller to achieve the desired orbit accurately. This orbit is designed using HCW initial conditions to ensure that the deputy satellites remain in the exact desired relative orbit but with different phase angles. Following this step, the deputies are then guided to hold the diamond-like formation geometry. In other words, the mission begins with the reconfiguration maneuver, and once this is completed, the focus shifts to the formation-keeping phase.
Figure 11. The 3D sketch of deputy satellites’ formation reconfiguration and maintenance trajectory utilizing the Lyapunov-based FT-SDDRE method (In this figure, The filled circles indicate the deputy satellites’ initial positions, while the hollow circles represent their positions at the end of the mission).
Figure 12. The 2D sketch of deputy satellites’ formation reconfiguration and maintenance trajectory utilizing the Lyapunov-based FT-SDDRE method in different perspectives (In this figure, The filled circles indicate the deputy satellites’ initial positions, while the hollow circles represent their positions at the end of the mission).
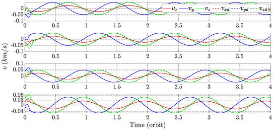
The position and velocity of deputy satellites that are tracking the desired relative orbit are depicted in Figure 13 and Figure 14. These deputy satellites swiftly reach the desired orbit in just 0.2 orbital periods of the target satellite. This marks the completion of the first phase of the mission. The controller then guides the mission into the second phase. At this stage, the deputy satellites are steadfast in their commitment to staying on the desired path for the determined five orbital periods, showcasing the effectiveness of the Lyapunov-based FT-SDDRE controller.
Figure 13. The position tracking of deputy satellites utilizing the Lyapunov-based FT-SDDRE method.
Figure 14. The velocity tracking of deputy satellites utilizing the Lyapunov-based SDDRE method.
Figure 15 and Figure 16 illustrate the relative distance among the deputy satellites and their projection into the y z plane in the LVLH frame, respectively. Figure 15 depicts the distances among the deputy satellites, bounded from 63 km to 72 km. Furthermore, as highlighted in the previous section, one of the critical advantages of the PCO formation is the consistent relative distance among the deputies in the y-z plane, which is shown in Figure 16 to be 64 km. These results underscore the success of maintaining the PCO formation geometry, with the finite-time Lyapunov-based FT-SDDRE controller.
Figure 15. The relative distance among deputy satellites in the projected circular orbit formation after utilizing the Lyapunov-based FT-SDDRE method.
Figure 16. The relative distance among deputy satellites in y z plane in the projected circular orbit formation after utilizing the Lyapunov-based FT-SDDRE method.
In the next step, to evaluate the performance of the introduced controller, the tracking error is calculated and compared to the classical SDRE and STM approaches in the context of the SDRE. This comparison is crucial, as the primary advantage of the finite-time methodology lies in its superior performance compared to the infinite-time SDRE. Figure 17 and Figure 18 illustrate the error reduction process during both phases of the mission for position and velocity, respectively. These figures clearly reveal that the Lyapunov-based FT-SDDRE method outperforms the classical SDRE and STM techniques in all deputy satellites. Given the critical importance of precise motion control in space missions, particularly in multi-angular Earth observation applications, selecting a high-performance controller is essential to ensure accurate timing and overall mission success. Therefore, it is crucial to confirm that the chosen controller delivers superior performance, especially at the mission’s final time. The FT-SDDRE method presents a clear advantage due to its finite-time convergence, enabling more rapid and precise error reduction. This capability is particularly important for achieving accurate formation reconfiguration and maintenance, making FT-SDDRE an appropriate choice for such missions.
Figure 17. The absolute position tracking error of the Lyapunov-based FT-SDDRE method compared to the classical SDRE and finite-time STM approach by deputy satellites.
Figure 18. The absolute velocity tracking error of the Lyapunov-based FT-SDDRE method compared to the classical SDRE and finite-time STM approach by deputy satellites.
In addition to the error diagrams provided, Table 6 represents the Lyapunov-based FT-SDDRE controller’s superior performance by presenting the error in the states of all deputy satellites at the final time. This metric is particularly beneficial for assessing the effectiveness of the FT-SDDRE controller compared to the other approaches, as it allows for an evaluation of the controller’s performance at the completion of the mission. The trajectory generated by the introduced controller consistently exhibits less error in both position and velocity tracking, reaffirming its superiority over the STM approach and classical SDRE.
Table 6. Terminal Error of the Lyapunov-based FT-SDDRE controller compared to the classical SDRE and finite-time STM approach for deputy satellites.
In the last step, it is essential to illustrate the required control efforts for the successful completion of this mission. These control forces are presented in Figure 19 for four deputy satellites. The results clearly show that the deputy satellites achieve the desired orbit in less than 0.2 of the target satellite’s orbital period, reinforcing the previous achievements. It is important to emphasize that the control forces do not drop to zero for the remainder of the mission, as maintaining the formation is an ongoing process that continues until the end of the mission. For illustrative purposes, the control forces are plotted over one orbital period, but this trend persists consistently throughout the entire mission.
Figure 19. The control force generated by Lyapunov-based FT-SDDRE controller for deputy satellites.

6. Conclusions

This research addressed the issues of reconfiguration and formation-keeping control using a Finite-Time State-Dependent Differential Riccati Equation while considering actuator saturation constraints to ensure system performance and safety. The first step involved transforming the nonlinear relative motion equations into a parameterization with state-dependent coefficients. To optimize fuel efficiency, a new optimization methodology was employed to determine the most appropriate SDC form that minimizes fuel consumption throughout the mission. In addition, a sensitivity analysis was conducted to evaluate the performance of three derived SDCs in handling radial, along-track, and cross-track maneuvers across different baselines. Once the optimized parameterization was identified, the mission proceeded in two phases. In the first phase, four satellites were reconfigured into a PCO formation, which is the desired formation for the multi-angular earth observation application. Upon completion of the reconfiguration, the second phase commences with the aim of consistently preserving this configuration for all deputy satellites for the remainder of the mission. Both of these two phases are regulated using a Lyapunov-based FT-SDDRE controller. This control framework was designed to counteract orbital perturbations, such as the Earth’s second zonal harmonics and atmospheric drag, ensuring the desired formation is either maintained or adjusted as needed. The research ultimately demonstrates that Lyapunov-based FT-SDDRE controllers outperform both the classical SDRE and another finite-time SDRE technique known as STM in the context of satellite formation flying, providing a more efficient solution for maintaining and reconfiguring satellite formations in space.

Author Contributions

Conceptualization, M.B.; Methodology, M.B. and A.P.; Software, A.P.; Formal analysis, A.P. and E.A.; Investigation, E.A.; Resources, E.A.; Writing—original draft, A.P.; Writing—review & editing, M.B. and E.A.; Supervision, M.B. All authors have read and agreed to the published version of the manuscript.

Funding

This research received no external funding.

Data Availability Statement

The original contributions presented in this study are included in the article. Further inquiries can be directed to the corresponding author(s).

Conflicts of Interest

The authors declare no conflict of interest.

Appendix A. Derivation of the Equations of the Motion for the Target Satellite

The equation of motion for a target satellite, considering the effects of all zonal harmonics and atmospheric drag, can be expressed as:
r ¨ = U + a ^ d r a g
where r ¨ represents the satellite’s acceleration vector, and a ^ d r a g is the acceleration due to atmospheric drag, which can be determined using the following equation [63]:
a ^ d r a g = 1 2 C d A m ρ V ^ a V ^
Here, V ^ a = V ^ ω ^ e × r ^ represents the relative velocity of the target satellite with respect to the atmosphere. Additionally, ω ^ e = ω e Z ^ is the Earth’s rotation vector in the ECI (Earth-Centered Inertial) frame, expressed by the equation below [64]:
ω ^ e = ω e Z ^ = ω e ( sin θ sin i ) x ^ + ( cos θ sin i ) y ^ + ( cos i ) z ^
In addition, the position of the target satellite and its derivation, the velocity and acceleration vectors of the target satellite in the LVLH frame will be obtained as follows:
r ^ = r x ^
r ^ ˙ = v x x ^ + h r y ^
r ^ ¨ = ( v ˙ x h 2 r 3 ) x ^ + ( h ˙ r ) y ^ + ω x h r z ^
By taking Equations (A1) to (A6) into consideration, the satellite’s relative velocity to the atmosphere in the LVLH frame can be determined as below:
V ^ a = v x x ^ + ( h r ω e r cos i ) y ^ + ( ω e r cos θ sin i ) z ^
The expression of the gravitational potential function that involves the consideration of regional gravity’s harmonic coefficients can be formulated as follows:
U ( r , cos φ ) = μ r + μ r n = 2 J n ( R e r ) n P n ( cos φ )
Therefore, the gradient of gravitational potential of Earth in spherical coordinate with consideration of U = U ( r , cos φ ) is given as:
U = U r r ^ + 1 r U ( cos φ ) cos φ φ φ ^ = U r r ^ 1 r U ( cos φ ) sin φ φ ^
Using the Equations (A2), (A9) and (A7), the Equation (A1) can be reformulated as below:
r ¨ = U + a ^ d r a g = μ r 2 + ψ C V ^ a v x x ^ χ sin i cos i + C V ^ a ( h r ω e r cos i ) y ^ + χ cos i + C V ^ a ω e r cos θ sin i z ^
where ψ , and χ can be computed using Equations (7) and (8). In addition, P n can be calculated using the subsequent equation:
P n ( cos φ ) = 1 2 n n ! d n + 1 d cos n + 1 φ ( cos n + 1 φ 1 ) n
By manipulating Equations (A1), (A6) and (A10), the orbital rate ω x and steering rate ω z can be computed as demonstrated in Equations (17) and (18). Then, by utilizing Equations (A5), (A10), (17) and (18), the system of equations pertaining to the target satellite can be derived, as described in Equations (1)–(6).

Appendix B. Derivation of the Equations of the Motion of the Deputy Satellite Relative to the Target

The Lagrangian formulation to develop a relative motion model for the jth deputy satellite is proposed in the following widespread format:
d d t ( L j q ˙ n ) L j q n = Q n
Here, q j = [ x j , y j , z j ] is the generalized displacement, and q ˙ j = [ x ˙ j , y ˙ j , z ˙ j ] denotes the generalized velocity. Q n accounts for the sum of non-conservative forces acting on the controllable satellite, such as atmospheric drag and control forces. By defining the Lagrangian as L j = K j U j , the Lagrange equation will be described in the following manner [65]:
d d t ( K j q n ) K j q n + U j q n = Q n
In the subsequent phase, the relative dynamic model of the jth satellite in the LVLH frame can be determined by precisely calculating its potential and kinetic function, along with factoring in non-conservative forces such as air drag and control forces acting upon it.
  • Kinetic Energy
The kinetic energy per unit mass for the jth satellite can be described as follows:
K j = 1 2 V ^ j T V ^ j = 1 2 ( v x + x ˙ j y j ω z ) 2 + ( h r + y ˙ j + x j ω x ) 2 + ( z ˙ j + y j ω x ) 2
By replacing Equation (A14) in the first two terms of the Lagrange equation, the following equation can be derived:
d d t K j q n K j q n = x ¨ j 2 y ˙ j ω z x j ω z 2 y j α z + z j ω x ω z μ r 2 ψ C V ^ a v x y ¨ j + 2 x ˙ j ω z 2 z ˙ j ω x + x j α z y j ω z 2 y j ω x 2 z j α x χ sin i cos θ ) C V ^ a ( h r ω e r cos i ) z ¨ j + 2 y ˙ j ω x + x j ω x ω z + y j α x z j ω x 2 + χ cos i C V a ω e r cos θ sin i
  • Potential energy
The function for the gravitational potential of the jth satellite can be expressed in the following manner:
U j ( r j , cos ϕ j ) = μ r j + μ r j n = 2 J n ( R e r j ) n P n ( cos ϕ j )
Here, cos ϕ j = r j Z r j , where r j Z is the projection of the position vector of the jth satellite on the Z ^ axis in the ECI frame and can be computed using Equation (18). Consequently:
U j q j = η j 2 ( r + x j ) + χ j sin i sin θ   η j 2 y j + χ j sin i cos θ   η j 2 z j + χ j cos i T
  • Non-conservative forces
In order to accurately analyze the motion of the satellite, it is crucial to account for the effects of non-conservative atmospheric drag and control forces. These forces must be incorporated into the nonlinear relative equation of motion. According to the definition of the Lagrange equations, the non-conservative nature of the control forces and atmospheric drag requires their identification in the Q term. The relative velocity of the jth satellite can be determined using Equations (9), (A3) and (A7).
V ^ j = v x + x ˙ j y j ω z h r + y ˙ j + x j ω z z j ω x z ˙ j + ω x y j
V ^ a j = v x + x ˙ j y j ω z h r + y ˙ j + x j ω z z j ω x z ˙ j + ω x y j ω e sin θ sin i cos θ sin i cos i × r + x j y j z j
Ultimately, the non-conservative term Q n can be developed with regard to atmospheric drag force F d r a g = C j V ^ a V ^ a as follows:
Q x j = C j V ^ a j ( v x + x ˙ j y j ω z ω e z j cos θ sin i + ω e y j cos i )
Q y j = C j V ^ a j ( h r + y ˙ j + x j ω z z j ω x + z j ω e sin θ sin i ω e ( r + x j ) cos i )
Q z j = C j V ^ a j ( z ˙ j + ω e y j sin i sin θ + ω e ( r + x j ) cos θ sin i )
In the final step, upon substituting Equations (A15), (A17) and (A20) to (A22) into Equation (A13), the precise dynamic model for relative motion would be obtained, presented in Equations (10)–(12).

Appendix C. SDC Matrices

In this appendix, the primary matrices related to state-dependent coefficient parameterization are introduced. First, a general matrix in this work containing constant terms in all three matrix forms is introduced as follows:
A k ( x ( t ) , t ) = 0 0 0 1 0 0 0 0 0 0 1 0 0 0 0 0 0 1 A k ( 4,1 ) A k ( 4,2 ) A k ( 4,3 ) A k ( 4,4 ) A k ( 4,5 ) 0 A k ( 5,1 ) A k ( 5,2 ) A k ( 5,3 ) A k ( 5,4 ) A k ( 5,5 ) A k ( 5,6 ) A k ( 6,1 ) A k ( 6,2 ) A k ( 6,3 ) 0 A k ( 6,5 ) 0
In Equation (A23), Counter k represents the primary matrix number. The elements related to state-dependent parameterization forms are introduced as follows:
  • First Matrix
A 1 4,1 = η j 2 ω z 2 ( C j V a j C V j ) v x x j ζ j ξ sin i sin θ x j r x j η j 2 η A 1 4,2 = α z + C j V a ω z A 1 4,3 = ω x ω z A 1 4,4 = C j V a A 1 4,5 = 2 ω z A 1 5,1 = α z C j V a j ω z ( ζ j ξ ) sin i cos θ x j ( C j V a j C V j ) ( h r ω e r cos i ) x j A 1 5,2 = ( η j 2 ω z 2 ω x 2 ) A 1 5,3 = α x + C j V a j ω x A 1 5,4 = 2 ω z A 1 5,5 = C j V a j A 1 5,6 = 2 ω x A 1 6,1 = ω x ω z ( ζ j ξ ) cos i x j ( C j V a j C V a ) ω e r cos θ sin i x j A 1 6,2 = α x A 1 6,3 = ( η j 2 ω x 2 ) A 1 6,5 = 2 ω x
  • Second Matrix
A 2 4,1 = η j 2 ω z 2 A 2 4,2 = α z + C j V a ω z ( C j V a j C V j ) v x y j ζ j ξ sin i sin θ y j r y j η j 2 η A 2 4,3 = ω x ω z A 2 4,4 = C j V a A 2 4,5 = 2 ω z A 2 5,1 = α z C j V a j ω z A 2 5,2 = ( η j 2 ω z 2 ω x 2 ) ( ζ j ξ ) sin i cos θ y j ( C j V a j C V j ) ( h r ω e r cos i ) y j A 2 5,3 = α x + C j V a j ω x A 2 5,4 = 2 ω z A 2 5,5 = C j V a j A 2 5,6 = 2 ω x A 2 6,1 = ω x ω z A 2 6,2 = α x ( ζ j ξ ) cos i y j ( C j V a j C V a ) ω e r cos θ sin i y j A 2 6,3 = ( η j 2 ω x 2 ) A 2 6,5 = 2 ω x
  • Third Matrix
A 3 4,1 = η j 2 ω z 2 A 3 4,2 = α z + C j V a ω z A 3 4,3 = ω x ω z ( C j V a j C V j ) v x z j ζ j ξ sin i sin θ z j r z j η j 2 η A 3 4,4 = C j V a A 3 4,5 = 2 ω z A 3 5,1 = α z C j V a j ω z A 3 5,2 = ( η j 2 ω z 2 ω x 2 ) A 3 5,3 = α x + C j V a j ω x ( ζ j ξ ) sin i cos θ z j ( C j V a j C V j ) ( h r ω e r cos i ) z j A 3 5,4 = 2 ω z A 3 5,5 = C j V a j A 3 5,6 = 2 ω x A 3 6,1 = ω x ω z A 3 6,2 = α x A 3 6,3 = ( η j 2 ω x 2 ) ( ζ j ξ ) cos i z j ( C j V a j C V a ) ω e r cos θ sin i z j A 3 6,5 = 2 ω x

References

  1. Ivanov, D.; Amaro, G.; Mashtakov, Y.; Ovchinnikov, M.; Guerman, A. Formation Flying Lyapunov-Based Control Using Lorentz Forces. Aerospace 2023, 10, 39. [Google Scholar] [CrossRef]
  2. Wang, Z.; Hu, W. Fixed-Time Coordination Control for 6-DOF Attitude-Orbit Coupled Spacecraft Formation Flying. Adv. Sp. Res. 2024, 74, 1950–1966. [Google Scholar] [CrossRef]
  3. Shankar Kumar, P.B. Dynamics of Spacecraft Formation Flight. Ph.D. Thesis, University of Southampton, Southampton, UK, 2005. [Google Scholar]
  4. Jin, Z.; Li, H.; Qin, Z.; Wang, Z. Gradient-Free Cooperative Source-Seeking of Quadrotor under Disturbances and Communication Constraints. IEEE Trans. Ind. Electron. 2025, 72, 1969–1979. [Google Scholar] [CrossRef]
  5. Bakhtiari, M.; Daneshjou, K.; Fakoor, M. Long-Term Effects of Main-Body’s Obliquity on Satellite Formation Perturbed by Third-Body Gravity in Elliptical and Inclined Orbit. Res. Astron. Astrophys. 2017, 17, 39. [Google Scholar] [CrossRef]
  6. Scharnagl, J.; Kempf, F.; Schilling, K. Combining Distributed Consensus with Robust H∞-Control for Satellite Formation Flying. Electronics 2019, 8, 319. [Google Scholar] [CrossRef]
  7. Xu, Y. Dynamics and Control for Formation Flying System. Ph.D. Thesis, University of Florida, Gainesville, FL, USA, 2003. [Google Scholar]
  8. Scala, F. Multiple Satellites Formation Flying for Earth Observation Applications in Low Earth Orbit. Ph.D. Thesis, Politecnico di Milano, Milan, Italy, 2022. [Google Scholar]
  9. Scharnagl, J. Distributed Guidance, Navigation and Control for Satellite Formation Flying Missions. Ph.D. Thesis, Julius-Maximilians-Universität Würzburg, Würzburg, Germany, 2021. [Google Scholar]
  10. Dauner, J.; Elsner, L.; Ruf, O.; Borrmann, D.; Scharnagl, J.; Schilling, K. Visual Servoing for Coordinated Precise Attitude Control in the TOM Small Satellite Formation. Acta Astronaut. 2023, 202, 760–771. [Google Scholar] [CrossRef]
  11. Diner, D.J.; Asner, G.P.; Davies, R.; Knyazikhin, Y.; Muller, J.-P.; Nolin, A.W.; Pinty, B.; Schaaf, C.B.; Stroeve, J. New Directions in Earth Observing: Scientific Applications of Multiangle Remote Sensing. Bull. Am. Meteorol. Soc. 1999, 80, 2209–2228. [Google Scholar] [CrossRef]
  12. Diner, D.J.; Beckert, J.C.; Reilly, T.H.; Bruegge, C.J.; Conel, J.E.; Kahn, R.A.; Martonchik, J.V.; Ackerman, T.P.; Davies, R.; Gerstl, S.A.W. Multi-Angle Imaging SpectroRadiometer (MISR) Instrument Description and Experiment Overview. IEEE Trans. Geosci. Remote Sens. 1998, 36, 1072–1087. [Google Scholar] [CrossRef]
  13. Xiong, X.; Wolfe, R.; Barnes, W.; Guenther, B.; Vermote, E.; Saleous, N.; Salomonson, V. Terra and Aqua MODIS Design, Radiometry, and Geometry in Support of Land Remote Sensing. In Land Remote Sensing and Global Environmental Change: NASA’s Earth Observing System and the Science of ASTER and MODIS; Springer: New York, NY, USA, 2011; pp. 133–164. [Google Scholar]
  14. Zhang, Z.; Deng, L.; Feng, J.; Chang, L.; Li, D.; Qin, Y. A Survey of Precision Formation Relative State Measurement Technology for Distributed Spacecraft. Aerospace 2022, 9, 362. [Google Scholar] [CrossRef]
  15. Alfriend, K.T.; Vadali, S.R.; Gurfil, P.; How, J.P.; Breger, L.S. Spacecraft Formation Flying: Dynamics, Control and Navigation; Elsevier: Amsterdam, The Netherlands, 2009; pp. 1–382. [Google Scholar]
  16. Jin, Z.; Bai, L.; Wang, Z.; Zhang, P. Self-Triggered Distributed Formation Control of Fixed-Wing Unmanned Aerial Vehicles Subject to Velocity and Overload Constraints. IEEE Trans. Autom. Sci. Eng. 2024, 21, 4082–4093. [Google Scholar] [CrossRef]
  17. Sparks, A. Satellite Formation Keeping Control in the Presence of Gravity Perturbations. In Proceedings of the 2000 American Control Conference. ACC (IEEE Cat. No.00CH36334), Chicago, IL, USA, 28–30 June 2000; Volume 2, pp. 844–848. [Google Scholar]
  18. Capó-Lugo, P.A.; Bainum, P.M. Active Control Schemes to Satisfy Separation Distance Constraints. J. Guid. Control Dyn. 2007, 30, 1152–1156. [Google Scholar] [CrossRef]
  19. Park, H.; Park, S.-Y.; Choi, K.-H. Satellite Formation Reconfiguration and Station-Keeping Using State-Dependent Riccati Equation Technique. Aerosp. Sci. Technol. 2011, 15, 440–452. [Google Scholar] [CrossRef]
  20. Massari, M.; Bernelli-Zazzera, F.; Canavesi, S. Nonlinear Control of Formation Flying with State Constraints. J. Guid. Control Dyn. 2012, 35, 1919–1925. [Google Scholar] [CrossRef]
  21. Massari, M.; Zamaro, M. Application of SDRE Technique to Orbital and Attitude Control of Spacecraft Formation Flying. Acta Astronaut. 2014, 94, 409–420. [Google Scholar] [CrossRef]
  22. Franzini, G.; Innocenti, M. Nonlinear H-Infinity Control of Relative Motion in Space via the State-Dependent Riccati Equations. In Proceedings of the 2015 54th IEEE Conference on Decision and Control (CDC), Osaka, Japan, 15–18 December 2015; pp. 3409–3414. [Google Scholar]
  23. Navabi, M.; Akhloumadi, M.R. Nonlinear Optimal Control of Relative Rotational and Translational Motion of Spacecraft Rendezvous. J. Aerosp. Eng. 2017, 30, 4017038. [Google Scholar] [CrossRef]
  24. Bilal, M.; Vijayan, R.; Schilling, K. SDRE Control with Nonlinear J2 Perturbations for Nanosatellite Formation Flying. IFAC-PapersOnLine 2019, 52, 448–453. [Google Scholar] [CrossRef]
  25. Rouzegar, H.; Khosravi, A.; Sarhadi, P. Spacecraft Formation Flying Control around L2 Sun-Earth Libration Point Using on–off SDRE Approach. Adv. Sp. Res. 2021, 67, 2172–2184. [Google Scholar] [CrossRef]
  26. Shen, X.; Wu, C.; Liu, Z.; Wang, Y.; Leon, J.I.; Liu, J.; Franquelo, L.G. Adaptive-Gain Second-Order Sliding-Mode Control of NPC Converters via Super-Twisting Technique. IEEE Trans. Power Electron. 2023, 38, 15406–15418. [Google Scholar] [CrossRef]
  27. Shen, X.; Liu, J.; Liu, G.; Zhang, J.; Leon, J.I.; Wu, L.; Franquelo, L.G. Finite-Time Sliding Mode Control for NPC Converters with Enhanced Disturbance Compensation. IEEE Trans. Circuits Syst. I Regul. Pap. 2024, 1–10. [Google Scholar] [CrossRef]
  28. Heydari, A.; Balakrishnan, S. Approximate Closed-Form Solutions to Finite-Horizon Optimal Control of Nonlinear Systems. In Proceedings of the 2012 American Control Conference (ACC), Montreal, QC, Canada, 27–29 June 2012; Volume 25. [Google Scholar]
  29. Wang, J.; Liang, H.; Sun, Z.; Zhang, S.; Liu, M. Finite-Time Control for Spacecraft Formation with Dual-Number-Based Description. J. Guid. Control Dyn. 2012, 35, 950–962. [Google Scholar] [CrossRef]
  30. Mathavaraj, S.; Padhi, R. Satellite Formation Flying: High Precision Guidance Using Optimal and Adaptive Control Techniques; Springer Nature: Singapore, 2021; ISBN 9789811596315. [Google Scholar]
  31. Bakhtiari, M.; Daneshjou, K.; Fakoor, M. Relative Hovering Analysis about an Elliptical Perturbed Orbit with Consideration of Dynamic Air Drag and Oblate Earth. Aerosp. Sci. Technol. 2017, 70, 286–299. [Google Scholar] [CrossRef]
  32. Haranas, I.; Pagiatakis, S. Satellite Orbit Perturbations in a Dusty Martian Atmosphere. Acta Astronaut. 2012, 72, 27–37. [Google Scholar] [CrossRef]
  33. Zarei, S.; Bakhtiari, M.; Daneshjou, K. Relative Attitude Tracking of Two Satellites in the Presence of Third-Body Perturbation and Considering Actuator Saturation. J. Brazilian Soc. Mech. Sci. Eng. 2021, 43, 545. [Google Scholar] [CrossRef]
  34. Doruk, R.O. Feedback Controlled Electrical Nerve Stimulation: A Computer Simulation. Comput. Methods Programs Biomed. 2010, 99, 98–112. [Google Scholar] [CrossRef]
  35. Pan, Y.; Kumar, K.D.; Liu, G.; Furuta, K. Design of Variable Structure Control System With Nonlinear Time-Varying Sliding Sector. IEEE Trans. Automat. Contr. 2009, 54, 1981–1986. [Google Scholar] [CrossRef]
  36. Çimen, T.; Banks, S.P. Nonlinear Optimal Tracking Control with Application to Super-Tankers for Autopilot Design. Automatica 2004, 40, 1845–1863. [Google Scholar] [CrossRef]
  37. Çimen, T.; Banks, S.P. Global Optimal Feedback Control for General Nonlinear Systems with Nonquadratic Performance Criteria. Syst. Control Lett. 2004, 53, 327–346. [Google Scholar] [CrossRef]
  38. Khaloozadeh, H.; Abdollahi, A. An Iterative Procedure for Optimal Nonlinear Tracking Problem. In Proceedings of the 7th International Conference on Control, Automation, Robotics and Vision, Singapore, 2–5 December 2002; Volume 3, pp. 1508–1512. [Google Scholar]
  39. Alizadeh, S.; Adhami, A.; Yazdanpanah, M.J. Optimal Control of Drug Administration in Cancer Treatment via State-Dependent Riccati Equation (SDRE) Method. In Proceedings of the 20th Iranian Conference on Electrical Engineering (ICEE2012), Tehran, Iran, 15–17 May 2012. [Google Scholar]
  40. Jung, J.; Park, S.-Y.; Kim, S.-W.; Eun, Y.; Chang, Y.-K. Hardware-In-the-Loop Simulations of Spacecraft Attitude Synchronization Using the State-Dependent Riccati Equation Technique. Adv. Sp. Res. 2013, 51, 434–449. [Google Scholar] [CrossRef]
  41. Heydari, A.; Balakrishnan, S.N. Closed-Form Solution to Finite-Horizon Suboptimal Control of Nonlinear Systems. Int. J. Robust Nonlinear Control 2015, 25, 2687–2704. [Google Scholar] [CrossRef]
  42. Abdelrahman, M.; Chang, I.; Park, S.-Y. Magnetic Torque Attitude Control of a Satellite Using the State-Dependent Riccati Equation Technique. Int. J. Non. Linear. Mech. 2011, 46, 758–771. [Google Scholar] [CrossRef]
  43. Korayem, M.H.; Nekoo, S.R. Finite-Time State-Dependent Riccati Equation for Time-Varying Nonaffine Systems: Rigid and Flexible Joint Manipulator Control. ISA Trans. 2015, 54, 125–144. [Google Scholar] [CrossRef] [PubMed]
  44. Liu, T.; Jiang, Z.-P. Event-Based Control of Nonlinear Systems with Partial State and Output Feedback. Automatica 2015, 53, 10–22. [Google Scholar] [CrossRef]
  45. Rafee Nekoo, S. Tutorial and Review on the State-Dependent Riccati Equation. J. Appl. Nonlinear Dyn. 2019, 8, 109–166. [Google Scholar] [CrossRef]
  46. Anderson, B.D.O.; Moore, J.B. Optimal Control: Linear Quadratic Methods; Dover Books on Engineering; Dover Publications: Mineola, NY, USA, 2007; ISBN 9780486457666. [Google Scholar]
  47. Kirk, D.E. Optimal Control Theory: An Introduction; Dover Books on Electrical Engineering Series; Dover Publications: Mineola, NY, USA, 2004; ISBN 9780486434841. [Google Scholar]
  48. Nguyen, T.; Gajic, Z. Solving the Matrix Differential Riccati Equation: A Lyapunov Equation Approach. IEEE Trans. Automat. Contr. 2009, 55, 191–194. [Google Scholar]
  49. Çimen, T. On the Existence of Solutions Characterized by Riccati Equations to Infinite-Time Horizon Nonlinear Optimal Control Problems. IFAC Proc. Vol. 2011, 44, 9618–9626. [Google Scholar] [CrossRef]
  50. Cloutier, J.; Souza, C.; Mracek, C. Nonlinear Regulation and Nonlinear H Control Via the State-Dependent Riccati Equation Technique: Part1, Theory. In Proceedings of the International Conference on Nonlinear Problems in Aviation and Aerospace, Daytona Beach, FL, USA, 9–11 May 1996. [Google Scholar]
  51. Holland, J.H. Adaptation in Natural and Artificial Systems: An Introductory Analysis with Applications to Biology, Control, and Artificial Intelligence; University of Michigan Press: Ann Arbor, MI, USA, 1975; ISBN 9780472084609. [Google Scholar]
  52. Kirkpatrick, S.; Gelatt Jr, C.D.; Vecchi, M.P. Optimization by Simulated Annealing. Science 1983, 220, 671–680. [Google Scholar] [CrossRef]
  53. Černý, V. Thermodynamical Approach to the Traveling Salesman Problem: An Efficient Simulation Algorithm. J. Optim. Theory Appl. 1985, 45, 41–51. [Google Scholar] [CrossRef]
  54. Blum, C.; Roli, A. Hybrid Metaheuristics: An Introduction. In Hybrid Metaheuristics: An Emerging Approach to Optimization; Springer: Berlin/Heidelberg, Germany, 2008; pp. 1–30. [Google Scholar]
  55. Bettemir, Ö.H.; Sonmez, R. Hybrid Genetic Algorithm with Simulated Annealing for Resource-Constrained Project Scheduling. J. Manag. Eng. 2015, 31, 4014082. [Google Scholar] [CrossRef]
  56. Zhang, C.; Li, P.; Rao, Y.; Li, S. A New Hybrid GA/SA Algorithm for the Job Shop Scheduling Problem. In Evolutionary Computation in Combinatorial Optimization; Raidl, G.R., Gottlieb, J., Eds.; Springer: Berlin/Heidelberg, Germany, 2005; pp. 246–259. [Google Scholar]
  57. Han, S.; Lee, I.; Han, C. A Hybrid Genetic Algorithm with Simulated Annealing for Nonlinear Blind Equalization Using RBF Networks. In Proceedings of the International Conference on Adaptive and Natural Computing Algorithms, Warsaw, Poland, 11–14 April 2007; Springer: Berlin/Heidelberg, Germany, 2007; pp. 257–265. [Google Scholar]
  58. Liu, T.; Qin, Z.; Hong, Y.; Jiang, Z.-P. Distributed Optimization of Nonlinear Multiagent Systems: A Small-Gain Approach. IEEE Trans. Automat. Contr. 2021, 67, 676–691. [Google Scholar] [CrossRef]
  59. Nag, S. Design and Evaluation of Distributed Spacecraft Missions for Multi-Angular Earth Observation. Ph.D. Thesis, Massachusetts Institute of Technology, Cambridge, MA, USA, 2015. [Google Scholar]
  60. Sabol, C.; Burns, R.; McLaughlin, C.A. Satellite Formation Flying Design and Evolution. J. Spacecr. Rockets 2001, 38, 270–278. [Google Scholar] [CrossRef]
  61. Biktimirov, S.; Belyj, G.; Pritykin, D. Satellite Formation Flying for Space Advertising: From Technically Feasible to Economically Viable. Aerospace 2022, 9, 419. [Google Scholar] [CrossRef]
  62. Popov, A.M.; Kostin, I.; Fadeeva, J.; Andrievsky, B. Development and Simulation of Motion Control System for Small Satellites Formation. Electronics 2021, 10, 3111. [Google Scholar] [CrossRef]
  63. Cao, L.; Misra, A.K. Linearized J2 and Atmospheric Drag Model for Satellite Relative Motion with Small Eccentricity. Proc. Inst. Mech. Eng. Part G J. Aerosp. Eng. 2015, 229, 2718–2736. [Google Scholar] [CrossRef]
  64. Vallado, D.A. Orbital Mechanics Fundamentals. In Encyclopedia of Aerospace Engineering; Wiley: Hoboken, NJ, USA, 2010; ISBN 9780470686652. [Google Scholar]
  65. Brizard, A.J. An Introduction to Lagrangian Mechanics; G—Reference, Information and Interdisciplinary Subjects Series; World Scientific: Singapore, 2008; ISBN 9789812818362. [Google Scholar]
Disclaimer/Publisher’s Note: The statements, opinions and data contained in all publications are solely those of the individual author(s) and contributor(s) and not of MDPI and/or the editor(s). MDPI and/or the editor(s) disclaim responsibility for any injury to people or property resulting from any ideas, methods, instructions or products referred to in the content.

Article Metrics

Citations

Article Access Statistics

Multiple requests from the same IP address are counted as one view.