Design and Experiments of a Convex Curved Surface Type Grain Yield Monitoring System
Abstract
1. Introduction
2. Materials and Methods
2.1. Design of Key Components for Convex Surface Grain Yield Monitoring System
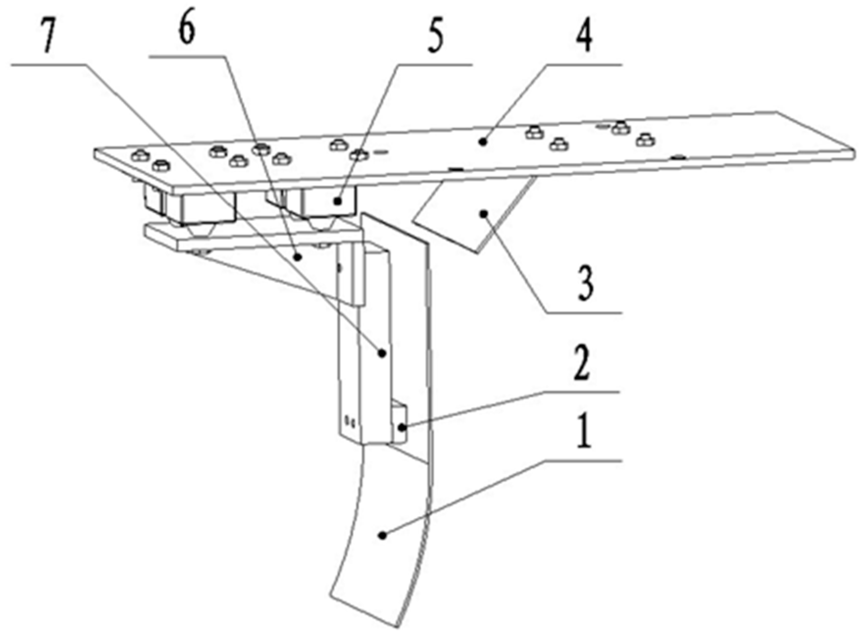
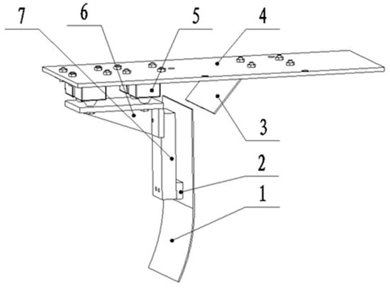
2.1.1. Design of Convex Surface Grain Mass Flow Sensor
2.1.2. Measurement Principle of Convex Surface Grain Mass Flow Sensor
2.2. Design of a Monitoring System for Grain Yield Measuring Instrument
2.2.1. Hardware Equipment for the Monitoring System of the Grain Yield Measuring Instrument
2.2.2. Software Design of Grain Yield Monitoring System
2.3. Bearing Plate Parameters and Design of Particle Mass Flow Simulation Loading Experiment Bench
2.4. Field Experiment
3. Results and Discussion
3.1. Calibration Experiments of the Grain Yield Monitoring System
3.2. Analysis of Comparison Results of Bearing Plate Parameters
3.3. Analysis of Sensor Accuracy under Different Flow Rates and Particle Types
3.3.1. Analysis of Sensor Accuracy under Different Flow Rates
3.3.2. The Influence of Particle Type on Sensor Accuracy
3.4. Analysis of Field Experiment Results of the Grain Yield Monitoring System
4. Conclusions
- (1)
- The overall functional analysis and hardware scheme design of the grain flow monitoring device of the combine harvester has been completed. The principles of key component design were analyzed, and the monitoring unit of the grain yield meter, including the controller, keypad, display, etc., was designed. In the main controller development platform, Keil5 is the main program and the main control unit of the underlying driver subroutine design. The main program of the system was compiled, with a primary emphasis on completing system initialization, key recognition, signal acquisition, flow calculation, display functions, and communication with the field computer. Finally, online yield measurement of grain combine harvesters was achieved based on the impulse theorem.
- (2)
- Functional debugging, indoor bench validation experiments, and onboard field harvesting experiments of the grain flow monitoring device for combine harvesters were completed. The simulated loading experiment on the experiment bench demonstrated that the measurement errors of the designed grain weight flow sensor are all less than 5% after calibration. With stable performance, easy installation, and operational suitability, the device meets the requirements for online measurement during combine harvester operations. The experiment compared the effects of five geometric parameters, including material, length, thickness, and curvature radius, on the accuracy of grain mass flow measurement for the load-bearing plate-type grain mass flow sensor. Comparison shows that the average relative error of grain mass flow measurement for the organic glass bearing plate with a length of b = 357 mm, a thickness of c = 4 mm, and a curvature radius of R = 250 mm is the smallest, with a value of 2.27%. The average relative error of grain mass flow measurement for aluminum alloy bearing plates with a length of b = 357 mm, a thickness of c = 3 mm, and a curvature radius of R = 250 mm is the highest, with a value of 7.95%. The average relative error of the minimum grain mass flow rate measurement is reduced by 5% compared to the average relative error of the maximum grain mass flow rate measurement 5. 68%.
- (3)
- Post-calibration of the sensor’s zero position and coefficients for different flow rates and grain types resulted in most errors being less than 5%. Indoor experiments compared the relative errors of the convex surface type yield monitoring system under different flow rates, and the data showed that at an actual average grain flow rate of 0–2.5 kg/s, the maximum error observed was 2.339%. When the actual average flow rate of the grain was more than 2 kg/s, the error increased gradually, and when the average grain flow rate exceeded 2.5 kg/s, the error exceeded 5%. The field experiments showed that the overall performance of the monitoring system was good. The system exhibited robust adaptability to various interference signals in the field, measuring yield online with an error of less than 5%.
- (4)
- Although the sensor currently meets production testing needs, the system can be easily and effectively applied to rice and wheat harvesting scenarios. However, the measurement accuracy of the convex curved surface-type grain mass flow sensor is affected by vibration signals such as humidity, elevator speed, changes in vehicle forward speed, combined harvester body vibration, and ground impact. This leaves ample room for system upgrades. In future research, a filter could be designed by analyzing the vibration signals and using adaptive noise cancellation technology to achieve the filtering of vibration interference signals. Additionally, the stability and practicality of the system need to be repeatedly tested to further improve the stability and accuracy of grain flow sensors, allowing for commercialization and promotion in more crop yield monitoring scenarios.
Author Contributions
Funding
Institutional Review Board Statement
Data Availability Statement
Conflicts of Interest
References
- Karunathilake, E.; Le, A.T.; Heo, S.; Chung, Y.S.; Mansoor, S. The path to smart farming: Innovations and opportunities in precision agriculture. Agriculture 2023, 13, 1593. [Google Scholar] [CrossRef]
- Gebbers, R.; Adamchuk, V.I. Precision agriculture and food security. Science 2010, 327, 828–831. [Google Scholar] [CrossRef] [PubMed]
- Finger, R.; Swinton, S.M.; El Benni, N.; Walter, A. Precision farming at the nexus of agricultural production and the environment. Annu. Rev. Resour. Econ. 2019, 11, 313–335. [Google Scholar] [CrossRef]
- Sharma, S.; Rout, K.; Khanda, C.; Tripathi, R.; Shahid, M.; Nayak, A.; Satpathy, S.; Banik, N.C.; Iftikar, W.; Parida, N. Field-specific nutrient management using Rice Crop Manager decision support tool in Odisha, India. Field Crop. Res. 2019, 241, 107578. [Google Scholar] [CrossRef]
- Yin, J.; Zhao, Z.; Lei, C.; Yang, S.X. Improved optical-type measurement method of grain flow using array near-infrared photoelectric sensors. Comput. Electron. Agric. 2021, 183, 106075. [Google Scholar] [CrossRef]
- Elsoragaby, S.; Yahya, A.; Mahadi, M.R.; Nawi, N.M.; Mairghany, M. Comparative field performances between conventional combine and mid-size combine in wetland rice cultivation. Heliyon 2019, 5, e01427. [Google Scholar] [CrossRef] [PubMed]
- Zhang, W.; Hu, L.; Ding, F.; Luo, X.; Zhang, Z.; Hu, L.; Huang, P.; Peng, M. Parking precise alignment control and cotransporter system for rice harvester and transporter. Comput. Electron. Agric. 2023, 215, 108443. [Google Scholar] [CrossRef]
- Arslan, S.; Colvin, T.S. Grain yield mapping: Yield sensing, yield reconstruction, and errors. Precis. Agric. 2002, 3, 135–154. [Google Scholar] [CrossRef]
- Shoji, K.; Itoh, H.; Kawamura, T. In-situ non-linear calibration of grain-yield sensor: Optimization of parameters for flow rate of grain vs. Force on the sensor. Eng. Agric. Environ. Food 2009, 2, 78–82. [Google Scholar] [CrossRef]
- Reinke, R.; Dankowicz, H.; Phelan, J.; Kang, W. A dynamic grain flow model for a mass flow yield sensor on a combine. Precis. Agric. 2011, 12, 732–749. [Google Scholar] [CrossRef]
- Chen, S.; Chou, H.; Li, Y.; Lu, Q. Design and experiment of test-bed for grain flow sensor. Trans. Chin. Soc. Agric. Eng. 2012, 28, 41–46. [Google Scholar] [CrossRef]
- Chou, H.; Chen, S.; Zhang, L. Design and Test of Cereal Production, Intelligent Yield Monitor. J. Agric. Mech. Res. 2013, 35, 130–133. [Google Scholar] [CrossRef]
- Xiong, Y.; Zhou, J.; Wei, W.; Shen, M.; Zhang, B. Design and experiment of grain mass flow sensor based on embedded system. Trans. Chin. Soc. Agric. Eng. 2018, 34, 39. [Google Scholar] [CrossRef]
- Zhao, Z.; Lei, C.; Li, H.; Liu, J. Grain Thickness Sensor for Combine Harvester Grain Flow Measurement Based on Near-infrared Spectroscopy. Trans. Chin. Soc. Agric. Mach. 2019, 50, 6. [Google Scholar] [CrossRef]
- Fu, X.; Zhang, Z.; An, X.; Zhao, C.; Li, C.; Yu, J. Development and performance experiment on grain yield monitoring system of combine harvester based on photoelectric diffuse reflectance. Trans. Chin. Soc. Agric. Eng. 2017, 33, 7. [Google Scholar] [CrossRef]
- Maertens, K.; Reyns, P.; De Baerdemaeker, J. Double adaptive notch filter for mechanical grain flow sensors. J. Sound Vib. 2003, 266, 645–654. [Google Scholar] [CrossRef]
- Jones, S.B.; Sheng, W.; Or, D. Dielectric measurement of agricultural grain moisture—Theory and applications. Sensors 2022, 22, 2083. [Google Scholar] [CrossRef] [PubMed]
- Warzecha, M.; Michalczyk, J. Calculation of maximal collision force in kinematic chains based on collision force impulse. J. Theor. Appl. Mech. 2020, 58, 339–349. [Google Scholar] [CrossRef]
- Li, H.; Meng, C.; Zhao, Y. Automatic Expansion of Voltage Signals Using Empirical Mode Decomposition for Voltage Sag Detection. IEEE Access 2022, 10, 80138–80150. [Google Scholar] [CrossRef]
- Yin, J.; Chen, Z.; Liu, C.; Zhou, M.; Liu, L. Design and Experiments of a Real-Time Bale Density Monitoring System Based on Dynamic Weighing. Sensors 2023, 23, 1778. [Google Scholar] [CrossRef]
- Chen, Z.; Yin, J.; Yang, J.; Zhou, M.; Wang, X.; Farhan, S.M. Development and Experiment of an Innovative Row-Controlled Device for Residual Film Collector to Drive Autonomously along the Ridge. Sensors 2023, 23, 8484. [Google Scholar] [CrossRef]
- Qarallah, B.; Shoji, K.; Kawamura, T. Development of a yield sensor for measuring individual weights of onion bulbs. Biosyst. Eng. 2008, 100, 511–515. [Google Scholar] [CrossRef][Green Version]
- Zhou, J.; Liu, C. Signal processing method for impact-based grain mass flow sensor with parallel beam load cell. Trans. Chin. Soc. Agric. Eng. 2008, 24, 5. [Google Scholar] [CrossRef]






| Group Number | Material | Unbent Length a\mm | Overall Length b\mm | Thickness c\mm | Curvature Radius R\mm | Width d\mm |
|---|---|---|---|---|---|---|
| ① | Aluminum alloy | 170 | 347 | 2 | 250 | 154 |
| ② | Aluminum alloy | 170 | 347 | 3 | 250 | 154 |
| ③ | Aluminum alloy | 170 | 357 | 2 | 250 | 154 |
| ④ | Aluminum alloy | 170 | 357 | 3 | 250 | 154 |
| ⑤ | Aluminum alloy | 290 | 290 | 2 | 0 | 154 |
| ⑥ | Organic glass | 290 | 290 | 4 | 0 | 154 |
| ⑦ | Organic glass | 170 | 347 | 4 | 250 | 154 |
| ⑧ | Organic glass | 170 | 347 | 5 | 250 | 154 |
| ⑨ | Organic glass | 170 | 357 | 4 | 250 | 154 |
| ⑩ | Organic glass | 170 | 357 | 5 | 250 | 154 |
| Parameters/Units | Value |
|---|---|
| Power configuration (kW) | 128 |
| Cutting width (m) | 4.8 |
| Rated feeding amount (kg/s) | 6 |
| External dimensions (mm × mm × mm) | 7400 × 5785 × 3400 |
| Engine speed (r/min) | 2200 |
| Whole machine weight (kg) | 9020 |
| Maximum walking speed (km/h) | 20 |
| Serial Number | Display Mass/kg | Actual Mass/kg | Relative Error/% | Calibration Coefficient | Mean Calibration Coefficient |
|---|---|---|---|---|---|
| 1 | 14.99 | 19.89 | −24.64 | 29,350 | 29,347 |
| 2 | 20.8 | 24.19 | −14.02 | 31,923 | |
| 3 | 18.46 | 20.84 | −11.42 | 31,197 | |
| 4 | 20.99 | 23.3 | −11.01 | 24,918 |
| Serial Number | Group Number | Display Mass/kg | Actual Mass/kg | Relative Error/% | Relative Error Variance |
|---|---|---|---|---|---|
| 1 | ① | 24.29 | 23.72 | 3.25 | 3.59 |
| 2 | ① | 22.68 | 22.09 | 3.12 | |
| 3 | ② | 22.23 | 21.04 | 5.66 | |
| 4 | ② | 21.75 | 20.54 | 5.89 | |
| 5 | ③ | 23.25 | 22.64 | 2.70 | |
| 6 | ③ | 22.39 | 21.84 | 2.52 | |
| 7 | ④ | 24.33 | 21.84 | 7.22 | |
| 8 | ④ | 23.68 | 22.69 | 8.67 | |
| 9 | ⑤ | 25.49 | 21.79 | 6.47 | |
| 10 | ⑤ | 25.24 | 23.94 | 6.09 | |
| 11 | ⑥ | 23.91 | 25.59 | 6.07 | |
| 12 | ⑥ | 23.22 | 22.54 | 6.80 | |
| 13 | ⑦ | 18.45 | 17.92 | 2.96 | |
| 14 | ⑦ | 28.07 | 27.13 | 3.47 | |
| 15 | ⑧ | 17.65 | 16.79 | 5.12 | |
| 16 | ⑧ | 18.23 | 17.29 | 5.44 | |
| 17 | ⑨ | 17.1 | 17.52 | 2.40 | |
| 18 | ⑨ | 18.53 | 18.14 | 2.14 | |
| 19 | ⑩ | 26.95 | 21.74 | 6.18 | |
| 20 | ⑩ | 25.20 | 23.92 | 5.36 |
| Serial Number | Gear Position | Display Mass/kg | Actual Mass/kg | Time/s | Average Flow/kg · s−1 | Relative Error/% | Relative Error Variance |
|---|---|---|---|---|---|---|---|
| 1 | 1 | 22.97 | 23.29 | 24.17 | 0.963 | 1.37 | 3.03 |
| 2 | 1 | 47.35 | 48.08 | 48.75 | 0.986 | 1.52 | |
| 3 | 2 | 28.64 | 28.26 | 18.38 | 1.538 | 1.34 | |
| 4 | 2 | 52.06 | 51.43 | 34.73 | 1.489 | 1.23 | |
| 5 | 3 | 28.96 | 29.49 | 14.54 | 2.028 | 1.80 | |
| 6 | 3 | 49.96 | 50.76 | 24.81 | 2.054 | 1.96 | |
| 7 | 4 | 27.5 | 26.89 | 11.3 | 2.380 | 2.27 | |
| 8 | 4 | 52.07 | 50.88 | 21.83 | 2.330 | 2.34 | |
| 9 | 5 | 25.03 | 23.75 | 8.41 | 2.824 | 5.39 | |
| 10 | 5 | 47.73 | 44.99 | 15.5 | 2.902 | 6.09 |
| Serial Number | Display Mass/kg | Actual Mass/kg | Time/s | Average Flow Rate/kg · s−1 | Relative Error/% | Relative Error Variance |
|---|---|---|---|---|---|---|
| 1 | 25.23 | 24.24 | 14.72 | 1.64 | 4.08 | 2.09 |
| 2 | 25.1 | 24.74 | 14.9 | 1.66 | 1.46 | |
| 3 | 25.03 | 24.29 | 17.91 | 1.24 | 3.04 | |
| 4 | 22.37 | 22.44 | 15.41 | 1.45 | 0.31 | |
| 5 | 23.7 | 22.79 | 19.09 | 1.20 | 3.99 | |
| 6 | 21.88 | 21.34 | 15.62 | 1.37 | 2.53 | |
| 7 | 22.04 | 21.94 | 15.03 | 1.46 | 0.46 | |
| 8 | 20.10 | 20.94 | 13.91 | 1.50 | 4.01 | |
| 9 | 21.10 | 20.84 | 15.37 | 1.36 | 1.25 | |
| 10 | 20.73 | 20.34 | 16.97 | 1.20 | 1.92 |
| Serial Number | Display Mass/kg | Actual Mass/kg | Time/s | Average Flow Rate/kg · s−1 | Relative Error/% | Relative Error Variance |
|---|---|---|---|---|---|---|
| 1 | 23.15 | 24.04 | 23.13 | 1.04 | 3.7 | 2.27 |
| 2 | 22.97 | 22.79 | 23.27 | 0.95 | 0.08 | |
| 3 | 21.6 | 22.24 | 21.22 | 1.05 | 2.9 | |
| 4 | 20.78 | 20.89 | 21.00 | 0.99 | 0.52 | |
| 5 | 20.21 | 20.64 | 20.04 | 1.03 | 2.08 | |
| 6 | 19.24 | 19.14 | 20.85 | 0.92 | 0.52 | |
| 7 | 23.58 | 25.26 | 22.73 | 1.11 | 3.73 | |
| 8 | 24.62 | 25.24 | 22.00 | 1.15 | 2.46 | |
| 9 | 24.04 | 24.94 | 19.84 | 1.32 | 3.61 | |
| 10 | 23.31 | 23.24 | 21.38 | 1.08 | 0.30 |
| Serial Number | Display Mass/kg | Actual Mass/kg | Time/s | Average Flow Rate/kg · s−1 | Relative Error/% | Relative Error Variance |
|---|---|---|---|---|---|---|
| 1 | 27.29 | 28.35 | 27.4 | 1.035 | 3.74 | 2.35 |
| 2 | 33.64 | 34.69 | 24.88 | 1.394 | 3.03 | |
| 3 | 33.24 | 34.09 | 25.44 | 1.340 | 2.46 | |
| 4 | 41.66 | 43.54 | 35.5 | 1.266 | 4.32 | |
| 5 | 46.58 | 46.74 | 36.12 | 1.318 | 0.34 |
| Serial Number | Display Mass/kg | Actual Mass/kg | Time/s | Average Flow Rate/kg · s−1 | Relative Error/% | Relative Error Variance |
|---|---|---|---|---|---|---|
| 1 | 27.93 | 26.94 | 15.4 | 1.75 | 3.75 | 1.51 |
| 2 | 19.78 | 20.68 | 11.2 | 1.85 | 4.36 | |
| 3 | 32.36 | 31.09 | 23.4 | 1.33 | 3.91 | |
| 4 | 40.28 | 40.84 | 20.5 | 1.99 | 1.38 | |
| 5 | 36.21 | 37.09 | 36.8 | 1.03 | 2.44 |
| Reference | Sensor | Relative Error Range/% |
|---|---|---|
| Shoji et al. [9] | Impact ring-type yield sensor | The yield measurement error ranged from 3–5% at high grain flow rates to 10% at low flow rates. |
| Reinke et al. [10] | Mass flow yield sensor | The yield monitoring experiment bed showed a maximum measurement error of 4.02%, but the obtained data was unstable. |
| Chen et al. [11] | Single-plate impact grain flow sensor | The experimental platform recorded a 4.2% maximum error. |
| Chu et al. [12] | Single-plate impact grain flow sensor | It was vibration-sensitive and untested in real field conditions. |
| Zhou et al. [13] | Impact grain flow sensor | The results of the field yield experiment showed a maximum measurement error of less than 7.4%. |
| Proposed method (This research) | Convex Surface Grain Mass Flow Sensor | The measurement error while the combine harvester was used was less than 5%. |
Disclaimer/Publisher’s Note: The statements, opinions and data contained in all publications are solely those of the individual author(s) and contributor(s) and not of MDPI and/or the editor(s). MDPI and/or the editor(s) disclaim responsibility for any injury to people or property resulting from any ideas, methods, instructions or products referred to in the content. |
© 2024 by the authors. Licensee MDPI, Basel, Switzerland. This article is an open access article distributed under the terms and conditions of the Creative Commons Attribution (CC BY) license (https://creativecommons.org/licenses/by/4.0/).
Share and Cite
Fang, Y.; Chen, Z.; Wu, L.; Farhan, S.M.; Zhou, M.; Yin, J. Design and Experiments of a Convex Curved Surface Type Grain Yield Monitoring System. Electronics 2024, 13, 254. https://doi.org/10.3390/electronics13020254
Fang Y, Chen Z, Wu L, Farhan SM, Zhou M, Yin J. Design and Experiments of a Convex Curved Surface Type Grain Yield Monitoring System. Electronics. 2024; 13(2):254. https://doi.org/10.3390/electronics13020254
Chicago/Turabian StyleFang, Yijun, Zhijian Chen, Luning Wu, Sheikh Muhammad Farhan, Maile Zhou, and Jianjun Yin. 2024. "Design and Experiments of a Convex Curved Surface Type Grain Yield Monitoring System" Electronics 13, no. 2: 254. https://doi.org/10.3390/electronics13020254
APA StyleFang, Y., Chen, Z., Wu, L., Farhan, S. M., Zhou, M., & Yin, J. (2024). Design and Experiments of a Convex Curved Surface Type Grain Yield Monitoring System. Electronics, 13(2), 254. https://doi.org/10.3390/electronics13020254

