Next Article in Journal
Turbulent Eddy Generation for the CFD Analysis of Hydrokinetic Turbines
Next Article in Special Issue
Ensuring Reliable and Safe Operation of Trunk Diesel Engines of Marine Transport Vessels
Previous Article in Journal
A Multi-Strategy Framework for Coastal Waste Detection
Previous Article in Special Issue
Static and Discrete Berth Allocation for Large-Scale Marine-Loading Problem by Using Iterative Variable Grouping Genetic Algorithm
 
 
Font Type:
Arial Georgia Verdana
Font Size:
Aa Aa Aa
Line Spacing:
Column Width:
Background:
Article

Ensuring the Environmental Friendliness of Drillships during Their Operation in Special Ecological Regions of Northern Europe

1
Department of Ship’s Power Plants, National University Odessa Maritime Academy, Didrikhson Street 8, 65029 Odessa, Ukraine
2
Department of Cars and Carriage Facilities, State University of Infrastructure and Technologies, Kyrylivska Street 9, 04071 Kyiv, Ukraine
3
Institute of Automotive Engineering, Brno University of Technology, Technická 2896/2, 616-69 Brno, Czech Republic
*
Author to whom correspondence should be addressed.
J. Mar. Sci. Eng. 2022, 10(9), 1331; https://doi.org/10.3390/jmse10091331
Submission received: 29 August 2022 / Revised: 13 September 2022 / Accepted: 16 September 2022 / Published: 19 September 2022
(This article belongs to the Special Issue Dynamic Load of Shipping)

Abstract

The features of the operation of the drillship-type vessels in special ecological regions of Northern Europe are considered. The main gap in the study of these systems is to determine the optimal degree of recirculation. The requirements of the International Maritime Organization for the emission of nitrogen oxides from the exhaust gases of marine diesel engines are given. The aim of the study is to determine the optimal degree of recirculation of exhaust gases of a 16V32 STX-MAN marine diesel. During the research, the optimal degree of exhaust gas recirculation varied in the range of 0–21%, the load on the diesel—in the range of 35–95% of the rated power. It was established that in this case, the emission of nitrogen oxides decreases up to 7.7–33.6%, the specific fuel consumption increases up to 0.2–3.5%. It was also found that the use of gas recirculation in the range of 18–21% at loads of 35–55% leads to a critical increase in exhaust gas temperature. It is advisable to use exhaust gas recirculation in the range of 6–15% to ensure the environmental friendliness of the operation of the drillships. In these modes, the maximum reduction in nitrogen oxide emissions is ensured with a minimum increase in specific fuel consumption. Future studies should be directed at the development of the criteria for the environmental stability of sea vessels.

1. Introduction

Maritime transport includes vessels for various purposes and displacement. Transportation, which is carried out by sea transport vessels, is not limited to bulk, and bulk cargo. Along with ships of the general cargo, bulk carrier, oil product/crude oil/chemical tanker, container ship classes, designed to carry general, bulk, liquid cargo and containers, as well as cruise ships providing passenger recreation, there is a large class of specialized sea vessels [1,2,3]. These vessels carry out work on deepening and cleaning fairways, laying marine electric cables, installing, and processing anchors, supplying ocean oil platforms, and providing the technological process for oil production [4,5].
The annual increase in the consumption of hydrocarbon raw materials, the prevalence of the use of liquid and gaseous fuels over solid ones, and the absence of real alternatives to oil and gas as the main source of thermal energy lead to the gradual depletion of their continental deposits. Further growth in energy consumption in industry, in transport, and in everyday life increases the shortage of fuel of petroleum origin, which can only be provided by continental reserves. Therefore, recently many countries have been developing and expanding the resources of the continental shelf of the World Ocean. The main reserves of offshore oil fields are in the Gulf of Mexico, the Persian Gulf, the Gulf of Guinea, and for the European continent—in the Norwegian Sea (in the waters of Norway and Scotland).
Oil production is carried out with the help of special vessels, which are classified as drillships. The power plants of these vessels ensure not only the movement of the vessel and the supply of its equipment and mechanisms with electrical energy but also the operation of special equipment (which performs drilling and oil production). As a result, the capacity of drillships’ power plants exceeds the power plants of other vessels of the same deadweight. Marine diesel engines (as the main component of a marine power plant) are sources of environmental pollution with exhaust gases, which include toxic components: carbon dioxide CO, hydrocarbons CnHm, soot C, sulfur oxides SOX, nitrogen oxides NOX [6,7,8].
Nitrogen oxides NOX occupy the first place among harmful emissions in almost all operating modes of diesel engines, regardless of their type, size, and design features. Nitrogen N (located both in air and in fuel) combines with oxygen O to form various oxides—N2O, NO, and NO2. Nitrogen oxides (I) N2O do not react with other elements, rise into the atmosphere, and lead to an increase in the greenhouse effect. Nitrogen oxides (II) NO and nitrogen oxides (IV) NO2 continue to react with ozone O3 and water vapor H2O. This produces nitrogen oxides HNO3. It is nitric acid, which subsequently condenses in the air and returns to the surface of the oceans or the island and mainland of the Earth in the form of acid rain, is the compound that causes environmental damage to the environment (Figure 1) [9,10].
The emission of nitrogen oxides with exhaust gases from marine diesel engines is regulated by the requirements of Annex VI MARPOL [11,12]. In accordance with the Tier-I, Tier-II, and Tier-III standards (which apply to diesel engines of ships built after 2000, 2011, and 2016), the maximum amount of NOX in exhaust gases should not exceed the values determined by special expressions (Figure 2) [13,14].
International Maritime Organization (IMO) establishes sea areas for stricter control of sulfur oxides emissions SOX and nitrogen oxides emissions NOX. These special environmental areas are called SECA (sulfur emission control area) and NECA (nitrogen emission control area). Special ecological regions of Europe are shown in Figure 3.
The marine, coastal, and continental regions of Northern Europe are characterized by high humidity, low temperatures, and high wind intensity. This accelerates the conversion of nitrogen oxides into nitric acid and its further precipitation with natural precipitation (rain and snow) on the surface of the earth and sea. Intense winds contribute to the spread of toxic components of exhaust gases over a large area. Therefore, the areas shown in Figure 3, refer to special ecological regions and pay increased attention to the ships of maritime transport when working in them.
When operating the power plants of marine transport ships, engineers are faced with various dilemmas, one of which links the environmental and economic performance of heat engines. Stabilization within the required limits or a decrease in the values of almost all environmental indicators of marine diesel engines (emissions of carbon oxides CO, sulfur SOX, and nitrogen NOX) is due to:
  • Changes in the design of engines and systems that ensure their functioning [15,16];
  • Using more expensive (currently) energy sources (for example, hydrogen, natural gas, low-sulfur fuels) [17,18];
  • The use of solar and wind energy technologies [19,20].
These methods require not only preliminary development and experimental determination of optimal modes, but also additional financial investments for their implementation, operation, and maintenance.
In addition, improving the environmental friendliness of marine diesel engines is impossible without increasing fuel consumption, given both the operating time (hourly—Bh, kg/h) and power (effective—be, kg/kWh) or the distance traveled (per mile—Bm, kg/mile).
It is also important that the operation of maritime transport vessels can take place for a considerable time, and sometimes permanently, in special ecological regions (on inland waterways, on raids, and the territory of river/seaports, in coastal waters). Compliance with the requirements of international and national standards to ensure the environmental performance of power plants in such conditions is associated with a decrease in the speed characteristics of the vessel, which also leads to an increase in financial costs.
One of the problems in conducting experimental studies to determine the optimal operating modes of equipment that provides environmental performance of a diesel engine is maintaining constant thermal and load modes of its operation. Marine diesel engines (both main and auxiliary) are constantly exposed to variable external loads. This complicates the experiments and requires additional technological actions (for example, redistributing the load between diesel engines or connecting permanent energy consumers to diesel engines, maintaining constant temperatures in the cooling and lubricating diesel systems).

2. Literature Review

Methods for reducing the concentration of nitrogen oxides in the exhaust gases of marine diesel engines are divided into primary and secondary. Primary methods affect the working process in the diesel cylinder (including the fuel injection process). The main ones are charge air humidification, water injection into the diesel cylinder, the use of water-fuel emulsions, and exhaust gas control (due to their recirculation or bypass). According to the theory of combustion, the formation of nitrogen oxides occurs at temperatures above 1500 K. The methods listed above provide a reduction in temperature peaks (which are characteristic of the combustion process), which reduces the intensity of formation and the number of nitrogen oxides [21,22].
Secondary NOX reduction methods work directly on the exhaust gases that are already moving in the exhaust line. The most common of the secondary methods is selective catalytic reduction (SCR). In this case, the exhaust gases enter a special reactor, into which a special reagent (ammonia, ammonium nitrate or urea) is injected [23,24,25]. As a result of chemical reactions, nitrogen oxides (NO and NO2) are converted into molecular nitrogen N2 and water vapor H2O. The efficiency of the SCR method reaches 95%. However, SCR reactors are large and heavy. This prevents their placement in the engine room, and (since the SCR reactor is installed above the diesel engine) changes the ship’s metacentric height. In addition, the use of ammonia and ammonium nitrate is unsafe for the ship and the ship’s crew [26,27,28].
One of the methods that reduce the emission of nitrogen oxides from marine diesel engines is exhaust gas recirculation (EGR) [9,21,29].
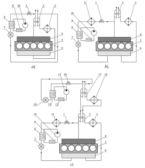
Exhaust gas recirculation systems were originally developed for automotive applications (both gasoline and diesel engines). The positive experience of their application, as well as the need to find new solutions to ensure the environmental performance of marine diesel engines, contributed to the introduction of these systems into ship power plants. Depending on the characteristics of the diesel engine (design, power, characteristics of the pressurization system), various schemes are used that provide the exhaust gas recirculation process: high pressure—HP-EGR, low pressure—LP-EGR, and combined high- and low-pressure systems—HLP-EGR [30,31]. Based on the analysis of modern technological solutions, the schematic diagrams of these systems are shown in Figure 4.
The exhaust gas recirculation system (both low and high pressure) includes:
  • Recirculation valve (which controls the flow of gases entering the recirculation);
  • Scrubber (for cleaning exhaust gases from solid unburned particles) with a water spray system and exhaust gas cooling;
  • Gas supercharger (which recirculates gases to the scavenge receiver or to the turbocharger compressor).
In the low-pressure recirculation system (Figure 4a), the exhaust gases from diesel 5 enter the common exhaust manifold 4 and then to the turbocharger 2. After the turbocharger, some of the gases are returned for recirculation. Their number is regulated by valve 1, the position of which, as a rule, is set by the controller. The exhaust gases (even after the turbocharger) have a high temperature, in addition, they contain solid particles of unburned hydrocarbons, the further ingress of which onto the blades of the air compressor contributes to the deterioration of its technical condition and can lead to the occurrence of such a phenomenon as surge. For these reasons, a scrubber is installed on the exhaust gas recirculation line (position 8 in Figure 4a), in which they are cleaned and cooled. For this purpose, the system uses fresh water (item 9 in Figure 4a) and a circulation pump (item 10). In addition, the cooling system includes special modules (not shown in Figure 4) for purification of cooling water and neutralization of sulfur oxides SOX present in the exhaust gases and entering the scrubber. The exhaust gases that have passed through the scrubber 8 are directed to the air compressor C of the turbocharger 2 using a gas blower 7. The gas-air mixture thus formed is cooled in the charge air cooler 3 and enters the purge receiver 6 of the diesel engine 5.
In the high-pressure recirculation system (Figure 4b), the exhaust gases from the gas exhaust manifold 4 of the diesel engine 5 enter both the gas turbine T of the gas turbine compressor 2 and the recirculation system. Due to the high temperature of the exhaust gases, they are pre-cooled in cooler 11. After that, the gases enter the scrubber 8 (in which they, similarly to the low-pressure recirculation system, are cleaned and cooled) and with the help of a supercharger 7 are sent directly to the purge receiver 6 of the diesel engine 5. Moreover, fresh air enters the purge receiver, supplied by the compressor C of the gas turbocharger 2 and cooled in the charge air cooler 3. The thus formed gas-air mixture enters the diesel cylinders.
Benefits of a low-pressure recirculation system:
  • The simple design of flues and scrubbers due to the relatively low pressure and low temperature of the exhaust gases (compared to a high-pressure recirculation system);
  • Low capacity of the additional gas supercharger because the exhaust gases during recirculation are not directed to the scavenge receiver (as in the high-pressure recirculation system), but to the turbocharger compressor.
At the same time, the components of the low-pressure system have larger geometric dimensions than in the high-pressure system (because their volume increases proportionally at low pressure of the exhaust gases) [32,33].
The high-pressure recirculation system (compared to the low-pressure system) is more compact—high pressure contributes to a lower specific volume of exhaust gases. However, due to both the high pressure and high temperature of the gases, the scrubber that cleans them experiences greater thermal and hydraulic loads, and therefore has a more complex design. In addition, since the exhaust gases in the high-pressure recirculation system go directly to the scavenge air receiver, the capacity of the gas blower must provide the same high pressures as the main air compressor of the gas turbocharger. It should also be noted that the high temperature of the exhaust gases obliges the use of an additional cooler (item 11 in Figure 4b), this complicates the design of the high-pressure recirculation system.
In low- and high-pressure recirculation systems, the number of exhaust gases entering the diesel cylinder can reach 25–30% of their total volume [34,35].
Combined systems (providing exhaust gas recirculation with both high and low pressure) are used in the case of a two-stage boost. A schematic diagram of such a system is shown in Figure 4c. The first recirculation circuit of this system is completed as a high-pressure system. The exhaust gas flow from manifold 4 of diesel 5 is divided between turbine T of high-pressure turbocharger 2 and a recirculation circuit consisting of the control valve 1, exhaust gas cooler 11, scrubber 8 (with cooling and spraying system—tank 9, pump 10), gas blower 7, providing their supply to the purge receiver 6. Air compressed in compressor C of the high-pressure turbocharger 2 and cooled in cooler 3 also enters receiver 6. The second circuit of the combined recirculation system is a low-pressure system in which the exhaust gases are separated into two streams after turbine T of the low-pressure turbocharger 17. One of these streams moves through the gas outlet pipe and enters the atmosphere, and the second (the volume of which is regulated by the recirculation valve 16) returns to the airline. In this case, the exhaust gases pass through the scrubber 13 (where they are cleaned of solid particles and sulfur oxides thanks to the aqueous solution supplied to the scrubber by the pump 15 from tank 12) and the gas blower 14 is fed to the air compressor C of the low-pressure turbocharger 17. Between the air compressors of the low-pressure turbocharger 17 and high pressure 2, a charge air cooler 18 is installed, in which air is cooled before the second compression stage.
In the combined recirculation system, the amount of exhaust gases entering the high-pressure circuit for recirculation does not exceed 10–15%. This provides power to the low-pressure turbocharger. Exceeding these limits can significantly reduce the power of the gas turbine of the low-pressure turbocharger, which will lead to a decrease in the performance of the air compressor (the source of fresh air supply to the diesel engine) and, accordingly, a decrease in diesel power. The number of gases entering the low-pressure recirculation circuit is within the same limits. Exceeding these values leads to a significant increase in the number of exhaust gases in the diesel purge receiver (which also receives exhaust gases through the high-pressure circuit) [36,37].
Methods for regulating the environmental performance of marine diesel engines have a multidirectional vector of action. The EGR system provides a reduction in NOX emissions, but at the same time, emissions of carbon dioxide CO, hydrocarbons HC and soot C increase. This is due to a decrease in the amount of oxygen in the air-exhaust mixture after recirculation (in the case of using the EGR system) compared to the amount of oxygen in clean air without using the EGR system. An increase in the emission of HC and soot C is visually controlled by the color and transparency of the exhaust gases (similar to motor vehicle diesel). In the event of a critical increase in this indicator, it is necessary to reduce the fuel supply to the diesel cylinder or reduce the degree of recirculation of the EGR system. At the same time, it should be noted that the emission of carbon dioxide CO, hydrocarbons HC and soot C from marine diesel engines is currently not regulated by MARPOL requirements. Therefore, their content in the exhaust is not regulated and the focus when using the EGR system is on the emission of nitrogen oxides NOX.
One of the features of the operation of sea vessels is their accountability to international classification societies (for example, Lloyd’s Register of Shipping—England, Bureau Veritas—France, Det Norske Veritas & Germanischer Lloyd—Germany, The American Bureau of Shipping—USA). Moreover, one sea vessel may be under the supervision of several companies at once. These organizations, based on empirical experience, statistical records, and scientific research, develop their own rules for the classification of sea vessels, and maintain a system of continuous monitoring of compliance with these rules on classified ships. This limits the possibility of making structural changes in the structure of ship power equipment (both thermal and mechanical engines, and systems that ensure their operation) without appropriate approval from these supervisory authorities. The ship’s crew, in the performance of their functional duties, is deprived of the possibility of independent re-equipment of both the power plant itself and the systems that serve it. Therefore, the task of both ship mechanics and representatives of research organizations is to determine the optimal operating conditions for a ship power plant without making any improvements and upgrades to its design.

3. Materials and Methods

The studies were carried out on a drillship class vessel with the following main characteristics: length—228.1 m, breadth—41.8 m, draft (Operating/Transit)—11.8/8.5 m, deadweight—60,086 t, drilling depth—3660 m. The general view of the ship is shown in Figure 5.
The ship power plant consisted of six 16V32 STX-MAN diesel engines of the same type with the following main characteristics: bore—320 mm; stroke—420 mm; speed—720 rev/min; output rank—7000 kW; specific fuel oil consumption—192 g/(kWh). Diesels served as both main and auxiliary engines.
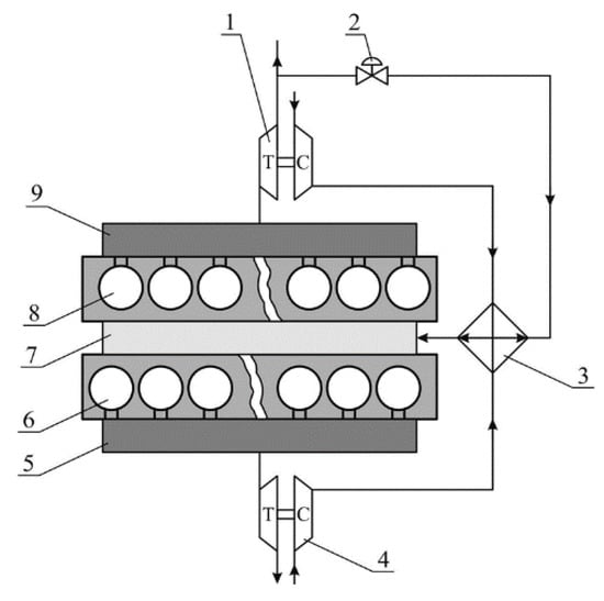
A feature of the operation of diesel engines 16V32 STX-MAN as part of the ship power plant drillships is a long operational period of operation in partial modes—in the power range Nework = (0.25–0.95) Nenom. These diesels were equipped with a standard low pressure gas recirculation system (LP-EGR), in which gases after the gas turbine of the turbocharger are returned to the diesel purge receiver through the charge air cooler. A diagram of the gas-air system of a 16V32 STX-MAN diesel engine with a low-pressure gas recirculation system is shown in Figure 6.
The design of the diesel engine provides for a two-way arrangement of rows of cylinders 6 and 8. Scavenging air to the cylinders comes from a common receiver 7. Air is injected by gas turbocharger compressors 1 and 4, and it is cooled in a common cooler 3. Exhaust gases from diesel cylinders 6 and 8 enter the manifolds 5 and 9 and further to the gas turbine of the gas turbocharger 1 and 4 (respectively). Exhaust gas recirculation on a diesel engine is provided for one row of cylinder 8 and is carried out using valve 2 controlled by a microcontroller. At the same time, part of the gases (up to 25%) can return to the purge receiver 7 through cooler 3. STX-MAN marine diesel engines are characterized by a high degree of boost (with a degree of air pressure increase after the gas turbocharger—up to 3.5–4.5), this ensures a uniform distribution of gases, entering the recirculation, by the volume of the purge receiver and by the working cylinders. During the experiment, the temperature of the air entering after cooler 3 into the purge receiver and further into the diesel cylinders is maintained in the range of 40–45 °C with an accuracy of ±1 °C by changing the amount of outboard water supplied to cooler 3. Gas flows after gas turbochargers 1 and 4 were combined in one gas outlet pipe with the subsequent use of the energy of the exhaust gases in a waste heat boiler. This contributed to leveling the occurrence of possible deviations in aerodynamic resistance between individual rows of cylinders (for a row of cylinders with gas recirculation and a row without recirculation) and contributed to the same cyclic fuel supply to each row of cylinders [38,39].
The objective of the study was to determine the optimal degree of EGR, which ensures the maximum reduction in nitrogen oxide emissions while minimizing changes in the energy and economic performance of the diesel engine.
Determining the optimal operating modes of integrated exhaust gas control systems should be based on the following principles:
  • Ensuring the functioning of the diesel engine while preventing any, even short-term, disruptions in the continuity of gas and air flows [40];
  • Stabilization of the environmental performance of the diesel engine in the required range with the simultaneous prevention of a possible excess of their maximum allowable values [41];
  • Minimization of the inevitable energy losses occurring due to the deterioration of intra-cylinder processes [42];
  • Prevention of thermal overloads arising from changes in the stoichiometric fuel-air ratio [43];
  • Maintaining the efficiency of the diesel engine [44];
  • Implementation of environmental control and continuous monitoring of the performance of the diesel engine and the vessel [45].
Mathematical modeling of gas exchange and combustion processes when using the EGR system is associated with the need to consider the complex phenomena of heat and mass transfer, while the results obtained do not consider the technical condition of both the diesel engine itself and its fuel equipment, and the EGR system. Therefore, the choice of the most optimal modes of operation of the ERG system should be carried out based on experimental data obtained directly during the operation of EGR systems already installed on marine diesel engines.
During the research, the following were determined: the degree of recirculation of exhaust gases—δEGR; concentration of nitrogen oxides in exhaust gases—NOX; specific effective fuel consumption—be, effective diesel power—Ne, exhaust gas temperature—t. In addition, according to the operating instructions, all the necessary parameters of the diesel engine were controlled and maintained within the required range.
Analytical determination of NOX emissions is possible by the carbon balance method. The method consists in calculating the mass flow rate of exhaust gases from fuel consumption, fuel composition, and concentrations of various substances in exhaust gases. This requires the values of such parameters as fuel consumption, air humidity, the mass content of carbon, hydrogen, nitrogen and oxygen in fuel, and some others. A simpler method is the experimental determination of NOX emission. On marine vessels, gas analysis is used to determine the environmental parameters of internal combustion engines and exhaust gas indicators.
Gas analysis was performed using a Testo350XL gas analyzer. At the same time, the concentrations in the exhaust gases of the following substances were determined: nitrogen oxides NOX, oxygen O2,Gas, and nitrogen N2,Gas. Gas analysis of the exhaust gases was carried out in the gas exhaust line at 10 m from the place where gases exited the gas turbocharger, which complied with the requirements of the technical code for NOX [9,14].
Exhaust gas recirculation degree δEGR during the experiments was calculated by the expression
δ E G R = α α E G R α 100% ,
where α—current value of excess air coefficient depending on diesel load; αEGR—excess air coefficient when using the exhaust gas recirculation system.
Excess air ratio α was determined considering volume concentrations O2,Gas and N2,Gas in exhaust gases (measured using the Testo350XL gas analyzer) according to the expression
α = 1 1 3.76 O 2 , G a s N 2 , G a s ,
By adjusting the flow area of the exhaust gas recirculation valve (item 2 in Figure 6), a change in the degree of recirculation of the EGR system was provided in the range δEGR = 0–21%.
Unitor’s ProPower automatic regulation and control system, installed on a diesel engine, made it possible to record the following diesel performance indicators for each of the diesel cylinders: t—exhaust gas temperature, °C; N e cyl —effective power of the cylinder, kW; Ne—effective diesel power, kW.
Marine diesel 16V32 STX-MAN and a screenshot of one of the operating modes of the 16V32 STX-MAN diesel engine is shown in Figure 7.
The measurements were carried out at a fixed fuel supply and stabilization of the heat fluxes of the cooling media (circulating oil, fresh, and seawater).
Throughout the experiment, the engine operated on the same grade of heavy fuel class RMG 380 according to ISO 8217-2020 with the following structural composition: carbon—86.12%, hydrogen—13.42%, sulfur—0.32%, oxygen—0.06%, nitrogen—0.08%.
High-pressure fuel equipment made it possible to set the cyclic fuel supply bcyc, kg/cycle, with an accuracy of 0.5%, (the same for each of the diesel cylinders), which made it possible to determine the specific effective fuel consumption be on known dependencies
b e = 60 n z b cyc N e cyl ,
where n—engine speed, rpm; z—tact factor.
The value of the specific effective fuel consumption obtained in this way for each of the cylinders was averaged and additionally controlled using measuring equipment installed in the booster module of the consumption system, which provides fuel supply to the diesel high-pressure fuel equipment [46,47].
The error in measuring the concentration of oxygen, nitrogen, and nitrogen oxides in exhaust gases (which were measured by the Testo350XL gas analyzer) did not exceed ±1%.
The error in the analytical and experimental determination of the specific effective fuel consumption did not exceed 1.5%.
Exhaust gas temperature, diesel effective power, as well as other operating parameters of the diesel engine were determined using the ProPower control system with a guaranteed measurement accuracy of 99.5%.

4. Results

The MARPOL International Convention requires maintaining the environmental performance of marine diesel engines (in particular, emissions of nitrogen oxides NOX) in all operating modes—from minimally stable (which corresponds to 10–15% of the rated load) to overload modes (which corresponds to 107–110% of the rated load).
The studies were carried out at various operating modes of the 16V32 STX-MAN diesel engine—35–95% of the load and various degrees of recirculation—0–21%. The results of measurements and calculations, which made it possible to determine the values of NOX emissions in the exhaust gases and the specific effective fuel consumption be, are shown in Table 1 and Table 2.
Drillship on which studies were carried out refers to ships that are subject to the requirement Tier II Annex VI MARPOL. The maximum concentration of nitrogen oxides in the exhaust gases of diesel engines installed on these ships is determined by the expression
NO X max 44 n 0.23 ,
where n—is the diesel shaft speed, rev/min. Considering the characteristics of the diesel 16V32 STX-MAN
NO X max 44 720 0.23 = 9.69   g / ( kW h ) .
The values shown in Table 1 confirm that the MARPOL emission requirements NOX were performed under all experimental conditions.
It should be noted that during the operation of marine vessels, diesel overload modes are possible. In such modes, the diesel power exceeds the nominal by 7–10%, and the duration of such modes can reach 0.5–1 h. At the same time, the diesel engine operates at the border, or beyond the limits of “environmental sustainability”—the value of NOX emissions regulated by MARPOL requirements. An increase in NOX emissions can also be caused by switching from one type of fuel to another, a change in the fuel preparation process, deviations in the operation of the diesel fuel equipment, as well as a deterioration in the technical condition of the diesel engine. Even a short-term excess of NOX emissions leads to environmental pollution. This is especially true for high-capacity ship power plants (generating an increased amount of exhaust gases) operating in ecological regions. Therefore, the use of the EGR system for the vessel in question (drillships with deadweight 60,086 t) and its power plant (six 16V32 STX-MAN diesel engines) is recommended in all operating modes.
According to the results of the experiments given in Table 1 and Table 2, the dependencies of the emission of nitrogen oxides NOX = f(δEGR) and specific effective fuel consumption be = f(δEGR)—Figure 8. When building a complex of dependencies NOX = f((δEGR) and be = f((δEGR) corresponding to the same load, the dependence NOX = f((δEGR). After that, its lower limit was taken as the “base” line to build the dependence be = f((δEGR).
The efficiency and economy of using the exhaust gas recirculation system in various modes of its operation can be assessed by determining the area under the dependencies S 0.35 NO X = f ( δ EGR ) , S 0.55 NO X = f ( δ EGR ) , S 0.75 NO X = f ( δ EGR ) , S 0.95 NO X = f ( δ EGR ) и S 0.35 b e = f ( δ EGR ) , S 0.55 b e = f ( δ EGR ) , S 0.75 b e = f ( δ EGR ) , S 0.95 b e = f ( δ EGR ) , where indices 0.35–0.95 correspond to the diesel load.
The environmental efficiency of a diesel engine in various modes is estimated by the value of the area S N O x , economic—according to the value of the area S b e .
Area under dependence S N O x = f ( δ EGR ) directly proportional to the decrease in the environmental friendliness of the diesel engine. The greater the value S N O x the more effectively the EGR system provides a reduction in concentration NOX in diesel exhaust gases. Area under dependence S b e = f ( δ EGR ) inversely proportional to the efficiency of a diesel engine. Increasing value S b e leads to an increase in the specific effective fuel consumption in the mode under consideration.
EGR system efficiency Δ NO X , %, at different degrees of recirculation δEGR can be evaluated by the expression
Δ NO X = NO X 0 NO X EGR NO X 0 100% ,
where NO X 0 , NO X EGR —respectively, the concentration of NOX in the exhaust gases without and when using the EGR system.
Value Δ NO X also characterizes the environmental friendliness of the operation of maritime transport vessels in various operating conditions. Its increase indicates a decrease in the emission of nitrogen oxides.
The decrease in the efficiency of a diesel engine when using the EGR system can be estimated by a relative increase in the specific effective fuel consumption Δ b e , %, which is defined as
Δ b e = b e EGR b e 0 b e 0 100% ,
where b e 0 , b e EGR —respectively, the specific effective fuel consumption without and with the use of the EGR system.
Values Δ NO X and Δ b e for different conditions of the experiment is given in Table 3.
For better visualization of the results shown in Table 3, as well as their comprehensive assessment, nomograms were constructed (Figure 9 and Figure 10).
The data presented confirm the thesis about the need for a comprehensive assessment of the environmental and economic performance of a diesel engine.
When using the exhaust gas recirculation system, due to the deterioration of mixture formation, the delay period for self-ignition of the fuel increases, and combustion is shifted to the expansion line, contributing to an increase in the temperature of the exhaust gases. Exhaust gas temperature is an indicator, the control, and maximum permissible values of which are strictly regulated by the manufacturer’s instructions for the operation of marine diesel engines (for a 16V32 STX-MAN diesel engine, its maximum value should not exceed 500 °C). In this regard, during experimental studies (using the Unitor ProPower diagnostic system), this parameter was monitored. The results of measurements are given in Table 4 and Table 5 and are displayed in Figure 11, Figure 12, Figure 13 and Figure 14.
For better visualization of the results given in Table 4 and Table 5, their perception and understanding, as well as their comprehensive assessment, nomograms were built (Figure 11, Figure 12, Figure 13 and Figure 14). At the same time, the nomograms considered the exhaust gas temperatures only for a number of cylinders in which EGR system gases were used. (Side B without using EGR and Side B for varying degrees of EGR—Table 4 and Table 5; Cylinder B1–B8—Figure 7b). Additionally marked in Figure 11, Figure 12, Figure 13 and Figure 14: t mid 0 —average exhaust gas temperature without using the EGR system; t mid 3 , t mid 9 , t mid 15 , t mid 21 —average exhaust gas temperature when using an EGR system with a degree of recirculation 3, 9, 15, 21%.
Change in the average (for all cylinders) temperature of the exhaust gases of a 16V32 STX-MAN marine diesel engine depending on the degree of recirculation δEGR for various modes of its operation is shown in Figure 15.
During the experiment, all parameters determined by the diesel operating instructions were also controlled. The main parameters are exhaust gas temperature after cylinder, combustion pressure, oil temperature, coolant temperature after cylinder (shows temperature difference depending on load control), fuel rail index, turbine speed, charge air pressure, exhaust gas temperature difference at the inlet-outlet turbine, engine speeds at a given load [48,49,50]. Their values were within the required limits.

5. Discussion

During the operation of marine diesel engines, not only energy and economic, but also environmental indicators of their work should be ensured. This is especially true when operating maritime transport in special ecological regions. One of the indicators, the value of which is regulated by the requirements IMO, is NOX emissions from the exhaust gases of marine diesel engines. One way to reduce NOX emissions is to use recycling. In this case, part of the exhaust gases (after the gas outlet receiver or after the gas turbine of the gas turbocharger) is redirected to the diesel cylinder. This reduces the maximum combustion temperature and helps to reduce the rate of NOX formation. At the same time, the period of fuel after burning in the expansion line increases, which leads to an increase in the specific fuel consumption and an increase in the temperature of the exhaust gases.
The design of modern diesel engines allows you to vary the degree of recirculation of the exhaust gas system in the range of 0–21%. The choice of the optimal degree of exhaust gas recirculation is ensured by the following criteria:
  • Environmental—as the maximum reduction (for a specific operating mode) of nitrogen oxide emissions with exhaust gases;
  • Economic—as a minimum increase in fuel consumption (reduced either to the time of work and to the power of the diesel engine, or to the distance traveled by the ship);
  • Thermal—as a minimum increase in the thermal stress of the cylinder group and the gas exhaust system of the diesel engine.
The use of the EGR system does not affect the pressure values after the compressor, as well as the pressure at the beginning and end of compression. However (due to the deterioration of the combustion process), when using exhaust gas recirculation, the pressure at the end of combustion and the average indicated pressure is reduced. The maintenance of these parameters is provided by the variable injection timing (VIT) system, which automatically changes the start of the fuel supply to the diesel cylinder in the event of a pressure drop at the end of combustion.
The use of the EGR system reduces the stoichiometric fuel-air ratio, thus reducing the power of the diesel engine. In previous studies, it was found that for marine diesel engines that transmit their power to the propeller, power losses when using the EGR system can be 3–4% [9,14,21]. The effective power of the 16V32 STX-MAN marine diesel engine (on which the research was carried out) was transferred to an electric generator. At the same time (by increasing the cyclic fuel supply), the automatic control system maintained the power and speed of the diesel engine constant.
Studies on the effect of EGR on the operation of marine diesel engines (like those given in the work) were carried out for two and four-stroke internal combustion engines with a cylinder diameter of 0.2–0.6 m [9,14,21]. At the same time, in all cases, an increase in specific fuel consumption (a decrease in efficiency) corresponded to the operation of a diesel engine with a minimum load (35–45%) and a maximum degree of exhaust gas recirculation (15–21%). In this regard, the operation of diesel engines in such modes is not recommended.
The use of any methods that improve the environmental friendliness of marine vessels (SCR, EGR, humid air motor, continuous water injection) reduces their efficiency. This is due to an increase in fuel consumption and a decrease in diesel power. The increase in fuel consumption in the case of using the EGR system is due to a change in the stoichiometric fuel–air ratio. When using the SCR system, the aerodynamic drag in the diesel exhaust system increases. This reduces the power of the diesel engine and to maintain it, an increase in the cyclic fuel supply is required. In studies conducted on the 16V32 STX-MAN diesel engine, it was found that when using the EGR system, an increase in specific fuel consumption can reach 3.5%, which accordingly reduces its efficiency. Similar values were recorded in previous works [9,13,21], as well as in [49,51]. The decrease in efficiency when using the SCR system is 2.5–3.5% [14,21,24,25]. However, the cost of the SCR system significantly exceeds the cost of the EGR system, in addition, the SCR system uses reagents as a neutralizer that adversely affect the ship’s crew. In this regard, with a slight decrease in the efficiency of the EGR system (compared to the SCR system), their use is more appropriate on marine vessels.
Evaluation of the efficiency (environmental friendliness and economy) of the EGR system can be performed using an integral indicator. Environmental friendliness of work—as an integral (area under the curve), S N O x = f ( δ EGR ) . Efficiency—as an integral (area under the curve) S b e = f ( δ EGR ) , in which NOX, be, δEGR—concentration of nitrogen oxides in exhaust gases, specific effective fuel consumption, degree of recirculation. Increasing value S N O x corresponds to a greater reduction in NOX emissions and an increase in environmental efficiency. Increasing value S b e corresponds to an increase in the specific effective consumption of fuel and a decrease in economic efficiency.
Obtained results are in good agreement with data provided in many papers devoted to similar research [51,52,53,54,55,56,57].

6. Conclusions

Studies that are performed on diesel 16V32 STX-MAN marine class vessel drillships with Deadweights 60,086 t showed the following.
During the operation of sea vessels and their power plants, the IMO requirements for the prevention of marine and air pollution, which are set out in the MARPOL Convention, must be met. MARPOL Annex VI requires nitrogen oxide emissions to be maintained at all operating conditions, from minimum steady state to overload conditions. Even a short-term excess of nitrogen oxide emissions leads to environmental pollution. This is especially true for high-capacity ship power plants (generating an increased amount of exhaust gases) operating in ecological regions. One of the ways to ensure the environmental friendliness of the operation of marine vessels (in particular, in terms of the level of nitrogen oxide emissions) is the use of an exhaust gas recirculation system. Its use for drillships with a deadweight 60,086 t is recommended for all operating conditions of the 16V32 STX-MAN diesel.
  • The use of the exhaust gas recirculation system in the diesel load range of 35–95% of the rated power and the range of 3–21% of the degree of exhaust gas recirculation leads to a decrease in nitrogen oxide emissions by 7.7–33.6% while increasing the specific effective fuel consumption by 0.2–3.5%.
  • The use of an exhaust gas recirculation system changes the stoichiometric fuel-air ratio and worsens the combustion process. In this case, the combustion process is shifted to the expansion line.
The deterioration of the combustion process (caused by the intake of not only air, but also exhaust gases into the diesel cylinder) leads to an increase in the temperature of the exhaust gases and increases the temperature tension of the diesel engine. It has been experimentally established that the use of the EGR system in the range of values δEGR = 18–21% at operating conditions corresponding to 35–55% load, leads to a critical increase in exhaust gas temperature. In connection, the operation of marine diesel engines in such conditions is possible only in emergency situations, and only for a short period of time.
3.
The optimal operating modes of the exhaust gas recirculation system depend on the characteristics of the fuel, the condition of the fuel equipment, as well as on the load of the diesel engine and can be determined experimentally.
It is advisable to use the recirculation of exhaust gases in the range of values δEGR = 9–15% to ensure the environmental performance of marine diesel engines.
At the same time, in all operating modes of the diesel engine (at loads of 0.35–0.95% of the rated power), a decrease in nitrogen oxide emissions by 16.3–29.3% and an increase in specific fuel consumption by 1.6–2.0% are provided.
At the same time, the increase in the temperature of the exhaust gases does not exceed the values regulated by the rules for the operation of a diesel engine.
The use of the exhaust gas recirculation system reduces the effective power of the diesel engine by 3–4% (which is not critical for powerful marine diesel engines). Compensation for the loss of effective power is carried out by increasing the cyclic fuel supply. Maintaining the power and speed of the diesel engine is provided by an automatic control system.
4.
The choice of the optimal operating modes of the EGR system and the control of the EGR system can be performed by the ship’s crew according to the developed recommendations of research organizations.
These recommendations are based on environmental criteria (in order to maintain a minimum level of nitrogen oxide emissions while at the same time complying with this value of MARPOL requirements); efficiency (in order to maintain a minimum increase in specific fuel consumption); temperature tension (in order to maintain the maximum exhaust gas temperature within the limits recommended by the diesel operating instructions).

Author Contributions

Conceptualization, S.S.; methodology, S.S., O.K. and I.T.; validation, O.K., A.S., I.T., O.F., V.P. and P.K.; data curation, O.K., A.S. and I.T.; writing, original draft preparation, O.K., A.S. and I.T.; writing, review and editing, S.S., A.S, O.F., V.P. and P.K.; visualization, S.S. and A.S.; investigation, S.S., O.K., A.S. and I.T. All authors have read and agreed to the published version of the manuscript.

Funding

The authors gratefully acknowledge funding from the Specific research on BUT FSI-S-20-6267.

Institutional Review Board Statement

Not applicable.

Informed Consent Statement

Not applicable.

Data Availability Statement

Not applicable.

Acknowledgments

The authors thank Brno University of Technology for support.

Conflicts of Interest

The authors declare no conflict of interest.

Nomenclature

EGRExhaust gas recirculation
HLP-EGRCombined high- and low-pressure EGR
HP-EGRHigh pressure EGR
IMOInternational Maritime Organization
LP-EGRLow pressure EGR
NECANitrogen emission control area
SCRSelective catalytic reduction
SECASulphur emission control area
VITVariable injection timing
αExcess air coefficient
αEGRExcess air coefficient when using the exhaust gas recirculation system
δEGRExhaust gas recirculation degree
b e EGR Specific effective fuel consumption when using the EGR system
b e 0 Specific effective fuel consumption without EGR system
bcycThe cyclic fuel supply
beSpecific effective fuel consumption
NO X EGR Concentration of NOX in the exhaust gases when using the EGR system
NO X 0 Concentration of NOX in the exhaust gases without EGR system
N e Effective diesel power
N e cyl Effective power of the cylinder
NEngine speed
tExhaust gas temperature
zTact factor

References

  1. Aditya, N.D.; Sandhya, K.G.; Harikumar, R. Development of small vessel advisory and forecast services system for safe navigation and operations at sea. J. Oper. Oceanogr. 2022, 15, 52–67. [Google Scholar] [CrossRef]
  2. Panchuk, M.; Sładkowski, A.; Panchuk, A.; Semianyk, I. New Technologies for Hull Assemblies in Shipbuilding. Naše More 2021, 68, 48–57. [Google Scholar] [CrossRef]
  3. Lovska, A.; Fomin, O.; Píštěk, V.; Kučera, P. Dynamic load modelling within combined transport trains during transportation on a railway ferry. Appl. Sci. 2020, 10, 5710. [Google Scholar] [CrossRef]
  4. Maryanov, D. Control and regulation of the density of technical fluids during their transportation by sea specialized vessels. Technol. Audit Prod. Reserves 2022, 1, 19–25. [Google Scholar] [CrossRef]
  5. Madey, V.V. Usage of biodiesel in marine diesel engines. Austrian J. Tech. Nat. Sci. 2021, 7, 18–21. [Google Scholar] [CrossRef]
  6. Cai, T.; Zhao, D.; Sun, Y.; Ni, S.; Li, W.; Guan, D.; Wang, B. Evaluation of NOx emissions characteristics in a CO2-Free micro-power system by implementing a perforated plate. Renew. Sustain. Energy Rev. 2021, 145, 111150. [Google Scholar] [CrossRef]
  7. Cai, T.; Becker, S.M.; Cao, F.; Wang, B.; Tang, A.; Fu, J.; Han, L.; Sun, Y.; Zhao, D. NOx emission performance assessment on a perforated plate-implemented premixed ammonia-oxygen micro-combustion system. Chem. Eng. J. 2021, 417, 128033. [Google Scholar] [CrossRef]
  8. Graziano, B. On the Potential of Oxygenated Fuels as an Additional Degree of Freedom in the Mixture Formation in Direct Injection Diesel Engines. SAE Int. J. Fuels Lubr. 2015, 8, 62–79. [Google Scholar] [CrossRef]
  9. Kuropyatnyk, O.A.; Sagin, S.V. Exhaust Gas Recirculation as a Major Technique Designed to Reduce NOx Emissions from Marine Diesel Engines. Naše More Int. J. Marit. Sci. Technol. 2019, 66, 1–9. [Google Scholar] [CrossRef]
  10. Ni, P.; Wang, X.; Li, H. A review on regulations, current status, effects and reduction strategies of emissions for marine diesel engines. Fuel 2020, 279, 118477. [Google Scholar] [CrossRef]
  11. Van, T.G.; Ramirez, J.; Ristovskim, Z.; Brown, R.J. Global impact of recent IMO regulation on marine fuel oil refining processes and ship emissions. Transp. Res. Part D Transp. Environ. 2019, 70, 123–134. [Google Scholar] [CrossRef]
  12. Lindstad, H.; Eskeland, G.; Psaraftis, R.; Sandaas, I.; Stramman, A. Maritime shipping and emissions: A three-layered, damage-based approach. Ocean. Eng. 2015, 110, 94–101. [Google Scholar] [CrossRef]
  13. Reddy, E.; Keerthana, B.V.S.; Raju, V.D.; Sai, M.; Dhanush, B. Mitigation of NOx emissions with application of exhaust gas recirculation on diesel engine fuelled with diesel-corn seed oil biodiesel blend. Int. J. Ambient Energy 2020, 43, 1–34. [Google Scholar] [CrossRef]
  14. Sagin, S.V.; Kuropyatnyk, O.A.; Zablotskyi YuVGaichenia, O.V. Supplying of Marine Diesel Engine Ecological Parameters. Naše More Int. J. Marit. Sci. Technol. 2022, 69, 53–61. [Google Scholar] [CrossRef]
  15. Ren, H.; Ding, Y.; Sui, C. Influence of EEDI (Energy Efficiency Design Index) on Ship-Engine-Propeller Matching. J. Marit. Sci. Eng. 2019, 7, 425. [Google Scholar] [CrossRef]
  16. Petković, M.; Zubčić, M.; Krčum, M.; Pavić, I. Wind Assisted Ship Propulsion Technologies—Can they Help in Emissions Reduction? Naše More Int. J. Marit. Sci. Technol. 2021, 68, 102–109. [Google Scholar] [CrossRef]
  17. Ingaldi, M.; Klimecka Dorota-Tatar, D. People’s Attitude to Energy from Hydrogen—From the Point of View of Modern Energy Technologies and Social Responsibility. Energies 2020, 13, 6495. [Google Scholar] [CrossRef]
  18. Kuczyński, S.; Łaciak, M.; Szurlej, A.; Włodek, T. Impact of Liquefied Natural Gas Composition Changes on Methane Number as a Fuel Quality Requirement. Energies 2020, 13, 5060. [Google Scholar] [CrossRef]
  19. Bell, R.; Kirtman, B. Seasonal forecasting of winds, waves and currents in the North Pacific. J. Oper. Oceanogr. 2018, 11, 11–26. [Google Scholar] [CrossRef]
  20. Lu, R.; Ringsberg, J.W. Ship energy performance study of three wind-assisted ship propulsion technologies including a parametric study of the Flettner rotor technology. Ships Offshore Struct. 2020, 15, 249–258. [Google Scholar] [CrossRef]
  21. Sagin, S.V.; Kuropyatnyk, O.A. The Use of Exhaust Gas Recirculation for Ensuring the Environmental Performance of Marine Diesel Engines. Naše More Int. J. Marit. Sci. Technol. 2018, 65, 78–86. [Google Scholar] [CrossRef]
  22. Hoekman, S.K.; Robbins, C. Review of the effects of biodiesel on NOx emissions. Fuel 2012, 96, 237–249. [Google Scholar] [CrossRef]
  23. Zhang, Z.; Ye, J.; Lv, J.; Xu, W.; Tan, D.; Jiang, F.; Huang, H. Investigation on the effects of non-uniform porosity catalyst on SCR characteristic based on the field synergy analysis. J. Environ. Chem. Eng. 2022, 10, 107056. [Google Scholar] [CrossRef]
  24. Chen, C.; Yao, A.; Yao, C.; Wang, H.; Liu, M.; Li, Z. Selective catalytic reduction of nitrogen oxides with methanol over the (Cobalt-Molybdenum)/Alumina dual catalysts under the diesel methanol dual fuel conditions. Chem. Eng. Sci. 2020, 211, 115320. [Google Scholar] [CrossRef]
  25. Schallhart, V.; Moeltner, L. Effect of spray-exhaust gas interactions on ammonia generation in SCR mixing sections. SAE Int. J. Fuels Lubr. 2018, 11, 181–200. [Google Scholar] [CrossRef]
  26. Zhang, W.; Wang, Z.; Guo, Y.; Yang, M.; Li, Z.; Zhang, J.; Chang, C.; Ji, Y. Experimental and mechanism research on the NOx removal by a novel liquid electrode dielectric barrier discharge reactor. Chem. Eng. J. 2022, 443, 136375. [Google Scholar] [CrossRef]
  27. Tan, D.; Chen, Z.; Li, J.; Luo, J.; Yang, D.; Cui, S.; Zhang, Z. Effects of Swirl and Boiling Heat Transfer on the Performance Enhancement and Emission Reduction for a Medium Diesel Engine Fueled with Biodiesel. Processes 2021, 9, 568. [Google Scholar] [CrossRef]
  28. Zhang, Z.; Ye, J.; Tan, D.; Feng, Z.; Luo, J.; Tan, Y.; Huang, Y. The effects of Fe2O3 based DOC and SCR catalyst on the combustion and emission characteristics of a diesel engine fueled with biodiesel. Fuel 2021, 290, 120039. [Google Scholar] [CrossRef]
  29. Korlak, P.K. Prediction of the very-and ultra-large Container Ships’Electricity Generation Capacity at the Initial Design Stage. Int. J. Marit. Sci. Technol. 2022, 69, 103–113. [Google Scholar] [CrossRef]
  30. Bermúdez, V.; Lujan, J.M.; Climent, H.; Campos, D. Assessment of pollutants emission and aftertreatment efficiency in a GTDi engine including cooled LP-EGR system under different steady-state operating conditions. Appl. Sci. 2015, 158, 459–473. [Google Scholar] [CrossRef]
  31. Luján, J.M.; Dolz, V.; Monsalve-Serrano, J.; Maldonado, M.A. High-pressure exhaust gas recirculation line condensation model of an internal combustion diesel engine operating at cold conditions. Int. J. Engine Res. 2021, 22, 407–416. [Google Scholar] [CrossRef]
  32. Dhyani, V.; Subramanian, K.A. Control of backfire and NOx emission reduction in a hydrogen fueled mylti-cylinder spark ignition engine using cooled EGR and water injection strategies. Int. J. Hydrog. Energy 2019, 44, 6287–6298. [Google Scholar] [CrossRef]
  33. Sagin, S.V.; Solodovnikov, V.G. Cavitation Treatment of High-Viscosity Marine Fuels for Medium-Speed Diesel Engines. Mod. Appl. Sci. 2015, 9, 269–278. [Google Scholar] [CrossRef]
  34. Pla, B.; Bares, P.; Sanchis, E.J.; Nakaema, A.A. Ammonia injection failure diagnostic and correction in engine after-treatment system by NOX and NH3 emissions observation. Fuel 2022, 322, 123936. [Google Scholar] [CrossRef]
  35. Öztürk, E.; Can, Ö. Effects of EGR, injection retardation and ethanol addition on combustion, performance and emissions of a DI diesel engine fueled with canola biodiesel/diesel fuel blend. Energy 2022, 244, 123129. [Google Scholar] [CrossRef]
  36. Piqueras, P.; De la Morena, J.; Sanchis, E.; Pitarch, R. Impact of Exhaust Gas Recirculation on Gaseous Emissions of Turbocharged Spark-Ignition Engines. Appl. Sci. 2020, 10, 7634. [Google Scholar] [CrossRef]
  37. Yamada, H.; Inomata, S.; Tanimoto, H. Particle and VOC Emissions from Stoichiometric Gasoline Direct Injection Vehicles and Correlation Between Particle Number and Mass Emissions. Emiss. Control Sci. Technol. 2017, 3, 135–141. [Google Scholar] [CrossRef]
  38. Wang, X.; Zhang, X.; Wang, M.; Han, Y.; Chen, H. Numerical Simulation of Knock Combustion in a Downsizing Turbocharged Gasoline Direct Injection Engine. Appl. Sci. 2019, 9, 4133. [Google Scholar] [CrossRef]
  39. Synák, F.; Čulík, K.; Rievaj, V.; Gaň, J. Liquefied petroleum gas as an alternative fuel. Transp. Res. Procedia 2019, 40, 527–534. [Google Scholar] [CrossRef]
  40. Zablotsky, Y.V.; Sagin, S.V. Enhancing Fuel Efficiency and Environmental Specifications of a Marine Diesel When using Fuel Additives. Indian J. Sci. Technol. 2016, 9, 353–362. [Google Scholar] [CrossRef]
  41. Zablotsky, Y.V.; Sagin, S.V. Maintaining Boundary and Hydrodynamic Lubrication Modes in Operating High-pressure Fuel Injection Pumps of Marine Diesel Engines. Indian J. Sci. Technol. 2016, 9, 208–216. [Google Scholar] [CrossRef]
  42. Sagin, S.V.; Semenov, O.V. Motor Oil Viscosity Stratification in Friction Units of Marine Diesel Motors. Am. J. Appl. Sci. 2016, 13, 200–208. [Google Scholar] [CrossRef]
  43. Chena, Z.; Chena, H.; Wang, L.; Geng, L.; Zen, K. Parametric study on effects of excess air/fuel ratio, spark timing, and methanol injection timing on combustion characteristics and performance of natural gas/methanol dual-fuel engine at low loads. Energy Convers. Manag. 2020, 210, 112742. [Google Scholar] [CrossRef]
  44. Bhaduris, S.; Jeanmart, H.; Contino, F. EGR control on operation of a tar tolerant HCCI engine with simulated syngas from biomass. Appl. Energy 2018, 227, 159–167. [Google Scholar] [CrossRef]
  45. Castells-Sanabra, M.; Borén, C.; van der Meer, R.; Torralbo, J.; Ordás, S. Existing Emission Calculation Methods Applied to Monitoring, Reporting and Verification (MRV) on Board. Naše More 2020, 67, 163–171. [Google Scholar] [CrossRef]
  46. Popovskii, Y.M.; Sagin, S.V.; Khanmamedov, S.A.; Grebenyuk, M.N.; Teregerya, V.V. Designing, calculation, testing and reliability of machines: Influence of anisotropic fluids on the operation of frictional components. Russ. Eng. Res. 1996, 16, 1–7. [Google Scholar]
  47. Gorb, S.; Levinskyi, M.; Budurov, M. Sensitivity Optimisation of a Main Marine Diesel Engine Electronic Speed Governor. Sci. Horiz. 2021, 24, 9–19. [Google Scholar] [CrossRef]
  48. Minchev, D.S.; Varbanets, R.A.; Alexandrovskaya, N.I.; Pisintsaly, L.V. Marine diesel engines operating cycle simulation for diagnostics issues. Acta Polytech. 2021, 61, 428–440. [Google Scholar] [CrossRef]
  49. Lopatin, O.P. Study of the influence of the degree of exhaust gas recirculation on the working process of a diesel. J. Phys. Conf. Ser. 2020, 1515, 042021. [Google Scholar] [CrossRef]
  50. Sagin, S.V.; Semenov, O.V. Marine Slow-Speed Diesel Engine Diagnosis with View to Cylinder Oil Specification. Am. J. Appl. Sci. 2016, 13, 618–627. [Google Scholar] [CrossRef]
  51. Huang, H.; Tian, J.; Li, J.; Tan, D. Effects of Different Exhaust Gas Recirculation (EGR) Rates on Combustion and Emission Characteristics of Biodiesel-Diesel Blended Fuel Based on an Improved Chemical Mechanism. Energies 2022, 15, 4153. [Google Scholar] [CrossRef]
  52. Jiang, X.; Wei, H.; Zhou, L.; Chen, R. Numerical Study on the Effects of Multiple-Injection Coupled with EGR on Combustion and NOx Emissions in a Marine Diesel Engine. Energy Procedia 2019, 158, 4429–4434. [Google Scholar] [CrossRef]
  53. Shaw, S.; Van Heyst, B. Nitrogen Oxide (NOx) emissions as an indicator for sustainability. Environ. Sustain. Indic. 2022, 15, 100188. [Google Scholar] [CrossRef]
  54. Fomin, O.V. Increase of the freight wagons ideality degree and prognostication of their evolution stages. Nauk. Visnyk NHU 2015, 2, 68–76. Available online: https://nvngu.in.ua/index.php/en/monographs-and-innovations/monographs/1078-engcat/archive/2015/contents-no-3-2015/geotechnical-and-mining-mechanical-engineering-machine-building/3040-increase-of-the-freight-wagons-ideality-degree-and-prognostication-of-their-evolution-stages (accessed on 24 August 2022).
  55. Fomin, O.V.; Burlutsky, O.V.; Fomina, Y.V. Development and application of cataloging in structural design of freight car. Sci. Tech. J. Metall. Min. Ind. 2015, 2, 250–256. Available online: https://www.metaljournal.com.ua/assets/Journal/english-edition/MMI_2015_2/039Fomin.pdf (accessed on 25 August 2022).
  56. Varbanets, R.; Fomin, O.; Píštěk, V.; Klymenko, V.; Minchev, D.; Khrulev, A.; Zalozh, V.; Kučera, P. Acoustic Method for Estimation of Marine Low-Speed Engine Turbocharger Parameters. J. Mar. Sci. Eng. 2021, 9, 321. [Google Scholar] [CrossRef]
  57. Turpak, S.M.; Taran, I.O.; Fomin, O.V.; Tretiak, O. Logistic technology to deliver raw material for metallurgical production. Sci. Bull. Natl. Min. Univ. 2018, 1, 162–169. [Google Scholar] [CrossRef]
Figure 1. The impact of nitrogen oxides on the environment during the operation of marine diesel engines.
Figure 1. The impact of nitrogen oxides on the environment during the operation of marine diesel engines.
Jmse 10 01331 g001
Figure 2. Requirements Annex VI MARPOL of quantity NOX in the exhaust gases of marine diesel engines.
Figure 2. Requirements Annex VI MARPOL of quantity NOX in the exhaust gases of marine diesel engines.
Jmse 10 01331 g002
Figure 3. European special ecological regions.
Figure 3. European special ecological regions.
Jmse 10 01331 g003
Figure 4. This is a figure. Schemes follow the same formatting. Schematic diagrams of the exhaust gas recirculation system (a)—low pressure; (b)—high pressure; (c)—combined: 1, 16—control valve of the exhaust gas recirculation system; 2, 17—turbocharger; 3, 11, 18—air cooler; 4—gas exhaust manifold; 5—diesel; 6—air (purge) receiver; 7, 14—gas supercharger with electric drive; 8, 13—scrubber; 9, 12—freshwater tank; 10, 15—fresh water pump; T, C—gas turbine and air compressor of the turbocharger.
Figure 4. This is a figure. Schemes follow the same formatting. Schematic diagrams of the exhaust gas recirculation system (a)—low pressure; (b)—high pressure; (c)—combined: 1, 16—control valve of the exhaust gas recirculation system; 2, 17—turbocharger; 3, 11, 18—air cooler; 4—gas exhaust manifold; 5—diesel; 6—air (purge) receiver; 7, 14—gas supercharger with electric drive; 8, 13—scrubber; 9, 12—freshwater tank; 10, 15—fresh water pump; T, C—gas turbine and air compressor of the turbocharger.
Jmse 10 01331 g004
Figure 5. Drillships near a semi-submersible drilling rig.
Figure 5. Drillships near a semi-submersible drilling rig.
Jmse 10 01331 g005
Figure 6. Scheme of the gas-air system of the 16V32 STX-MAN diesel engine: 1, 4—turbocharger (T—turbine, C—compressor); 2—valve of the recirculation system; 3—charge air cooler; 5, 9—exhaust manifold; 6, 8—working cylinders; 7—purge air.
Figure 6. Scheme of the gas-air system of the 16V32 STX-MAN diesel engine: 1, 4—turbocharger (T—turbine, C—compressor); 2—valve of the recirculation system; 3—charge air cooler; 5, 9—exhaust manifold; 6, 8—working cylinders; 7—purge air.
Jmse 10 01331 g006
Figure 7. Marine diesel 16V32 STX-MAN: (a) location in the engine room; (b) general view; (c) marine system for monitoring the performance of the diesel engine 16V32 STX-MAN.
Figure 7. Marine diesel 16V32 STX-MAN: (a) location in the engine room; (b) general view; (c) marine system for monitoring the performance of the diesel engine 16V32 STX-MAN.
Jmse 10 01331 g007
Figure 8. Emission of nitrogen oxides NOX and specific effective fuel consumption of a diesel 16V32 STX-MAN under various conditions of the experiment: (a) load 35%; (b) load 55%; (c) load 75%; (d) load 95%.
Figure 8. Emission of nitrogen oxides NOX and specific effective fuel consumption of a diesel 16V32 STX-MAN under various conditions of the experiment: (a) load 35%; (b) load 55%; (c) load 75%; (d) load 95%.
Jmse 10 01331 g008
Figure 9. Relative decrease in NOX concentration at different loads of a 16V32 STX-MAN marine diesel engine when using the EGR system: 1—δEGR = 3%; 2—δEGR = 9%; 3—δEGR = 15%; 4—δEGR = 21%.
Figure 9. Relative decrease in NOX concentration at different loads of a 16V32 STX-MAN marine diesel engine when using the EGR system: 1—δEGR = 3%; 2—δEGR = 9%; 3—δEGR = 15%; 4—δEGR = 21%.
Jmse 10 01331 g009
Figure 10. Relative increase in the specific fuel consumption be at different loads of a 16V32 STX-MAN marine diesel when using the EGR system: 1—δEGR = 3%; 2—δEGR = 9%; 3—δEGR = 15%; 4—δEGR = 21%.
Figure 10. Relative increase in the specific fuel consumption be at different loads of a 16V32 STX-MAN marine diesel when using the EGR system: 1—δEGR = 3%; 2—δEGR = 9%; 3—δEGR = 15%; 4—δEGR = 21%.
Jmse 10 01331 g010
Figure 11. Change in exhaust gas temperature in the cylinders of a 16V32 STX-MAN marine diesel engine at different values of the degree of exhaust gas recirculation (load 35%): (a) δEGR = 3%; (b) δEGR = 9%; (c) δEGR = 15%; (d) δEGR = 21%.
Figure 11. Change in exhaust gas temperature in the cylinders of a 16V32 STX-MAN marine diesel engine at different values of the degree of exhaust gas recirculation (load 35%): (a) δEGR = 3%; (b) δEGR = 9%; (c) δEGR = 15%; (d) δEGR = 21%.
Jmse 10 01331 g011
Figure 12. Change in exhaust gas temperature in the cylinders of a 16V32 STX-MAN marine diesel engine at different values of the degree of exhaust gas recirculation (load 55%): (a) δEGR = 3%; (b) δEGR = 9%; (c) δEGR = 15%; (d) δEGR = 21%.
Figure 12. Change in exhaust gas temperature in the cylinders of a 16V32 STX-MAN marine diesel engine at different values of the degree of exhaust gas recirculation (load 55%): (a) δEGR = 3%; (b) δEGR = 9%; (c) δEGR = 15%; (d) δEGR = 21%.
Jmse 10 01331 g012
Figure 13. Change in exhaust gas temperature in the cylinders of a 16V32 STX-MAN marine diesel engine at different values of the degree of exhaust gas recirculation (load 75%): (a) δEGR = 3%; (b) δEGR = 9%; (c) δEGR = 15%; (d) δEGR = 21%.
Figure 13. Change in exhaust gas temperature in the cylinders of a 16V32 STX-MAN marine diesel engine at different values of the degree of exhaust gas recirculation (load 75%): (a) δEGR = 3%; (b) δEGR = 9%; (c) δEGR = 15%; (d) δEGR = 21%.
Jmse 10 01331 g013
Figure 14. Change in exhaust gas temperature in the cylinders of a 16V32 STX-MAN marine diesel engine at different values of the degree of exhaust gas recirculation (load 95%): (a) δEGR = 3%; (b) δEGR = 9%; (c) δEGR = 15%; (d) δEGR = 21%.
Figure 14. Change in exhaust gas temperature in the cylinders of a 16V32 STX-MAN marine diesel engine at different values of the degree of exhaust gas recirculation (load 95%): (a) δEGR = 3%; (b) δEGR = 9%; (c) δEGR = 15%; (d) δEGR = 21%.
Jmse 10 01331 g014
Figure 15. Change in the average exhaust gas temperature t, °C marine diesel 16V32 STX-MAN depending on the degree of recirculation δEGR: 1—load 35%; 2—load 55%; 3—load 75%; 4—load 95%.
Figure 15. Change in the average exhaust gas temperature t, °C marine diesel 16V32 STX-MAN depending on the degree of recirculation δEGR: 1—load 35%; 2—load 55%; 3—load 75%; 4—load 95%.
Jmse 10 01331 g015
Table 1. Emission NOX, g/(kWh) marine diesel 16V32 STX-MAN under various loads and degrees recirculation δEGR.
Table 1. Emission NOX, g/(kWh) marine diesel 16V32 STX-MAN under various loads and degrees recirculation δEGR.
Diesel Load, %Degree of Gas Recirculation δEGR, %
036912151821
358.327.687.276.966.656.496.426.35
558.498.177.397.076.716.636.516.41
758.838.197.497.186.736.516.316.16
958.928.277.637.297.076.316.225.92
Table 2. Specific effective fuel consumption be, g/(kWh) marine diesel 16V32 STX-MAN under various loads and degrees recirculation δEGR.
Table 2. Specific effective fuel consumption be, g/(kWh) marine diesel 16V32 STX-MAN under various loads and degrees recirculation δEGR.
Diesel Load, %Degree of Gas Recirculation δEGR, %
036912151821
35193.9195.5196.7197.8198.6199.1199.8200.7
55191.5192.4194.2194.8195.2196.6197.2197.7
75189.9190.2191.3192.1192.5192.9193.4194.3
95189.1189.9190.6190.9191.4192.2192.8193.3
Table 3. Environmental efficiency and fuel efficiency marine diesel 16V32 STX-MAN when using the EGR system.
Table 3. Environmental efficiency and fuel efficiency marine diesel 16V32 STX-MAN when using the EGR system.
Degree of Recirculation, %Diesel Load, %
35557595
relative reduction in nitrogen oxide emissions
37.73.87.27.3
916.316.718.718.3
1522.021.926.329.3
2123.724.530.233.6
relative increase in specific effective fuel consumption
30.830.470.160.42
92.011.721.160.95
152.682.661.581.64
213.513.242.322.22
Table 4. Exhaust gas temperature change in the cylinders of a 16V32 STX-MAN marine diesel engine under different experimental conditions (load 35 and 55%).
Table 4. Exhaust gas temperature change in the cylinders of a 16V32 STX-MAN marine diesel engine under different experimental conditions (load 35 and 55%).
Cylinder NumberMean
12345678
load 35%
Side A379406384357397395386380386
Side B (without using EGR)369401372355385383373395379
Side B
(For varying
degrees of EGR)
3374407378361389386378399384
6382414385366395393384405391
9395428398378408403398416403
12416437419398427423417435422
15439460441421448447441456444
18467493469451477482470486474
21505519497491506511496514505
load 55%
Side A353395362343382380372355368
Side B (without using EGR)343413345333375367358378364
Side B
(For varying
degrees of EGR)
3347418348337377372363382368
6352423353342384377368388373
9362434364350392386376396383
12376447376365407400381408395
15393463394382422416399423412
18416487417401445438423446434
21445512445431472465450472462
Table 5. Exhaust gas temperature change in the cylinders of a 16V32 STX-MAN marine diesel engine under different experimental conditions (load 75 and 95%).
Table 5. Exhaust gas temperature change in the cylinders of a 16V32 STX-MAN marine diesel engine under different experimental conditions (load 75 and 95%).
Cylinder NumberMean
12345678
load 75%
Side A343381358328375372361338357
Side B (without using EGR)341387356327373353345358355
Side B
(For varying
degrees of EGR)
3344392358330376355348362358
6348396362336380359353366363
9356405373343388369360375371
12368416389355401380373386384
15383432410371417395386398399
18403443430392439417407420419
21429470458405463444434442443
load 95%
Side A337375355331367366356329352
Side B (without using EGR)337372354325368352339345349
Side B
(For varying
degrees of EGR)
3339375355328370355340347351
6342376358330373359344351354
9348383363337380364350357360
12357390372346388373358367369
15369403384360400386371380382
18384417399376414400387392396
21403437419394435421408409416
Publisher’s Note: MDPI stays neutral with regard to jurisdictional claims in published maps and institutional affiliations.

Share and Cite

MDPI and ACS Style

Sagin, S.; Kuropyatnyk, O.; Sagin, A.; Tkachenko, I.; Fomin, O.; Píštěk, V.; Kučera, P. Ensuring the Environmental Friendliness of Drillships during Their Operation in Special Ecological Regions of Northern Europe. J. Mar. Sci. Eng. 2022, 10, 1331. https://doi.org/10.3390/jmse10091331

AMA Style

Sagin S, Kuropyatnyk O, Sagin A, Tkachenko I, Fomin O, Píštěk V, Kučera P. Ensuring the Environmental Friendliness of Drillships during Their Operation in Special Ecological Regions of Northern Europe. Journal of Marine Science and Engineering. 2022; 10(9):1331. https://doi.org/10.3390/jmse10091331

Chicago/Turabian Style

Sagin, Sergii, Oleksiy Kuropyatnyk, Arsenii Sagin, Ivan Tkachenko, Oleksij Fomin, Václav Píštěk, and Pavel Kučera. 2022. "Ensuring the Environmental Friendliness of Drillships during Their Operation in Special Ecological Regions of Northern Europe" Journal of Marine Science and Engineering 10, no. 9: 1331. https://doi.org/10.3390/jmse10091331

APA Style

Sagin, S., Kuropyatnyk, O., Sagin, A., Tkachenko, I., Fomin, O., Píštěk, V., & Kučera, P. (2022). Ensuring the Environmental Friendliness of Drillships during Their Operation in Special Ecological Regions of Northern Europe. Journal of Marine Science and Engineering, 10(9), 1331. https://doi.org/10.3390/jmse10091331

Note that from the first issue of 2016, this journal uses article numbers instead of page numbers. See further details here.

Article Metrics

Back to TopTop