Next Article in Journal
Agricultural Chambers in the Process of Transfer of Knowledge and Innovations for the Development of Agriculture and Rural Areas in Poland
Previous Article in Journal
Long-Term Simulated Direct N2O Emissions from German Oilseed Rape Cultivation below the IPCC Emission Factor
 
 
Font Type:
Arial Georgia Verdana
Font Size:
Aa Aa Aa
Line Spacing:
Column Width:
Background:
Article

Design and Experimental Study of Single Plant Harvester for Potato Breeding Experiments

1
College of Mechanical and Electrical Engineering, Qingdao Agricultural University, Qingdao 266109, China
2
College of Mechanical and Electrical Engineering, Hainan University, Haikou 570228, China
*
Author to whom correspondence should be addressed.
Agriculture 2024, 14(1), 71; https://doi.org/10.3390/agriculture14010071
Submission received: 24 November 2023 / Revised: 26 December 2023 / Accepted: 27 December 2023 / Published: 29 December 2023
(This article belongs to the Section Agricultural Technology)

Abstract

:
In order to solve the current problems of time-consuming manual work and low harvesting efficiency during the harvesting of potato breeding trials and the inability of traditional harvesting machinery to meet the requirements of potato single plant harvesting, a single plant harvester for potato breeding with a combined excavation device and a conveying and separating device with alternating concave and straight units is designed. This paper analyzes the force, motion, and collision of potato plants in the digging transition stage and conveying and separating stage. The key factors affecting the rate of single plant integrity and the rate of injured potatoes are determined. A three-factor quadratic regression orthogonal rotating combination experiment is conducted with the rate of single plant integrity and the rate of injured potatoes as experiment indexes, forward speed, conveying speed to forward speed ratio, and the rotational speed of the rear-vibration device as influencing factors. Based on the experiment results, a mathematical regression model is established, and response surface analysis and parametric analysis are conducted to determine that when the forward speed is 0.65 m∙s−1, the ratio of conveying speed to forward speed is 0.98, and the speed of the post-vibration device is 11.52 rad∙s−1, the single plant integrity rate is 97.14% and the rate of injured potatoes is 0.67%. The machine can better meet the requirements of potato single plant harvesting and solve the problem of plant mixing. From the perspective of potato damage rate, potato breeding harvesters are also suitable for traditional potato harvesting.

1. Introduction

As one of the world’s important crops, the potato is widely grown in many countries around the globe [1,2]. However, the potato breeding cycle is long and requires a large population of generations [3]. Potato breeding experiments are divided into asexual first-generation, second-generation, and third-generation selection, preliminary line comparison, and line comparison experiments [4]. The harvesting requirements of potato breeding trials are different from those of the field [5]. Taking the most cautious period of harvest—asexual generation—as an example, different plants in the same row in potato breeding experiments have different hybrid offspring. Because plant phenotype information such as tubers, pests, and diseases needs to be extracted after potato harvest [6], whole plant harvests are required for breeding experiments. In order to facilitate the recording of different potato varieties corresponding to tuber enlargement degree, resistance to pests, and other results, the harvested potato plants should be laid out in the field in the planting order. So, breeding experiments need to harvest single plants to ensure that there is no mixing between plants and reduce damage to potatoes [7]. In summary, the harvesting operation is heavy for breeding experiments, and manual harvesting is time-consuming and laborious. And traditional potato harvesters cannot meet the potato breeding harvesting requirements. Mechanized harvesting of potato single plants in breeding experiments is an effective way to improve the quality of breeding trials and save costs and efficiency, especially in countries where the aging of agricultural workers is severe and research and development funds are insufficient.
Currently, key technologies for harvesting potatoes in the field at home and abroad are maturing [8,9], but harvesting technologies for potato breeding trials are still in their infancy. Relatively little research has been carried out at home and abroad on ensuring plant integrity in a single plant harvest. Anna, G. [10] investigated a cylindrical potato root measurement device without cover and bottom in which potato seed was planted inside the device and the device was opened longitudinally when the potatoes were ripe, ensuring undamaged extraction of potato tuber–root groups from the soil. But the degree of mechanization of this device is low, manual work is labor-intensive, and work efficiency is low. Yu L. [11] invented a potato tuber harvesting device with the function of picking, which can cut the seedlings and pick tubers while ensuring the harvest of a single plant, but the diversion roller between the soil digging device and the conveying device did not design the mechanism of single plant separation, which is easy to cause single plant mixing and is not suitable for potato harvesting in breeding experiments. Tian Y. [12] determined the model characterization parameters based on the biological properties of the potato tuber–root system, obtained the spatial coordinates of the root axis by simulating root tip growth, and established a library of potato tuber–root system model parameters. The study only extracted characterization parameters of potato root biological characteristics and did not design root excavation devices or experiments. Fan Y. [13] established a discrete element model of soil–tuber–plant root system groups and used numerical analysis to study the dynamic rupture characteristics of soil–tuber–root system agglomerates during potato harvesting and the coupling effect of their excavation shovels. The results showed that the excavation process of plane strip shovels easily led to the rupture and collapse of soil–tuber–root system agglomerates, but the design of the digging shovel device was based on the theory of potato plant fragmentation, which means separating potato tubers from creeping stems, which contradicts the harvest requirements of breeding experiments for potatoes. In conclusion, most studies at home and abroad only carry out theoretical analysis on potato tuber–root aggregates and do not design potato harvesting equipment based on the requirements of single plant breeding, which cannot guarantee the integrity of potato tuber–stolon–vine in practical applications. And there is no potato harvester yet used for breeding experiments.
In terms of reducing the rate of injured potatoes, Alexey, D. et al. [14] evaluated and analyzed the working elements of potato harvesters with regard to tuber damage. The results showed that 63.2% of the elements causing damage to tubers were conveying and separating devices. Farmon M. et al. [15] developed a potato excavator with an “umbrella plow”-type shovel body with tilting struts that provided better soil breaking, lower energy consumption, and a 2.9% reduction in potato injury compared to other forms of excavation shovels. Yang R.B. et al. [16] studied a poking roller type conveying separation device. By using multi-stage poking roller to continuously push the potato, and the potato moved backward in an up-and-down and wavy manner, the potato injured rate is reduced by 0.06% compared with the traditional conveying separation device. Lyu J.Q. et al. [17] established a model of damage energy through kinematic analysis of the potato lifting process and energy analysis of the impact process, which identified the height of the fall and the linear velocity of the lifting chain as the main factors affecting potato damage. Although the above studies have all reduced the damage rate of potatoes, the results are based on breaking plant integrity and removing adhesive soil, which is contrary to the requirements of differentiated individual plant harvesting in breeding experiments.
To address the above problems, this paper designs a potato single plant breeding harvester with alternating concave and straight units (in the following it is abbreviated as: potato breeding harvester), through the kinetic analysis of potato single plant in the digging transition state and conveying state, using quadratic regression orthogonal rotation combination experiment for performance experimenting, to explore the movement law of potato plants and the influence of forward speed, conveying speed to forward speed ratio, and rotational speed of the rear-vibration device on the rate of single plant integrity and the rate of injured potatoes. This study achieves no mixed harvesting among potato single plants, which provides a useful reference for future research on low-damage, single plant harvesting in potato plot breeding mechanized harvesting.

2. Materials and Methods

2.1. Agronomy in Breeding Trial

Breeding trials usually involve single-ridge and single-row planting, with a row spacing of 800 mm to 900 mm, a plant spacing of 250 mm to 600 mm, and a ridge height of generally 200 mm to 300 mm. During sowing, it is necessary to ensure that the ridges and rows of each plot are aligned, so as to facilitate later harvest without mixing seeds [18]. The planting pattern of potato breeding trials is shown in Figure 1.
The varieties in breeding experiments are relatively precious, so this article selects previously hybrid and extensively planted varieties as experimental samples during the research process. According to the study method of the potato basic characteristics at maturity in a related study [19], the basic characteristics of “Holland 15” and “Kexin 1” potatoes are measured, as shown in Table 1.
Potato blocks are connected by the stolon and the main root of the seedling vine, and the stolon varies in length. In order to facilitate the movement analysis of potato single plants at a later stage, tensile tests are conducted to analyze the bond strength of potato blocks and stolon from three aspects: Potato–stem, stem–stem, and stem–vine taproot. The experiment was conducted in July 2023 with an intact potato plant, rubber cord, cotton cord, steel nails, and a SUNDOO SH-50 digital tensile tester, which was bought from Taobao APP and it was made in China. In order to ensure the accuracy of the experimental data, the tensile test is carried out in the room with the good bonding properties of each part. Before the test, potato tuber is fixed by pressing with the hand perpendicular to the tabletop to ensure that the displacement of potato tuber relative to the tabletop is 0 mm, the stolon is fixed to the tensiometer with rubber bands, and the stem is fixed to a steel nail with a non-elastic cotton string and pressed with the hand perpendicular to the tabletop to ensure that the displacement of the stem relative to the tabletop is 0 mm. The experiment is conducted in the order of stolon–stem, tuber–stolon, and stolon–stolon. The direction of tension is parallel to the desktop, and each group of tests is repeated 10 times to calculate the average value. The potato morphological structure diagram, potato–stem–vine main root node location, and potato–stem tensile test diagram are shown in Figure 2 and Figure 3.
In the process of measuring the tensile strength of potato–stem, stem–stem, and stem–vine taproot, it is found that the fracture location generally occurs on the stolon, and the closer the connection between the stolon and vine taproot is, the greater the tensile strength becomes. Therefore, it is only necessary to conduct a comparative analysis of the tensile test results of the potato–stem and stem–stem to determine the location where the fracture is most likely to occur. The result shows that the maximum value of potato–stem tensile strength is 18.14 N, the minimum value is 16.24 N, and the average value is 17.13 N. According to the results of stem–stem tensile strength measurement, the average tensile strength is 22.28 N, and the stem–stem tensile strength is better than that of potato–stem. The separation and fracture of potato and plant usually occur at the joint of the stolon and potato block, and the required breaking force is about 17.13 N.

2.2. Overall Structural Design and Operating Principle

The potato breeding harvester mainly consists of a suspension device, digging device, concave and straight unit alternately arranged conveying device, frame, hydraulic motor, hydraulic speed control valve, etc., as shown in Figure 4. The harvester is driven by a tractor engine (28) and hydraulic pump (20) via a hydraulic motor (22) and sprocket (27). Before operation, the amount of hydraulic oil feed is changed by adjusting the hydraulic speed control valve (16) according to the field operation condition. During operation, the output shaft of the hydraulic motor (22) drives the sprocket to rotate and drives the wheel axle (23) and the front and rear two vibration axles (25) and (24) under the action of chain drive (27), conveying the separating device to operate.

2.3. Excavation Device Design

2.3.1. Excavation Device Structure

The potato breeding harvester needs to minimize impacts on the rate of potato single plant integrity from digging. The paper designs a good stability of the combined digging shovel, which has the grass-cutting disc on both sides. It is easy to cut the soil, which cushions the impact of excavation for potato plants. There is a knife and shovel transition plate between the digging shovel and the conveying device to avoid damage to the potato plant caused by stones in the field, as shown in Figure 5.

2.3.2. Excavation Device Geometric Parameters Selection

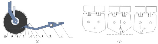
The main geometric parameters of the excavation shovel are the bevel angle of the shovel blade γ, the inclination angle of the shovel face α, and the length of the shovel body L1. The force analysis diagram of the shovel during excavation is shown in Figure 6. Take the axis parallel to the shovel plane as the X-axis and the axis perpendicular to the shovel plane as the Y-axis to establish a right-angle coordinate system and carry out force analysis based on this coordinate system. The force analysis and collision analysis of potato are carried out without considering the deformation of potato itself. Therefore, the potato is considered a rigid body in the following force and energy analyses.
  • The shovel blade bevel angle γ
In order to prevent impact damage to the root of potato plant due to the shovel surface being too sharp, the value of γ is taken in the allowable range to take the larger value. The middle digging shovel is the main shovel to break the soil, so the middle shovel blade inclination angle is less than the sides of the shovel blade inclination angle. The design of γ meets Equation (1). The γ designed in this paper is the residual angle of 28°, 22° and 24° in Figure 5b. The angles on both sides of the middle shovel are symmetrical, and the inclination angle of the shovel blade is 66 °. The angles on both sides of the shovel are asymmetric, with angles of 62° and 68°, respectively. Where φ is the friction angle of the soil on the steel, which is generally taken to be 22° to 45° [20].
90 ° γ > φ
2.
The shovel face inclination angle α
The force analysis of the potato–soil mixture in the X and Y directions is shown in Figure 6, and the equations are shown in (2), (3), (4), and (5).
R P sin α G cos α = 0
P cos α F f G sin α = 0
F f = μ 0 R
G 0 + G 1 = G
α = a r c t g P μ ( G 0 + G 1 ) μ P + G 0 + G 1
In the equation: v is the forward speed of the machine, m∙s−1; h1 is the digging depth, mm; h2 is the height of the end of the shovel, mm; R is the support force of the shovel body on the soil, N; P is the force required to move the rising object, N; α is the angle of inclination of the shovel surface, °; Ff is the friction of the digging shovel on the soil, N; G is the total gravity of potato single plant and soil, N.
The density of soil is generally 2.55–2.85 g∙cm−3 [21,22], and the density of soil selected in this paper is 2.65 g∙cm−3. The gravity of soil per cubic centimeter is calculated by the density equation as 0.0265 N. The inclination angle of the shovel face is closely related to the digging depth, which should ensure the integrity of the potato after digging and avoid cutting potatoes. Therefore, the digging depth is about 30 mm greater than the depth of potatoes. The excavation depth h1 is 190 mm, and the calculated shovel inclination angle α is 25.7°.
3.
The shovel body length L1
The shovel body length L1 is determined by the digging depth h1 and the shovel face inclination angle α.
L 1 = h 1 sin α
The values of shovel face inclination α and digging depth h1 are brought into Equation (7), and L1 is taken as 440 mm according to the actual operation and the characteristics of the machine.

2.4. Conveying and Separating Device Design

2.4.1. Conveying and Separating Device Structure

The main requirements of the potato breeding harvester’s conveying and separating device are to ensure the integrity of the potato plant, reduce the rate of injured potatoes, and have no mixing between plants. The rate of soil removal is 70–80% [23]. When the concave and convex fences are alternately arranged, potatoes are stuck between the two fences, easily causing potatoes and stolons to separate. When the convex and straight fences are arranged alternately, the tractor’s slight deviation is easy to cause the lateral fracture of single potato stolons. Taking into account the shortcomings of the above two arrangements, this paper designs a conveying and separating device with alternating concave and straight unit arrangements, as shown in Figure 7. The overall design of the conveying and separating device is gentle, and the purpose of stable conveying is achieved by reducing the slope. The riding wheel plays a tensioning role for the conveying and separating device.

2.4.2. Fence Parameters Selection

The arrangement of concave and straight fences should not only ensure that the concave space can accommodate potato single plants but also ensure that the potato does not leak. The concave and straight unit alternating arrangement device meets the row spacing requirements. The selection of p1 is related to ∆h1, the thickness T, width D, length L of the potato, and the plant spacing.
Δ h 1 = p 1 2 + Δ h 2
250 mm L 2 350 mm L 3 D
where p1 is the pitch of the belt used to convey the separation unit, mm; L2 is the total length of each unit, mm; L3 is the length of the concave unit, mm; L4 is the length of the straight unit, mm; and ∆h is the height difference between concave and straight fences, mm.
p1 should be selected to achieve a certain de-soiling effect without leaking potatoes, combining the physical properties of potatoes, the prototype processing technology, and the soil conditions of the Central Plains Second Quarter Crop Area are, in this paper, we chose p1 as 45 mm. According to Equation (8), ∆h1 should be as small as possible in terms of the external dimensions of the potato, while at the same time ensuring that the potato does not cross the grid bar when it collides with the straight grid bar. ∆h is too small, and the center of the straight fence bar is too close to the center of the concave fence bar, resulting in potato movement across the fence bar and the inability to distinguish single plants. ∆h is too large, ∆h1 increases, causing potato leakage. and we choose ∆h as 20 mm. The structure of the concave-straight grating is shown in Figure 7, which is a “6 concave-2 straight” unit arrangement by calculation.

2.4.3. Vibration Frequency Selection

There are two vibration devices installed in the conveying separation device, and the vibration frequency of the front vibration device is larger than that of the rear-vibration device. When the difference between the vibration frequency of the front vibration device and the rear-vibration device is too large, plant integrity cannot be ensured, and the rate of injured potatoes is high. When the difference between the frequencies is too small, the soil removal rate cannot meet the requirement. Therefore, in the chain drive design part, the front vibrating device uses a 12A-17 tooth sprocket and the rear-vibration device uses a 12A-24 tooth sprocket, and the linear speed of both sprockets is the same. The relevant calculation equation is as follows:
r = p 2 sin ( 180 ° / Z ) f = n 60
v 24 v 17 = r 24 n 24 r 17 n 17 = 1
where r is the sprocket radius, mm; n is the rotational speed of the vibration device, mm; the chain pitch p is 19.05 mm; and Z is the number of sprocket teeth, per. From Equations (10) and (11), the vibration frequency is proportional to the rotation speed of the vibration device. It is concluded that: f 24 f 17 = 0.71 .

2.5. Potato Single Plant Movement Analysis

2.5.1. Potato Single Plant Digging Transition State Movement Analysis

The digging transition state is the state of potato plants from the knife shovel transition plate to the conveyor separation device movement. The impact of the digging device on the potato plants is small. When the potato plants are in the digging transition, the potato single plant is divided into two states: The first state is when the potato single plant falls exactly in the concave unit; the second state is when the potato single plant falls partly into the concave unit and partly into the concave unit under the action of the straight fence. The fences and stolon are considered rigid bodies. The force analysis, velocity analysis, and trajectory of the second state are shown in Figure 8.
Since the forward speed of the tractor, the conveying speed of the conveying separation device, the thrust of soil, and the straight grid on the potato plants are all unchanged, the instantaneous pull of the stolon on the potato tuber is constant. The instantaneous force analysis is shown in Equation (12), and the velocity analysis is shown in Equation (13). The potato accelerates uniformly in the X direction and throws upward in the Y direction. The motion process needs to satisfy Equation (15).
F tt sin ξ x + F l t + F G t cos χ + F f m g sin ξ x = m a 0 F G t sin χ + F N 1 m g cos ξ x F t t sin ξ x = 0 F f = μ F N 1
v x 0 = v l + v z sin ξ x v cos ξ x + a 0 t 0 v y 0 = v z cos ξ x + v sin ξ x v z = 2 π n 24 r 1 δ = arctan v y 0 v x 0 v h = v x 0 2 + v y 0 2
a 0 = F t t sin ξ x + F l t + F G t cos χ + F f m g sin ξ x m H 1 = ( v z cos ξ x + v sin ξ x ) t 0 1 2 g t 0 2 s = ( v l + v z sin ξ x v cos ξ x ) t 0 + 1 2 a 0 t 0 2
H 1 H 0 s Δ s
where r1 is the radius of rotation of the front vibrating device, mm; vl is the conveying speed of the conveying separation device, m∙s−1; t0 is the time of the potato plant to move until the soil thrust disappears, s; χ is the angle of the stolon to the potato, °; H0 is the maximum allowable height for potato fall, mm; ∆s is the maximum horizontal distance of potato under pull of the stolon, mm; H1 is the maximum height of the potato thrown up, mm; s is the horizontal movement distance of potato under no pull of the stolon, mm; Ftt is the soil pushing force, N; Flt is the conveying tension of the straight fence, N; FGt is the tensile force of the stolon on the potato, N; FN1 is the support force of the conveying separation device on potatoes, N; δ is the angle between vh and the transport separation device; vz is the speed of vibration of the vibrating device to the potato upwards, m∙s−1; vh is the initial velocity of the throw up, m∙s−1; vh is the final velocity falling on the conveying separation device, m∙s−1.
According to Equation (12), the potato plant has an initial velocity in the X and Y directions. In the X direction, the potato plant performs uniform acceleration until the soil thrust on the potato disappears. In the Y direction, the potato plant performs an up-throwing motion with a velocity perpendicular to the conveying separation device, and the motion trajectory is shown in Figure 8. Equations (12)–(15) show that the state of motion of the potato plant is related to the forward speed of the tractor, the conveying speed to the forward speed ratio, and the rotational speed of the vibration device. Select the suitable forward speed, the ratio of conveying speed to the forward speed, and the rotational speed of the vibration device to ensure the integrity of the potato plant.

2.5.2. Potato Single Plant Transport State Movement Analysis

After the potato plants enter the conveying separation device, there are two states of potato and stolon: There is force between them; there is no force between them. The force analysis of the potatoes in the first state in the conveying and separating device is shown in Equations (16) and (17). In the second state, the pull FGt of the stolon on potato is 0. At this time, the friction angle allowing potato to slide is minimum. Therefore, only the second state is analyzed.
F G t cos ( χ ξ 0 ) + m g sin ξ 0 μ m g cos ξ 0 = 0
μ = tan ξ 0
It is calculated that ξ0 is 15.45°. When the angle formed between the auxiliary wheels is less than 15.45°, the potato plants move synchronously with the conveying and separating device. When the angle formed between the auxiliary wheels is greater than 15.45°, the potato plants roll downward. In order to facilitate the theoretical analysis of potato plants, the conveying and separating device is divided into three sections according to the distribution characteristics of the auxiliary wheels of the conveying and separating device: The first section is between the front-driven wheel and the front vibrating device, forming the angle of ξx; the second section is between the two vibrating devices, forming the angle of εx; the third section is between the rear-vibration device and the rear drive wheel device, forming the angle of κx.
According to the above analysis, the front and rear-vibration devices have different rotational speeds. The motion state of the potato single plant changes with the two vibration devices at different rotational angles. The inclination angle of each stage is determined according to the center distance between each auxiliary wheel and the height hl, which is determined by the rotational angle of the vibration device of the vibration shaft and the conveying belt. Through the geometric analysis of the vibration device, the theoretical analysis of the height hl of the vibration shaft and conveying belt can be summarized into the following three states: State 1 is x ∈ [0, 30°]; state 2 is x ∈ (30°, 42.3°]; state 3 is x ∈ (42.3°, 90°], where x takes values in the range [0, 90°]. x is the angle at which the forward vibration device has turned. l is the length of the sides of the equilateral triangle formed by the vibrating device. The formula table for judging the tilt angle of the first, second, and third stages of the conveying separation device is shown in Table 2.
Taking the different values of x into Table 2, it is obtained that when x ∈ [35.5°, 84.5°], ξx > ξ0, ξx< ξ0, κx < κ0. According to Equation (11), when the rear-vibration device rotates to the highest point, the front vibration device rotates to 84.5°, and the potatoes still do not have the tendency to roll downward. Therefore, the potato only rolls downward in the first stage of the conveying and separating device.
Because the whole potato plant in the single fruit corresponds to different root systems and the weight varies, so the friction force of each potato is different, the single fruit is easy to roll downward separately. When the potato single plant rolls downward, the direction of movement is opposite to the direction of transport of the conveying separation device. The trajectory of the potato single plant during the first section is shown in Figure 9. Among them, trajectory 1 is the stolon pulling action of the potato down to perform deceleration; trajectory 2 is the potato detaching from the stolon to perform acceleration; and trajectory 3 is the potato and straight fence collision after the oblique throwing motion. The initial velocity of the potato is the same as that of the conveying velocity. The analysis of Equation (18) shows that the following two cases exist at the end of the motion of trajectory 1:
When the potato collides with the straight fence, there is tension between the stolon and the potato; the potato does not break away from the stolon, s 1 Δ s , and v1 ≠ 0. After the potato collides with the straight fence, it continues to perform an oblique throwing motion. The motion path of the potato is shown as trajectory 3. When the stolon has no force on the potato, the potato does not detach from the stolon. When the potato moves to a certain height and there is tension between the stolon and the potato, the gravity of the potato is less than the tension allowed by the breaking of the stolon, F G t G m , and the potato does not break away from the stolon.
m g sin ξ x F G t cos χ μ ( m g cos ξ x + F G t sin χ ) = m a 1 1 2 m v l 2 1 2 m v 1 2 = F f S 1 m g S 1 sin ξ x P l v 1 = v l a 1 t 1 S 1 = v l t 1 1 2 a 1 t 1 2
( μ m g cos ξ x + F G t cos χ + μ F G t sin χ m g sin ξ x ) Δ t = m v 1 m v 31 H 1 = ( v 31 sin ψ ) 2 2 g S 31 = v 31 2 sin 2 ψ g
v 31 = v 1 ( F G t m cos χ μ g cos ξ x μ F G t m sin χ + g sin ξ x ) Δ t H 2 = [ v 1 ( F G t m cos χ μ g cos ξ x μ F G t m sin χ + g sin ξ x ) Δ t sin ψ ] 2 2 g S 31 = [ v 1 ( F G t m cos χ μ g cos ξ x μ F G t m sin χ + g sin ξ x ) Δ t ] 2 sin 2 ψ g
where v1 is the final velocity of the potato in trajectory 1, m∙s−1; v2 is the speed of the potato before the collision with the straight fence, m∙s−1; v3 is the initial velocity of the potato’s oblique throwing motion, m∙s−1; v4 is the end velocity of the potato’s oblique throwing motion, m∙s−1; Gm is the gravity of single potato, N.
In trajectory 1, the potato motion speed decreases to 0 before colliding with the straight fence, s 1 Δ s , and v1 = 0. After the potato is detached from the stolon, it carries out accelerated motion until it collides with the straight fence, as shown in trajectory 2; after colliding, the potato performs an oblique throwing motion. Due to the light weight of single potatoes, slow speed, and small impact, the potatoes all fall into the concave unit after the oblique throwing motion, and the single plant is not mixed.
m g sin ξ x μ m g cos ξ x = m a 2 v 2 = a 2 t 2 S 2 = 1 2 a 2 t 2 2 1 2 m v 2 2 1 2 m v 1 2 = μ m g S 2 cos ξ x m g S 2 sin ξ x P l
m v 32 m v 2 = ( m g sin ξ x μ m g cos ξ x ) Δ t H 2 = ( v 32 sin ψ ) 2 2 g S 32 = v 32 2 sin 2 ψ g
v 2 = v 1 2 m 2 p 2 m v 32 = v 1 2 m 2 P 2 m + ( g sin ξ x μ m g cos ξ x ) t H 2 = v 1 2 m 2 P l 2 m + [ ( g sin ξ x μ g cos ξ x ) Δ t ] 2 + 2 ( g sin ξ x μ g cos ξ x ) Δ t v 1 2 m 2 P l 2 m 2 g sin 2 ψ S 32 = v 1 2 m 2 P l 2 m + [ ( g sin ξ x μ g cos ξ x ) Δ t ] 2 + 2 ( g sin ξ x μ g cos ξ x ) Δ t v 1 2 m 2 P l 2 m g sin ψ
where pl is the work carried out to convey the separation device, kJ; ∆t is the collision action time between the potato and the straight fence, s; Ψ and ϛ are the angles between the initial velocity and final velocity of trajectory 3 and the horizontal plane, respectively, °; Et is the energy generated by the potato collision, including the increased potential energy and the thermal energy generated during the collision, kJ; H1 is the height of the potato throw of trajectory 3 in state 1, mm; H2 is the height of the potato throw of trajectory 3 in state 2, mm; v31 and v32, respectively, are the end velocity of the potato’s oblique throwing motion in the first and second cases, m∙s−1; s31 and s32, respectively, are the horizontal distance of the potato’s oblique throwing motion in the first and second cases, mm.
It is necessary to ensure both the rate of potato single plant integrity in the process of conveying and separating and that the potatoes bounce up after collision to a height that does not exceed the maximum height H0 allowed for potato damage [24]. From the above motion analysis, it is seen that the heights H1 and H2 of the potato after collision with the straight fence are related to the tilt angle ξx of the conveying and separating device, and ξx is related to the rotational speed of the vibrating device. Therefore, from Equations (14), (15), (20), and (23), it can be seen that the main influencing factors of potato single plant integrity rate and injured potato rate are forward speed, the ratio of conveying speed to forward speed, and the rotational speed of the vibration device. In state 1, the potato is attached to the stolon, which ensures the integrity of the potato single plant; in state 2, although the potato moves away from the stolon, the potatoes separated from the stolon fall into the concave unit, and there is no mixing of single plants, which only affects the rate of single plant integrity but has little impact on the harvesting effect of the plot of other plants and the extraction of phenotypic information in the later period.

2.6. Key Performance Parameters of Potato Breeding Harvester

2.6.1. Single Plant Integrity Rate

At present, there is no evaluation standard for the harvesting effect of potato single plant in China. Considering the special requirements of single plant harvest, the rate of single plant integrity is taken as one of the experiment indexes. It is stipulated that the rate of single plant integrity is calculated as follows: The potatoes of the whole plant are bonded with the stolon for 100%; the rest of the cases are calculated according to the ratio of the number of potatoes bonded with the stolon to the total number of potato single plant produced. The rate of single plant integrity is calculated according to Equation (24), which is described as follows:
y 1 = n 1 n × 100 %
where y1 is the rate of single plant integrity, %; n1 is the number of potatoes bonded with the stolon, pcs; and n is the total number of fruits potato single plant, pcs.

2.6.2. Potato Injury Rate

After the single plant integrity rate is counted, the potato seedlings are separated, and the cut and broken potatoes are picked out of them. The mass of the damaged potatoes and the total mass of the harvested potatoes are weighed separately. According to the technical specification for quality evaluation of potato harvesters (NY/T648-2015) [25], another harvesting performance index is specified as the rate of injured potatoes, as shown in Equation (25):
y 2 = m 1 m 2 × 100 %
where y2 is the rate of injured potatoes, %; m2 is the total number of potatoes, pcs; and m1 is the number of injured potatoes, pcs.

2.7. Key Experimental Factors of Potato Breeding Harvester

According to Section 2.5, the factors affecting the single plant integrity rate and the injured potato rate are the rotation speed ω of the vibration device, the forward speed v, and the ratio of conveying speed to forward speed λ. To facilitate the adjustment of the rotational speed, the rotational speed of the rear-vibration device is used as one of the key experiment factors.

2.7.1. Conveying Speed to Forward Speed Ratio

The ratio of conveying speed and forward speed during potato breeding harvester operation has a significant impact on the effectiveness of potato single plant harvesting [26,27]. When the conveying speed is less than the forward speed, congestion extrusion occurs in front of the machine, which is easily mixed. When the conveying speed is greater than the forward speed, the potato single plant is easy to break laterally. Therefore, the ratio of conveying speed to forward speed is around 1. The forward speed of the machine is v and the conveying speed of the conveying separating device is vl, and the relationship λ is shown in Equation (26).
λ = v l v
The value of λ ranges from 0.8 to 1.2.

2.7.2. Forward Speed

The forward speed of the tractor during normal operation is 0.42 to 1.9 m∙s−1. From the analysis of Equations (20)–(22), it is clear that the single plant integrity rate is related to the forward speed. When the forward speed increases, the horizontal distance of potatoes in the device increases, and potatoes break away from the stolon. Therefore, the forward speed is not too large. In this paper, the forward speed v is selected as 0.50 m∙s−1 to 0.90 m∙s−1.

2.7.3. Rotational Speed of Rear-Vibration Device

When the rotational speed is too high, the potato movement distance increases. When the rotational speed is too low, the conveying and separating device does not meet the basic soil removal rate requirement. According to Section 2.4.3, in this paper, the range of values for the rotational speed of the rear-vibration device is selected as 10.5 rad∙s−1 to 15.5 rad∙s−1.

2.8. Experimental Environment and Materials

The experiment was performed in the field at Qingdao Hongzhu Agricultural Machinery Co. Before the experiment, it is necessary to exclude other factors affecting the experimental results and adjust the suspension arms on both sides of the Dongfanghong LX1804 tractor to the same height. In order to achieve the planting effect of different varieties of plants in breeding experiments and the accuracy of the experimental results, the planting agronomy “Holland 15” and “Kexin 1” are alternately planted according to breeding experiments. The experimental planting mode is single-row planting; row spacing is 800 mm, row height is 250 mm, plant spacing is 300 mm, potato depth is 150 mm to 270 mm, and soil moisture content is 12.5%. The potato single plant harvester’s basic characteristics are listed in Table 3. Randomly select plots with 33 ridge planting patterns for single plant potato harvesting experiments. Other experimental instruments mainly include GREENER 10 m × 25 mm tape measure, ZF-J electronic scale, and CV6235P tachometer. The field experimental is shown in Figure 10.

2.9. Field Experimental Programme

In this paper, a three-factor quadratic regression orthogonal rotational combination design is used for the experimental study. Combining the above analysis and the actual operating conditions of the prototype, the forward speed of the machine z1 (x1), the ratio of conveying speed to forward speed of the conveying and separating device z2 (x2), and the rotational speed of the rear-vibration device z3 (x3) are taken as the experiment factors, and the factor level codes are shown in Table 4.
The single plant integrity rate y1 and injured potato rate y2 are used as experiment indicators. The total number of experiments is 23, nine zero-point experiments (m0 = 9) are set up, and the average value of each row harvest is used as the experiment data for each group, and the experiment program and results are shown in Table 5.

3. Results and Discussion

3.1. Field Experiment Results

The experimental program and results of the quadratic regression orthogonal rotational combination design are shown in Table 5, and the results of the regression analysis of the single plant integrity rate and injured potato rate are shown in Table 6 and Table 7. The experiment results are shown in Figure 11. The potato breeding harvester can better achieve the harvest of the whole plant.

3.2. Regression Analysis of Field Experiment

3.2.1. Single Plant Integrity Rate

The ANOVA (i.e., analysis of variance) for single plant integrity rate is shown in Table 6. x1, x2, x3, x1x2, x12, x22, and x32 are highly significant (p < 0.01) on single plant integrity rate. The effects of the remaining factors on single plant integrity are non-significant (p > 0.1). The lack of fit (p = 0.2178 > 0.1) indicates that the fitted regression equation works well. After removing insignificant factors, the fitted coded value regression equation is shown in Equation (27).
y 1 = 99.21 3.37 x 1 3.84 x 2 4.45 x 3 2.01 x 1 x 2 1.87 x 1 2 6.00 x 2 2 2.28 x 3 2
From Equation (27), it can be seen that the factors influencing the experiment factors on the single plant integrity rate in the order of priority are: The ratio of conveying speed to forward speed, the rotational speed of the rear-vibration device, and the forward speed. After removing insignificant factors, the fitted actual value regression equation is shown in Equation (28).
y 1 = 564.13 + 293.14 z 1 + 899.12 z 2 + 24.09 z 3 139.32 z 1 z 2 129.91 z 1 2 416.80 z 2 2 1.04 z 3 2

3.2.2. Injured Potatoes Rate

The ANOVA for the rate of injured potatoes is shown in Table 7. The effects of x1, x2, x3, x12, x22, and x32 on the rate of injured potatoes are extremely significant (p < 0.01). The effect of x1x3 on the rate of injured potatoes is significant (0.01 < p < 0.05). The effects of the remaining experiment factors on the rate of injured potatoes are non-significant (p > 0.1); the lack of fit (p = 0.7321 > 0.1) indicates that the fitted regression equation works well. After removing insignificant factors, the fitted coded value regression equation is shown in Equation (29).
y 2 = 0.75 + 0.14 x 1 + 0.05 x 2 + 0.17 x 3 + 0.06 x 1 x 3 + 0.05 x 1 2 + 0.08 x 2 2 + 0.05 x 3 2
From Equation (29), it can be seen that the factors influencing the experiment factors on the single plant integrity rate in the order of priority are: The rotational speed of the rear-vibration device, the forward speed, and the ratio of conveying speed to forward speed. After removing insignificant factors, the fitted actual value regression equation is shown in Equation (30).
y 2 = 11.34 7.68 z 1 10.05 z 2 0.65 z 3 + 0.32 z 1 z 3 + 3.28 z 1 2 + 5.25 z 2 2 + 0.02 z 3 2
The result of the regression analysis is shown in Table 8. The correlation coefficients R for single plant integrity rate y1 and injured potato rate y2, respectively, reach 0.9839 and 0.9742, which indicates a strong linear relationship between the experiment factors and experiment indicators in the regression model. The coefficient of determination R2 for single plant integrity rate y1 and injured potato rate y2, respectively, reaches 0.9681 and 0.9490, indicating that the regression model is highly fitted. To avoid the limitation of the coefficient of determination R2, the adjusted coefficient of determination Adj R2 is obtained. The result shows that the adjusted coefficient of determination of the single plant integrity rate is 0.9460, meaning that the independent variables in the model explain 94.60% of the variation in the single plant integrity rate. Likewise, the adjusted coefficient of determination of the injured potato rate is 0.9138, meaning that the independent variables in the model explain 91.38% of the variation in the injured potato rate.

3.3. Interaction Analysis of Field Experiment

In order to more visually show and analyze the effects of forward speed, conveying speed to forward speed ratio, and rear-vibration device rotational speed on single plant integrity and injured potato rate, by fixing the zero level of one factor, response surface plotting of the regression equation is conducted to analyze the effect of the interaction of the other two factors on single plant integrity and injured potato rate.

3.3.1. Interaction Analysis between Forward Speed and Conveying Speed to Forward Speed Ratio

From Figure 12a, it can be seen that the single plant integrity rate decreases significantly with the increase in forward speed and increases first and then decreases with the increase in the ratio of conveying speed to forward speed. The cause of this phenomenon can be speculated as follows: The impact of the digging device on the single plant increases with an increase in forward speed; when the speed ratio is too large or too small, the conveying speed and forward speed difference is too large, and the single plant in the digging transition phase of the impact increases, or the digging device at the congestion caused by single plant mixing, and the single plant integrity rate is reduced. To ensure the single plant integrity rate, the ratio of conveying speed to forward speed can be controlled in the range of 0.9 to 1.0. From the response cloud diagram, it can be concluded that the effect of conveying speed on the forward speed ratio is significantly higher than the forward speed.
From Figure 12b, it can be seen that the rate of injured potatoes increases when the ratio of conveying speed to forward speed increases. The cause of this phenomenon is speculated as follows: When the speed ratio is certain, the conveying speed increases with the increase in forward speed; the faster the conveying speed, the more times the potatoes collide with the straight fence. With increasing forward speed, the collision times between the potato single plant and the straight fence increase due to the action of inertia, and the impulse increases. Wei Z.C. et al. [28] confirmed that when the conveying speed of the separating screen increased, the throwing speed of potatoes in the separating screen increased, which led to an increase in the instantaneous collision impact force and an increase in the rate of injured potatoes. These findings are consistent with those of Bhawna D. et al. [6] and Kakahy N.N.A. et al. [29], who found that the rate of injured potatoes was related to the forward speed and that a suitable forward speed reduced the rate of injured potatoes. The smaller the forward speed, the lower it is in terms of single plant integrity and potato injury rate, but at the same time, mechanical harvesting efficiency is ensured. Considering all factors, the forward speed is controlled within the range of 0.6 m∙s−1 ~ 0.8 m∙s−1. From the response cloud diagram, it is concluded that the effect of forward speed is higher than the ratio of conveying speed to forward speed.

3.3.2. Interaction Analysis between Forward Speed and Rotational Speed of Rear-Vibration Device

From Figure 13a, it can be seen that the single plant integrity rate decreases with increasing rotational speed of the rear-vibration device and forward speed. Among them, the reason for the influence of forward speed is similar to the reason in Figure 12a above. The reason for the influence of the speed of the rear-vibration device can be speculated as follows: The vibration frequency increases as the speed of the post-vibration device increases, the number of up and down movements of the potato increases, and the probability of detaching the stolon increases. From the response cloud diagram, it can be concluded that the effect of the rear-vibration device’s rotational speed is significantly higher than the forward speed.
As shown in Figure 13b, the rate of injured potatoes increases with an increase in the rotational speed of the rear-vibration device and forward speed. The reasons for this are speculated as follows: Vibration frequency increases as the rotational speed of the rear-vibration device increases, and the number of up-and-down collisions of potatoes increases. It was confirmed that the times of potato jumps were moderately correlated with the rate of injured potatoes and that the times of potato jumps were related to the vibration speed [30]. This is the same as the findings of Yong, Y.S. et al. [31] from the aspect of the rate of single plant integrity and the rate of injured potatoes, the lower the rotational speed of the rear-vibration device, the better, but the soil removal rate was not guaranteed, which also increased the labor cost. Considering all factors, the rotational speed of the rear-vibration device was controlled within the range of 10.5 rad∙s−1 to 11.5 rad∙s−1. From the response cloud diagram, it is concluded that the effect of the rear-vibration device speed is significantly higher than the forward speed.

3.3.3. Interaction Analysis between Conveying Speed and Conveying Speed to Forward Speed Ratio

From Figure 14a, it can be seen that the effect of rear-vibration device rotational speed is more significant compared to the speed ratio in terms of single plant integrity. It can be concluded from the response cloud diagram that the effect of conveying speed to forward speed ratio is significantly higher than that of rear-vibration device speed.
From Figure 14b, it can be seen that the rate of injured potatoes increases with increasing rear-vibration device rotational speed and speed ratio, but the response speed of the rear-vibration device rotational speed is higher than the response speed of the speed ratio. The reasons are speculated to be similar to those mentioned above and will not be repeated here. From the response cloud diagram, it can be concluded that the effect of the rotational speed of the rear-vibration device is significantly higher than the ratio of conveying speed to forward speed.

3.4. Performance Optimization of Field Experiment

In order to obtain the best operation parameters for single plant harvesting, regression models are established for the rate of single plant integrity and the rate of injured potatoes, and parameter optimization is completed based on relevant theoretical analysis. According to the relevant requirements of NY/T648-2015, “Technical Specification for Quality Evaluation of Potato Harvesters”, the optimization constraint conditions are selected as follows:
max Y 1 ( x 1 , x 2 , x 3 ) min Y 2 ( x 1 , x 2 , x 3 ) s . t . 0.6 x 1 0.8 0.9 x 2 1.0 10.5 x 3 11.5
Under the condition of satisfying the agronomic conditions of potato single plant, the optimization results are as follows: when the forward speed is 0.648 m∙s−1, the ratio of conveying speed to forward speed is 0.98, and the speed of the rear-vibration device is 11.52 rad∙s−1, the rate of single plant integrity is 100% and the rate of injured potatoes is 0.616%.
According to the optimized parameters, the performance indexes of the potato breeding harvester and the traditional potato harvester are adjusted, and a comparative trial is carried out to verify. The parameters of the potato breeding harvester are selected for this trial. The parameters of both harvesters are the same: Forward speed is 0.65 m∙s−1, the ratio of conveying speed to forward speed is 0.98, and the rotational speed of the rear-vibration device is 11.52 rad∙s−1. The parameters of a traditional potato harvester are selected: Forward speed is 0.65 m∙s−1, the ratio of conveying speed to forward speed is 0.98, and the rotational speed of the rear-vibration device is 11.52 rad∙s−1. The other trial conditions are the same. The optimization results are shown in Table 9.
As can be seen from Table 9, the traditional potato harvester has a poor harvest effect on single plants, and the rate of single plant integrity is low. The individual experiment result of the single plant integrity rate is 0.00%, and the average single plant integrity rate is 16.86%, which is much smaller than the optimized single plant integrity rate of the potato breeding harvester and cannot meet the requirements of whole plant harvesting for breeding trials. The average injured potato rate of the optimized potato breeding harvester is reduced by 0.11%, and the rate of single plant integrity reaches 97.14%. From the perspective of the potato injury rate, potato breeding harvesters are also suitable for field potato harvesting.
In order to more visually demonstrate the superiority of the optimized potato breeding harvester, the comparative results of single plant integrity and injured potato rate of the two potato harvesters are plotted separately, as shown in Figure 15. The rate of single plant integrity of the third group is 85.7% (with blue frame), which is significantly different from that of the other four groups of potato breeding single harvesters during experimental validation. The reason for this phenomenon is speculated as follows: The state of potato single plant in the transport state is the second situation, and s 1 s 0 , which results in potato breaking away from the stolon, and according to the analysis of Equations (17)–(19), it is concluded ( s 2 s 32 ) 5 c m .

4. Conclusions

Combined with potato harvesting technology in the field, planting agronomy in breeding trials, and single plant harvesting requirements, the single plant harvester for potato breeding with an alternating arrangement of concave and straight units is designed. The digging device adopts the combined digging shovel; the shovel face inclination angle α is 25.7°, and the shovel body length L1 is 440 mm. The conveying and separating device adopts the “6 concave-2 straight” unit arrangement, and the fence spacing is 45 mm.
The analysis of force, motion, and collision energy shows that the potato rolls downward in the first stage when the front vibrating device is rotated from 35.5° to 84.5°. In the process of digging and conveying separation, reasonable forward speed, the ratio of forward speed to conveying speed, and the rotational speed of the rear-vibration device can ensure the integrity of the potato single plant, and single potato plants fall into the concave unit without mixing. When the forward speed, the ratio of forward speed to conveying speed, and the rear-vibration speed are large, the potatoes move away from the stolon but do not cross the fence, and the single plant is not mixed. In addition, the main factors affecting the rate of single plant integrity and potato injury rate are determined as follows: forward speed, the ratio of forward speed to conveying speed, and the rotational speed of the rear-vibration device.
A quadratic regression orthogonal rotating combination experiment is carried out on the single plant harvester for potato breeding. A regression model is established, which takes the rate of single plant integrity and the rate of injured potatoes as experiment indexes, the forward speed, the ratio of conveying speed to forward speed, and the rotational speed of the rear-vibration device as experiment factors. From the analysis of the response cloud diagram of the regression model, it is concluded that the ratio of conveying speed to forward speed is the main cause of transverse breakage of potato single plants, and the rotational speed and forward speed of the rear-vibration device are the main causes of the rate of injured potatoes. The experiment parameters of the potato single plant harvester are optimized and verified in the comparative experiment with the traditional potato harvester, and the result shows that: When the forward speed is 0.65 m∙s−1, the ratio of conveying speed to forward speed is 0.98, and the rotational speed of the rear-vibration device is 11.52 rad∙s−1, the average rate of single plant integrity of the potato breeding harvester is 97.14%, and the average rate of injured potatoes is 0.67%. Compared with the experimental results of traditional potato harvesters, the rate of injured potatoes is reduced by 0.14%. From the perspective of potato injured rate, potato breeding harvesters are also suitable for traditional potato harvesting.

Author Contributions

Conceptualization, W.W. and R.Y.; methodology, W.W.; software, W.W.; validation, W.W., X.G. and S.L.; formal analysis, W.W.; investigation, D.C.; resources, Z.P. and J.Z.; data curation, W.W. and Y.Q.; writing—original draft preparation, W.W.; writing—review and editing, R.Y., Y.Q., Z.P. and D.C.; visualization, Z.P.; supervision, R.Y.; project administration, R.Y. and J.Z.; funding acquisition, R.Y. and J.Z. All authors have read and agreed to the published version of the manuscript.

Funding

This research was funded by the support of the National Potato Industrial Technology System of PR China (CARS-09-P32) and Natural Science Foundation of Shandong Province (ZR2022MF306).

Institutional Review Board Statement

Not applicable.

Informed Consent Statement

Not applicable.

Data Availability Statement

The data presented in this study are available on demand from the first author at (wangweijing@stu.qau.edu.cn).

Acknowledgments

The authors are pleased to acknowledge Hongzhu Wu for his assistance in the production of the prototype.

Conflicts of Interest

The authors declare no conflicts of interest.

References

  1. Mushinsky, A.A.; Vorontsova, E.S.; Aminova, E.V.; Saudabaeva, A.Z. Assessment of breeding hybrid potatoes in irrigated conditions of the steppe zone of the Southern Urals. IOP Conf. Ser. Earth Environ. Sci. 2021, 659, 012099. [Google Scholar] [CrossRef]
  2. Jiang, W.; Diao, P.S.; Zhang, H. Current situation of potato production and mechanized harvest in China. Agric. Equip. Veh. Eng. 2021, 59, 18–22. [Google Scholar]
  3. Stemerding, D.; Beumer, K.; Edelenbosch, R.; Swart, J.A.; de Vries, M.E.; Ter Steeg, E.; Almekinders, C.J.; Lindhout, P.; van Dijk, L.C.; Struik, P.C. Responsible innovation in plant breeding: The case of hybrid potato breeding. Plants 2023, 12, 1751. [Google Scholar] [CrossRef] [PubMed]
  4. Wang, D.; Zhang, C.Z.; Lin, T.R.; Yin, Y.H.; Han, F.; Han, S.E.; Han, W.J.; Tan, G.L. Exploration of Potato Breeding Program. Agric. Dev. Equip. 2021, 147–148. [Google Scholar]
  5. Zhou, B.D.; Li, Y.X.; Zhang, C.; Cao, L.W.; Li, C.S.; Xie, S.Y.; Niu, Q. Potato planter and planting technology: A review of recent developments. Agriculture 2022, 12, 1600. [Google Scholar] [CrossRef]
  6. Bhawna, D.; Salej, S.; Rasna, D.; Vinay, B.; Vikas, M.; Ajay, T.K.; Vinod, K.; Pandey, N.K.; Abhishek, R.; Singh, A.K. Digitalization of potato breeding program: Improving data collection and management. Heliyon 2023, 9, e12974. [Google Scholar] [CrossRef]
  7. Buitenwerfeth, H. Assessment of the behavior of potatoes in a cup-belt planter. Biosyst. Eng. 2006, 95, 35–41. [Google Scholar] [CrossRef]
  8. Ding, S.Y.; Lin, S.Y.; Zhou, X.Q.; Fu, M.; Liu, C.B.; Qi, X.Y. Research status of potato harvester and current situation and countermeasures of potato harvesting mechanization in guizhou. China South. Agric. Mach. 2022, 53, 54–57. [Google Scholar]
  9. Gierz, Ł.; Marciniak, A.; Przybyl, K.; Koszela, K.; Duda, A.; Szychta, M. Analysis of the strength of an innovative design of an organic farming potato harvester. J. Phys. Conf. Ser. 2022, 2212, 012028. [Google Scholar] [CrossRef]
  10. Anna, G. The method for potato root system measurements. Acta Agrobot. 2013, 54, 161–170. [Google Scholar] [CrossRef]
  11. Yu, L. A Potato Tuber Harvesting Device with Harvesting Function. CN113906892A, 11 January 2022. [Google Scholar]
  12. Tian, Y. Study on Structural Characteristics of Potato Tuber-Root Model and Design of Reconstruction Algorithms; Shenyang Agricultural University: Shenyang, China, 2019. [Google Scholar] [CrossRef]
  13. Fan, Y. Research on Potato Digging Mechanism Based on Based on Discrete Element Method and Design of Bionic Shovel; Shenyang Agricultural University: Shenyang, China, 2020. [Google Scholar] [CrossRef]
  14. Alexey, D.; PAndrey; Vitaly, Z.; Sergei, P.; Alexander, A.; Alexey, S.; Nikolay, S.; Maria, G. The results of laboratory studies of the device for evaluation of suitability of potato tubers for mechanized harvesting. Appl. Sci. 2022, 12, 2171. [Google Scholar] [CrossRef]
  15. Farmon, M.; Bakhadir, M.; Akmal, K.; Tura, R.; Shavkat, A.; Golib, S. Potato digger with a digging workpart of the “Paraplaw” type. E3S Web Conf. 2023, 365, 04021. [Google Scholar] [CrossRef]
  16. Yang, R.B.; Yang, H.G.; Shang, S.Q.; Xu, P.X.; Cui, G.P.; Liu, L.H. Design and test of poking roller shoving type potato harvester. Trans. Chin. Soc. Agric. Mach. 2016, 47, 119–126. [Google Scholar]
  17. Lyu, J.Q.; Yang, X.H.; Lyu, Y.N.; Li, Z.C.; Du, C.L. Analysis and experiment of potato damage in process of lifting and separating potato excavator. Trans. Chin. Soc. Agric. Mach. 2020, 51, 103–113. [Google Scholar]
  18. Schneider, C. Project Aims to Develop New Potato Varities; Southwest Farm Press: Atlanta, GA, USA, 2020; Volume 37, pp. 175–184. [Google Scholar]
  19. Wang, H.Y. Mountain Self Propelled Potato Combine Harvester Design and Experiment; Kunming University of Technology: Kunming, China, 2021. [Google Scholar] [CrossRef]
  20. Lyu, B.; Lyu, Z.Q. Design on vibrating type peanut harvester. J. Agric. Mech. Res. 2012, 34, 111–114. [Google Scholar] [CrossRef]
  21. Zhang, C.C.; Ma, Z.; Wang, J.F.; Qiu, X.W.; Liu, J.C. Research on wear characteristics of plough shovel based on discrete element method. Mod. Agric. Equip. 2021, 42, 25–29. [Google Scholar]
  22. Iwata, H.; Yu, S.; Mizushima, S.; Yamamura, S. Design of a discrete element method parameter identification system for the efficient excavation of mining shovels based on excavation resistance analysis. Int. J. Mech. Eng. Robot. Res. 2022, 11, 304–310. [Google Scholar] [CrossRef]
  23. Wu, B.; Huang, T.C.; Qiu, X.X.; Zuo, T.L.; Wang, X.S.; Xie, F.P. Design and experimental study of potato-soil separation device for sticky soils condition. Appl. Sci. 2021, 11, 10959. [Google Scholar] [CrossRef]
  24. Wei, Z.C.; Li, H.W.; Su, G.L.; Sun, C.Z.; Liu, W.Z.; Li, X.Q. Design and experiment of potato harvester using double cushions for low laying separation technology. Trans. Chin. Soc. Agric. Mach. 2019, 50, 140–152. [Google Scholar]
  25. NY/T648-2015; Technical Specification for Quality Evaluation of Potato Harvesters. China Standards Press: Beijing, China, 2015.
  26. Xin, L.L.; Liang, J.H. Design of conveyor separation device for potato harvester and analysis of its vibration characteristics. J. Comput. Methods Sci. Eng. 2022, 22, 1385–1392. [Google Scholar] [CrossRef]
  27. Kang, W.S.; Wen, X.Z. Developing a small commercial vibrating potato digger (I)—Assessment of kinematic design parameters. Appl. Eng. Agric. 2005, 21, 807–811. [Google Scholar] [CrossRef]
  28. Wei, Z.C.; Wang, X.H.; Li, X.Q.; Wang, F.M.; Li, Z.H.; Jin, C.Q. Design and experiment of crawler self-propelled sorting type potato harvester. Trans. Chin. Soc. Agric. Mach. 2023, 54, 95–106. [Google Scholar]
  29. Amer, N.N.K.; Ahmad, D.; Akhir, M.D.; Ishak, A.; Sulaiman, S. Design and development of an integrated slasher (pulverizer) for sweet potato harvester: A Review. IOP Conf. Ser. Mater. Sci. Eng. 2012, 36, 012007. [Google Scholar] [CrossRef]
  30. Liu, G.Y. Experimental Study on Potato Motion Characteristics during Potato Soil Separation Process; Inner Mongolia Agricultural University: Hohhot, China, 2022. [Google Scholar] [CrossRef]
  31. Yong, Y.S.; Hua, L.Y.; Jing, X.J. Parametric modeling and moving simulation of vibrating screen and tubers on potato harvester. Appl. Mech. Mater. 2012, 1935, 627–632. [Google Scholar] [CrossRef]
Figure 1. Agronomic map of potato planting in breeding trials.
Figure 1. Agronomic map of potato planting in breeding trials.
Agriculture 14 00071 g001
Figure 2. Structure of potato single plant. (a) Potato plant root system structure; (b) schematic diagram of each node position of potato–stem–root.
Figure 2. Structure of potato single plant. (a) Potato plant root system structure; (b) schematic diagram of each node position of potato–stem–root.
Agriculture 14 00071 g002
Figure 3. Stolon tension experiment.
Figure 3. Stolon tension experiment.
Agriculture 14 00071 g003
Figure 4. Structure of potato single plant. (a) Overall structure; (b) transmission principle. 1. Hanging device; 2. Grass cutting disc; 3. Digging device; 4. Frame side plate; 5. Conveying and separating device of concave straight unit alternating arrangement; 6. Reinforcing shaft; 7. Vibration device; 8. Frame extension plate; 9. Rear driving device; 10. Zhongyi BM3Y-160 hydraulic motor; 11. Chain box; 12. Ground support; 13. Suspension fixer; 14. Hydraulic tubing; 15. Support before cutting grass tray; 16. Hydraulic velocity-regulating valve; 17. Pull rod; 18. Oil tank; 19. Filter; 20. Hydraulic pump; 21. Hydraulic speed control valve; 22. Hydraulic motor; 23. Drive unit; 24. Rear-vibration device; 25. Front vibration device; 26. Power input shaft; 27. Sprocket; 28. Tractor engine.
Figure 4. Structure of potato single plant. (a) Overall structure; (b) transmission principle. 1. Hanging device; 2. Grass cutting disc; 3. Digging device; 4. Frame side plate; 5. Conveying and separating device of concave straight unit alternating arrangement; 6. Reinforcing shaft; 7. Vibration device; 8. Frame extension plate; 9. Rear driving device; 10. Zhongyi BM3Y-160 hydraulic motor; 11. Chain box; 12. Ground support; 13. Suspension fixer; 14. Hydraulic tubing; 15. Support before cutting grass tray; 16. Hydraulic velocity-regulating valve; 17. Pull rod; 18. Oil tank; 19. Filter; 20. Hydraulic pump; 21. Hydraulic speed control valve; 22. Hydraulic motor; 23. Drive unit; 24. Rear-vibration device; 25. Front vibration device; 26. Power input shaft; 27. Sprocket; 28. Tractor engine.
Agriculture 14 00071 g004
Figure 5. Structure of digging device. (a) Position structure of excavation device; (b) digging shovel main view. 1. Shovel connecting side plate; 2. Seamless steel pipe; 3. Shovel tube; 4. Shovel transition plate; 5. Transition plate welding support; 6. Transition plate tube sleeve; 7. Excavation shovel; 8. Through shaft seat; 9. Excavation shovel fixed plate; 10. Grass-cutting disc. Note: γ is the angle of the blade.
Figure 5. Structure of digging device. (a) Position structure of excavation device; (b) digging shovel main view. 1. Shovel connecting side plate; 2. Seamless steel pipe; 3. Shovel tube; 4. Shovel transition plate; 5. Transition plate welding support; 6. Transition plate tube sleeve; 7. Excavation shovel; 8. Through shaft seat; 9. Excavation shovel fixed plate; 10. Grass-cutting disc. Note: γ is the angle of the blade.
Agriculture 14 00071 g005
Figure 6. Force analysis of potato single plant on shovel.
Figure 6. Force analysis of potato single plant on shovel.
Agriculture 14 00071 g006
Figure 7. Structure of alternately arranged conveying device with concave and straight units. 1. Front driven wheel; 2. Auxiliary wheel; 3. Straight fence; 4. Vibration unit; 5. Riding wheel; 6. Concave fence; 7. Conveying belt; 8. Rear drive unit.
Figure 7. Structure of alternately arranged conveying device with concave and straight units. 1. Front driven wheel; 2. Auxiliary wheel; 3. Straight fence; 4. Vibration unit; 5. Riding wheel; 6. Concave fence; 7. Conveying belt; 8. Rear drive unit.
Agriculture 14 00071 g007
Figure 8. Movement analysis of potato single plant digging transition state.
Figure 8. Movement analysis of potato single plant digging transition state.
Agriculture 14 00071 g008
Figure 9. Transport movement analysis of potato plant. (a) State 1 of transport movement analysis of potato plant; (b) state 2 of transport movement analysis of potato plant.
Figure 9. Transport movement analysis of potato plant. (a) State 1 of transport movement analysis of potato plant; (b) state 2 of transport movement analysis of potato plant.
Agriculture 14 00071 g009
Figure 10. Field experiment.
Figure 10. Field experiment.
Agriculture 14 00071 g010
Figure 11. Harvest effect display. (a) The effect of single-row harvester; (b) the effect of whole-plant harvester.
Figure 11. Harvest effect display. (a) The effect of single-row harvester; (b) the effect of whole-plant harvester.
Agriculture 14 00071 g011
Figure 12. Interaction between forward speed and conveying speed to forward speed ratio. (a) Interaction between forward speed and conveying speed to forward speed ratio on y1; (b) interaction between forward speed and conveying speed to forward speed ratio on y2.
Figure 12. Interaction between forward speed and conveying speed to forward speed ratio. (a) Interaction between forward speed and conveying speed to forward speed ratio on y1; (b) interaction between forward speed and conveying speed to forward speed ratio on y2.
Agriculture 14 00071 g012
Figure 13. Interaction between forward speed and rotational speed of rear-vibration device. (a) Interaction between forward speed and rotational speed of rear-vibration device on y1; (b) interaction between forward speed and rotational speed of rear-vibration device on y2.
Figure 13. Interaction between forward speed and rotational speed of rear-vibration device. (a) Interaction between forward speed and rotational speed of rear-vibration device on y1; (b) interaction between forward speed and rotational speed of rear-vibration device on y2.
Agriculture 14 00071 g013
Figure 14. Interaction between conveying speed and conveying speed to forward speed ratio on y1. (a) Interaction between conveying speed and conveying speed to forward speed ratio on y1; (b) interaction between conveying speed and conveying speed to forward speed ratio on y2.
Figure 14. Interaction between conveying speed and conveying speed to forward speed ratio on y1. (a) Interaction between conveying speed and conveying speed to forward speed ratio on y1; (b) interaction between conveying speed and conveying speed to forward speed ratio on y2.
Agriculture 14 00071 g014
Figure 15. Comparative analysis chart. (a) Comparative analysis chart of the rate of single plant integrity; (b) comparative analysis chart of the rate of injured potatoes.
Figure 15. Comparative analysis chart. (a) Comparative analysis chart of the rate of single plant integrity; (b) comparative analysis chart of the rate of injured potatoes.
Agriculture 14 00071 g015
Table 1. Potato physical characteristics parameters table.
Table 1. Potato physical characteristics parameters table.
ProgramParameters of “Holland 15”Parameters of “Kexin 1”
Average growth width D/(mm)221 to 307220 to 300
Average potato mass m/(g)231.49288.13
Average potato length L/(mm)96.47110.0
Average potato width W/(mm)67.5190.21
Average potato thickness T/(mm)42.1665.62
Average growth height h/(mm)150 to 270150 to 270
Table 2. Corresponding table of rotation angle of front vibration device and inclination angle of each stage of conveying and separating device.
Table 2. Corresponding table of rotation angle of front vibration device and inclination angle of each stage of conveying and separating device.
Stateξxεxκx
State1 arctan 3 b + 3 l cos ( π 3 x π 180 ) 3 a arctan 3 l [ cos ( π 3 x π 180 ) cos ( π 3 0.71 x π 180 ) ] + 3 d 3 c arctan 3 f + 3 l cos ( π 3 0.71 x 180 ) 3 e
State2 arctan b + l sin [ 2 π 3 x π 180 ] 3 3 l cos x π 180 a arctan d + l sin [ 2 π 3 x ° x π 180 ] 3 3 l [ cos x π 180 cos ( π 3 0.71 x π 180 ) ] c arctan 3 f + 3 l cos ( π 3 0.71 x π 180 ) 3 e
State3 arctan b + l sin ( 2 π 3 x π 180 ) 3 3 l cos x π 180 a arctan d + l [ sin ( 2 π 3 x π 180 ) sin ( 2 π 3 0.71 x π 180 ) ] 3 3 l ( cos x π 180 cos 0.71 x π 180 ) c arctan f + l sin ( 2 π 3 0.71 x π 180 ) 3 3 cos 0.71 x π 180 e
Table 3. Performance parameters of potato breeding harvester.
Table 3. Performance parameters of potato breeding harvester.
ProgramParameter
Overall dimension (length × width × height) (mm)3680 × 1550 × 1200
Auxiliary power (kW)29.42 to 44.13
Operating width (mm)800
Operating speed (km/h)1.5 to 6.82
Operating hour productivity (hm2)0.2 to 0.3
Excavation depth (mm)0 to 260
Harvesting plant spacing (mm)250 to 350
Table 4. Factor level code.
Table 4. Factor level code.
Code (xj)Forward Speed
Z1 (m∙s−1)
The Ratio of Speed
Z2 (m∙s−1)
The Rotational Speed of Rear-Vibration Device
Z3 (rad∙s−1)
1.6820.91.215.5
10.821.1214.48
00.71.013
−10.580.8811.52
−1.6820.50.810.5
Table 5. Experiment program and results by quadratic regression orthogonal combination design.
Table 5. Experiment program and results by quadratic regression orthogonal combination design.
Serial Numberz1z2z3y1y2
10.821.1214.4878.55%1.32%
20.821.1211.5282.14%0.83%
30.820.8814.4885.3%1.21%
40.820.8811.52100%0.82%
50.581.1214.4886.2%0.92%
60.581.1211.5294.32%0.74%
70.580.8814.4890.48%0.87%
80.580.8811.5298.6%0.63%
90.51.013.0100%0.64%
100.91.013.086.7%1.13%
110.70.813.087.4%0.83%
120.71.213.075.93%1.1%
130.71.010.5100%0.58%
140.71.015.584.37%1.18%
150.71.013.0100%0.69%
160.71.013.0100%0.71%
170.71.013.0100%0.77%
180.71.013.0100%0.69%
190.71.013.0100%0.71%
200.71.013.095.4%0.78%
210.71.013.097.64%0.76%
220.71.013.0100%0.74%
230.71.013.0100%0.9%
Table 6. Variance analysis of the single plant integrity rate.
Table 6. Variance analysis of the single plant integrity rate.
SourceSum of SquaresDegree of FreedomMean SquareFp
Mode1379.779153.3143.85<0.0001
x1154.791154.7944.27<0.0001 **
x2201.521201.5257.64<0.0001 **
x3270.831270.8377.46<0.0001 **
x1x232.20132.209.210.0096 **
x1x30.525310.52530.15020.7046
x2x315.43115.434.410.0557
x1255.60155.6015.900.0015 **
x22572.391572.39163.71<0.0001 **
x3282.79182.7923.680.0003 **
Residual45.45133.50//
Lack of fit24.1154.821.810.2178
Pure error21.3582.67//
Sum1425.2222///
** indicates highly significant difference (p < 0.01), / indicates that no value was obtained, same as below.
Table 7. Variance analysis of the potato injury rate.
Table 7. Variance analysis of the potato injury rate.
SourceSum of SquaresDegree of FreedomMean SquareFp
Mode0.862990.095926.90<0.0001
x10.249010.249069.86<0.0001 **
x20.039510.039511.070.0055 **
x30.390410.3904109.53<0.0001 **
x1x20.000210.00020.05610.8164
x1x30.026510.02657.420.0174 *
x2x30.000210.00020.05610.8164
x120.035510.03559.960.0076 **
x220.090710.090725.450.0002 **
x320.032910.03299.230.0095 **
Residual0.0463130.0036//
Lack of fit0.011950.00240.55520.7321
Pure error0.034480.0043//
Sum0.909222///
** indicates highly significant difference (p < 0.01), * indicates significant difference (0.01 < p < 0.05), / indicates that no value was obtained, same as below.
Table 8. Significance analysis of regression coefficient on the experiment result.
Table 8. Significance analysis of regression coefficient on the experiment result.
Inspection Itemsy1y2
R0.98390.9742
R20.96810.9490
Adj R20.94600.9138
Table 9. Optimization results.
Table 9. Optimization results.
Number of ExperimentsTraditional Potato HarvesterPotato Breeding Harvester
y1
(mm)
y2
(mm)
y1
(mm)
y2
(mm)
120.00%0.90%100%0.64%
233.33%0.81%100%0.71%
316.67%0.66%85.7%0.68%
40.00%%0.83%100%0.72%
514.29%0.7%100%0.61%
Average value16.86%0.78%97.14%0.67%
Disclaimer/Publisher’s Note: The statements, opinions and data contained in all publications are solely those of the individual author(s) and contributor(s) and not of MDPI and/or the editor(s). MDPI and/or the editor(s) disclaim responsibility for any injury to people or property resulting from any ideas, methods, instructions or products referred to in the content.

Share and Cite

MDPI and ACS Style

Wang, W.; Yang, R.; Pan, Z.; Qing, Y.; Zhang, J.; Chen, D.; Guo, X.; Lyu, S. Design and Experimental Study of Single Plant Harvester for Potato Breeding Experiments. Agriculture 2024, 14, 71. https://doi.org/10.3390/agriculture14010071

AMA Style

Wang W, Yang R, Pan Z, Qing Y, Zhang J, Chen D, Guo X, Lyu S. Design and Experimental Study of Single Plant Harvester for Potato Breeding Experiments. Agriculture. 2024; 14(1):71. https://doi.org/10.3390/agriculture14010071

Chicago/Turabian Style

Wang, Weijing, Ranbing Yang, Zhiguo Pan, Yiren Qing, Jian Zhang, Dongquan Chen, Xinyu Guo, and Shiting Lyu. 2024. "Design and Experimental Study of Single Plant Harvester for Potato Breeding Experiments" Agriculture 14, no. 1: 71. https://doi.org/10.3390/agriculture14010071

APA Style

Wang, W., Yang, R., Pan, Z., Qing, Y., Zhang, J., Chen, D., Guo, X., & Lyu, S. (2024). Design and Experimental Study of Single Plant Harvester for Potato Breeding Experiments. Agriculture, 14(1), 71. https://doi.org/10.3390/agriculture14010071

Note that from the first issue of 2016, this journal uses article numbers instead of page numbers. See further details here.

Article Metrics

Back to TopTop