Tracked Wall-Climbing Robot for Calibration of Large Vertical Metal Tanks
Abstract
:Featured Application
Abstract
1. Introduction
- This method requires 2–3 persons to spend more than 2 h to perform the task, and one of them has to install the pulleys at the top of the tanks (more than 20 m in the large tanks) which poses a significant risk to the operator.
- At least one operator is required to pull the rope to lift the trolley and maintain its balance manually. As there could be as many as 200 measuring stations, it could lead to operator fatigue.
- When the trolley is moving vertically to reach the measuring stations, its location can only be confirmed visually, which results in deviations at large elevation angles.
2. Design of Tracked Wall-climbing Robot (TWCR)
2.1. System Overview
- A scale shall be equipped for the ORLM.
- A wired remote control shall be used to control the vertical mobile speed of the robot and minor displacements of the scale. The former gets the robot close to the target location, and the latter allows precise adjustment of the position of the scale.
- The linear motion deviation shall be less than 1°50′ from the perpendicular to guarantee that the scale is visible by the optical device during the calibration of a single horizontal station.
- The magnetic force shall be sufficiently strong to ensure the safe adhesion and the stability of operation. The gravity of the cables shall be taken into consideration. The robot also needs an extra payload capacity of 1 kg, which allows the operator to install additional equipment, such as probes and monitors, if required.
- The robot shall be well adapted to poor surface conditions of tanks.
- This robot shall be at an advantage in terms of its small size and lightweight, which means it is portable and able to maneuver through any narrow spaces.
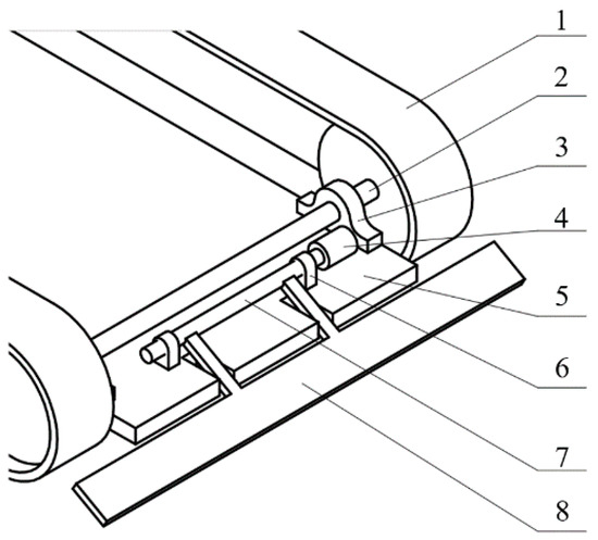
2.2. Design of Permanent Magnetic Adhesion and Tracked Locomotion Mechanism
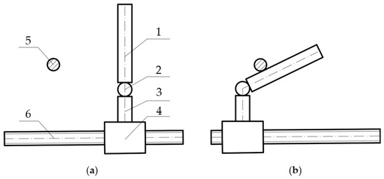
2.3. Design of Driving, Transmission, and Steering Mechanism
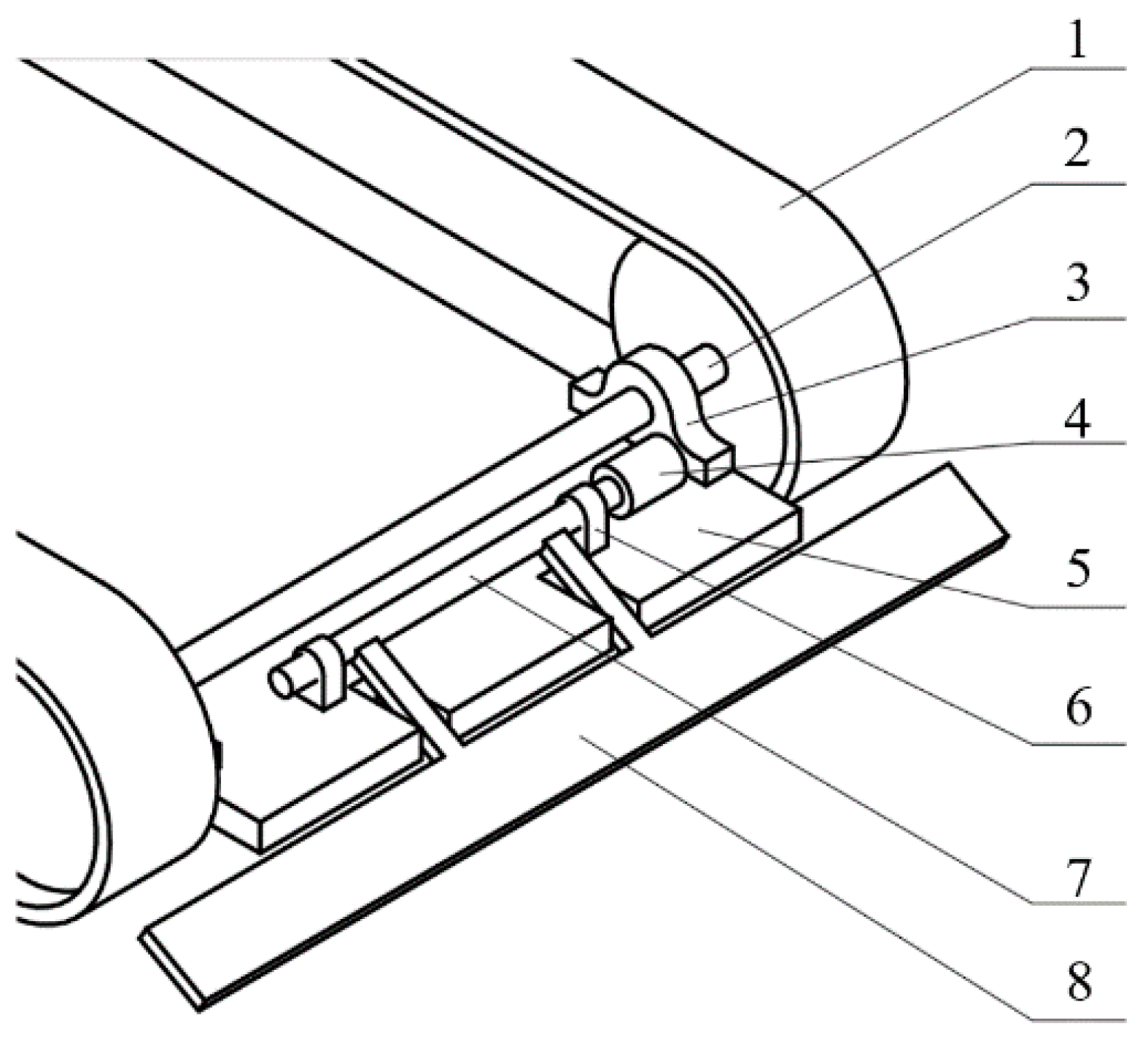
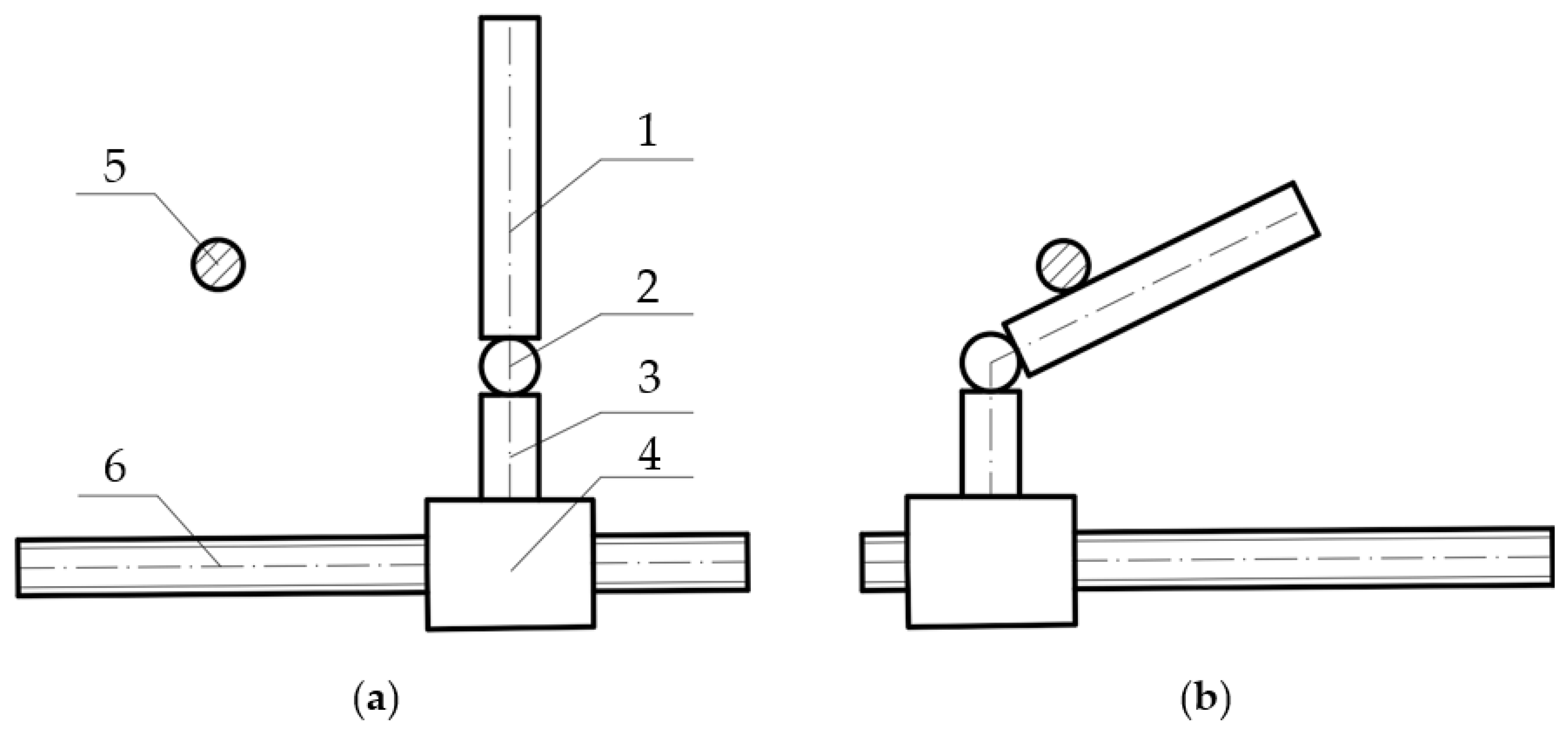
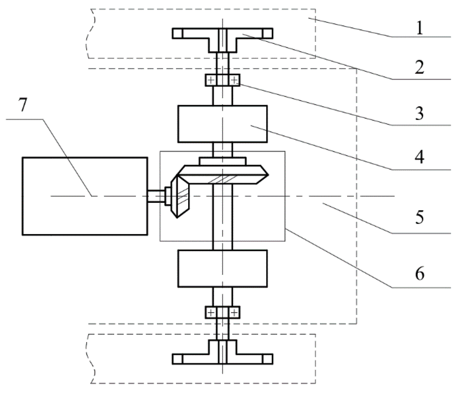
2.4. Design of Capacity Calibration System
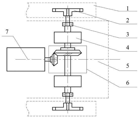
2.5. Control System
3. Prototype and Field Tests
3.1. Prototype
3.2. Internal Measurement Test
3.3. External Measurement Test
3.4. Results
4. Conclusions
Author Contributions
Funding
Acknowledgments
Conflicts of Interest
References
- Guan, W.; Tao, Y.; Cheng, H.; Ma, C.; Guo, P. Present Status of Inspection Technology and Standards for Large−Sized In−Service Vertical Storage Tanks. In Proceedings of the ASME 2011 Pressure Vessels & Piping Division Conference, Baltimore, MD, USA, 17–21 July 2011; pp. 1–6. [Google Scholar]
- China Minister of Transport of 2018 Statistical Bulletin of the Development of the Transportation Industry. Available online: http://xxgk.mot.gov.cn/jigou/zhghs/201904/t20190412_3186720.html (accessed on 29 June 2019).
- Yi, Z.; Gong, Y.; Wang, Z.; Wang, X. Development of a Wall Climbing Robot for Ship Rust Removal. In Proceedings of the International Conference on Mechatronics and Automation, Changchun, China, 9–12 August 2009; pp. 4610–4615. [Google Scholar]
- Wu, M.; Pan, G.; Zhang, T.; Chen, S.; Zhuang, F.; Yan-Zheng, Z. Design and optimal research of a non-contact adjustable magnetic adhesion mechanism for a wall-climbing welding robot. Int. J. Adv. Robot. Syst. 2013, 10, 63. [Google Scholar] [CrossRef]
- Gui, Z.C.; Sun, C.Q.; Zhang, Z.; Kang, W.L. Optimization of Permanent-Magnetic Adhesion Device for Wall-Climbing Robot. Trans. China Electrotech. Soc. 2006, 1121, 1–7. [Google Scholar]
- Lee, W.; Hirai, M.; Hirose, S. Gunryu III: Reconfigurable magnetic wall-climbing robot for decommissioning of nuclear reactor. Adv. Robot. 2013, 27, 1099–1111. [Google Scholar] [CrossRef]
- Huang, H.; Li, D.; Xue, Z.; Chen, X.L.; Liu, S.; Leng, J.; Wei, Y. Design and performance analysis of a tracked wall-climbing robot for ship inspection in shipbuilding. Ocean. Eng. 2017, 131, 224–230. [Google Scholar] [CrossRef]
- Sun, D.; Zhu, J.; Lai, C.; Tso, S.K. A visual sensing application to a climbing cleaning robot on the glass surface. Mechatronics 2004, 14, 1089–1104. [Google Scholar] [CrossRef]
- Akinfiev, T.; Armada, M.; Nabulsi, S. Climbing cleaning robot for vertical surfaces. Ind. Robot Int. J. 2009, 36, 352–357. [Google Scholar] [CrossRef]
- Liu, Y.; Sun, S.; Wu, X.; Mei, T. A Wheeled Wall-Climbing Robot with Bio-Inspired Spine Mechanisms. J. Bionic Eng. 2015, 12, 17–28. [Google Scholar] [CrossRef]
- Miller, B.D.; Rivera, P.R.; Dickson, J.D.; Clark, J.E. Running up a wall: The role and challenges of dynamic climbing in enhancing multi-modal legged systems. Bioinspiration Biomim. 2015, 10, 1–16. [Google Scholar] [CrossRef] [PubMed]
- Daltorio, K.A.; Wei, T.E.; Horchler, A.D.; Southard, L.; Wile, G.D.; Quinn, R.D.; Gorb, S.N.; Ritzmann, R.E. Mini-whegsTM climbs steep surfaces using insect-inspired attachment mechanisms. Int. J. Rob. Res. 2009, 28, 285–302. [Google Scholar] [CrossRef]
- Osswald, M.; Iida, F. Design and control of a climbing robot based on hot melt adhesion. Rob. Auton. Syst. 2013, 61, 616–625. [Google Scholar] [CrossRef]
- Koh, K.H.; Sreekumar, M.; Ponnambalam, S.G. Hybrid electrostatic and elastomer adhesion mechanism for wall climbing robot. Mechatronics 2016, 35, 122–135. [Google Scholar] [CrossRef]
- Lynch, G.A.; Clark, J.E.; Lin, P.C.; Koditschek, D.E. A bioinspired dynamical vertical climbing robot. Int. J. Rob. Res. 2012, 31, 974–996. [Google Scholar] [CrossRef]
- He, B.; Wang, Z.; Li, M.; Wang, K.; Shen, R.; Hu, S. Wet adhesion inspired bionic climbing robot. IEEE/ASME Trans. Mechatron. 2014, 19, 312–320. [Google Scholar] [CrossRef]
- Kim, T.; Jeon, Y.; Yoo, S.; Kim, K.; Kim, H.S.; Kim, J. Development of a wall-climbing platform with modularized wall-cleaning units. Autom. Constr. 2017, 83, 1–18. [Google Scholar] [CrossRef]
- Shang, J.; Sattar, T.; Chen, S.; Bridge, B. Design of a climbing robot for inspecting aircraft wings and fuselage. Ind. Robot. Int. J. 2007, 34, 495–502. [Google Scholar] [CrossRef]
- Seriani, S.; Scalera, L.; Caruso, M.; Gasparetto, A.; Gallina, P. Upside-Down Robots: Modeling and Experimental Validation of Magnetic-Adhesion Mobile Systems. Robotics 2019, 8, 41. [Google Scholar] [CrossRef]
- Wang, Z.; Zhang, K.; Chen, Y.; Luo, Z.; Zheng, J. A real-time weld line detection for derusting wall-climbing robot using dual cameras. J. Manuf. Process. 2017, 27, 76–86. [Google Scholar] [CrossRef]
- Gui, Z.; Deng, Y.; Sheng, Z.; Xiao, T.; Li, Y.; Zhang, F.; Dong, N.; Wu, J. Design and experimental verification of an intelligent wall-climbing welding robot system. Ind. Robot. An. Int. J. 2014, 41, 500–507. [Google Scholar] [CrossRef]
- Zhang, L.; Tong, S.; Fu, G.; Luo, X. Design on a wall-climbing robot for test of large-capacity tank volume. In Proceedings of the 2010 International Conference on Digital Manufacturing & Automation, Changsha, China, 18–20 December 2010; pp. 510–513. [Google Scholar]
- Xu, Z.; Ma, P. A wall-climbing robot for labelling scale of oil tank’s volume. Robotica 2002, 20, 209–212. [Google Scholar] [CrossRef]
- Yi, Z.; Gong, Y.; Wang, Z.; Wang, X. Wall-attachment model and its simulation on a new wall-climbing robot for rust removal. J. Sichuan Univ. Eng. Sci. Ed. 2011, 43, 211–216. [Google Scholar]
















| Method | Advantage | Disadvantage | References |
|---|---|---|---|
| Liquid Fill Method | Direct and very accurate | Time-consuming excessively | JJG 168-2005 |
| Strapping Method | Accurate | Scaffolds is needed, lots of aerial work | API 2.2A |
| Optical Reference Line Method (ORLM) | Accurate, easy to operate relatively, low requirements for equipment | A small amount of aerial work | API 2.2B |
| Electro Optical Distance Ranging Method (EODR) | Automated, fewer operators are needed | Not suitable for rusty surface, increased ranging error with an increase of the measuring elevation angle. | API 2.2D |
| Type | Payload Capacity | Limitation | References |
|---|---|---|---|
| Magnetic | High | Ferromagnetic surfaces only | [3,4,5,6,7] |
| Suction and Propulsion | High | Not suitable for rough surfaces | [8,9] |
| Mechanical Grasping | High | Not suitable for smooth and flat surfaces | [10,11] |
| Chemical Adhesion | Low | Vulnerable to dust | [12] |
| Thermoplastic Adhesion | Low | Slow state-changing process, trace left | [13] |
| Electrostatic Adhesion | Low | Low robustness | [14] |
| Type | Payload Capacity | Speed | Limitation | References |
|---|---|---|---|---|
| Arms and Legs | Medium | Slow | Complex mechanism | [15,16] |
| Wheels | Medium | Fast | Small contact face | [4,5,6] |
| Tracks | High | Fast | Low steering capacity | [3,7] |
| Wires and Rails | High | Fast | Wires or rails needed | [17] |
| Sliding Frame | High | Medium | Discontinuous locomotion | [18] |
| Sandwich | High | Fast | Two carts needed to climb the nonferromagnetic surface | [19] |
| Length of Air Gap /mm | 0 | 0.5 | 1.0 | 2.0 | 3.0 | 4.0 | 5.0 |
|---|---|---|---|---|---|---|---|
| Adhesion force /N | 244.1 | 150.2 | 80.6 | 43.5 | 29.6 | 20.2 | 18 |
| Ring Number | Radial Deviation with Trolley (mm) | Radial Deviation with TWCR (mm) | Difference (mm) |
|---|---|---|---|
| 1 | 5.4 | 5.4 | 0.0 |
| 2 | 1.3 | 1.3 | 0.0 |
| 3 | 0.0 | 0.0 | 0.0 |
| 4 | −2.2 | −1.1 | −1.1 |
| 5 | −1.1 | −0.2 | −0.9 |
| 6 | −1.5 | 0.3 | −1.8 |
| 7 | 0.0 | 1.1 | −1.1 |
| 8 | 0.2 | 1.6 | −1.4 |
| 9 | 1.0 | 2.7 | −1.7 |
| 10 | 2.0 | 3.8 | −1.8 |
| Ring Number | Radial Deviation with Trolley (mm) | Radial Deviation with TWCR (mm) | Difference (mm) |
|---|---|---|---|
| 1 | 0.0 | 0.0 | 0 |
| 2 | −0.7 | −0.2 | −0.5 |
| 3 | −1.8 | −1.2 | −0.6 |
| 4 | −4.3 | −3.8 | −0.5 |
| 5 | −10.1 | −9.2 | −0.9 |
| 6 | −7.5 | −6.3 | −1.2 |
| 7 | −2.7 | −2.0 | −0.7 |
| 8 | 1.8 | 0.9 | 0.9 |
| 9 | 15.5 | 14.2 | 1.3 |
| Number | Height (m) | Volume (m3) | ||
|---|---|---|---|---|
| Data Acquired by Trolley y1 | Data Acquired by TWCR y2 | |||
| 1 | 2 | 5339.643 | 5339.643 | 0 |
| 2 | 3 | 8169.737 | 8169.663 | 0.009 × 10−3 |
| 3 | 4 | 11,000.019 | 10,999.851 | 0.015 × 10−3 |
| 4 | 5 | 13,830.800 | 13,830.526 | 0.020 × 10−3 |
| 5 | 6 | 16,662.043 | 16,661.656 | 0.023 × 10−3 |
| 6 | 7 | 19,493.592 | 19,493.098 | 0.025 × 10−3 |
| 7 | 8 | 22,326.061 | 22,325.473 | 0.026 × 10−3 |
| 8 | 9 | 25,158.531 | 25,157.848 | 0.027 × 10−3 |
| 9 | 10 | 27,992.441 | 27,991.590 | 0.030 × 10−3 |
| 10 | 11 | 30,826.383 | 30,825.361 | 0.033 × 10−3 |
| 11 | 12 | 33,660.512 | 33,659.281 | 0.037 × 10−3 |
| 12 | 13 | 36,494.719 | 36,493.258 | 0.040 × 10−3 |
| 13 | 14 | 39,328.691 | 39,327.051 | 0.042 × 10−3 |
| 14 | 15 | 42,162.371 | 42,160.594 | 0.042 × 10−3 |
| 15 | 16 | 44,995.902 | 44,994.047 | 0.041 × 10−3 |
| 16 | 17 | 47,828.730 | 47,827.043 | 0.035 × 10−3 |
| 17 | 18 | 50,661.559 | 50,660.043 | 0.030 × 10−3 |
| 18 | 19 | 53,492.402 | 53,491.121 | 0.024 × 10−3 |
© 2019 by the authors. Licensee MDPI, Basel, Switzerland. This article is an open access article distributed under the terms and conditions of the Creative Commons Attribution (CC BY) license (http://creativecommons.org/licenses/by/4.0/).
Share and Cite
Chen, X.; Wu, Y.; Hao, H.; Shi, H.; Huang, H. Tracked Wall-Climbing Robot for Calibration of Large Vertical Metal Tanks. Appl. Sci. 2019, 9, 2671. https://doi.org/10.3390/app9132671
Chen X, Wu Y, Hao H, Shi H, Huang H. Tracked Wall-Climbing Robot for Calibration of Large Vertical Metal Tanks. Applied Sciences. 2019; 9(13):2671. https://doi.org/10.3390/app9132671
Chicago/Turabian StyleChen, Xianlei, Yiping Wu, Huadong Hao, Haolei Shi, and Haocai Huang. 2019. "Tracked Wall-Climbing Robot for Calibration of Large Vertical Metal Tanks" Applied Sciences 9, no. 13: 2671. https://doi.org/10.3390/app9132671
APA StyleChen, X., Wu, Y., Hao, H., Shi, H., & Huang, H. (2019). Tracked Wall-Climbing Robot for Calibration of Large Vertical Metal Tanks. Applied Sciences, 9(13), 2671. https://doi.org/10.3390/app9132671

