Numerical and Experimental Investigations of a Micromixer with Chicane Mixing Geometry
Abstract
1. Introduction
2. Materials and Methods
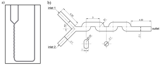
2.1. Micromixer Description
2.2. Experimental Setup and Post Processing
2.3. Numerical Simulation
- Residuals RMS are less than 1 × 10−6;
- Domain imbalances are less than 0.1%.
3. Results and Discussion
3.1. Flow Behavior in the Micromixer
3.2. Mixing Index
3.3. Pressure Drop
3.4. Verification
4. Conclusions
Author Contributions
Funding
Acknowledgments
Conflicts of Interest
Appendix A
| Parameter | Fine Grid | Normal Grid | Coarse Grid |
|---|---|---|---|
| Total number of Cells | 23.2 × 106 | 9.6 × 106 | 4.0 × 106 |
| Representative Grid Size | 8.29 × 10−6 | 11.06 × 10−6 | 14.76 × 10−6 |
| Mixing Index | 0.15 | 0.18 | 0.21 |
| Grid refinement Factor | 1.33 | 1.34 | - |
| Apparent Order | 0.97 | - | - |
| Extrapolated Value | 0.08 | - | - |
| Error Estimate | 0.14 | - | - |
| Extrapolated Relative Error | 0.82 | - | - |
| Fine-grid Convergence Index | 0.56 | - | - |
References
- Reschetilowski, W. (Ed.) Principles of microprocess technology. In Microreactors in Preparative Chemistry: Practical Aspects in Bioprocessing, Nanotechnology, Catalysis and More; Wiley-VCH: Weinheim, Germany, 2013; pp. 1–12. ISBN 978-3-527-33282-3. [Google Scholar]
- Dencic, I.; Hessel, V. Industrial Microreactor Process Development up to Production. In Microreactors in Organic Synthesis and Catalysis, 2nd ed.; Wirth, T., Ed.; Wiley-VCH: Weinheim, Germany, 2013; pp. 211–275. ISBN 978-3-527-33299-1. [Google Scholar]
- Nguyen, N. (Ed.) Micromixers based on chaotic advection. In Micromixers: Fundamentals, Design and Fabrication, 2nd ed.; William Andrew: Oxford, UK, 2012; pp. 195–236. ISBN 978-1-4377-3520-8. [Google Scholar]
- Capretto, L.; Cheng, W.; Hill, M.; Zhang, X. Micromixing Within Microfluidic Devices. Microfluid. Technol. Appl. 2011, 304, 27–68. [Google Scholar] [CrossRef]
- Kumar, V.; Paraschivoiu, M.; Nigam, K.D.P. Single-phase fluid flow and mixing in microchannels. Chem. Eng. Sci. 2011, 66, 1329–1373. [Google Scholar] [CrossRef]
- Pagliara, S.; Dettmer, S.L.; Keyser, U.F. Channel-facilitated diffusion boosted by particle binding at the channel entrance. Phys. Rev. Lett. 2014, 113, 048102. [Google Scholar] [CrossRef] [PubMed]
- Soleymani, A.; Kolehmainen, E.; Turunen, I. Numerical and experimental investigations of liquid mixing in T-type micromixers. Chem. Eng. J. 2008, 135, 219–228. [Google Scholar] [CrossRef]
- Löb, P.; Drese, K.S.; Hessel, V.; Hardt, S.; Hofmann, C.; Löwe, H.; Schenk, R.; Schönfeld, F.; Werner, B. Steering of Liquid Mixing Speed in Interdigital Micro Mixers—From Very Fast to Deliberately Slow Mixing. Chem. Eng. Technol. 2004, 27, 340–345. [Google Scholar] [CrossRef]
- Schonfeld, F.; Hessel, V.; Hofmann, C. An optimised split-and-recombine micro-mixer with uniform chaotic mixing. Lab Chip 2004, 4, 65–69. [Google Scholar] [CrossRef] [PubMed]
- Zhang, Z.; Zhao, P.; Xiao, G.; Lin, M.; Cao, X. Focusing-enhanced mixing in microfluidic channels. Biomicrofluidics 2008, 2, 14101. [Google Scholar] [CrossRef]
- Sudarsan, A.P.; Ugaz, V.M. Multivortex micromixing. Proc. Natl. Acad. Sci. USA 2006, 103, 7228–7233. [Google Scholar] [CrossRef]
- Bothe, D.; Sternich, C.; Warnecke, H.J. Fluid mixing in a T-shaped micro-mixer. Chem. Eng. Sci. 2006, 61, 2950–2958. [Google Scholar] [CrossRef]
- Dean, W.R. Note on the motion of fluid in curved pipes. Philos. Mag. Ser. 1927, 7, 208–223. [Google Scholar] [CrossRef]
- Dean, W.R. The streamline motion of fluid in a curved pipe. Philos. Mag. Ser. 1928, 7, 673–695. [Google Scholar] [CrossRef]
- Krupa, K.; Nunes, M.I.; Santos, R.J.; Bourne, J.R. Characterization of micromixing in T-jet mixers. Chem. Eng. Sci. 2014, 111, 48–55. [Google Scholar] [CrossRef]
- Gobby, D.; Angeli, P.; Gavriilidis, A. Mixing characteristics of T-type microfluidic mixers. J. Micromech. Microeng. 2001, 11, 126–132. [Google Scholar] [CrossRef]
- Li, P.; Cogswell, J.; Faghri, M. Design and test of a passive planar labyrinth micromixer for rapid fluid mixing. Sens. Actuators B 2012, 174, 126–132. [Google Scholar] [CrossRef]
- Stroock, A.D.; Dertinger, S.K.W.; Ajdari, A.; Mezic, I.; Stone, H.A.; Whitesid, G.M. Chaotic mixer for microchannels. Science 2002, 295, 647–651. [Google Scholar] [CrossRef] [PubMed]
- Mengeaud, V.; Josserand, J.; Girault, H.H. Mixing Simulation of a Zigzag Microchannel: Finite Element Simulations and Optical Study. Anal. Chem. 2002, 74, 4279–4286. [Google Scholar] [CrossRef] [PubMed]
- Bhagat, A.A.S.; Peterson, E.T.K.; Papautsky, I. A passive planar micromixer with obstructions for mixing at low Reynolds numbers. J. Micromech. Microeng. 2007, 17, 1017–1024. [Google Scholar] [CrossRef]
- Ziegenbalg, D.; Kompter, C.; Schönfeld, F.; Kralisch, D. Evaluation of different micromixers by CFD simulations for the anionic polymerisation of styrene. Green Process. Synth. 2012, 1, 211–214. [Google Scholar] [CrossRef]
- Borovinskaya, E.S.; Reshetilovskii, V.P. Microstructural Reactors: Concept, Development and Application. Russ. J. Appl. Chem. 2008, 81, 2211–2231. [Google Scholar] [CrossRef]
- Parsa, M.K.; Hormozi, F. Experimental and CFD modeling of fluid mixing in sinusoidal microchannels with different phase shift between side walls. J. Micromech. Microeng. 2014, 24, 065018. [Google Scholar] [CrossRef]
- Schwolow, S.; Hollmann, J.; Schenkel, B.; Röder, T. Application-Oriented Analysis of Mixing Performance in Microreactors. Org. Process Res. Dev. 2012, 16, 1513–1522. [Google Scholar] [CrossRef]
- Holvey, C.P.; Roberge, D.M.; Gottsponer, M.; Kockmann, N.; Macchi, A. Pressure drop and mixing in single phase microreactors: Simplified designs of micromixers. Chem. Eng. Process. 2011, 50, 1069–1075. [Google Scholar] [CrossRef]
- Alam, A.; Kim, K.Y. Mixing performance of a planar micromixer with circular chambers and crossing constriction channels. Sens. Actuators B Chem. 2013, 176, 639–652. [Google Scholar] [CrossRef]
- Schwarz, S.; Borovinskaya, E.S.; Reschetilowski, W. Base catalyzed ethanolysis of soybean oil in microreactors: Experiments and kinetic modeling. Chem. Eng. Sci. 2013, 104, 610–618. [Google Scholar] [CrossRef]
- Ansari, M.A.; Kim, K.-Y. A numerical study of mixing in a microchannel with circular mixing chambers. AIChE J. 2009, 55, 2217–2225. [Google Scholar] [CrossRef]
- Galletti, C.; Roudgar, M.; Brunazzi, E.; Mauri, R. Effect of inlet conditions on the engulfment pattern in a T-shaped micro-mixer. Chem. Eng. J. 2012, 185, 300–313. [Google Scholar] [CrossRef]
- Danckwerts, P.V. The Definition and Measurement of Some Characteristics of Mixtures. Appl. Sci. Res. Sect. A Mech. Heat Chem. Eng. Math. Methods 1952, 3, 279–296. [Google Scholar] [CrossRef]
- Celik, I.B.; Ghia, U.; Roache, P.J. Procedure for estimation and reporting of uncertainty due to discretization in CFD applications. J. Fluids Eng. 2008, 130. [Google Scholar] [CrossRef]
- Naher, S.; Orpen, D.; Brabazon, D.; Poulsen, C.R.; Morshed, M.M. Effect of micro-channel geometry on fluid flow and mixing. Simul. Model. Pract. Theory 2011, 19, 1088–1095. [Google Scholar] [CrossRef]
- Lee, J.; Kwon, S. Mixing efficiency of a multilamination micromixer with consecutive recirculation zones. Chem. Eng. Sci. 2009, 64, 1223–1231. [Google Scholar] [CrossRef]
- Shaker, M.; Ghaedamini, H.; Sasmito, A.P.; Kurnia, J.C.; Jangam, S.V.; Mujumdar, A.S. Numerical investigation of laminar mass transport enhancement in heterogeneous gaseous microreactors. Chem. Eng. Process. 2012, 54, 1–11. [Google Scholar] [CrossRef]
- Engler, M. Simulation, Design, and Analytical Modeling of Passive Convective Micromixers for Chemical Productions Purposes; Shaker Verlag GmbH: Aachen, Germany, 2006; pp. 1–15. ISBN 978-3832251390. [Google Scholar]
- Khozeymeh-Nezhad, H.; Niazmand, H. A double MRT-LBM for simulation of mixing in an active micromixer with rotationally oscillating stirrer in high Peclet number flows. Int. J. Heat Mass Transf. 2018, 122, 913–921. [Google Scholar] [CrossRef]
- Ortega-Casanova, J.; Lai, C.H. CFD study on laminar mixing at a very low Reynolds number by pitching and heaving a square cylinder. Comput. Fluids 2018, 168, 318–327. [Google Scholar] [CrossRef]
- Ortega-Casanova, J. Enhancing mixing at a very low Reynolds number by a heaving square cylinder. J. Fluids Struct. 2016, 65, 1–20. [Google Scholar] [CrossRef]
- Hsiao, K.; Wu, C.; Huang, Y. Fluid mixing in a microchannel with longitudinal vortex generators. Chem. Eng. J. 2013, 235, 27–36. [Google Scholar] [CrossRef]
- Sarkar, S.; Singh, K.K.; Shankar, V.; Shenoy, K.T. Numerical simulation of mixing at 1–1 and 1–2 microfluidic junctions. Chem. Eng. Process. Process Intensif. 2014, 85, 227–240. [Google Scholar] [CrossRef]
- Hossain, S.; Kim, K. Mixing Performance of a Serpentine Micromixer with Non-Aligned Inputs. Micromachines 2015, 6, 842–854. [Google Scholar] [CrossRef]
- Raza, W.; Hossain, S.; Kim, K. Effective mixing in a short serpentine split-and-recombination micromixer. Sens. Actuators B Chem. 2018, 258, 381–392. [Google Scholar] [CrossRef]
- Hossain, S.; Kim, K. Mixing analysis in a three-dimensional serpentine split-and-recombine micromixer. Chem. Eng. Res. Des. 2015, 100, 95–103. [Google Scholar] [CrossRef]
- Ortega-Casanova, J. Application of CFD on the optimization by response surface methodology of a micromixing unit and its use as a chemical microreactor. Chem. Eng. Process. Process Intensif. 2017, 117, 18–26. [Google Scholar] [CrossRef]











| Volume Flow Rate | Reynolds Number | Intensity of Mixing | Pressure Drop | Mixing Cost | Input Power Coefficient | Mixing Energy Cost |
|---|---|---|---|---|---|---|
| mL/min | - | - | Pa | 1/Pa | - | - |
| 0.05 | 1.3 | 0.33 | 1.07 | 30.37 | 74,590.93 | 2295.11 |
| 0.1 | 2.6 | 0.24 | 2.15 | 11.04 | 13,598.50 | 573.78 |
| 0.5 | 13.0 | 0.15 | 11.34 | 1.35 | 351.15 | 22.95 |
| 0.7 | 18.2 | 0.15 | 16.41 | 0.91 | 174.47 | 11.71 |
| 1 | 25.9 | 0.15 | 24.75 | 0.62 | 88.36 | 5.74 |
| 1.5 | 38.9 | 0.19 | 40.80 | 0.46 | 47.43 | 2.55 |
| 2 | 51.9 | 0.25 | 59.10 | 0.42 | 36.00 | 1.43 |
| 3 | 77.8 | 0.40 | 102.10 | 0.39 | 25.37 | 0.64 |
| 4 | 103.7 | 0.48 | 155.00 | 0.31 | 17.11 | 0.36 |
| 5 | 129.7 | 0.52 | 219.70 | 0.24 | 12.00 | 0.23 |
| 6 | 155.6 | 0.43 | 336.97 | 0.13 | 6.89 | 0.16 |
| 7 | 181.5 | 0.61 | 404.00 | 0.15 | 7.14 | 0.12 |
| 8 | 207.5 | 0.72 | 515.00 | 0.14 | 6.47 | 0.09 |
| 10 | 259.3 | 0.80 | 789.00 | 0.10 | 4.61 | 0.06 |
| Micromixer | Reynolds Number | Pressure Drop | Intensity of Mixing | Mixing Cost | Source |
|---|---|---|---|---|---|
| - | Pa | - | 1/Pa | ||
| Longitudinal vortex generators | 64 | 10,000 | 1.00 | 0.01 | [39] |
| Opposite T-junction | 50 | 93 | 0.11 | 0.12 | [40] |
| 45 Y-junction | 50 | 94 | 0.13 | 0.14 | [40] |
| 135 Y-junction | 50 | 95 | 0.14 | 0.14 | [40] |
| cross T-junction | 50 | 99 | 0.16 | 0.17 | [40] |
| Serpentine micromixer with simple T-joint inputs | 45 | 10,000 | 0.35 | 0.20 | [41] |
| Serpentine micromixer with tangentially aligned inputs | 45 | 12,000 | 0.44 | 0.26 | [41] |
| 3D serpentine crisscross SAR micromixer | 50 | 40,000 | 1.00 | 0.003 | [42] |
| 3D serpentine SAR micromixer | 50 | 40,000 | 0.90 | 0.002 | [43] |
| Chicanes micromixer | 52 | 59 | 0.25 | 0.42 | Present study |
© 2018 by the authors. Licensee MDPI, Basel, Switzerland. This article is an open access article distributed under the terms and conditions of the Creative Commons Attribution (CC BY) license (http://creativecommons.org/licenses/by/4.0/).
Share and Cite
Khaydarov, V.; Borovinskaya, E.S.; Reschetilowski, W. Numerical and Experimental Investigations of a Micromixer with Chicane Mixing Geometry. Appl. Sci. 2018, 8, 2458. https://doi.org/10.3390/app8122458
Khaydarov V, Borovinskaya ES, Reschetilowski W. Numerical and Experimental Investigations of a Micromixer with Chicane Mixing Geometry. Applied Sciences. 2018; 8(12):2458. https://doi.org/10.3390/app8122458
Chicago/Turabian StyleKhaydarov, Valentin, Ekaterina S. Borovinskaya, and Wladimir Reschetilowski. 2018. "Numerical and Experimental Investigations of a Micromixer with Chicane Mixing Geometry" Applied Sciences 8, no. 12: 2458. https://doi.org/10.3390/app8122458
APA StyleKhaydarov, V., Borovinskaya, E. S., & Reschetilowski, W. (2018). Numerical and Experimental Investigations of a Micromixer with Chicane Mixing Geometry. Applied Sciences, 8(12), 2458. https://doi.org/10.3390/app8122458
