Study of a New Type of Large-Diameter Multi-Disc Soil Anchor and Its Bearing Characteristics and Creep Property
Abstract
1. Introduction
2. Introduction of Large-Diameter Multi-Disc Soil Anchor
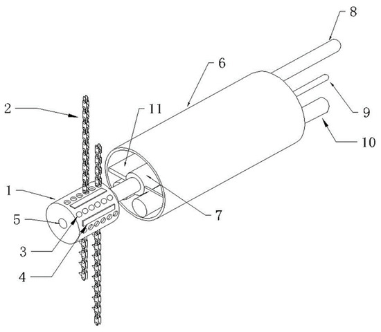
2.1. Large-Diameter Multi-Disc Soil Anchor Cavity-Forming Tool
2.2. Cavity Formation Process of Large-Diameter Multi-Disc Soil Anchor
3. FLAC3D Model Building
3.1. Calculation Model
3.2. Boundary Condition
3.3. Basic Assumption
- (1)
- The elastomer used in large-diameter multi-disc soil anchors conforms to the homogeneity hypothesis, continuity hypothesis, and isotropy hypothesis.
- (2)
- The soil mass is a homogeneous and continuous isotropic elastomer, which conforms to the Mohr–Coulomb yield criterion.
- (3)
- The influence of factors such as errors and time generated in actual construction is ignored.
- (4)
- The bearing characteristics of large-diameter multi-disc soil anchors are based on the co-action principle of the anchor and soil system.
- (5)
- Due to the need to set a contact surface to connect the large-diameter multi-disc soil anchor and soil mass during on-site excavation and support, in order to facilitate simulation calculation, it is assumed that the internal friction angle of the soil facing surface is 24° and the cohesion is 8 kPa, and the internal friction angle of the back-soil surface is 24° and the cohesion is 0.
3.4. FLAC3D Grid Convergence Analysis
- The first refinement: local refinement based on the original grid, such as halving the side length of the original grid.
- Calculate and compare the results: compare the results of the two calculations before and after, and observe the changes in the main output parameters (such as stress and displacement).
- Repeat refinement: If the results after the first refinement are still not ideal, continue to calculate the finer mesh and repeat the comparison process until the mesh refinement no longer significantly affects the calculation results.
- To ensure that the model is a continuous whole, the number of grids of adjacent sections must be the same and share one node. If there is an integer multiple relationship, the “attach” command can be used to repair it.
- Appropriate model parameters should be set before simulation analysis, and the parameters can be adjusted by the “set larger” command to avoid the problem of non-convergence of calculation.
- FLAC3D adopts the explicit Lagrangian algorithm, and it is necessary to pay attention to the deformation and movement of the grid during the calculation process. If the mesh deforms greatly, it may be necessary to adjust the calculation parameters or redivide the mesh.
4. Analysis of Vertical Bearing Capacity of Large-Diameter Multi-Disc Soil Anchor
4.1. Analysis of Load–Displacement Curve of Large-Diameter Multi-Disc Soil Anchor
4.2. Analysis of Vertical Displacement Cloud Image of Large-Diameter Multi-Disc Soil Anchor
4.3. Axial Force Analysis of Large-Diameter Multi-Disc Soil Anchors
4.4. Vertical Stress Reprogram Analysis of Large-Diameter Multi-Disc Soil Anchors
4.5. Lateral Friction Resistance Analysis of Large-Diameter Multi-Disc Soil Anchor
4.6. Summary of This Chapter
5. Creep Test of Large-Diameter Multi-Plate Soil Anchor
5.1. Testing Scheme
5.2. Testing Method
- The test loading grading and displacement reading time are shown in Table 2. If the bolt is damaged, loading is stopped. During the reading time, the load value cannot fluctuate greatly.
- The test load should be within 1.50 times the standard value of the bearing capacity (Nk), and the creep amount of each load is recorded at intervals of 1, 5, 5, 15, 15, 15, 30, 30 min. When the test load exceeds 1.50 Nk, load is continued step by step with a 10% increment, and displacement is recorded three times within 10 min.
- The bearing capacity of the bolt is measured by a pressure gauge connected to the hydraulic oil pump, and the displacement of the anchor head is measured by a dial indicator.
5.3. Judgment Method
5.4. Testing Result Analysis
6. Conclusions and Discussion
6.1. Conclusions
- (1)
- The ultimate pulling capacity of the large-diameter multi-disc soil anchor is 125% higher than that of the equal-diameter soil anchor. The vertical displacement of large-diameter multi-disc soil anchors and equal-diameter soil anchors decreases by 51.74% compared with that of equal-diameter soil anchors under their respective ultimate uplift bearing capacity.
- (2)
- The vertical displacement of large-diameter multi-disc soil anchors and equal-diameter soil anchors gradually decreases from top to bottom, and is symmetrical from left to right. The vertical displacement is the largest at the anchor head position, and the vertical displacement diverges from the middle to the left and right sides. When the large-diameter multi-disc soil anchor reaches the ultimate pulling capacity, the load shared by the three anchors accounts for 76.54% of the total load applied.
- (3)
- The creep rate of the large-diameter multi-plate soil anchor bolt is 0.91 mm, and the creep rate of the equal-diameter soil anchor bolt is 1.69 mm. The feasibility and superiority of the large-diameter multi-plate soil anchor in foundation pit supports are verified.
6.2. Discussion
Author Contributions
Funding
Institutional Review Board Statement
Informed Consent Statement
Data Availability Statement
Acknowledgments
Conflicts of Interest
References
- Sehwan, P.; Junkyeong, K.; Changgil, L. Residual tensile force estimation method for soil anchor using elasto-magnetic sensing system. PLoS ONE 2022, 17, e0264078. [Google Scholar]
- Zeng, S.; Zhang, J.; Sun, B.; Ma, A. On the Characteristics of the Dynamic Waveform and the Change of Stress Wave Propagation Velocity in Soil Anchors. J. Eng. Technol. Sci. 2015, 47, 623–632. [Google Scholar] [CrossRef]
- Feng, Q.Y.; Liu, X.C. Analysis of the Interaction of Foundation Pit Supporting Structure and Soil. Appl. Mech. Mater. 2014, 3307, 401–404. [Google Scholar] [CrossRef]
- Aouadi, F.; Ghebrab, T.; Soroushian, P. Reliable and Convenient Multi-helix Soil Anchor for Deployable Structures. Geotech. Geol. Eng. 2018, 36, 2611–2623. [Google Scholar] [CrossRef]
- Nazir, R.; Chuan, S.H.; Niroumand, H.; Kassim, K.A. Performance of single vertical helical anchor embedded in dry sand. Measurement 2014, 49, 42–51. [Google Scholar] [CrossRef]
- Niroumand, H.; Kassim, K.A.; Nazir, R. The influence of soil reinforcement on the uplift response of symmetrical anchor plate embedded in sand. Measurement 2013, 46, 2608–2629. [Google Scholar] [CrossRef]
- Niroumand, H.; Kassim, K.A. Pullout capacity of irregular shape anchor in sand. Measurement 2013, 46, 3876–3882. [Google Scholar] [CrossRef]
- Asfaw, N.T.; Lei, G.; Azizian, M.; Poudel, A.; Hoyos, L.; Yu, X. Field Pull-Out Tests of Percussion Driven Soil Anchors (PDEAs). Appl. Sci. 2023, 13, 2132. [Google Scholar] [CrossRef]
- Zhang, G.; Xu, C.; Wang, D.; Wang, Y.; Sun, J.; Zhu, S.; Morsy, A.M.; Liu, Z.; Wang, X. Machine learning-based modeling of interface creep behavior of grouted soil anchors with varying soil moistures. Transp. Geotech. 2024, 48, 101299. [Google Scholar] [CrossRef]
- Yang, D.; Wang, Q.; Jiang, Z.; Yang, D. A Multi-Segment Expanded Anchor for Landslide Emergency Management. Appl. Sci. 2022, 12, 12985. [Google Scholar] [CrossRef]
- Zuo, J.-P.; Liu, H.-Y.; Liu, D.-J.; Zhu, F.; Zhao, W.-P.; Zhang, Q.; Li, J.-H. Theoretical analysis and numerical simulation on the coupled support technology of concrete-filled steel tube and bolt-cable in deep roadway. J. Cent. South Univ. 2023, 30, 257–275. [Google Scholar] [CrossRef]
- Zhao, T.-B.; Xing, M.-L.; Guo, W.-Y.; Wang, C.-W.; Wang, B. Anchoring effect and energy-absorbing support mechanism of large deformation bolt. J. Cent. South Univ. 2021, 28, 572–581. [Google Scholar] [CrossRef]
- Yang, W.-D.; Luo, G.-Y.; Bo, C.-J.; Wang, L.; Lü, X.-X.; Wang, Y.-N.; Wang, X.-P. Mechanical properties and reinforcement effect of jointed rock mass with pre-stressed bolt. J. Cent. South Univ. 2020, 27, 3513–3530. [Google Scholar] [CrossRef]
- Petersen, D.; Lin, Z.; Zhao, J. Experiments of cast-in anchors under simulated seismic loads. Eng. Struct. 2021, 248, 113197. [Google Scholar] [CrossRef]
- Kenya, M.; Yuya, T.; Takahide, A. Modeling of dowel action for cast-in and post-installed anchors considering bond property. Eng. Struct. 2021, 245, 112773. [Google Scholar]
- You, Z.J.; Fu, H.; You, C.; Zhang, J.; Shao, H.; Bi, D.; Shi, J. Stress transfer mechanism of soil anchored solid. Rock Soil Mech. 2018, 39, 85–92. [Google Scholar]
- Savvides, A.A.; Papadrakakis, M. A computational study on the uncertainty quantification of failure of clays with a modified Cam-Clay yield criterion. SN Appl. Sci. 2021, 3, 659. [Google Scholar] [CrossRef]
- Savvides, A.-A.; Papadrakakis, M. Uncertainty Quantification of Failure of Shallow Foundation on Clayey Soils with a Modified Cam-Clay Yield Criterion and Stochastic FEM. Geotechnics 2022, 2, 348–384. [Google Scholar] [CrossRef]
- Huang, W.; Jian, W.; Yang, J.; Dou, H.; Luo, J. Load-bearing performance of a novel multi-branch soil anchor. J. Eng. Geol. 2024, 8, 1–11. [Google Scholar]
- Chen, C.; Xia, Y.; Lin, M.; Ni, Q. Structural parameter variation working on the performance of anti-uplift multi multibell underreamed anchors. Sci. Rep. 2022, 12, 18679. [Google Scholar]
- Marco, M.D.; Andrea, T.; Luca, P. A Methodology for Structural Damage Detection Adding Masses. Res. Nondestruct. Eval. 2024, 35, 172–196. [Google Scholar]
- Jin, A.-B.; Gao, Y.-T.; Cai, M.-F.; Wang, J. Prestress losing and compensate method in the reinforcement project of retaining wall. J. Univ. Sci. Technol. Beijing 2003, 25, 199–202. [Google Scholar]
- Xia, B.H.; Zhang, L.; Zhang, J.Y. Anchorage Technology of the Umbrella-Shape Soil Anchor. Appl. Mech. Mater. 2013, 2218, 230–233. [Google Scholar] [CrossRef]
- Cheng, L.-K.; Hu, J.-L.; Zhang, P.-W. The new development of ground anchorage in China. Ind. Constr. 2010, 40, 98–101. [Google Scholar]
- JGJ120-2012; Technical Specification for Building Foundation Pit Support. China Architecture & Building Press: Beijing, China, 2012.

















| Component | Depth | Internal Friction Angle | Cohesion | Mass Density | Bulk Modulus | Shear Modulus |
|---|---|---|---|---|---|---|
| m | ° | kPa | kg/m3 | Pa | Pa | |
| Plain fill | 10.0 | 24.0 | 8.0 | 1600 | 4.40 × 107 | 2.00 × 107 |
| Large-diameter multi-disc soil anchor | - | - | - | 2500 | 2.78 × 1010 | 1.79 × 1010 |
| Equal-diameter soil anchor | - | - | - | 2500 | 2.78 × 1010 | 1.79 × 1010 |
| Loading Step | 0.50 Nk | 0.75 Nk | 1.00 Nk | 1.25 Nk | 1.50 Nk | 1.75 Nk |
|---|---|---|---|---|---|---|
| observation time t2/min | 10 | 30 | 50 | 70 | 110 | 10 |
| observation time t1/min | 5 | 15 | 25 | 35 | 55 | 5 |
| Bolt Name | Bolt Diameter/mm | Anchor Length/m | Maximum Test Load/kN | Maximum Displacement/mm | Kc/mm |
|---|---|---|---|---|---|
| Equal-diameter soil anchor | 150 | 6 | 60 | 1.2597 | 1.69 |
| Large-diameter multi-disc soil anchor | 150 | 6 | 135 | 0.8634 | 0.91 |
Disclaimer/Publisher’s Note: The statements, opinions and data contained in all publications are solely those of the individual author(s) and contributor(s) and not of MDPI and/or the editor(s). MDPI and/or the editor(s) disclaim responsibility for any injury to people or property resulting from any ideas, methods, instructions or products referred to in the content. |
© 2024 by the authors. Licensee MDPI, Basel, Switzerland. This article is an open access article distributed under the terms and conditions of the Creative Commons Attribution (CC BY) license (https://creativecommons.org/licenses/by/4.0/).
Share and Cite
Wang, J.; Xia, H.; Hua, J. Study of a New Type of Large-Diameter Multi-Disc Soil Anchor and Its Bearing Characteristics and Creep Property. Appl. Sci. 2024, 14, 9585. https://doi.org/10.3390/app14209585
Wang J, Xia H, Hua J. Study of a New Type of Large-Diameter Multi-Disc Soil Anchor and Its Bearing Characteristics and Creep Property. Applied Sciences. 2024; 14(20):9585. https://doi.org/10.3390/app14209585
Chicago/Turabian StyleWang, Jiawei, Hongbing Xia, and Jing Hua. 2024. "Study of a New Type of Large-Diameter Multi-Disc Soil Anchor and Its Bearing Characteristics and Creep Property" Applied Sciences 14, no. 20: 9585. https://doi.org/10.3390/app14209585
APA StyleWang, J., Xia, H., & Hua, J. (2024). Study of a New Type of Large-Diameter Multi-Disc Soil Anchor and Its Bearing Characteristics and Creep Property. Applied Sciences, 14(20), 9585. https://doi.org/10.3390/app14209585
