Abstract
This study proposes a theoretical method to estimate the impact force of Derailment Containment Provisions (DCPs) for the prevention of secondary collisions in the event of a train derailment. By comparing the impact forces estimated using the commonly used Olson model and dynamic simulations, the study identifies significant differences in average and maximum impact forces. The study shows that these differences arise due to the mass effects of vehicle bodies transmitted to the DCP during a collision. To address this issue, the impact force of the Olson model was modified by considering the stiffness of suspensions between masses as a simplified spring–mass model. The modified impact force was verified through impact simulations using the KTX model on curved tracks with various radii. The results show that the modified Olson model provides a reasonable estimate of the impact force, with differences of less than 8% observed under all simulation conditions. This study provides a valuable contribution to the design and analysis methodology for DCPs, improving their effectiveness in preventing secondary collisions and enhancing railway safety.
1. Introduction
In the case of high-speed trains, if a derailment accident occurs while operating at a high speed, it can cause serious casualties and property damage. Figure 1 shows a derailment accident that occurred in Spain in 2013 [1]. The train derailed due to overspeed on a curved track and collided with surrounding structures, resulting in 79 deaths and approximately 140 injuries.
Figure 1.
Derailment accident in Spain.
This accident is a typical example showing that serious casualties and property damage could occur if a train derails in operation [1,2]. Therefore, it is essential to prepare countermeasures against derailment accidents. It is ideal to prevent and remove the causes of derailment and collision in advance, but it would not be perfect. So, it is necessary to develop some measures to reduce damage in unexpected derailment accidents. In order to reduce damage, various protective facilities are installed on tracks, as shown in Figure 2.
Figure 2.
Typical protective facilities such as a guard rail and barrier wall.
Various studies have been conducted to reduce damage after derailment in railway vehicles. Kazuhiko Nishimura studied a simulation model to calculate the rocking type motion of a vehicle and how anti-derailing guard rails work to prevent derailment when subject to a severe earthquake. The results were verified through full-scale testing [3]. Lirong Guo studied post-derailment devices mounted under an axle box and demonstrated that these devices can prevent trains from deviating off the railway track by catching the rail. This was based on the results of a low-speed derailment test [4]. Liang Ling suggested an innovative design of the road–rail crossing with a passive track structure. He also showed that his design can reduce the wheel–rail contact failure and hence the potential for derailment in train–vehicle frontal collisions [5].
Kajitani et al. developed the L-Shape Guide. They studied structural dimensions and shapes and checked their strength by FEM analyses and tests. The L-shaped guides have been installed to all train sets of Shinkansen trains in service to prevent deviation from railways after derailment [6]. Sunami et al. developed a post-derailment stopper which prevents derailed vehicles from veering off the track by catching on guard rails. They conducted running tests under derailment conditions using real bogies and tracks to develop a stopper, and evaluated its efficacy [7,8]. Wu et al. developed two kinds of post-derailment devices mounted under the axle box to limit the lateral displacement and validated their usefulness using derailment experiments conducted in the laboratory [9]. Pu Wang studied the mechanism of derailment at the guard rail position of turnout and proposed a reasonable guard rail interval limit [10]. Jun Lai studied dynamic behavior of derailed train protected by guard rail [11]. Xiang Zhu studied the behavior of derailed trains to provide useful reference for the prevention of secondary collision with station buildings [12].
Jun Lai investigates the causes and effects of derailment behavior in low-speed railway turnout areas. A 3D simulation model is developed to analyze the effects of different parameters on the safety of trains, including rail joint failures and wheel–rail coefficients. Results suggest that increasing the curve radius and distance between the rail joint and switch toe can improve passing safety, while reducing the wheel–rail coefficient can enhance safety on sharp curves [13].
Xian liang Xiao proposes using U-steel as a guard rail to prevent accidents during train-to-train collision tests. The protection range of the guard rail is obtained through geometric analysis, and its effectiveness and damage risks are studied under various conditions. The section shape is optimized for multiple objectives, resulting in reduced stress and improved protection ability. The results show that the optimized guard rail can effectively reduce displacement and rotation of the bogie, but it may still face damage risks under certain conditions [14]. Antonio J. Sala proposes a new system to reduce the risk of derailment at crossings in railway lines. The system involves adding an element to the crossing to provide a larger support surface next to the wing rail, decreasing the lateral force and increasing dynamic behavior safety. Simulations show a reduction in lateral stresses and strains on the track, leading to an improvement in traffic safety. However, further experimental tests are necessary to fully quantify accident reduction [15].
Research on derailment protection facilities has primarily been conducted at the national level, given the government’s responsibility for installing and managing railway infrastructure. TTI (Texas Transportation Institute) conducted a study on the optimal location, required strength, and height of anti-derailment barriers for freight and urban trains [16]. Under the supervision of Volpe, the U.S. Department of Transportation (Federal Railroad Administration) evaluated the efficacy of effective barriers by train type and developed design techniques, which were supported by computer simulations. [17]. Gaylene Layden used the energy balance approach to estimate the impact force on a barrier and compared it with previous studies. However, it does not consider the stiffness of the suspension and is not suitable for a DCP [18]. Hyun-Ung Bae et al. created a vehicle collision model and conducted analyses to estimate the impact forces generated on a barrier installed on high-speed rail bridges [19]. Chan Yu Lin discusses safety concerns regarding adjacent track accidents (ATAs) that can occur when trains derail and enter adjacent tracks. A new risk analysis framework was developed to evaluate ATA probability and consequence levels based on various factors such as infrastructure, rolling stock, and operational conditions. The model enables comparisons of relative ATA risk among different track segments and can identify high-risk locations. A case study is presented to validate the model, and results show that higher operating speed and initial derailment rate, as well as lack of containment or barriers, significantly affect ATA risk [20].
In Korea, recent studies on a type of DCP have been active. After comparing the DCP with the derailment protection facilities currently installed in Korea, Hyun-Ung Bae et al. emphasized the necessity of research to prove its effectiveness and feasibility [21]. Additionally, several case analyses were conducted on the height and installation position for derailment protection, suggesting the installation of a DCP between two rails [22]. Inho Song et al. proposed a simplified vehicle model for concrete tracks to simulate collision behavior after derailment [23,24]. Their research included real derailment experiments and proposed the final design of a DCP to be installed between two rails [25,26].
In the previous studies [25,26], the configuration design of a DCP installed between two rails was derived after studying the effectiveness and feasibility for derailment protection. However, even though the impact force applied to a DCP by a derailed train should be well estimated, there are few studies to theoretically estimate it. Therefore, this study suggests a method to theoretically estimate the impact force, which is essential in designing the strength of a DCP [27].
2. Introduction to DCPs
Protective measures to prevent derailment, known as derailment containment provisions (DCPs), are widely used in three different types worldwide, as shown in Figure 3 [26] and described in references [28,29].
Figure 3.
Various types of DCP.
Type 1 is installed between rails (Collision at wheel level). Type 2 is installed outside of rails (Collision at wheel level), and finally Type 3 is installed outside of rails (Collision at bogie level).
DCP Types 2 and 3 have been applied to tracks for a long time, but Type 1 has been studied recently, so there are few studies that can theoretically estimate the impact load acting on the DCP. Therefore, among the three types of DCP, in this study, we will theoretically and numerically analyze the structural strength of DCP Type 1.
The DCP Type 1 is installed to prevent a derailed train from leaving the track and colliding with surrounding structures by installing a long block in the center of two rails, as in Figure 4. The impact angle to the DCP would be small because the lateral moving speed and distance of the derailed train are small within two rails. Therefore, the impact force acting on the DCP can be reduced when compared with the existing derailment barriers installed outside of track [22].
Figure 4.
DCP installation example of Type 1.
The advantage of the DCP Type 1 is that it can be quickly installed on an existing track where there is a risk of derailment. In addition, it is economical because its structural size is smaller than other existing derailment barriers.
The design load of the derailment barrier in existing domestic lines is fixed as a horizontal load of 150 kN, as suggested in the railway design guidelines in Korea. However, the suggested design load is unsubstantiated without any proof. Therefore, this paper proposes a method to theoretically calculate the impact force on a DCP Type 1 after train derailment, using the Olson model and a spring–mass dynamic model composed of three bodies.
3. Olson Model
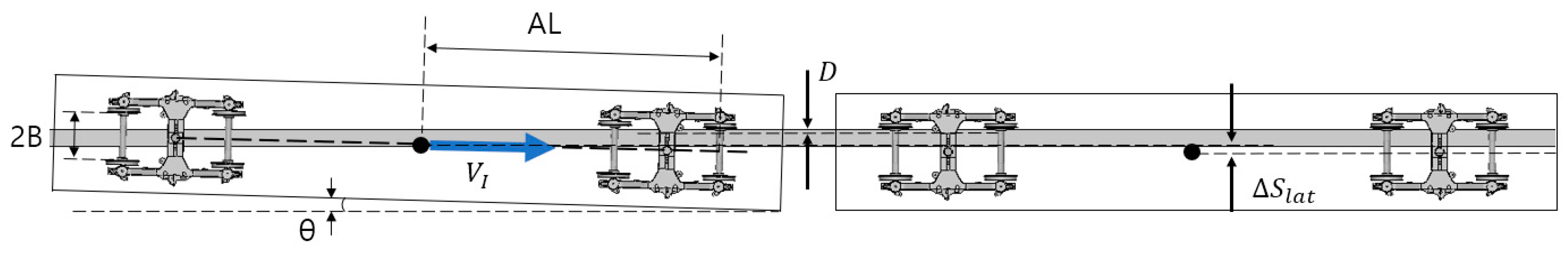
As shown in Figure 5, it is assumed that the impact force begins to act on the barrier from the moment of collision until the vehicle becomes parallel to it. The average impact acceleration ratio to the gravity (g) can be expressed in Equation (1) as follows. Equation (1) was derived by Olson [27] and is a mathematical equation that simply calculates the impact force on the barrier by a single body vehicle.
Figure 5.
Collision in the Olson model.
Here,
- : Average lateral vehicle deceleration ratio to g
- : Vehicle impact velocity
- : Time interval of lateral movement of vehicle
- : Acceleration due to gravity
- : Lateral movement of vehicle
- : Distance from vehicle;s front end to center of mass
- : Vehicle width
- : Lateral displacement of barrier railing
- : Vehicle impact angle
Assuming the stiffness between the vehicle and the barrier as a linear spring, it can be expressed by the following Equation (2). Finally, the impact force acting on the barrier can be obtained multiplying the mass of the vehicle.
Here,
- : Average lateral impact force
- : Maximum lateral impact force
- : Vehicle weight
Here, it is assumed that no lateral displacement (D) of DCP occurs during the collision process to calculate the worst impact force. Figure 6 is a picture for applying the Olson model to a railway vehicle and the DCP Type 1.
Figure 6.
Olson model applied for the DCP Type 1.
4. Estimation of Impact Angle
If a train derails from the rail and simply moves in a straight direction from the derailment location shown in Figure 7, it will move a distance of L and collide with the DCP at impact location 1. At this time, the impact angle between the DCP and the vehicle can be estimated as . The impact angle of the curved track can be calculated Equation (3) as follows.
Figure 7.
Impact angle of a curved track.
Here, is the track radius, and is the distance between the DCP and the wheel surface.
Impact location 2 in Figure 7 is an impact location that takes into account the additional angle determined by the curve radius, cant, speed, etc. Assuming that the centrifugal acceleration is constant, the constant acceleration can be obtained by , and . At this time, the additional angle can be obtained by and the impact angle of the impact location 2 can be estimated using the sine rule as in Equation (4). This condition could become the worst-case impact on the DCP because the full cant deficiency and a frictionless wheel–track are assumed.
The impact angle can be calculated using the previous process. Theoretically, it is possible to calculate the impact angle considering cant, etc., but in this study, the cant was not considered to calculate the most severe impact force by applying the full cant deficiency condition. Table 1 is a table that calculated collision angles using Equations (3) and (4).
Table 1.
Impact angle according to curve radius.
5. Comparison with Impact Simulation
To verify the theoretical impact forces acting on DCP, the Virtual Testing Model (VTM) on the Korean high-speed train [30] was simulated using a commercial program, LS-DYNA [31]. The vehicle was modeled as only one power car with the highest mass considering excessive computing time. Basic parameters, such as the mass of the vehicle and the characteristics of the suspension devices, were referred to the previous study [32]. Table 2 represents the mass information of the KTX power car used in the simulation.
Table 2.
Masses of the high-speed train model.
The finite element vehicle model used in the simulation is shown on the left side of Figure 8. The body and bogies are composed of shell elements and the wheelsets are composed of 3D solid elements. The connections between the car body and bogie were modeled with beam elements. The DCP is shown on the right side of Figure 8. The DCP is a rectangular concrete structure with reinforced bars with a size of 140 mm in height and 500 mm in width. The bottom surface of the DCP was constrained on all degrees of freedom, and the automatic surface-to-surface contact condition was applied to the DCP and wheelsets. Table 3 shows the finite element information and properties of the vehicle used in the simulation model.
Figure 8.
Finite element model for simulation.
Table 3.
The number of finite elements of the simulation model.
To compare the theoretical impact force by the Olson model with the impact force numerically obtained, a simulation was carried out under the same condition as shown in Figure 9. The traveling speed is 300 km/h and the collision angle is 0.85°. The weight of the power car is about 68 tons. Here, 0.85° is the largest impact angle on a straight track calculated by the geometric yaw angle between the rail and train. To shorten computing time, only the section where collision occurs was modeled as a concrete material, and the other section was modeled as a rigid one.
Figure 9.
Condition of impact simulation.
A concrete material in LS-DYNA was used to analyze the fracture behavior and failure plane shape of the DCPs due to impact force [33,34,35]. The Continuous Surface Cap Material (MAT159, CSCM Concrete) model was developed in the 1990s and has been widely applied in many studies. The CSCM model has a good advantage in effectively modeling concrete damage and is widely used because it can calculate the element’s behavior with only a few variables.
The impact force calculated by the collision simulation is shown in Figure 8, Figure 9 and Figure 10. The red line represents the force curve of a 50 ms moving average. The moving average method applied to the data is used to simply analyze the data trend, and is also used to calculate the static equivalent force of an impacting structure for strength design. In general, when a 50 ms moving average method is applied, raw data are not excessively equalized and are not overestimated owing to the remaining noise signals [19,36].
Figure 10.
Impact simulation results. (a) Damage of the DCP after impact. (b) Impact force on the DCP.
Based on raw data without filtering, collision is completed at about 520 ms because the contact force no longer occurs. The average and maximum forces on the DCP can be obtained, as shown in Table 4 and Figure 10. Relative deviations in Table 4 are the relative differences between theoretical impact forces and simulation impact force. Relative deviations are defined as the following equation.
Table 4.
Impact force comparison of Olson model and simulation.
6. Dynamic Effect of Vehicle Suspensions
Significant differences between the Olson model and the dynamic simulation occurred in the average load of 54.6% and the maximum load of 37.2%, as shown in Table 4. These differences of impact forces transmitted to the DCP are caused due to the dynamic motions of the masses of the wheelsets, the bogie frame, and the vehicle body. In the case of the Olson model, it is assumed that all the masses of the vehicle are transmitted to the DCP all at once. However, in the case of the DCP model, because the masses of the vehicle bodies are transmitted through the suspensions after impact, the dynamic effects of suspensions and masses should be considered to obtain an actually loaded force to the DCP in time. By the way, the dynamic effects can be considered by a simplified spring–mass model using the lateral stiffnesses of the suspensions calculating how much inertia force of the masses is gradually transmitted to the DCP.
When a vehicle impacts with a DCP, the masses are transmitted in the sequential order of wheelset, bogie frame and car body. An impact between the DCP and the vehicle can be simplified to a spring–mass model as shown in Figure 11. The left side is a simplified free body diagram with 1 degree of freedom, and the right side is a simplified free body diagram with 3 degrees of freedom. is the mass of the vehicle. is the mass of the wheelset and is the contact stiffness between the wheelset and the DCP. is the mass of the bogie excluding the wheelset, and is the sum of the lateral stiffnesses of the primary suspensions connected to the wheelset and the bogie frame. is the mass of the car body excluding the bogie, and is the sum of the lateral stiffnesses of the secondary suspensions connected to the car body and the bogie frame. The impact force applied to the DCP can be calculated as and . x(t) means the displacement of a mass. The equations of motion are given as follows.
Figure 11.
Simplified spring–mass model for a train vehicle.
- (1)
- 1 Degree of Freedom
The solution can be assumed to and by substituting the above equation and putting initial conditions, the following Equation (5) can be finally obtained.
- (2)
- 3 Degrees of Freedom
The three equations can be written in the form of a matrix equation.
The solution can be assumed to ( in a vector form and by substituting the equation, the following equation can be obtained.
The characteristic equation is defined from the and once is known from the equation, we can calculate the corresponding vector . After calculating the vector u, the following equation can be finally obtained.
and this equation can be finally the following Equation (6) using Euler’s formula.
where are the constants of integration determined by initial conditions.
Table 5 shows the parameters and initial conditions of the vehicle. By applying the initial conditions and the vehicular parameters, the spring displacements x(t) can be obtained. Figure 12 shows the impact forces generated at m1, which are significantly reduced when compared to the 1-DOF force calculated by the original Olson model. This is because the masses of the vehicle are not transmitted to the DCP all at once, but they are transmitted under the influence of suspension stiffnesses. When considering the stiffnesses of the suspensions, the average impact force decreased by 46.3% and the maximum by 24.9% [37]. In addition, the 2-DOF model considering k3 as a rigid link showed a very similar result to the 3-DOF.
Table 5.
Variable of vehicle.
Figure 12.
Impact loads considering suspension stiffnesses.
7. Theoretical Impact Forces of the DCP Type 1 by the KTX Power Car
When a vehicle impacts a DCP, as shown above, the original Olson model cannot be used as is because the impact force is influenced by the stiffness of the suspensions. Therefore, correction factors obtained by a simple spring–mass model should be applied to the theoretical impact force obtained by the Olson model to accurately estimate the impact force transmitted through the suspensions. Taking into account the dynamic effects of the suspensions, the average and maximum impact forces on the DCP were 53.7% and 75.1% of the original Olson model estimations, respectively. Table 6. The recalculated impact force taking into account the dynamic effects of the suspension.
Table 6.
Impact forces considering suspension stiffnesses.
8. Verification of Theoretical Impact Forces
Derailment simulations were conducted under the assumption that the vehicle derails due to unknown abnormal situations of either the track or vehicle. The simulation conditions are shown in Table 7, and the derailment speed is set to 300 km/h, which is the current maximum operating speed of the KTX, as a worst condition. The reason for separating the curve radius into three cases is that the minimum curve radius of Korean high-speed rail is 5000 m and 7000 m in a ballasted track. In addition, since the minimum design curve radius at 300 km/h is 3500 m in a concrete track, the condition for 3500 m was also analyzed to consider the worst-case condition. Since 300 km/h is the maximum operating speed, the impact load generated at speeds below 300 km/h will be lower than the impact force generated at 300 km/h impact.
Table 7.
Impact simulation conditions.
In the simulations, Cases 1, 3, and 5 represent the conditions in which the vehicle advances along the tangential direction of a curved track after derailment and impacts with the DCP at the impact angle (), derived in Equation (3). On the other hand, Cases 2, 4, and 6 consider the additional angles due to the centrifugal force effect and represent the impact angle (. The DCP used in the simulations has a curved shape. While additional derailment angles were not considered in Cases 1, 3, and 5, the vehicle was slightly yawed in Cases 2, 4, and 6, as shown in Figure 13, to account for the additional derailment angle caused by the centrifugal force.
Figure 13.
Conditions of impact angle in simulation.
Since multiple simulation conditions were tested, only one case is presented as a representative in Figure 14. The other conditions were conducted using the same simulation procedure. The presented simulation depicts a scenario where the train derails within the track while traveling at a speed of 300 km/h in a curved track with a radius of 5000 m, with an additional angle caused by centrifugal force, and collides with the DCP. The collision behavior is observed from both the front and rear angles in Figure 14. After colliding with the DCP, the wheels were guided by it and continued moving forward without leaving the track.
Figure 14.
Collision behaviors of the vehicle (front and rear views) [R3500, 300 km/h].
DCP material was modeled using Mat159, which is a continuous surface cap model. The compression strength of the DCP is 45 MPa, and the elements erode when damage exceeds 0.99 and the maximum principal strain exceeds ERODE-1.0. Ductile damage accumulation occurs when the pressure (P) is compressive, and an energy type term, , exceeds the damage threshold, . Ductile damage accumulation depends upon the total strain components, , as follows . The stress components are the elastoplastic stresses (with kinematic hardening) calculated before application of damage and rate effects [26].
In Figure 15, the collision behaviors observed from the top-down view are shown, and damage to the DCP is visible after the vehicle impact. The concrete surface was damaged due to the impact force of the wheels, as shown in Figure 16. However, an essential aspect of the derailment simulations is to determine the load applied to the DCP. Therefore, the simulation results were analyzed to determine the impact forces transmitted to the DCP during the collision.
Figure 15.
Collision behaviors of the vehicle (top view) [R3500, 300 km/h].
Figure 16.
Damage of the DCP.
The impact force occurred on the DCP is shown in Figure 17. The black line represents the force data without data processing, and the red line represents the force data processed by a 50 ms moving average. Based on the raw force data, the collision began at 17.4 ms and ended at about 396.7 ms. The average and maximum forces between 17.4 ms and 396.7 ms can be obtained as shown in Table 8. When comparing the present theoretical result and the simulation, relative deviations of 3.14% and 3.94% were obtained for the average and the maximum forces, respectively. This comparison confirms that the present correction method applying suspension stiffness to the Olson model can predict the impact force acting on the DCP by a vehicle derailment well.
Figure 17.
Impact forces occurred on the DCP during collision.
Table 8.
Comparison of theory and simulation.
Simulations for the remaining conditions were conducted and summarized in Table 9. For the six cases, relative deviations less than 8% were obtained between the present theoretical results and their simulation ones. Therefore, it was confirmed that this method considering suspension stiffnesses can predict the impact force taking place on the DCP well.
Table 9.
The impact forces of final simulation results at 300 km/h on the six cases.
Additionally, it should be noted that the mean and maximum impact forces could be slightly affected by track conditions such as cant deficiency and the friction coefficient between the track and wheel. For DCP design purposes, it is recommended to consider worst-case track conditions similar to those in this study, assuming full cant deficiency and a frictionless wheel–track interface.
9. Conclusions
Comparing the theoretical impact force using the Olson model and impact simulations, the study draws the following conclusions:
- The Olson model did not consider the lateral stiffness of suspension, resulting in a large difference between the theoretical impact force and the simulated impact force when estimating the impact force of DCP Type 1 installed between the rails.
- To estimate the load transmitted to the DCP, the lateral stiffnesses were considered as a spring–mass model using the wheelset, bogie frame, and bodies of a vehicle. The impact forces were estimated by solving the equations of motion. The calculated response of the dynamic equations showed that the average impact force was 55% of the original Olson model, and the maximum impact force was 75%.
- To verify the theoretical impact forces estimated by the equations of motion, impact simulations were performed on the R3500, R5000, and R7000 of the curved tracks using the KTX. Two conditions were considered: the first is to derail along the tangential direction of the curve after derailment, and the second is to derail with additional angle due to the centrifugal effect. All simulation results showed relative deviations of less than 8%, confirming that the proposed method considering suspension stiffnesses in the Olson model can predict the impact force acting on the DCP well.
This study presents a new approach to improving the analysis and design methodology for Derailment Containment Provisions (DCPs). The method is proposed by comparing the Olson model and dynamic simulations, taking into account the mass effect of vehicle bodies during collision. This is achieved by using a simplified spring–mass model to consider the lateral stiffness of suspension and its effect on the transfer of vehicle body mass during collision. The proposed method is shown to be effective through impact simulations performed on curved tracks using the KTX model. This enables a good estimation of the impact force of DCP, considering the effective mass transfer of the vehicle body during collision. The proposed method offers a more accurate and effective method for predicting the impact force acting on DCP Type 1 and can be used for the design of a new DCP Type 1, and the findings of this study can provide valuable information for DCP design and improve the safety of train derailment incidents.
Author Contributions
Conceptualization, I.-H.S.; Data curation, I.-H.S. and J.-S.S.; Funding acquisition, N.-H.L. and H.-U.B.; Investigation, I.-H.S., J.-S.S., J.-S.K., H.-U.B. and N.-H.L.; Project administration, J.-S.S. and J.-S.K.; Supervision, J.-S.S.; Validation, J.-S.S. and J.-S.K.; Writing—original draft, I.-H.S.; Writing—review & editing, J.-S.S., J.-S.K. and N.-H.L. All authors have read and agreed to the published version of the manuscript.
Funding
This research was supported by a grant (RS-2021-KA163289) funded by the Ministry of Land, Infrastructure, and Transport of the Korean government.
Institutional Review Board Statement
Not applicable.
Informed Consent Statement
Not applicable.
Data Availability Statement
Not applicable.
Conflicts of Interest
The authors declare no conflict of interest.
References
- The Guardian. Available online: https://www.theguardian.com/world/2013/jul/25/santiago-train-derailment-speed-safety (accessed on 12 March 2023).
- Railexpress. Available online: https://www.railexpress.com.au/seven-people-in-cabin-prior-to-tgv-derailment-report/ (accessed on 12 March 2023).
- Kazuhiko, N.; Yoshiaki, T.; Tsutomu, M. Using Full Scale Experiments to Verify a Simulation Used to Analyze the Safety of Rail Vehicles During Large Earthquakes. J. Comput. Nonlinear Dyn. 2015, 10, 031013. [Google Scholar]
- Guo, L.; Wang, K.; Lin, J.; Zhang, B.; Chen, Z.; Song, X.; Du, G. Study of the post-derailment safety measures on low-speed derailment test. Int. J. Veh. Mech. Mobil. 2016, 54, 943–962. [Google Scholar] [CrossRef]
- Liang, L.; Manicka, D.; David, P.T. A Passive road-rail crossing design to minimize wheel-rail contact failure risk inder frontal collision of trains onto stuck trucks. Eng. Fail. Anal. 2017, 80, 403–415. [Google Scholar] [CrossRef]
- Kajitani, Y.; Kato, H.; Asano, K. Development of an L-shaped guide to prevent deviation from rails. JR-EAST Tech. Rev. 2010, 15, 53–56. [Google Scholar]
- Sunami, H.; Morimura, T.; Ishikawa, S.; Adachi, M.; Sakanoue, K.; Minami, Y.; Watanabe, Y.; Soda, Y. Experiment on test track for preventing the derailed vehicle from veering off the track. Trans. Jpn. Soc. Mech. Eng. 2010, 76, 2462–2463. [Google Scholar] [CrossRef]
- Sunami, H.; Morimura, T.; Terumichi, Y.; Adachi, M. Model for analysis of bogie frame motion under derailment conditions based on full-scale running tests. Multibody Syst. Dyn. 2012, 27, 321–349. [Google Scholar] [CrossRef]
- Wu, X.; Chi, M.; Gao, H.; Zhang, D.; Zeng, J.; Wu, P.; Zhu, M. The study of post-derailment measures to limit the extent of a derailment. Proc. Inst. Mech. Eng. Part F J. Rail Rapid Transit 2016, 230, 64–76. [Google Scholar] [CrossRef]
- Pu, W.; Shuguo, W.; Zhenhua, Z. Mechanism of Derailment at the Guardrail Position of Turnout and a Reasonable Guardrail Interval Limit. Appl. Sci. 2022, 12, 8496. [Google Scholar]
- Lai, J.; Xu, J.; Wang, P.; Chen, J.; Fang, J.; Ma, D.; Chen, R. Numerical investigation on the dynamic behaviour of derailed railway vehicles protected by guard rail. Veh. Syst. Dyn. 2021, 59, 1803–1824. [Google Scholar] [CrossRef]
- Zhu, X.; Lu, X.Z.; Cheng, Q.L.; Li, Y. Simulation of the running attitude of a train after derailment. Int. J. Crashworthiness 2020, 25, 213–219. [Google Scholar] [CrossRef]
- Lai, J.; Xu, J.; Liao, T.; Zheng, Z.; Chen, R.; Wang, P. Investigation on train dynamic derailment in railway turnouts caused by track failure. Eng. Fail. Anal. 2022, 134, 106050. [Google Scholar] [CrossRef]
- Xiao, X.; Xu, P.; Yao, S.; Li, B.; Guo, W.; Zhao, H. Numerical Investigation of the U-Steel Guard Rail Used in Train-to-Train Collision Tests. Machines 2022, 10, 666. [Google Scholar] [CrossRef]
- Antonio, J.S.; Jesus, F.; Juan de, D.S.; Jaime, G. New Anti-Derailment System in Railway Crossings. Machines 2022, 10, 1224. [Google Scholar]
- Hirsch, T.J.; Harris, W.J.; James, R.W.; Lamkin, J.; Zhang, H. Analysis and Design of Metrorail—Railroad Barrier System; Texas Transportation Institute, Texas A&M University: College station, TX, USA, 1989.
- U.S. Department of Transportation. Safety of High Speed Guided Ground Transportation Systems; Federal Railroad Administration: Washington, DC, USA, 1994.
- Gaylene, L. Development of Crash wall Design Loads from Theoretical Train Impact; AREMA: Chicago, IL, USA, 2014. [Google Scholar]
- Bae, H.U.; Yun, K.M.; Lim, N.H. Containment capacity and estimation of crashworthiness of derailment containment walls against high-speed trains. J. Rail Rapid Transit 2016, 232, 680–696. [Google Scholar] [CrossRef]
- Lin, C.Y.; Saat, M.R.; Barkan, C.P. Semi-quantitative risk assessment of adjacent track accidents on shared-use rail corridors. J. Rail Transp. Plan. Manag. 2022, 24, 100355. [Google Scholar] [CrossRef]
- Bae, H.U.; Moon, J.H.; Kim, J.J.; Lim, N.H. Concept of Derailment Containment Provisions for Minimizing Expansion of Damage by Train Derailment. Korean Soc. Steel Constr. 2015, 27, 42–46. [Google Scholar]
- Bae, H.U.; Yun, K.M.; Moon, J.; Lim, N.H. Impact Force Evaluation of the Derailment Containment Wall for High-Speed Train through a Collision Simulation. Adv. Civ. Eng. 2018, 2018, 2626905. [Google Scholar] [CrossRef]
- Song, I.H.; Kim, J.W.; Koo, J.S.; HU Bae Lim, N.H. Simplified Vehicle Modeling Technique for Design of Derailment Containment Provisions (DCP). J. Korean Soc. Railw. 2019, 22, 527–537. [Google Scholar] [CrossRef]
- Song, I.H.; Kim, J.W.; Koo, J.S.; Lim, N.H. Modeling and Simulation of Collision-Causing Derailment to Design the Derailment Containment Provision Using a Simplified Vehicle Model. Appl. Sci. 2020, 10, 118. [Google Scholar] [CrossRef]
- Lim, N.H. A Study on the Development of Facilities and Performance Standards for Preventing Deviation of Railway Vehicles, Final Report; Ministry of Land, Infrastructure, and Transport: Sejong City, Republic of Korea, 2020.
- Bae, H.U.; Kim, K.J.; Park, S.Y.; Han, J.J.; Park, J.C.; Lim, N.H. Functionality Analysis of Derailment Containment Provisions through Full-Scale Testing—I: Collision Load and Change in the Center of Gravity. Appl. Sci. 2022, 12, 11297. [Google Scholar] [CrossRef]
- Olson, R.M.; Post, E.R.; McFarland, W.F. NCHRP Report 86: Tentative Service Requirements for Bridge Rail Systems; HRB, National Research Council: Washington, DC, USA, 1970. [Google Scholar]
- Booz, A. Hamilton Report on the Findings of: Current Practice and Effectiveness of Derailment Containment Provisions on High Speed Lines; HSL-Zuid Organisation: Zoetermeer, The Netherlands, 2004. [Google Scholar]
- Bae, H.U.; Moon, J.H.; Lim, S.J.; Park, J.C.; Lim, N.H. Full-Scale Train Derailment Testing and Analysis of Post-Derailment Behavior of Casting Bogie. Appl. Sci. 2020, 10, 59. [Google Scholar] [CrossRef]
- Kim, S.R.; Koo, J.S.; Kwon, T.S.; Han, H.H. The Development of Virtual Testing Model for Korea High Speed Train. Eng. Semantic Scholar. 2008. Available online: https://docplayer.net/8397103-The-development-of-virtual-testing-model-for-korea-high-speed-train.html (accessed on 12 March 2023).
- Livermore Software Technology Corporation (LSTC). LS-DYNA Keyword User’s Manual. vols. 1–3, Revision Bae et al. 695 2645, January 2013; Livermore Software Technology Corporation: Livermore, CA, USA, 2013. [Google Scholar]
- Kim, J.C.; Kang, B.B.; Koo, D.H.; Lee, C.W.; Seo, J.W. A Study on Running Performance for KTX; Korea Railroad Research Institute Report: 2002. Available online: https://www.codil.or.kr/viewDtlConRpt.do?gubun=rpt&pMetaCode=OTKRRK050872 (accessed on 12 March 2023).
- Murray, Y.D. Users Manual for LS-DYNA Concrete Material Model 159. Final Report. FHWA-HRT-05-062, May 2007; Volpe National Transportation Systems Center: Cambridge, MA, USA, 2007. [Google Scholar]
- Murray, Y.D.; Abu-Odeh, A.; Bligh, R. Evaluation of LS-DYNA Concrete Material Model 159. Final Report, FHWA-HRT-05-063, May 2007; Volpe National Transportation Systems Center: Cambridge, MA, USA, 2007. [Google Scholar]
- Murray, Y.D. Conference-theory and evaluation of concrete material model 159. In Proceedings of the 8th European LS-DYNA User Conference, Strasbourg, France, 23–24 May 2011; Livermore Software Technology Corporation: Livermore, CA, USA, 2011. [Google Scholar]
- Beason, W.L.; Hirsch, T.J.; Campise, W.L. Measurement of Heavy Vehicle Impact Forces and Inertia Properties. Final Report; FHWA/RD-89/120; Texas Transportation Institute: College Station, TX, USA, 1989.
- Song, I.H. A Study on the Evaluation of the Impact Force acting on the Derailment Containment Provisions (DCP) in the Event of a Train Derailment Accident. Ph.D. Thesis, Seoul National University of Science and Technology, Seoul, Republic of Korea, 2022. [Google Scholar]
Disclaimer/Publisher’s Note: The statements, opinions and data contained in all publications are solely those of the individual author(s) and contributor(s) and not of MDPI and/or the editor(s). MDPI and/or the editor(s) disclaim responsibility for any injury to people or property resulting from any ideas, methods, instructions or products referred to in the content. |
© 2023 by the authors. Licensee MDPI, Basel, Switzerland. This article is an open access article distributed under the terms and conditions of the Creative Commons Attribution (CC BY) license (https://creativecommons.org/licenses/by/4.0/).
















