Next Article in Journal
ABPCaps: A Novel Capsule Network-Based Method for the Prediction of Antibacterial Peptides
Previous Article in Journal
Optimization of Rollover Crashworthiness and Vehicle Mass Based on Unreplicated Saturated Factorial Design
 
 
Font Type:
Arial Georgia Verdana
Font Size:
Aa Aa Aa
Line Spacing:
Column Width:
Background:
Article

Accurate Identification of Broken Rock Mass Structure and Its Application in Stability Analysis of Underground Caverns Surrounding Rock

1
Power China Zhongnan Engineering Corporation Limited, Changsha 410014, China
2
School of Earth Sciences and Engineering, Hohai University, Nanjing 211100, China
*
Author to whom correspondence should be addressed.
Appl. Sci. 2023, 13(12), 6964; https://doi.org/10.3390/app13126964
Submission received: 4 April 2023 / Revised: 14 May 2023 / Accepted: 16 May 2023 / Published: 9 June 2023

Abstract

In view of the broken rock mass in the surrounding rock of large underground caverns, the 3D distribution model of the joints is obtained through the on-site investigation of the joints and the digital imaging technology, and the image processing software. Based on the analysis of the mutual cutting degree of the joints and the geometric shape of the block, the concepts and calculation methods of the degree of fragmentation and the degree of bite are proposed, and the degree of rock mass fragmentation is quantitatively described. Furthermore, the multi-factor analysis method is used to establish the quality evaluation method and the standard of broken rock mass based on the degree of rock fragmentation and the degree of bite, and the failure mode and safety criterion of broken rock mass of surrounding rock are proposed. Applying the discrete element numerical analysis method, the mechanical parameters of different broken rock masses are obtained. The reinforcement analysis of the surrounding rock of different broken rock masses shows that the degree of fragmentation, the degree of bite, and the classification of surrounding rock proposed in this paper can implement precise reinforcement measures for the surrounding rock of different broken rock masses, as it provides an important theoretical basis for the surrounding rock safety of large underground caverns in the broken rock mass and has wide applicability.

1. Introduction

Fractured rock is a kind of engineering soft rock. Engineering soft rock is the engineering rock that can produce significant plastic deformation under the action of engineering force. Geological soft rock emphasizes the geological characteristics of soft, weak and loose, while engineering soft rock emphasizes the unity of the opposition between soft rock strength and engineering force loading, which reveals the relative essence of soft rock; that is, it depends on the interrelationship between engineering force and rock strength. The reason for the formation of fractured rock mass is that the rock mass is extremely fragmented due to strong geological tectonic movement or weathering, and the strength of the rock mass itself is high; for example, in the area of a fault fracture zone or a strong weathering zone of tunnel entrance and exit, such a fractured rock structure surface is extremely developed and intertwined, cutting the rock mass into fragments and granules.
At the present stage, more in-depth analysis and research on fractured rock have been carried out at home and abroad, and a lot of experience has been accumulated in terms of support and monitoring during the excavation of underground caverns. In shallow rock mass engineering, the excavation-affected rock around the tunnel contains an excavation-damage zone and an excavation-disturbed zone [1]. For example, Bieniawski ZT [2,3] provided early foundational research on engineering rock mass structure and rock mass quality classification. Shan Dong et al. [4] proposed a classification method for fractured rock masses to classify rock masses based on their structural characteristics and degree of fragmentation. Qingfa Chenet et al. [5] created a three-dimensional joint network model used to finely identify the homogeneous structural regions, with the aim to overcome the problem of rock mass quality classification when using the conventional approach, which often leads to ‘overgeneralization’. In addition, many scholars have achieved excellent results in rock mass classification, rock fragmentation analysis, and the stability of discontinuous rock masses [6,7,8,9,10,11,12,13,14,15,16,17,18,19]. Zonal disintegration refers to the alternative occurrence of a disintegration zone and a non-disintegration zone around tunnels in deep rock mass engineering [20]. Different techniques have been developed to deal with sets of discontinuous fractured rock mass. For example, using stochastic techniques, Shemyakin, Einstein et al. [21,22] attempted to relate rock mass stability with persistence in the geometry and the spatial variability of a discontinuous fractured rock mass. Although classical continuous or discrete approaches in their initial formulation do not seem adapted to describe the progressive failure mechanisms in jointed rock, several attempts have been made to extend their capabilities. For example, Wang et al. [23] demonstrated that the application of a particle flow code can provide valuable insights into the stability analysis of heavily jointed rock slopes. A 3D model for fractured rock is presented here. Implemented into YADE Open DEM [24,25], the model uses a discrete representation of the intact rock mass, in which a DFN can be plugged in a straightforward way as a set of planes representing the discontinuities (joints). These joints can then be simulated with both rough surfaces resulting from DE shapes, or using a modified contact logic where interactions between discrete elements (DE) are set up depending on the orientations of the joint surfaces [26]. The combination of probability or stochastic theory with polyhedral modeling has been shown to provide a powerful method for the estimation of block size distributions (e.g., [27]) and (in combination with key-block theory) representation of the rock mass (e.g., [28,29]). The stability problems of underground caverns and tunnels have also been studied by numerical calculation methods with good results, such as the finite element method (FEM) [30,31] and the discrete element method (DEM) [32,33]. Nowadays, a large number of underground caverns of hydropower projects are excavated intensively and on a large scale, and are faced with complex geological structure features such as high ground stress, broken and weak rock, and large burial depth and high water pressure, which means that the existing research results cannot meet the research on the stability of the surrounding rock of large underground cavern groups under complex geological conditions, nor can they systematically carry out engineering geological research on the rock structure of the surrounding rock of the underground cavern groups of broken rock, from the rock structure surface. It is of great theoretical and engineering significance to systematically carry out the engineering geological research on the rock structure of the surrounding rock of the underground cavern group in the fractured rock and to study the deformation and damage mechanism of the excavation process of the surrounding rock of the fractured rock and the response characteristics of the mechanical effect of the surrounding rock, so as to provide an important scientific basis for optimizing the excavation method and support method in the surrounding rock of the fractured rock.
In this paper, in order to describe and evaluate the blockiness structural characteristics of the fractured rock mass more accurately, the field structural surface data are transformed into a three-dimensional distribution model by image software Rhino3D, and the concepts of fracture degree and occlusion degree are proposed. Based on this concept, a multi-factor analysis method is applied to propose the quality evaluation method and damage mode of the fractured rock mass and will use the discrete element numerical simulation method, the characteristics of rock mechanical parameters of different fractured rock masses and the deformation evolution characteristics of fractured surrounding rock after underground cavern excavation are simulated and analyzed.

2. Accurate Identification Method of Fractured Rock Structure

The mechanical characteristics of the fractured rock mass depend on the degree of fracture and the degree of bonding between the blocks. In this paper, we propose two quantitative indicators to describe the structural characteristics of the fractured rock mass quantitatively and precisely.

2.1. The Concept of Fragmentation and Its Determination Method

The fractured rock mass consists of blocks and discontinuous structural facets. Due to the different scales of discontinuous facets, structural bodies of different scales are cut, and there are smaller discontinuous facets in the larger structural bodies, which in turn cut smaller structural bodies belonging to the next level of structural bodies, and these smaller structural bodies can also be cut by the next level of discontinuous facets to form the next level of structural bodies. At the same time, there are many different types of structural faces according to their genesis, scale, and filling characteristics, and various types of structural faces and structural bodies and their combination characteristics are different, and the mechanical properties of the composed rock masses are different, thus constituting the complexity of the geometric and mechanical properties of the rock masses. Based on the investigation of the geometrical shape characteristics of the structure body formed by the cutting of the structure face of the broken rock body, the occlusion mode and the degree of occlusion between the structure bodies and the structural type of the broken rock body are studied and the degree of the brokenness of the broken rock body is quantitatively or semi-quantitatively described.
At present, the degree of rock integrity is generally evaluated by a rock integrity index KV or structural surface spacing, and KV is the ratio of the velocity of rock and rock elastic longitudinal waves, but the relationship between KV taking value and the degree of rock integrity is an empirical relationship, which is difficult to give an intuitive concept. Further, the wave velocity test results will be affected by other factors in addition to the degree of structural surface development, which in turn will affect KV. When the number of structural faces within the rock mass is certain, the longer the structural face is, the smaller the measured spacing will be. For a rock mass with the same Jv, if the length of the structural face is larger, the number of structural faces within the rock mass will be smaller, so the integrity of the block formed by the corresponding cut is not the same, and thus the evaluation of the integrity and fragmentation of the rock mass used is also imperfect.
By studying the characteristics of the blockiness of fractured rock masses and other characteristics, the fractured rock masses are further classified into more fractured rock masses, fractured rock masses, extremely fractured rock masses, and scattered rock masses, and the concept of fracture degree of fractured rock masses and an analysis method to obtain the fracture degree are proposed. The fragmentation degree mainly reflects the degree of fragmentation of the broken rock mass, which is mainly influenced by the rock structure type and the degree of complete cutting of the structural surface of the broken rock mass in the region.
Considering that most of the broken rock masses are cut by three or more groups of structural faces with each other, the survey statistics reveal that the spacing between the mutually cut structural faces is 0.1~0.5 m (we mainly refer to the division of China’s engineering practice and relevant codes), generally less than 0.5 m; the extension length of the main structural faces is mostly 1~3 m, generally less than 3 m; therefore, a block of 0.1 × 0.1 × 0.1 m, i.e., a volume of 0.001 m3, and a block of 0.5 × 0.5 × 0.5 m, i.e., a volume of the block of 0.125 m3 is taken as the standard block for evaluating the fragmentation degree, that is, the maximum block volume per unit volume is considered less than or equal to 0.125 m3. The concept of fragmentation degree B is proposed, that is, the ratio of the sum of the volume of all blocks in a unit volume (1 m3) of broken rock between 0.001 m3 and 0.125 m3 to the unit volume. The larger the ratio, the higher the proportion of larger blocks, i.e., the better the integrity of the fractured rock mass; the smaller the ratio, the higher the proportion of fractured blocks, i.e., the worse the integrity of the fractured rock mass. The calculation of block volume per unit volume of fractured rock body requires statistical analysis of the structural surface data in the area, and the statistical data are imported into the rock body model of the corresponding area to restore the structural surface cutting of the fractured rock body. Further, based on the established model, the data such as the total volume of all blocks within the unit volume rock mass between 0.001 m3 and 0.125 m3 are calculated by software analysis, which can transform the qualitative empirical analysis of the degree of rock fragmentation into the quantitative calculation of the degree of fragmentation.
The degree of fragmentation B can be expressed as:
B = V s V
where B is the fragmentation degree, Vs is the total volume of all blocks in the unit volume between 0.001 m3 and 0.125 m3 (m3), and V is the unit volume (m3).
When calculating the fragmentation degree B of an evaluation area, to weaken the boundary effect, i.e., the longer structural surface cut to the boundary of the evaluation unit is easy to produce coexisting blocks with adjacent units and affects the evaluation results, so the evaluation unit volume can be expanded and then averaged to weaken the influence of the boundary effect on the evaluation results.
The classification criteria of fractured rock masses and the corresponding classification of hydro-power envelopes are derived from the size of B; list in Table 1 below.

2.2. Example of Rock Fragmentation Calculation

According to the survey of the structural surface of the Liyang pumped storage power station, the joints, and fissures in the underground cavern surrounding rock are very developed, mainly in steep dip angle, and the joints in slow dip angle are rare, so we select the representative line data among all the measured data of the structural surface of Liyang, and model in Rhino3D software according to the number and production of joints counted on the line. Rhino3D is a NURBS curve-based 3D modeling software developed by Robert McNeel & Associates, Inc. in the United States. It is compatible with most 3D software such as 3D MAX, AutoCAD, MAYA, Softimage, Houdino, and Lightwave because of its ability to draw free curves and surfaces. Therefore, Rhino3D has been widely used in industrial design and scientific modeling fields. Every 10 m is divided into a section for point analysis, and the number of blocks and volume of blocks inside the regional rock mass are counted. Figure 1 shows the three-dimensional diagram of the joint surface of the structural surface of the exploration flat cave and the fragmentation degree of each section is calculated using Equation (1) (Table 2).

2.3. Concept and Determination Method of Occlusion Degree of Fractured Rock Masses

2.3.1. The Shape of the Structure and the Combination of the Relationship

The structure of fractured rock mass is relatively complex, and its deformation and damage are closely related to the environmental stress level. This type of structural rock mass generally shows discontinuous characteristics in stress transfer and deformation evolution under the conditions of no and low surrounding pressure and has obvious structural effects in mechanical properties, i.e., the structural surface within the rock mass has a controlling effect on the deformation and damage of the rock mass.
In order to better describe and study the stability characteristics of this kind of rock structure, this paper proposes the concept of occlusion degree of the broken rock mass. The bite degree of fractured rock mass is evaluated by analyzing the structure of fractured rock mass, the lithological characteristics, and the fugitive surrounding pressure, and the bite failure risk of fractured rock masses in different locations of cavern chambers is assessed. Figure 2 shows the occlusion of the cavity at different locations.
According to the shape of the block, it can be divided into block, slab, prismatic block, and cone block. Among them, the block is a block of approximately equal length in x, y, and z directions. The slate is a block whose length in one of the three directions of x, y, and z is much smaller than the length in the other two directions. Prismatic blocks are blocks whose lengths in one or two of the x, y, and z directions are much smaller than the lengths in the other direction. Cone-shaped blocks have a prismatic shape. The specific rock block shape classification is shown in Figure 3.
Slate blocks are mainly distributed inside rock bodies with sparse joints. Slate blocks are often distributed in areas where there is a dense set of parallel joints, and the rock is cut by the dense parallel joints to form slate blocks. Prismatic blocks are often distributed in areas with multiple sets of dense parallel joints cut into each other, and the rock is cut into prismatic form by multiple sets of joints. Cone-shaped rock masses are mainly distributed in areas with dense and irregular joints.

2.3.2. Lithological Characteristics

The underground plant area has a strong mountain body, and the burial depth of the cave chamber is 200 m–300 m. The stratum involved in the cave chamber surrounding rock is mainly rock chip quartz sandstone with a small amount of muddy siltstone, with hard lithology, and the saturated compressive strength of weakly weathered rock chip quartz sandstone is generally more than 70 MPa, with the maximum reaching 114 MPa, and the Poisson’s ratio is generally 0.22~0.25, and most of them are medium to huge thick layers, and the overall is weakly weathered zone. The surrounding rocks have better lithology and higher strength, so the surrounding rocks are disturbed to produce deformation and damage generally based on the deformation controlled by the rock structure.

2.3.3. Ground Stress and Surrounding Rock Pressure

The deformation and damage characteristics of the rock body are related to its environmental stress level; set σ 3 as the minimum principal stress of the rock body, σ c as the uniaxial compressive strength of the rock, then under the condition of lower environmental stress level, σ 3 1 2 σ c instantly, the deformation and damage of the structure surface have a controlling effect on the rock body; under the condition of higher environmental stress, such as when σ 3 1 2 σ c , the deformation and damage process of the structure surface does not play a dominant role in the rock body.
For example, the ground stress level in Liyang pumped storage power plant area is low, the maximum plane principal stress is 4.3 MPa~6.3 MPa, and the azimuth angle is NW direction (332°~350°); the minimum plane principal stress is 3.3 MPa~4.6 MPa, which belongs to the low environmental stress conditions, so after the surrounding rock is disturbed, the structure face has a strong controlling role in the process of rock deformation and damage.

2.3.4. Weak Structural Surface Characteristics

The deformation and damage to the fractured rock mass are strongly controlled by the structural surface. Therefore, the characteristics of the weak structural surface are also the key influencing factors of the occlusion degree of the fractured rock body. The three main weak structural surfaces in the underground cavern group of the Liyang Pumped Storage Power Station are hard joints without filling, interlayer dislocation surfaces with mud film, and weak structural surfaces with thick mud. The mechanical properties of these three types of weak structural surfaces are weakened in order.

2.3.5. Calculation Method of Occlusion Degree

The degree of occlusion of the broken rock body from the geometric point of view depends firstly on the combination relationship between the blocks, and there are usually edge-edge contact, edge-angle contact, embedded contact, and other types between the blocks, in the three-dimensional diagram of the structural surface, by discriminating the contact type of each block with its contact block and assigning values to each block; edge-edge contact is 1, edge-angle contact is 2, and embedded contact (concave-convex contact) is 3 so that we can get the value of the contact type between the blocks. In this paper, the value of the contact type between blocks is called the effective contact number. Using the simulated annealing algorithm, all blocks are traversed, and the previously calculated contact type values are not repeatedly calculated. Assuming that block 1 is in contact with the surrounding blocks 2, 3, and 4, all blocks in contact with it participate in the calculation when block 1 is calculated, but when block 2 is calculated, the number of contacts with block 1 is not calculated.
Calculate the occlusion degree T according to Equation (2).
T = 1 n Y 2 + 1 n Y 3 ( Y 1 + Y 2 + Y 3 ) × 100 %
where Y1, Y2, and Y3 are the number of edge-edge contact, edge-angle contact, and embedded contact, respectively.
Obviously, the larger the effective contact number of blocks, the better the degree of rock occlusion, and the more sides a certain block makes contact with the surrounding blocks, the more broken the rock body is.
When a large underground cavern is excavated into an arch, the crushed surrounding rock around the cavern will form an occlusion structure, and the model of the crushed rock body occlusion structure is shown in Figure 4 below.
As shown in Figure 4, occlusion is generated between the fractured rock blocks around the cavern to maintain the stability of the structure, and when occlusion failure occurs between the occluded fractured blocks, it leads to blocking destabilization until the occluded stable state is reached again.

2.3.6. Evaluation of Occlusion Degree and Evaluation of the Risk of Block Occlusion Failure in Each Position

From the above study, it can be seen that the occlusion degree is one of the important indexes for judging and evaluating the quality of the fractured rock mass, and also for evaluating the ability of the fractured rock mass to maintain self-stability under the action of gravity or with ground stress and engineering forces. It can be seen that under the same ground stress and lithological conditions, the occlusion degree of the fractured rock mass is closely related to the structural characteristics and weak surface characteristics of the fractured rock mass, so the classification evaluation of the strength of the fractured rock mass occlusion degree proposed by combining these two aspects is shown in Table 3.
After the excavation of the underground chamber, the broken rock forms an occlusion structure, and when there are multiple penetrating structural surfaces, the block will produce a sliding tendency along the structural surface; sometimes the sliding surface is two, and its sliding direction will be consistent with the direction of the combined intersection line of the structural surface, and the sliding inclination is consistent with the inclination of the combined intersection line. Even when the force of the block-producing sliding tendency is gravity, its sliding direction is consistent with the direction of the lowest potential energy sliding surface or the combined intersection line.

3. Multi-Factor Fractured Rock Quality Classification Study based on Fragmentation and Occlusion Degree

3.1. Determination of Evaluation Indexes and Weights of Multi-Factor Fractured Rock Quality Classification

According to the engineering characteristics of fractured rock mass, six main factors affecting the quality classification of fractured rock mass are selected, namely, fracture degree, occlusion degree, rock mass RQD, rock uniaxial saturation compressive strength, rock mass permeability, and structural surface inclination angle of fractured rock mass in the cave as evaluation indexes, which are easily obtained in the field or through experiments. The quality evaluation system of fractured rock masses is established, and the quality classification of fractured rock masses is determined by different index assignment mechanisms. The fuzzy judgment matrix of the main factors affecting the quality evaluation of fractured rock masses is shown in Table 4.
The final geometric mean of the fuzzy weight components obtained according to the above method, i.e., the weight vector containing the deterministic values, is:
W = [0.3526, 0.1020, 0.2383, 0.1712, 0.1020, 0.0339]
Considering the subjective nature of decision making and the complexity of objective factors, it is necessary to test the consistency of the judgment matrix with the consistency indexes.
C I = λ max n n 1
where λ max is the maximum characteristic root of the judgment matrix and n is the order of the judgment matrix.
In order to measure whether the judgment matrix of different orders has satisfactory consistency, it is necessary to introduce the average random consistency index RI value of the judgment matrix. The RI values of the judgment matrix of orders 1 to 15 are listed in Table 5 below. When the order is greater than 2, the judgment matrix is considered to have satisfactory consistency when the consistency ratio CR = CI/RI < 0.10.
The CI = 0.0403 can be obtained by calculation, check Table 5, RI = 1.26 for n = 6, CR = 0.0403/1.26 = 0.0319 < 0.10, which indicates that the judgment matrix has satisfactory consistency and does not need to be adjusted.
That is, the corresponding weights of fragmentation, occlusion, rock RQD (%), rock uniaxial compressive strength, rock permeability, and the inclination angle of joints in the cavern of broken rock tendency are 35.26%, 10.20%, 23.83%, 17.12%, 10.20%, and 3.39%, respectively.

3.2. Classification and Evaluation Index System of Fractured Rock Quality

The evaluation indexes of fractured rock quality and their weights are determined above, which provide the basis for the construction of the evaluation system of fractured rock quality afterward. Now the evaluation system of fractured rock quality is further normalized, which is shown in Table 6.
The total evaluation score for each unit of the fractured rock mass can be derived from the above table, according to the following equation.
S = i = 1 8 a i × s i
where S is the total score of each unit, Si is the score obtained from the i-th index of the unit, and ai is the weight corresponding to the i-th index of the unit. After the total score is obtained, the quality level of the fractured rock mass is determined according to Table 7.

4. Analysis of the Damage Mode of the Surrounding Rock of Large Underground Caverns in Broken Rock Masses

4.1. Structure-Controlled Damage

When the strength of the surrounding rock is much greater than the stress it is subjected to, the deformation damage mode is mainly structural face control type; such deformation damage is mainly in the role of gravity, as the block along the structural face of the prograde slip, there is generally little plastic flow. Among them, the deformation and damaged form of the surrounding rock of the inlaid fractured structure are broken loose; broken loose is the main form of deformation and damage of a fractured structure rock body. Sidewall parts are prone to slip deformation along the weak structural surface to drop blocks and weak interlayer extrusion deformation, mainly by a group of good penetration of the smooth dip medium and steep dip joints (or faults) and the combination of counter dip joints cut to block slip destabilization. Examples of structure-controlled damage of rock masses are shown in Figure 5.

4.2. Stress-Controlled Damage

Stress-controlled damage mode refers to the high ground stress conditions due to excavation caused by the redistribution of the surrounding rock stress, under the action of secondary stress, the surrounding rock cracking, generating new cracks, new cracks expansion, and penetration, resulting in damage to the surrounding rock and not necessarily producing slip rock damage. The specific performance of the damage mode is mainly: open fracture, peeling, plate cracking, rock explosion, shear damage, etc. The main form of splitting and peeling is sheet gang, which generally occurs in the rock body of the more complete surrounding rock, and is the tangential stress concentration caused by the splitting damage, the mechanism of pressure to tensile cracking, that is, the transverse strain exceeds the ultimate tensile strain of the rock body followed by splitting, the main location for the cavern side walls or arch shoulder stress concentration area. Examples of stress-controlled damage of rock masses are shown in Figure 6.

4.3. Stress–Structure Control Composite Damage

Stress–structure-controlled damage is in between the above two types, and it is the damage caused by the influence of structural surface and stress adjustment at the same time. The stress–structure-controlled damage in the study area is mainly in the form of bending bulge and fault misalignment, in which the bending bulge mainly occurs in the side wall area, and the internal cavernous steep dip joints exist in the surrounding rock, and the surrounding rock is deformed and ruptured outward along the external cavernous steep dip joints under the effect of internal extrusion.
The sliding and destabilization collapse of the rock body along the fault surface, alteration veins, and other weak zones is also a common stress–structure controlled deformation damage of the underground chamber group of the Liyang hydropower station, which is influenced by the fault; the upper and lower plates of the rock body are more broken, secondary joints are developed, the stress is released after the excavation of the chamber, and the outer rock body is deformed and damaged towards the prolapse surface. Examples of stress–structure control composite damage of rock masses are shown in Figure 7.

5. Study on the Deformation and Damage Criteria of Large Underground Cavern Chamber in Fractured Rock Body

5.1. Deformation Criterion of Underground Cavern Chamber Surrounded by Fractured Rock Body

For the underground cavern surrounding the rock of the broken rock body, although its stability criterion is related to the deformation value and deformation rate, the determining factor should be the tendency of increasing or decreasing deformation rate, i.e., deformation acceleration. The ratio between the next and the previously measured value of the deformation rate indicates the tendency to increase or decrease the deformation rate of the surrounding rock. At the beginning of the support deformation, the rate ratio should not only be less than 1.0 (negative acceleration), and with the support of the layered application, this ratio should quickly drop to a threshold value below and gradually tend to zero.
The measured deformation rate (or deformation value) of the surrounding rock is used to reflect the overall geological and construction conditions of the measured section of the tunnel, making full use of the measured “ratio of surrounding rock deformation rate” of each project for stability discriminations. On this basis, make full use of the deformation monitoring data of the typical tunnel project surrounding the rock support system to select several typical sections from the unstable state that have been transformed into a stable state, as typical mechanical problems of tunnel engineering using mathematical and statistical methods to derive the threshold value of the ratio of deformation rate judgment.
Based on the above principles and known conditions, the deformation rate ratio criterion (empirical hypothesis) is proposed to be applied to the discriminatory method for the stability of the surrounding rock at the initial stage of the support of the fractured underground cavern, which is: the ratio of the deformation rate v of the surrounding rock within 24 h after the pre-designed initial support is fully applied and the maximum value of the measured deformation rate v0 (usually the initial measurement value) of the surrounding rock in the section. If the ratio is less than the threshold value ([v/v0] = 5%) of the ratio derived from the typical measurement data of several sections that may be destabilized and indeed transformed into a stable state, the section is expected to stabilize the surrounding rock. Deformation rate ratio criterion as formula 5.
v/v0 < [v/v0] = 5%
The rate of deformation, then the application of the criterion that the measured rate of deformation ratio of about 50% said that the rate of deformation is slightly reduced from the stability of the surrounding rock is far away; the ratio of about 20% said that the rate of deformation is significantly reduced and it needs to strengthen the support or there is still the possibility of turning into instability; the ratio of 5% to 10% will tend to stabilize, but construction should still pay attention to monitoring and measuring so that the ratio has been reduced to within 5% to prevent accidental rebound.
Considering the complex and variable geological conditions, especially when the surrounding rock is obviously affected by groundwater conditions, the deformation rate ratio of less than 5% should continue to monitor and measure until the surrounding rock is completely stable in accordance with the specifications of the deformation rate ratio criterion of the initial measurement value of the supplementary criterion. When one of the following conditions occurs in the initial measurement, it should immediately strengthen the support: (1) the maximum value of measured deformation rate of surrounding rock v0 > 20 mm/d; (2) the measured deformation value of one day reaches the allowed deformation value of 1/5 to 1/4 or more; and (3) the sprayed concrete appears a large number of obvious cracks.

5.2. Safety Criteria for the Strength of the Underground Cavern Enclosure of Broken Rock Body

In identifying the strength criterion of an underground cavern chamber, it is necessary to fully consider the cavern chamber surrounding rock conditions, i.e., groundwater conditions and the location of surrounding rock distribution to propose the safety criterion of surrounding rock strength. Define the safety coefficient of the surrounding rock evaluation unit as the ratio of the maximum principal stress that the unit can withstand to the current maximum principal stress of the unit, where the maximum principal stress that the unit can withstand is calculated according to the strength criterion, and the safety coefficient of the surrounding rock strength criterion of the underground cavern chamber of the fractured rock body is shown in Table 8 below.

6. Study on Inversion of Mechanical Parameters and Deformation and Damage Characteristics of Fractured Rock Masses

In this paper, taking the underground cavern group of the Liyang pumped storage power station as an example, the mechanical parameters of different fractured rock bodies are solved by using displacement inverse analysis method through real-time monitoring information of stress and deformation monitoring sections in different fractured rock body distribution areas. The model area starts at 443 m in x-direction and ends at 609 m, i.e., 166 m long; starts at 83 m in y-direction and ends at 333 m, i.e., 250 m wide; starts at 116 m in z-direction and ends at 242 m, i.e., 126 m high, and the top arch of the model is about 240 m from the ground. Next, 80°, F54: yield 35°~55°/NW∠55°~60°, F57: yield 310°/NE∠70°, F88: yield 275°~290°/SW∠80°~85°. The 3D geometry model and the exported model to 3DEC are shown in Figure 8 and Figure 9.
In this paper, the parameter inversion simulation calculation uses three types of rock enclosures with different degrees of fragmentation (III-2Relative fractured rock, IV-1Fractured rock, IV-2Extremely fractured rock). According to the geological conditions revealed by the excavation of the underground cavern group of the Liyang Pumped Storage Power Station, the type of enclosing rock is first determined, and the parameter inversion is carried out according to the monitoring information before and after the corresponding support. In this simulation calculation, the support phase adopts the deployment system anchor support, and a set of anchor rods is deployed every 6 m along the longitudinal direction of the cavern. The specific anchor arrangement is shown in Figure 10 below. The anchor rod selection parameters are shown in Table 9 below.
In 3DEC discrete element software, a fixed displacement boundary is set at the bottom to limit the deformation of the bottom; The displacement boundary and stress boundary are set at the front, back, left, and right of the model, and the initial geo-stress is set inside the model. Under engineering conditions, the initial geo-stress is mainly generated by gravity. The vertical stress is converted by gravity, the horizontal stress is taken as 0.5 times the vertical stress, and the stress value increases linearly with depth. The rock mass model is set as an elastoplastic Mohr–Coulomb model and the structural plane is set as a Coulomb slip model.
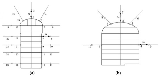
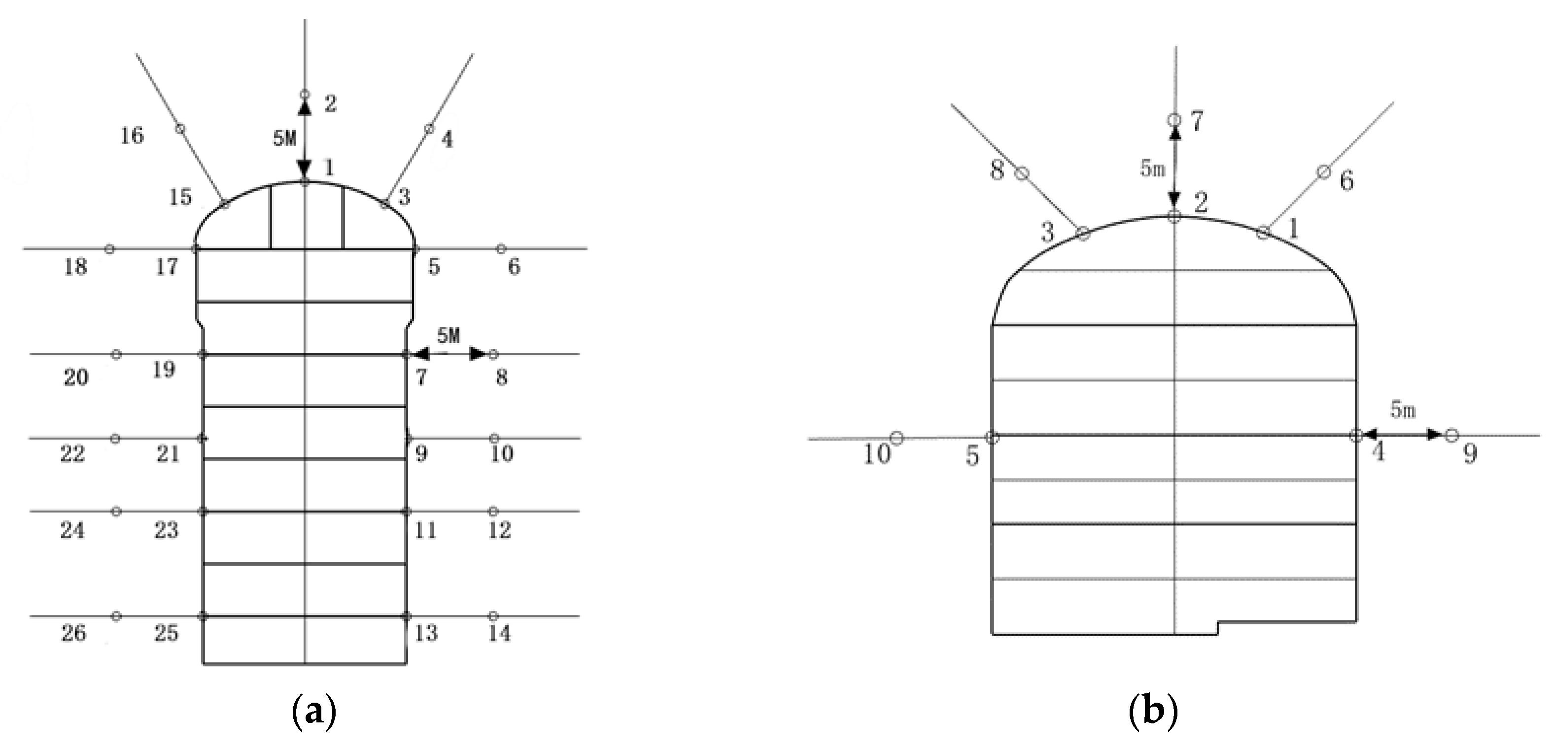
In the model calculation, 5 monitoring surfaces are arranged in the main powerhouse, 25 monitoring points are arranged in each monitoring surface, 5 monitoring surfaces are arranged in the main transformer room, and 10 monitoring points are arranged in each monitoring surface. The layout of monitoring points is shown in Figure 11 below, and the layout of monitoring surfaces is shown in Table 10 and Table 11 below.
The key to underground cavern enclosure damage prediction is to calculate the parameters, at present, the physical–mechanical parameters of rock masses are mainly taken by the test method, engineering analogy method, and displacement inverse analysis method, due to the factors of personality and number of sampling points of the test method, it is difficult to completely represent the parameters of different locations, engineering analogy method needs a lot of relevant engineering experience, therefore, displacement inverse analysis is a better method to determine the physical–mechanical parameters of rock masses. According to the structural characteristics of the fractured rock masses in Liyang, the monitoring information of the excavation and support process and the numerical analysis method are used to invert the physical and mechanical parameters of different fractured rock masses. Therefore, it is necessary to compare the actual engineering monitoring situation with the trial calculation results, and the trial calculation results can be used only when they are more in line with the actual situation. The parameters selected for this simulation are determined by combining the actual situation of the area and the corresponding trial calculation results. Three types of surrounding rocks (IV-1, IV-2, and IV-3) are used for this parameter inversion simulation calculation, and three sets of parameters are selected for each surrounding rock for numerical calculation, and the most suitable parameters are selected only after comparing with the actual monitoring values.
According to the safety monitoring report of the Liyang underground powerhouse, the monitoring sections C1, C2, F1, C3 and C4 of the Liyang underground powerhouse correspond to the monitoring sections A1, A2, A3, A4 and A5 in the numerical calculation, respectively. The displacement monitoring values are shown in Table 12 below. By comparing the actual monitoring values at the crown of each section with the displacement monitoring values at the crown of each section through numerical simulation, the mechanical parameters of different broken rock masses are obtained as shown in Table 13.
The evolution characteristics of the plastic zone are analyzed by comparing the supported and unsupported conditions of type III-2 surrounding rock at the A4 monitoring surface; see Figure 12 and Figure 13.
Analysis of the cavern chamber excavation after broken surrounding rock deformation and plastic zone evolution characteristics: excavation without support in the case of the main plant excavation process, the cavern perimeter mainly shear deformation, etc., the initial excavation vault surrounding rock only a small part of plastic deformation, surrounding rock plastic damage is mainly shear damage, the stability of the rock around the vaulted cavern is good, later excavation plastic zone mostly distributed in the vicinity of the left and right side walls, side walls plastic zone area expanded, plastic zone depth increased, plastic damage type to shear damage, part of the tensile damage.
In the case of timely support after excavation, there is no plastic damage in the vault and bottom slab of the main plant, the depth of the plastic zone in the sidewall area is reduced, and the range is reduced, the plastic zone is scattered compared with the excavation state, and the area of the plastic zone distribution area decreases a lot compared with the excavation state. The penetration of the plastic zone in the sidewall area is suppressed, which can effectively improve the deformation resistance of the cavity surrounding the rock of the main plant and slow down the effect of the high sidewall of the main plant, which is sufficient to prove that the main plant and the main transformer cavity are supported with significant effect.

7. Conclusions

The purpose of this paper is to propose a more accurate discrimination method and quality classification of fractured rock masses. This work allows for several conclusions as follows:
(i) Combining the structure and occurrence characteristics of fractured rock masses, the concepts of rock fragmentation and occlusion degree are proposed, achieving a quantitative evaluation of the degree of fragmentation of fractured rock masses;
(ii) Based on the engineering characteristics of fractured rock masses, six main factors affecting the quality classification of fractured rock masses were selected as evaluation indicators, and a quality classification method considering multiple factors of fractured rock masses was proposed;
(iii) Summarized the three main failure modes of fractured rock masses, and proposed deformation and strength criteria for the surrounding rock of fractured rock caverns;
(iv) Using discrete element modeling combined with on-site examples to numerically simulate the deformation characteristics and plastic zone evolution characteristics of surrounding rock after the excavation of fractured rock caverns.
These studies may provide a reference for the future construction and support measures of the fractured rock mass. A limitation of this study is that the proposed multi-factor fractured rock mass classification still requires more samples to verify its reliability. In future work, it is hoped that the applicability of deformation and strength criteria for the surrounding rock of fractured rock caverns can be studied more widely.

Author Contributions

Conceptualization, F.Z. and N.S.; methodology, C.L.; software and formal analysis, C.L. and M.D.; investigation and writing—review and editing, Z.L. All authors have read and agreed to the published version of the manuscript.

Funding

The authors would like to thank the CEC’s major science and technology projects, Fund Project No. (DJ-ZDXM-2015-22).

Data Availability Statement

The data for this study was designed for a nationally important hydroelectric facility, so we are sorry that we cannot provide public data.

Acknowledgments

Thank you very much to Hu Dake and Hu Mengjiao for their support of this research project, for conducting a lot of preliminary investigation and collection work, and providing good article ideas. Thank you also to Li Shanggao for his review and suggestions on the article.

Conflicts of Interest

All authors disclosed no relevant conflict of interest.

References

  1. Martion, J.B.; Chandler, N.A. Excavation-induced damage studies at the underground research laboratory. Int. J. Rock Mech. Min. Sci. 2004, 41, 1413–1426. [Google Scholar] [CrossRef]
  2. Bieniawski, Z.T. Rock mass classifications in rock engineering. In Exploration for Rock Engineering; Proceedings of the symposium; AA Balkema: Cape Town, South Africa, 1976; pp. 97–106. [Google Scholar]
  3. Bieniawski, Z.T. Geomechanics classification. In Engineering Rock Mass Classifications; Wiley: New York, NY, USA, 1989; pp. 51–69. [Google Scholar]
  4. Dong, S.; Yi, X.; Feng, W. Quantitative Evaluation and Classification Method of the Cataclastic Texture Rock Mass Based on the Structural Plane Network Simulation. Rock Mech. Rock Eng. 2019, 52, 1767–1780 . [Google Scholar] [CrossRef]
  5. Chen, Q.; Yin, T. Integration of homogeneous structural region identification and rock mass quality classification. R. Soc. Open Sci. 2019, 6, 181353. [Google Scholar] [CrossRef] [PubMed]
  6. Azadmehr, A.; Jalali, S.M.E.; Pourrahimian, Y. An Application of Rock Engineering System for Assessment of the Rock Mass Fragmentation: A Hybrid Approach and Case Study. Rock Mech. Rock Eng. 2019, 52, 4403–4419. [Google Scholar] [CrossRef]
  7. Shang, Y.; Chen, M.X.; Wang, K.Y. Application comparison of engineering geological rock group and rock mass classification in rock engineering. Chin. J. Rock Mech. Eng. 2013, 32, 3205–3214. [Google Scholar]
  8. Sen, Z.; Sadagah, B.H. Modifified rock mass classifification system by continuous rating. Eng. Geol. 2003, 67, 269–280. [Google Scholar] [CrossRef]
  9. Cai, M.; Kaiser, P.K.; Uno, H.; Tasaka, Y.; Minami, M. Estimation of rock mass deformation modulus and strength of jointed hard rock masses using the GSI system. Int. J. Rock Mech. Min. Sci. 2004, 41, 3–19. [Google Scholar] [CrossRef]
  10. Palmström, A. Measurements of and correlations between block size and rock quality designation (RQD). Tunn. Undergr. Space Technol. 2005, 20, 362–377. [Google Scholar] [CrossRef]
  11. Zhang, L.; Einstein, H.H. Using RQD to estimate the deformation modulus of rock masses. Int. J. Rock Mech. Min. Sci. 2004, 41, 337–341. [Google Scholar] [CrossRef]
  12. Zheng, J.; Wang, X.; Lü, Q.; Liu, J.; Guo, J.; Liu, T.; Deng, J. A contribution to relationship between volumetric joint count (Jv) and rock quality designation (RQD) in three-dimensional (3-D) space. Rock Mech. Rock Eng. 2020, 53, 1485–1494. [Google Scholar] [CrossRef]
  13. Koutsoftas, D.C. Discussion of ‘Rock quality designation (RQD): Time to rest in peace’. Can. Geotech. J. 2017, 54, 1–9. [Google Scholar] [CrossRef]
  14. Xia, L.; Zheng, Y.; Yu, Q. Estimation of the REV size for blockiness of fractured rock masses. Comput. Geotech. 2016, 76, 83–92. [Google Scholar] [CrossRef]
  15. Aydan, Ö.; Ulusay, R.; Tokashiki, N. A new rock mass quality rating system: Rock mass quality rating (RMQR) and its application to the estimation of geomechanical characteristics of rock masses. Rock Mech. Rock Eng. 2014, 47, 1255–1276. [Google Scholar] [CrossRef]
  16. Justo, J.L.; Justo, E.; Azañón, J.M.; Durand, P.; Morales, A. The Use of Rock Mass Classifification Systems to Estimate the Modulus and Strength of Jointed Rock. Rock Mech. Rock Eng. 2010, 43, 287–304. [Google Scholar] [CrossRef]
  17. Kawamoto, T.; Ichikawa Kyoya, T. Deformation and fracturing behaviour of discontinuous rock mass and damage mechanics theory. Int. J. Numer. Anal. Met. 2010, 12, 1–30. [Google Scholar] [CrossRef]
  18. Fan, L.; Yi, X.W.; Ma, G. Numerical manifold method (NMM) simulation of stress wave propagation through fractured rock mass. Int. J. Appl. Mech. 2013, 5, 1350022. [Google Scholar] [CrossRef]
  19. Zhou, X.; Fan, L.; Wu, Z. Effects of microfracture on wave propagation through rock mass. Int. J. Geomech. 2017, 17, 04017072. [Google Scholar] [CrossRef]
  20. Qian, Q.H. The characteristic scientific phenomena of engineering response to deep rock mass and the implication of deepness. J. East China Inst. Technol. 2004, 27, 1–5. (In Chinese) [Google Scholar]
  21. Shemyakin, E.I.; Fisenko, G.L.; Kurlenya, M.V.; Oparin, V.N.; Reva, V.N.; Glushikhin, F.P.; Kuznetsov, Y.S. Zonal disintegration of rocks around underground workings, Part 1: Data of in situ observations. Sov. Min. Sci. 1986, 22, 157–168. [Google Scholar] [CrossRef]
  22. Einstein, H.H.; Veneziano, D.; Baecher, G.B.; O’Reilly, K.J. The effect of discontinuity persistence on rock slope stability. Int. J. Rock Mech. Min. Sci. 1983, 20, 227–236. [Google Scholar] [CrossRef]
  23. Wang, C.; Tannant, D.D.; Lilly, P.A. Numerical analysis of the stability of heavily jointed rock slopes using PFC2D. Int. J. Rock Mech. Min. Sci. 2003, 40, 415–424. [Google Scholar] [CrossRef]
  24. Kozicki, J.; Donze’, F.V. A new open-source software developed for numerical simulations using discrete modeling methods. Comp. Meth Apply Mech. Eng. 2008, 197, 4429–4443. [Google Scholar] [CrossRef]
  25. Kozicki, J.; Donze’, F.V. YADE-OPEN DEM. An open-source software using a discrete element method to simulate granular material. Eng. Comput. 2009, 26, 786–805. [Google Scholar] [CrossRef]
  26. Mas Ivars, D.; Pierce, M.E.; Darcel, C.; Reyes-Montes, J.; Potyondy, D.O.; Young, R.P.; Cundall, P.A. The synthetic rock mass approach for jointed rock mass modelling. Int. J. Rock Mech. Min. Sci. 2011, 48, 219–244. [Google Scholar] [CrossRef]
  27. Elmouttie, M.K.; Poropat, G.V. A method to estimate in situ block size distribution. Rock Mech. Rock Eng. 2012, 45, 401–407. [Google Scholar] [CrossRef]
  28. Young, D.S.; Hoerger, S.F. Probabilistic and deterministic key block analyses. In Proceedings of the 30th U.S. Symposium on Rock Mechanics, Morgantown, WV, USA, 19–22 June 1989; Khair, A.W., Ed.; OnePetro: Richardson, TX, USA, 1989; pp. 227–235. [Google Scholar]
  29. Mauldon, M. Keyblock probabilities and size distributions: A first model for impersistent 2-D fractures. Int. J. Rock Mech. Min. Sci. Geomech. Abstr. 1995, 32, 575–583. [Google Scholar] [CrossRef]
  30. Vermeer, P.A.; Ruse, N. Die stabilitat der tunnelortsbrust in homogenem baugrund. Geotechnik 2001, 24, 186–193. [Google Scholar]
  31. Kim, S.H.; Tonon, F. Face stability and required support pressure for TBM driven tunnels with ideal face membrane—Drained case. Tunnel Undergr. Space Technol. 2010, 25, 526–542. [Google Scholar] [CrossRef]
  32. Melis, M.J.; Medina, L.E. Discrete numerical model for analysis of earth pressure balance tunnel excavation. J. Geotech. Geoenviron. Eng. 2005, 131, 1234–1242. [Google Scholar]
  33. Chen, R.P.; Tang, L.J.; Ling, D.S.; Chen, Y.M. Face stability analysis of shallow shield tunnels in dry sandy ground using the discrete element method. Comput. Geotech. 2011, 38, 187–195. [Google Scholar] [CrossRef]
Figure 1. Three-dimensional diagram of the joint surface of the structural surface of the exploration flat cave. (a) 4-1#; (b) 2-2#; (c) lys04005#.
Figure 1. Three-dimensional diagram of the joint surface of the structural surface of the exploration flat cave. (a) 4-1#; (b) 2-2#; (c) lys04005#.
Applsci 13 06964 g001
Figure 2. Elevation of the main plant irrigation and drainage corridor in the surrounding rock structure characteristics. (a) Good occlusion; (b) poor occlusion.
Figure 2. Elevation of the main plant irrigation and drainage corridor in the surrounding rock structure characteristics. (a) Good occlusion; (b) poor occlusion.
Applsci 13 06964 g002
Figure 3. Rock mass shape classification chart.
Figure 3. Rock mass shape classification chart.
Applsci 13 06964 g003
Figure 4. Model diagram of the occluded arch of the broken rock.
Figure 4. Model diagram of the occluded arch of the broken rock.
Applsci 13 06964 g004
Figure 5. The top arch and the side wall surrounding rock block collapsed during the excavation of the main plant.
Figure 5. The top arch and the side wall surrounding rock block collapsed during the excavation of the main plant.
Applsci 13 06964 g005
Figure 6. Plastic deformation of the top arch footing surrounding rock during the excavation of the main plant.
Figure 6. Plastic deformation of the top arch footing surrounding rock during the excavation of the main plant.
Applsci 13 06964 g006
Figure 7. Inbound traffic cave rock vein collapse phenomenon.
Figure 7. Inbound traffic cave rock vein collapse phenomenon.
Applsci 13 06964 g007
Figure 8. Rhino3D model diagram of fault and plant location distribution.
Figure 8. Rhino3D model diagram of fault and plant location distribution.
Applsci 13 06964 g008
Figure 9. Rhino3D plant model drawing and section.
Figure 9. Rhino3D plant model drawing and section.
Applsci 13 06964 g009
Figure 10. Pictured: 3DEC anchor model 3D view (left) and main view (right).
Figure 10. Pictured: 3DEC anchor model 3D view (left) and main view (right).
Applsci 13 06964 g010
Figure 11. Layout of monitoring points. (a) Layout of monitoring points in main powerhouse; (b) Layout of monitoring points in main transformer room.
Figure 11. Layout of monitoring points. (a) Layout of monitoring points in main powerhouse; (b) Layout of monitoring points in main transformer room.
Applsci 13 06964 g011
Figure 12. Map of plastic zone under unsupported condition in section A4; (a) Step 7 excavation plastic zone map; (b) Step 11 excavation plastic zone map.
Figure 12. Map of plastic zone under unsupported condition in section A4; (a) Step 7 excavation plastic zone map; (b) Step 11 excavation plastic zone map.
Applsci 13 06964 g012
Figure 13. Map of plastic zone under-supported condition in section A4; (a) Step 7 excavation plastic zone map; (b) Step 11 excavation plastic zone map.
Figure 13. Map of plastic zone under-supported condition in section A4; (a) Step 7 excavation plastic zone map; (b) Step 11 excavation plastic zone map.
Applsci 13 06964 g013
Table 1. Classification table of fractured rock.
Table 1. Classification table of fractured rock.
Fractured Rock ClassificationThe Degree of Fragmentation Corresponding
Hydropower Enclosure Classification
Relative fractured rock0.60~0.80III2
Fractured rock0.40~0.60IV1
Extremely fractured rock0.20~0.40IV2
Dispersed body0~0.20V
Table 2. Calculation results of surrounding rock fragmentation of exploration flat cave in Liyang pumped storage power station.
Table 2. Calculation results of surrounding rock fragmentation of exploration flat cave in Liyang pumped storage power station.
Length of
Extension/m
4-1#2-2#lys04005#
The Degree of FragmentationFractured Rock ClassificationThe Degree of FragmentationFractured Rock ClassificationThe Degree of FragmentationFractured Rock Classification
0 m~10 m0.76Relative
fractured rock
0.44Extremely
fractured rock
0.78Relative
fractured rock
10 m~20 m0.49Fractured rock0.72Relative
fractured rock
0.46Extremely
fractured rock
20 m~30 m0.54Fractured rock0.76Relative
fractured rock
0.70Relative
fractured rock
30 m~40 m0.74Relative
fractured rock
0.78Relative
fractured rock
0.75Relative
fractured rock
40 m~50 m0.71Relative
fractured rock
0.72Relative
fractured rock
0.78Relative
fractured rock
Table 3. Classification evaluation table of occlusion degree.
Table 3. Classification evaluation table of occlusion degree.
Fractured rock
classification
Relative fractured rockFractured rockDispersed body
Non-filled hard structural surfaceMud-laden soft
structural surface
Degree of occlusionStrong occlusion Moderate occlusionWeak occlusionNo occlusion
Table 4. Fuzzy judgment matrix of fractured rock quality influence factor.
Table 4. Fuzzy judgment matrix of fractured rock quality influence factor.
The Degree of FragmentationDegree of OcclusionRQDUniaxial Compressive Strength of RockRock PermeabilityFractured Rock tends to Dip in the Cave Joints
The degree of
fragmentation
132337
Degree of occlusion0.333310.50.333314
RQD0.521236
Uniaxial compressive strength of rock0.3330.5125
Rock permeability0.333310.33330.514
Fractured rock tends to dip in the cave joints0.14280.250.16660.20.251
Table 5. Average random consistency index RI values.
Table 5. Average random consistency index RI values.
n123456789101112131415
RI000.520.891.121.261.261.411.461.491.521.541.561.581.59
Table 6. Fractured rock quality evaluation system table.
Table 6. Fractured rock quality evaluation system table.
Evaluation
Indicators
Indicator WeightsAttribute ProfileAssigning Points
The degree of
fragmentation
35.26%40~60%90
60~80%70
80~90%60
>90%40
Degree of
occlusion
10.20%Strong occlusion90
Moderate occlusion80
Weak occlusion70
No occlusion40
RQD (%)23.83%30~4090
20~3080
0~2060
040
Uniaxial compressive strength of rock17.12%>70 MPa100
40 MPa~70 MPa80
15 MPa~40 MPa60
<15 MPa40
Rock permeability10.20%q ≤ 1 Lu90
1 < q < 10 Lu80
q ≥ 10 Lu60
Fractured rock tends to dip in the cave joints3.39%dip < 12°90
dip 12°~45°80
dip 45°~60°60
dip > 60°40
Table 7. Classification and criteria for the quality of broken rock.
Table 7. Classification and criteria for the quality of broken rock.
Quality LevelBetter Quality Fractured Rock MassRelatively Poor Quality Fractured RockPoor Quality Fractured Rock Very Poor Quality
Broken Rock Mass
Total Score80 ≤ S70 ≤ S ≤ 8070 ≤ S ≤ 60S < 60
Table 8. Safety coefficients for safety criteria for the strength of the surrounding rock in underground caverns of fractured rock bodies.
Table 8. Safety coefficients for safety criteria for the strength of the surrounding rock in underground caverns of fractured rock bodies.
Surrounding Rock LocationFactor of Safety for the Strength of the
Surrounding Rock for General Conditions
Factor of Safety for the Strength of the Surrounding Rock Severely Affected by Groundwater
StableLess StableInstabilityStableLess StableInstability
Top arch>1.301.00~1.30<1.00>1.251.00~1.25<1.00
Sidewalls>1.251.00~1.25<1.00>1.201.00~1.20<1.00
Table 9. Mechanical parameters of anchor rods.
Table 9. Mechanical parameters of anchor rods.
Diameterd/mmAnchor Length/mModulus of
Elasticity/E/GPa
Cement Slurry Stiffness/MPaGrouting Bond Strength/KN/m
25.008.00210.00300.00500.00
Table 10. Monitoring section layout of main powerhouse.
Table 10. Monitoring section layout of main powerhouse.
Monitoring Surface No.Station
A1CZ0-20
A2CZ0+40
A3CZ0+65
A4CZ0+90
A5CZ0+140
Table 11. Monitoring section layout of main transformer tunnel.
Table 11. Monitoring section layout of main transformer tunnel.
Monitoring Surface No.Station
B1CZ0-38
B2CZ0-88
B3CZ0-145
Table 12. Displacement monitoring of monitoring section.
Table 12. Displacement monitoring of monitoring section.
Actual Monitoring SurfaceC1C2F1C3C4
Displacement value (cm)1.801.101.722.302.67
Simulated
monitoring section
A1A2A3A4A5
Displacement value (cm)1.141.101.812.534.42
Table 13. Mechanical parameters of fractured rock mass obtained by inversion.
Table 13. Mechanical parameters of fractured rock mass obtained by inversion.
Rock Mass
Category
Deformation Moduluse (GPa)Poisson’s
Ratio
Shear StrengthCompressive Strength (MPa)Tensile Strength (MPa)
f’C’ (MPa)
III-28.000.260.800.7040.001.50
IV-15.000.280.500.5020.001.00
IV-24.000.300.400.3010.000.75
Disclaimer/Publisher’s Note: The statements, opinions and data contained in all publications are solely those of the individual author(s) and contributor(s) and not of MDPI and/or the editor(s). MDPI and/or the editor(s) disclaim responsibility for any injury to people or property resulting from any ideas, methods, instructions or products referred to in the content.

Share and Cite

MDPI and ACS Style

Sun, N.; Liu, C.; Zhang, F.; Dong, M.; Li, Z. Accurate Identification of Broken Rock Mass Structure and Its Application in Stability Analysis of Underground Caverns Surrounding Rock. Appl. Sci. 2023, 13, 6964. https://doi.org/10.3390/app13126964

AMA Style

Sun N, Liu C, Zhang F, Dong M, Li Z. Accurate Identification of Broken Rock Mass Structure and Its Application in Stability Analysis of Underground Caverns Surrounding Rock. Applied Sciences. 2023; 13(12):6964. https://doi.org/10.3390/app13126964

Chicago/Turabian Style

Sun, Ning, Chang Liu, Faming Zhang, Menglong Dong, and Zinan Li. 2023. "Accurate Identification of Broken Rock Mass Structure and Its Application in Stability Analysis of Underground Caverns Surrounding Rock" Applied Sciences 13, no. 12: 6964. https://doi.org/10.3390/app13126964

APA Style

Sun, N., Liu, C., Zhang, F., Dong, M., & Li, Z. (2023). Accurate Identification of Broken Rock Mass Structure and Its Application in Stability Analysis of Underground Caverns Surrounding Rock. Applied Sciences, 13(12), 6964. https://doi.org/10.3390/app13126964

Note that from the first issue of 2016, this journal uses article numbers instead of page numbers. See further details here.

Article Metrics

Back to TopTop