Multibody Dynamics Simulation and Vibration Test for High Clearance Orchard Sprayer
Abstract
:1. Introduction
2. Materials and Methods
2.1. Machines and Modeling
2.2. Static Simulation Test Design
2.2.1. Full Load Bending Condition
2.2.2. Ultimate Torsional Condition
2.3. Modal Simulation Test Design
2.4. Transient Simulation Test Design
2.4.1. Simplification of the Tire Model
2.4.2. The Setting of the Wheel Contact with the Ground
2.4.3. Determination of the Basic Load
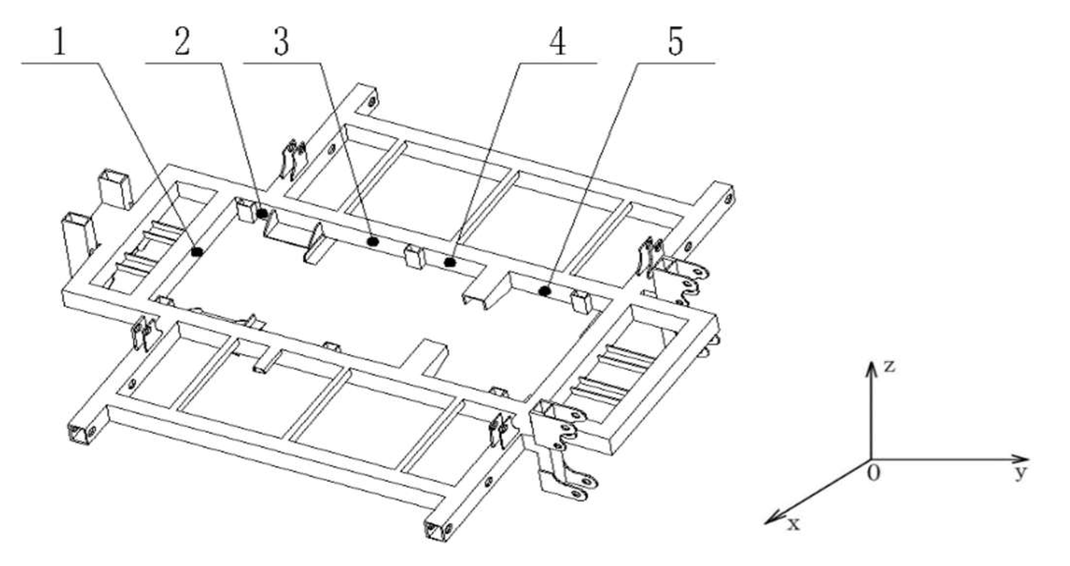
2.5. Vibration Test Design
The Arrangement of Measurement Points
3. Results
3.1. Static Simulation Result
3.2. Modal Simulation Result
3.3. Transient Dynamics Analysis of Sprayer Frame
3.4. Vibration Test Results
4. Discussion
- 1.
- The effect of engine vibration frequency on the frame
- 2.
- Effect of step excitation on spray bar deformation
5. Conclusions
- (1)
- Static simulation test results show that, when a load was applied 1.5 times, the maximum concentrated stress of the frame under static full load condition was 214.31 MPa, and the maximum concentrated stress of the frame under ultimate torsion condition was 309 MPa. The values are all less than the permissible stress of 345 MPa for the frame material, indicating that there are no strength defects in the whole vehicle.
- (2)
- The results of the dynamics simulation tests show that, under the combined effect of 1.5 times the load and step excitation, the maximum concentrated stress in the frame is 266.2 MPa, which is also less than the permissible stress in the frame material. The overall displacement variation of the spray bar shows a gradual decrease in peak value, which is consistent with the law of spray boom displacement variation under step excitation. This proves that the simplified model of tire and ground is correct. In the X, Y, and Z directions, the displacement pattern at the end of the spray bar is similar to that of a sine, but the peak of the displacement is gradually decreasing.
- (3)
- The modal simulation test results show that the inherent frequency of the whole vehicle is closely distributed (2.1–14.35 Hz), through the vibration test measurement to obtain the high clearance sprayer’s engine vibration frequency mainly at 30 Hz and 80 Hz, the whole machine inherent frequency and engine vibration frequency difference is large, which means that the sprayer will not occur resonance phenomenon.
Author Contributions
Funding
Institutional Review Board Statement
Informed Consent Statement
Data Availability Statement
Acknowledgments
Conflicts of Interest
References
- Lin, L.; Hou, J.; Wu, Y.; Liu, X. Review and development trend of high clearance boom sprayer. J. Chin. Agric. Mech. 2017, 38, 38–42. [Google Scholar]
- Zhuang, T.F.; Yang, X.J.; Dong, X.; Zhang, T.; Yan, H.R.; Sun, X. Research Status and Development Trend of Large Self-propelled Sprayer Booms. Trans. Chin. Soc. Agric. Mach. 2018, 49, 196–205. [Google Scholar]
- Li, W.; Mao, E.; Chen, S.; Li, Z.; Xie, B.; Du, Y. Design and verification of slip rate control system for straight line travel of high clearance self-propelled sprayer. Proc. Inst. Mech. Eng. Part D J. Automob. Eng. 2021, 236, 1319–1335. [Google Scholar] [CrossRef]
- Chao, X.; Chen, Y.; Li, R.; Li, J.; Zhao, Q. The Structural Design on High- clearance Sprayer Chassis. J. Agric. Mech. Res. 2015, 37, 96–99. [Google Scholar]
- Wang, J.; Dou, L.J.; Wang, J.J.; Yin, S.; Li, Y. Static Strength Analysis and Experimental Studies on Drive Axle of Track Adjustble Sprayer. J. Agric. Sci. Technol. 2015, 17, 92–99. [Google Scholar]
- Appah, S.; Jia, W.; Ou, M.; Wang, P.; Asante, E.A. Analysis of potential impaction and phytotoxicity of surfactant-plant surface interaction in pesticide application. Crop Prot. 2020, 127, 104961. [Google Scholar] [CrossRef]
- Ganesan, S.; Panneerselvam, K. Vibration reduction in conventional vehicles by increasing the stiffness on the chassis frame. J. Eng. Appl. Sci. 2015, 10, 3384–3390. [Google Scholar]
- Bao, W.; Hu, S. Vehicle rollover simulation analysis considering road excitation. Trans. Chin. Soc. Agric. Eng. 2015, 31, 59–65. [Google Scholar]
- Ma, X.-G.; Wang, Q.L.; Na, J.X.; Qu, D. Simulation Analysis and Improvement Design of Coach Frame Structure Safety under Rollover. Bus Coach. Technol. Res. 2011, 33, 31–33. [Google Scholar]
- Zhou, X.M.; Lan, F.C.; Chen, J.Q.; Xie, R. Research on analysis and optimization design of coach roll-over based on FEM technology. Mod. Manuf. Eng. 2010, 5, 115. [Google Scholar]
- Seltmann, H.; Priest, J.A. High-Clearance Sprayer for Small Plot Research. Agron. J. 1973, 65, 1001–1002. [Google Scholar] [CrossRef]
- Grover, R.; Maybank, J.; Caldwell, B.C.; Wolf, T.M. Airborne off-target losses and deposition characteristics from a self-propelled, high speed and high clearance ground sprayer. Can. J. Plant Sci. 1997, 77, 493–500. [Google Scholar] [CrossRef]
- Xing, M.; Li, X.; Xue, K.; Zhang, C.; Hou, Z. Three-dimensional dynamics simulation analysis of high clearance sprayer with road excitation. J. Mech. Sci. Technol. 2020, 34, 1485–1493. [Google Scholar] [CrossRef]
- Chen, Y.; Mao, E.; Li, W.; Zhang, S.; Song, Z.; Yang, S.; Chen, J. Design and experiment of a high-clearance self-propelled sprayer chassis. Int. J. Agric. Biol. Eng. 2020, 13, 71–80. [Google Scholar] [CrossRef]
- Chen, C.; Xue, X.; Wei, G.; Ma, L.X. Current situation and development trend of spray boom suspension system for sprayer. J. Chin. Agric. Mech. 2015, 36, 98–101. [Google Scholar]
- Jia, W.; Zhang, L.; Yan, M.; Xue, X. Current situation and development trend of boom sprayer. J. Chin. Agric. Mech. 2013, 34, 19–22. [Google Scholar]
- Cui, L.F.; Xue, X.Y.; Ding, S.M.; Gu, W.; Chen, C.; Yue, F.X. Modeling and Simulation of Dynamic Behavior of Large Spray Boom with Active and Passive Pendulum Suspension. Nongye Jixie Xuebao/Trans. Chin. Soc. Agric. Mach. 2017, 48, 82–90. [Google Scholar]
- Chen, W.; Qiu, B.; Ning, Y. Spray Boom Position Control System Based on Ultrasonic Sensors. J. Agric. Mech. Res. 2013, 3, 84–87. [Google Scholar]
- Kong, S.L. Finite element analysis of Dynamic Property of Agricultural Vehicle Frame. Adv. Mater. Res. 2013, 694–697, 186–189. [Google Scholar] [CrossRef]
- Ren, Y.; Yu, Y.; Zhao, B.; Fan, C.; Li, H. Finite Element Analysis and Optimal Design for the Frame of SX360 Dump Trucks. Procedia Eng. 2017, 174, 638–647. [Google Scholar] [CrossRef]
- Lee, J.; Jeong, S.; Lee, Y.-J.; Sim, S.-H. Stress Estimation Using Digital Image Correlation with Compensation of Camera Motion-Induced Error. Sensors 2019, 19, 5503. [Google Scholar] [CrossRef] [PubMed]
- Romanowicz, P.J.; Szybiński, B.; Wygoda, M. Application of DIC Method in the Analysis of Stress Concentration and Plastic Zone Development Problems. Materials 2020, 13, 3460. [Google Scholar] [CrossRef] [PubMed]
- Scislo, L. Quality Assurance and Control of Steel Blade Production Using Full Non-Contact Frequency Response Analysis and 3D Laser Doppler Scanning Vibrometry System. In Proceedings of the 2021 11th IEEE International Conference on Intelligent Data Acquisition and Advanced Computing Systems: Technology and Applications (IDAACS), Cracow, Poland, 22–25 September 2021; pp. 419–423. [Google Scholar] [CrossRef]
- Scislo, L. Non-invasive measurements of ultra-lightweight composite materials using Laser Doppler Vibrometry system. In Proceedings of the 26th International Congress on Sound and Vibration, ICSV 2019, Montreal, QC, Canada, 7–11 July 2019. [Google Scholar]
- Chen, S.; Zhou, Y.; Tang, Z.; Lu, S. Modal vibration response of rice combine harvester frame under multi-source excitation. Biosyst. Eng. 2020, 194, 177–195. [Google Scholar] [CrossRef]
- Ferrandes, R.; Marin, P.M.; Léon, J.C.; Giannini, F. Evaluation of simplification details for an adaptive shape modelling of components. In Proceedings of the International Conference on Engineering Computational Technology, Las Palmas de Gran Canaria, Spain, 12–15 September 2006. [Google Scholar]
- Lee, K.W.; Chong, T.H.; Park, G.J. Development of a methodology for a simplified finite element model and optimum design. Comput. Struct. 2003, 81, 1449–1460. [Google Scholar] [CrossRef]
- Lines, J.; Murphy, K. The stiffness of agricultural tractor tyres. J. Terramech. 1991, 28, 49–64. [Google Scholar] [CrossRef]
- Yao, M.; Tang, X.; Jia, Z. CAE-based modal analysis and optimal design of frame structure. Mach. Des. Manuf. Eng. 2021, 50, 97–100. [Google Scholar]
- Han, G.; Ding, S. A Finite Element Analysis of Heavy-duty Truck Frame and its Optimization. Commer. Veh. 2019, 1, 123–125. [Google Scholar]
- Yan, J.; Xue, X.; Cui, L.; Ding, S.; Gu, W.; Le, F. Analysis of Dynamic Behavior of Spray Boom under Step Excitation. Appl. Sci. 2021, 11, 10129. [Google Scholar] [CrossRef]
- Qiu, B.; Yang, N.; Xu, X.; Guan, X.; Wu, C. Ideal Spray Boom Response Extraction with Front and Rear Tires Excited by Step Track. Trans. Chin. Soc. Agric. Mach. 2012, 43, 55–60. [Google Scholar]
- Clijmans, L.; Swevers, J.; De Baerdemaeker, J. Experimental design for vibration analysis on agricultural spraying machines. In Proceedings of the International Conference on Noise and Vibration Engineering, Kissimmee, FL, USA, 8–11 February 1998; Volume 3, pp. 1517–1522. [Google Scholar]

















| Materials | Density | Elasticity Modulus | Poisson’s Ratio | Yield Strength | Elastic Limit |
|---|---|---|---|---|---|
| Q345 | 7850 kg/m3 | 2.06 × 1011 Pa | 0.3 | 345 MPa | 470–630 MPa |
| Name | Quality/kg | Number |
|---|---|---|
| Sprinkler module | 15 | 4 |
| power system | 350 | 1 |
| Roots blower | 100 | 1 |
| Transmission | 23 | 4 |
| Diesel tank | 84 | 1 |
| Hydraulic oil tank | 84 | 1 |
| Battery | 32.8 | 1 |
| Axle | 32.5 | 2 |
| Water tank (full load) | 600 | 2 |
| Cab | 207.4 | 1 |
| Equipment Name | Performance Index | Parameter Values |
|---|---|---|
| Three direction acceleration sensor of 356A16 | Sensitivity | |
| Frequency response | 0.3–6 kHz | |
| Range | 50 g pk | |
| Lateral sensitivity | 5% | |
| Dynamic signal acquisition instrument of DH5902 | Channel | 32 |
| Sampling bandwidth | 100 kHz | |
| End scale value | ±20 mv~±20 V | |
| Distortion factor | <0.5% |
| Order | Frequency/Hz | Order | Frequency/Hz |
|---|---|---|---|
| 1 | 2.10 | 7 | 10.27 |
| 2 | 3.15 | 8 | 11.88 |
| 3 | 3.93 | 9 | 12.44 |
| 4 | 5.31 | 10 | 14.06 |
| 5 | 6.14 | 11 | 14.2 |
| 6 | 10.21 | 12 | 14.35 |
| Points | Peak Points | X | Y | Z | |||
|---|---|---|---|---|---|---|---|
| Frequency | Amplitude | Frequency | Amplitude | Frequency | Amplitude | ||
| 1 | 1 | 29.30 | 0.55 | 29.30 | 0.31 | 29.30 | 0.44 |
| 2 | 57.62 | 0.27 | 57.62 | 0.24 | 115.23 | 0.17 | |
| 3 | 115.23 | 0.17 | 115.23 | 0.14 | 231.47 | 0.12 | |
| 2 | 1 | 57.62 | 1.02 | 28.32 | 0.38 | 28.32 | 0.36 |
| 2 | 28.32 | 0.88 | 57.62 | 0.31 | 27.62 | 0.34 | |
| 3 | 85.94 | 0.56 | 115.23 | 0.18 | 115.23 | 0.11 | |
| 3 | 1 | 28.32 | 1.75 | 28.32 | 0.78 | 28.32 | 0.70 |
| 2 | 56.64 | 1.27 | 56.64 | 0.42 | 56.64 | 0.39 | |
| 3 | 84.96 | 0.99 | 84.96 | 0.39 | 169.92 | 0.23 | |
| 4 | 1 | 28.32 | 1.66 | 28.32 | 0.68 | 28.32 | 0.61 |
| 2 | 56.64 | 1.06 | 56.64 | 0.35 | 198.24 | 0.22 | |
| 3 | 84.96 | 0.75 | 84.96 | 0.14 | 84.96 | 0.20 | |
| 5 | 1 | 28.32 | 0.74 | 28.32 | 0.47 | 28.32 | 0.60 |
| 2 | 57.62 | 0.50 | 57.62 | 0.23 | 57.62 | 0.22 | |
| 3 | 85.94 | 0.23 | 315.43 | 0.13 | 315.43 | 0.15 | |
| Points | Peak Points | X | Y | Z | |||
|---|---|---|---|---|---|---|---|
| Frequency | Amplitude | Frequency | Amplitude | Frequency | Amplitude | ||
| 1 | 1 | 80.08 | 2.11 | 161.33 | 0.76 | 80.08 | 0.83 |
| 2 | 241.21 | 0.68 | 40.04 | 0.27 | 241.21 | 0.53 | |
| 3 | 341.80 | 0.40 | 322.27 | 0.21 | 161.13 | 0.38 | |
| 2 | 1 | 80.08 | 3.48 | 161.13 | 0.91 | 161.13 | 0.43 |
| 2 | 161.13 | 0.67 | 80.08 | 0.67 | 80.08 | 0.36 | |
| 3 | 118.16 | 0.65 | 362.31 | 0.31 | 362.31 | 0.27 | |
| 3 | 1 | 81.06 | 7.91 | 81.06 | 3.28 | 161.13 | 1.27 |
| 2 | 161.13 | 1.06 | 0.88 | 0.88 | 81.06 | 1.27 | |
| 3 | 121.09 | 0.90 | 0.41 | 0.40 | 363.28 | 0.68 | |
| 4 | 1 | 80.08 | 7.13 | 80.08 | 1.11 | 161.13 | 1.34 |
| 2 | 161.13 | 2.45 | 161.13 | 0.70 | 80.08 | 1.15 | |
| 3 | 118.16 | 0.70 | 40.04 | 0.26 | 181.64 | 0.59 | |
| 5 | 1 | 81.06 | 6.01 | 81.06 | 0.97 | 161.13 | 0.74 |
| 2 | 161.13 | 2.17 | 161.13 | 0.55 | 81.06 | 0.69 | |
| 3 | 242.18 | 0.56 | 40.04 | 0.29 | 40.04 | 0.31 | |
Publisher’s Note: MDPI stays neutral with regard to jurisdictional claims in published maps and institutional affiliations. |
© 2022 by the authors. Licensee MDPI, Basel, Switzerland. This article is an open access article distributed under the terms and conditions of the Creative Commons Attribution (CC BY) license (https://creativecommons.org/licenses/by/4.0/).
Share and Cite
Chen, H.; Dai, S.; Ou, M.; Li, S.; Wang, C.; Li, Z.; Wang, G.; Chen, Y.; Jia, W. Multibody Dynamics Simulation and Vibration Test for High Clearance Orchard Sprayer. Appl. Sci. 2022, 12, 8058. https://doi.org/10.3390/app12168058
Chen H, Dai S, Ou M, Li S, Wang C, Li Z, Wang G, Chen Y, Jia W. Multibody Dynamics Simulation and Vibration Test for High Clearance Orchard Sprayer. Applied Sciences. 2022; 12(16):8058. https://doi.org/10.3390/app12168058
Chicago/Turabian StyleChen, Hong, Shiqun Dai, Mingxiong Ou, Shengfang Li, Chenyang Wang, Ziyu Li, Guanqun Wang, Yu Chen, and Weidong Jia. 2022. "Multibody Dynamics Simulation and Vibration Test for High Clearance Orchard Sprayer" Applied Sciences 12, no. 16: 8058. https://doi.org/10.3390/app12168058
APA StyleChen, H., Dai, S., Ou, M., Li, S., Wang, C., Li, Z., Wang, G., Chen, Y., & Jia, W. (2022). Multibody Dynamics Simulation and Vibration Test for High Clearance Orchard Sprayer. Applied Sciences, 12(16), 8058. https://doi.org/10.3390/app12168058
