A Study on Tensile Strain Distribution and Fracture Coordinate of Nanofiber Mat by Digital Image Correlation System
Abstract
1. Introduction
2. Digital Image Correlation (DIC) System
3. DIC Algorithm Configuration for Nanofiber Mat and Application Test
3.1. Image Correlation Method by using Fast Fourier Transform (FFT)
3.2. FFT-Based Image Correlation Measurement Algorithm by using Displacement Feedback Loop
3.3. Algorithm Test for Metal Specimen
4. Wrinkled Nanofiber Mat by Electrospinning
5. Experiment
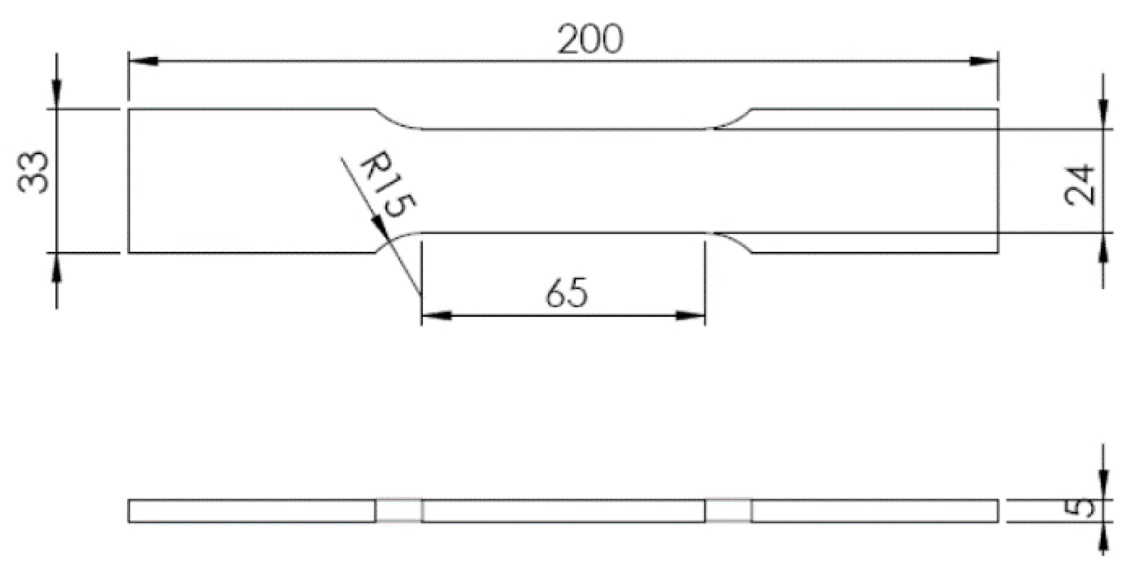
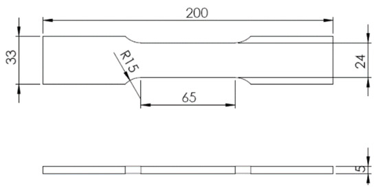
5.1. Experimental Configuration
5.2. Experimental Results
6. Conclusions
Author Contributions
Funding
Conflicts of Interest
References
- Thavasi, V.; Singh, G.; Ramakrishna, S. Electrospun nanofibers in energy and environmental applications. Energy Environ. Sci. 2008, 1, 205–221. [Google Scholar] [CrossRef]
- Pham, Q.P.; Sharma, U.; Mikos, A.G. Electrospinning of polymeric nanofibers for tissue engineering applications: A review. Tissue Eng. 2006, 12, 1197–1211. [Google Scholar] [CrossRef]
- Ding, B.; Wang, M.; Wang, X.; Yu, J.; Sun, G. Electrospun nanomaterials for ultrasensitive sensors. Mater. Today 2010, 13, 16–27. [Google Scholar] [CrossRef]
- Chronakis, I.S. Novel nanocomposites and nanoceramics based on polymer nanofibers using electrospinning process: A review. In Proceedings of the International Forum on the Advances in Materials Processing Technology, Glasgow, Scotland, 30–31 August 2005; pp. 283–293. [Google Scholar]
- Xue, J.; Wu, T.; Dai, Y.; Xia, Y. Electrospinning and electrospun nanofibers: Methods, materials, and applications. Chem. Rev. 2019, 119, 5298–5415. [Google Scholar] [CrossRef] [PubMed]
- Lin, Y.; Clark, D.M.; Yu, X.; Zhong, Z.; Liu, K.; Reneker, D.H. Mechanical properties of polymer nanofibers revealed by interaction with streams of air. Polymer 2012, 53, 782–790. [Google Scholar] [CrossRef]
- Cao, Q.; Wan, Y.; Qiang, J.; Yang, R.; Fu, J.; Wang, H.; Gao, W.; Ko, F. Effect of sonication treatment on electrospinnability of high-viscosity PAN solution and mechanical performance of microfiber mat. Iran. Polym. J. 2014, 23, 947–953. [Google Scholar] [CrossRef]
- Qiang, J.; Wan, Y.Q.; Yang, L.N.; Cao, Q.Q. Effect of ultrasonic vibration on structure and performance of electrospun PAN fibrous membrane. J. Nano Res. 2013, 233, 96–103. [Google Scholar] [CrossRef]
- Huang, Z.M.; Zhang, Y.Z.; Ramakrishna, S.; Lim, C.T. Electrospinning and mechanical characterization of gelatin nanofibers. Polymer 2004, 45, 5361–5368. [Google Scholar] [CrossRef]
- Ayutsede, J.; Gandhi, M.; Sukigara, S.; Micklus, M.; Chen, H.; Ko, F. Regeneration of bombyx mori silk by electrospinning. Part 3: Characterization of electrospun nonwoven mat. Polymer 2005, 46, 1625–1634. [Google Scholar] [CrossRef]
- Lee, K.H.; Kim, H.Y.; Khil, M.S.; Ra, Y.M.; Lee, D.R. Characterization of nano-structured poly(ε-caprolactone) nonwoven mats via electrospinning. Polymer 2003, 44, 1287–1294. [Google Scholar] [CrossRef]
- Petterson, D.R. Mechanics of nonwoven fabrics. J. Ind. Eng. Chem. 1959, 51, 902–903. [Google Scholar] [CrossRef][Green Version]
- Hearle, J.W.S.; Stevenson, P.J. Studies in Nonwoven Fabrics: Part IV: Prediction of Tensile Properties. Text. Res. J. 1964, 34, 181–191. [Google Scholar] [CrossRef]
- Pan, B.; Qian, K.; Xie, H.; Asundi, A. Two-dimensional digital image correlation for in-plane displacement and strain measurement: A review. Meas. Sci. Technol. 2009, 20. [Google Scholar] [CrossRef]
- Pan, B.; Dafang, W.; Yong, X. Incremental calculation for large deformation measurement using reliability-guided digital image correlation. Opt. Lasers Eng. 2012, 20. [Google Scholar] [CrossRef]
- Min, H.G.; Kang, D.J.; Kim, K.J.; Park, J.H. New non-contact measurement method of deformation at tensile test of thin film via digital image correlation technique. Int. J. Precis. Eng. Manuf. 2017, 18, 1509–1517. [Google Scholar] [CrossRef]
- Kang, M.S.; An, Y.K. Adaptive Subset-Based Digital Image Correlation for Fatigue Crack Evaluation. Appl. Sci. 2020, 10, 3574. [Google Scholar] [CrossRef]
- Bai, R.; Jiang, H.; Lei, Z.; Li, W. A novel 2nd-oreder shape function based digital image correlation method for large deformation measurements. Opt. Lasers Eng. 2017, 90, 48–58. [Google Scholar] [CrossRef]
- Dannemann, K.A.; Bigger, R.P.; Scott, N.L.; Weiss, C.E.; Carpenter, A.J. Application of Digital Image Correlation for Comparison of Deformation Response in Fusion and Friction Stir Welds. J. Dynamic Behavior Mater. 2016, 2, 347–364. [Google Scholar] [CrossRef]
- Kotousov, A.; He, Z.; Fanciulli, A. Application of digital image correlation technique for investigation of the displacement and strain field within a sharp notch. Theor. Appl. Fract. Mech. 2015, 79, 51–57. [Google Scholar] [CrossRef]
- Aytollahi, M.R.; Moazzami, M. Digital image correlation method for calculating coefficients of Williams expansion in compact tension specimen. Opt. Lasers Eng. 2017, 90, 26–33. [Google Scholar] [CrossRef]
- Blenkinsopp, R.; Roberts, J.; Harland, A.; Sherratt, P. A Method for Calibrating a Digital Image Correlation System for Full-Field Strain Measurements during Large Deformations. Appl. Sci. 2019, 9, 2828. [Google Scholar] [CrossRef]























| CC Correlation Criterion | Definition |
|---|---|
| Cross-correlation (CC) | |
| Normalized cross-correlation (NCC) | |
| Zero-normalized cross-correlation (ZNCC) |
| SSD Correlation Criterion | Definition |
|---|---|
| Sum of squared differences (SSD) | |
| Normalized sum of squared differences (NSSD) | |
| Zero-normalized sum of squared differences (ZNSSD) |
| Polymer | Concentration | Spinning Feed Rate | Input Voltage | Spinning Time |
|---|---|---|---|---|
| polyurethane | 10 wt % | 1 mL/h | 12 kV | 3 h |
| Manufacturer | Model | Capacity (kgf) | Min. Speed (mm/min) | Max. Speed (mm/min) | Resolution (μm) |
|---|---|---|---|---|---|
| MTDI | UT-020 | 2000 | 0.0005 | 1200 | 0.25 |
| Manufacturer | Model | Resolution | Image Sensor Type |
|---|---|---|---|
| Lumenera | LW 115 (12-bit color) | 1280 × 1024 | CMOS |
© 2020 by the authors. Licensee MDPI, Basel, Switzerland. This article is an open access article distributed under the terms and conditions of the Creative Commons Attribution (CC BY) license (http://creativecommons.org/licenses/by/4.0/).
Share and Cite
Park, N.G.; Hong, K.M.; Kwon, K.H. A Study on Tensile Strain Distribution and Fracture Coordinate of Nanofiber Mat by Digital Image Correlation System. Appl. Sci. 2020, 10, 5992. https://doi.org/10.3390/app10175992
Park NG, Hong KM, Kwon KH. A Study on Tensile Strain Distribution and Fracture Coordinate of Nanofiber Mat by Digital Image Correlation System. Applied Sciences. 2020; 10(17):5992. https://doi.org/10.3390/app10175992
Chicago/Turabian StylePark, Nak Gyu, Kyung Min Hong, and Kyu Hyeung Kwon. 2020. "A Study on Tensile Strain Distribution and Fracture Coordinate of Nanofiber Mat by Digital Image Correlation System" Applied Sciences 10, no. 17: 5992. https://doi.org/10.3390/app10175992
APA StylePark, N. G., Hong, K. M., & Kwon, K. H. (2020). A Study on Tensile Strain Distribution and Fracture Coordinate of Nanofiber Mat by Digital Image Correlation System. Applied Sciences, 10(17), 5992. https://doi.org/10.3390/app10175992
