Appraisal of the Spatial Resolution of 2D Electrical Resistivity Tomography for Geotechnical Investigation
Abstract
1. Introduction
2. Principle of 2D ERT
3. Research Method
3.1. Analysis of Problems in ERT
3.1.1. Problems in the Spatial Resolution Capability of the Resistivity Profile
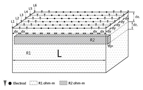
3.1.2. Influence of the Boundary Effect
3.1.3. Influence of the 3D Effect
3.2. Build Geological Models
3.2.1. Single Horizontal Layer Stratum Model
3.2.2. Horizontal Interlayer Stratum Model
3.2.3. Single Vertical Layer Stratum Model
3.2.4. Vertical Interlayer Stratum Model
3.2.5. Composite Stratum Model
3.2.6. Tilted Layer Stratum Model
3.2.7. Debris Mixed Stratum Model
3.3. Discussion About the Boundary Effect
3.4. 3D Effect Analysis
4. Results and Discussion
4.1. Single Horizontal Layer Stratum Model
4.2. Horizontal Interlayer Stratum Model
4.3. Single Vertical Layer Stratum Model
4.4. Vertical Interlayer Stratum Model
4.5. Composite Stratum Model
4.6. Tilted Layer Stratum Model
4.7. Debris Mixed Stratum Model
4.8. Influential Distances of the Boundary Effect
4.9. Influential Distances of the 3D Effect
5. Conclusions and Suggestions
5.1. Conclusions
5.2. Suggestions
- In the measurements on field test sites, the results of this study can enhance researchers’ ability to interpret electrical resistivity profiles, but the field data of hydraulics, geology, and drilling of the site are still required, so as to evaluate the practical situation of the strata of the site accurately.
- According to the findings, the external factors can degrade the resolution capability of ERT. In order to provide correct electrical resistivity profiles, the inverse computation method can be discussed in the future to enhance the resolution capability.
- It is suggested to build a standard geophysical exploration test field in the future, so as to compare and check different investigation and test methods.
- The strata are usually heterogeneous, so it is often found in field measurements that when the strata are not homogeneous in the direction normal to the measuring line, there is a 3D effect. The topographical changes should be paid attention to during in-situ measurements.
- When laying the ground resistance measuring line, the changes in the landforms and reliefs on both sides should be evaded to avoid the boundary effect.
Author Contributions
Funding
Conflicts of Interest
References
- Lin, C.P.; Lin, C.H.; Wu, P.L.; Liu, H.C.; Hung, Y.C. Applications and challenges of near surface geophysicals in geotechnical engineering. Chin. J. Geophys. 2015, 58, 2664–2680. [Google Scholar]
- Lin, C.H.; Lin, C.P.; Hung, Y.C.; Chung, C.C.; Wu, P.L.; Liu, H.C. Application of geophysical methods in a dam project: Life cycle perspective and Taiwan experience. J. Appl. Geophys. 2018, 158, 82–92. [Google Scholar] [CrossRef]
- Geotechnical and Geotechnical Site Characterization. Available online: https://www5.unitn.it/Biblioteca/it/Web/EngibankFile/5892871.pdf (accessed on 25 June 2020).
- Geophysical Survey System, Inc. Traning Notes; GSSI Press: Nashua, NH, USA, 1992. [Google Scholar]
- Geophysical Survey Systems Inc. RADAN for Windows Version 5.0 User’s Manual; GSSI Press: Nashua, NH, USA, 2003; pp. 1–132. [Google Scholar]
- Ribolini, A.; Bini, M.; Isola, I.; Coschino, F.; Baroni, C.; Salvatore, M.C.; Zanchetta, G.; Fornaciati, A. GPR versus geoarchaeological findings in a complex archaeological site (Badia Pozzeveri, Italy). Archaeol. Prospect. 2017, 24, 141–156. [Google Scholar] [CrossRef]
- Lee, D.H.; Lai, S.L.; Wu, J.H.; Chang, S.K.; Dong, Y.M. Detecting the remaining structure foundation using ground penetrating radar: The outer wall of small east gate of Taiwan-FU, Taiwan. J. Geoengin. 2018, 13, 85–92. [Google Scholar] [CrossRef]
- Dahlin, T. The development of DC resistivity imaging techniques. Comput. Geosci. 2001, 27, 1019–1029. [Google Scholar] [CrossRef]
- Beresnev, I.A.; Hruby, C.E.; Davis, C.A. The use of multi-electrode resistivity imaging in gravel prospecting. J. Appl. Geophys. 2002, 49, 245–254. [Google Scholar] [CrossRef]
- Berternann, D.; Schwarz, H. Bulk density and water content-dependent electrical resistivity analyses of different soil classes on a laboratory scale. Environ. Earth Sci. 2018, 77, 570. [Google Scholar] [CrossRef]
- Suzuki, K.; Toda, S.; Kusunoki, K.; Fujimitsu, Y.; Mogi, T.; Jomori, A. Case studies of electrical and electromagnetic methods applied to mapping active faults beneath the thick quaternary. Eng. Geol. 2000, 56, 29–45. [Google Scholar] [CrossRef]
- Demanet, D.; Renardy, F.; Vanneste, K.; Jongmans, D.; Camelbeeck, T.; Meghraoui, M. The use of geophysical prospecting for imaging active faults in the Roer Graben, Belgium. Geophysics 2001, 66, 78–89. [Google Scholar] [CrossRef]
- Batayneh, A.; Barjous, M. A Case Study of Dipole-Dipole Resistivity for Geotechnical Engineering from the Ras en Naqab Area, South Jordan. JEEG 2003, 8, 31–38. [Google Scholar] [CrossRef]
- Rizzoa, E.; Colellab, A.; Lapennaa, V.; Piscitellia, S. High-resolution images of the fault-controlled High Agri Valley basin (Southern Italy) with deep and shallow electrical resistivity tomographies. Phys. Chem. Earth Parts A/B/C 2004, 29, 321–327. [Google Scholar] [CrossRef]
- Nguyen, F.; Garambois, S.; Jongmans, D.; Pirard, E.; Loke, M.H. Image processing of 2D resistivity data for imaging faults. J. Appl. Geophys. 2005, 57, 260–277. [Google Scholar] [CrossRef]
- Chen, Y.-P. Using RIP Method in Surveying Hsincheng Fault. Master’s Thesis, National Central University, Taoyuan, Taiwan, 2001. [Google Scholar]
- Pan, H.-C. Using RIP Method in Surveying Hsinchu Fault. Master’s Thesis, National Central University, Taoyuan, Taiwan, 2003. [Google Scholar]
- Griffiths, D.H.; Barker, R.D. Two-dimensional resistivity imaging and modelling in areas of complex geology. J. Appl. Geophys. 1993, 29, 211–226. [Google Scholar] [CrossRef]
- Reci, H.; Muceku, Y.; Jata, I. The Use of ERT for Investigation of Berzhita Landslide, Tirana Area, Albania, Landslides and Monitoring; Springer: Berlin/Heidelberg, Germany, 2013; pp. 117–123. [Google Scholar]
- Havevith, H.-B.; Jongmans, D.; Abdrakhmatov, K.; Trefois, P.; Delvaux, D.; Torgoe, I.A. Geophysical Investigations Of Seismically Induced Surface Effects: Case Study Of A Landslide In The Suusamyr Valley, Kyrgyzstan. Surv. Geophys. 2000, 21, 351–370. [Google Scholar] [CrossRef]
- Giano, S.I.; Lapenna, V.; Piscitelli, S.; Schiattarella, M. Electrical imaging and self-potential survayes to study the geological setting of the Quaternary, slope depositsin the Agri high valley (Southern Italy). Ann. Geophys. 2000, 43. [Google Scholar] [CrossRef]
- Godio, A.; Bottino, G. Electrical and electromagnetic investigation for landslide characterization. Phys. Chem. Earth Part C Solar Terr. Planet. Sci. 2001, 26, 705–710. [Google Scholar]
- Batayneh, A.; Al-Diabat, A.A. Application of a two-dimensional electrical tomography technique for investigating landslides along the Amman–Dead Sea highway, Jordan. Environ. Geol. 2002, 42, 399–403. [Google Scholar] [CrossRef]
- Perronea, A.; Iannuzzia, A.; Lapennaa, V.; Lorenzob, P.; Piscitellia, S.; Rizzoa, E.; Sdaob, F. High-resolution e lectrical imaging of the Varco d’Izzo earthflow (southern Italy). J. Appl. Geophys. 2004, 56, 17–29. [Google Scholar] [CrossRef]
- Dahlin, T.; Glatz, D.; Persson, N.; Gwaze, P.; Owen, R. Electrical and Magnetic Investigations of Deep Aquifers in North Matabeleland, Zimbabwe. In Proceedings of the Fifth Meetingon Environmental and Engineering Geophysics, Budapest, Hungary, 5–9 September 1999; p. 2. [Google Scholar]
- Kura, N.U.; Ramli, M.F.; Ibrahim, S.; Sulaiman, W.N.A.; Zaudi, M.A.; Aris, A.Z. A Preliminary Appraisal of the Effect of Pumping on Seawater Intrusion and Upconing in a Small Tropical Island Using 2D Resistivity Technique. Sci. World J. 2014, 2014, 796425. [Google Scholar] [CrossRef]
- Oueuemi, K.D.; Aizebeokhai, A.P.; Oladunjoye, M.A. Integrated Geophysical and Geochemical Investigations of Saline Water Intrusion in a Coastal Alluvial Terrain, Southwestern Nigeria. Int. J. Appl. Environ. Sci. 2015, 10, 1275–1288. [Google Scholar]
- Goebel, M.; Pidlisecky, A. Rosemary Knight, Resistivity imaging reveals complex pattern of saltwater intrusion along Monterey coast. J. Hydrol. 2017, 551, 746–755. [Google Scholar] [CrossRef]
- Chen, T.T.; Hung, Y.C.; Hsueh, M.W.; Yeh, Y.H.; Weng, K.W. Evaluating the Application of Electrical Resistivity Tomography for Investigating Seawater Intrusion. Electronics 2018, 7, 107. [Google Scholar] [CrossRef]
- Voronkov, O.K.; Kagan, A.A.; Krivonogova, N.F.; Glagovsky, V.B.; Prokopovich, V.S. Geophysical Methods and Identification of Embankment Dam Parameters. In Proceedings of the ISC-2 on Geotechnical and Geophysical Site Characterization, Porto, Portugal, 19–22 September 2004; pp. 593–599. [Google Scholar]
- Song, S.H.; Song, Y.; Kwon, B.D. Application of hydrogeological and geophysical methods to delineate leakage pathways in an earth fill dam. Explor. Geophys. 2005, 36, 92–96. [Google Scholar] [CrossRef]
- Oh, Y.C.; Jeong, H.S.; Lee, Y.K.; Shon, H. Safety Evaluation of Rock-Fill dam by Seismic (MASW) and Resistivity Method. In 16th EEGS Symposium on the Application of Geophysics to Engineering and Environmental Problems; European Association of Geoscientists & Engineers: Houten, The Netherlands, 2003; pp. 1377–1386. [Google Scholar]
- Lin, C.P.; Hung, Y.C.; Wu, P.L.; Yu, Z.H. Performance of 2D ERT in Investigation of Abnormal Seepage: A Case Study at the Hsin-Shan Earth Dam in Taiwan. J. Environ. Eng. Geophys. 2013, 13, 101–112. [Google Scholar]
- Darilek, G.T.; Corapcioglu, M.Y.; Yeung, A.T. Sealing Leaks in Geomembrane Liners Using Electrophoresis. J. Environ. Eng. 1996. [Google Scholar] [CrossRef]
- Ramirez, A.; Daily, W.; Binley, A.; LaBrecque, D.; Roelant, D. Detection of Leaks in Underground Storage Tanks Using Electrical Resistance Methods. J. Environ. Eng. Geophys. 1996, 1, 189–203. [Google Scholar] [CrossRef]
- Binley, A.; Daily, W.; Ramirez, A. Detecting Leaks from Environmental Barriers using Electrical Current Imaging. J. Environ. Eng. Geophys. 1997, 2, 11–19. [Google Scholar] [CrossRef]
- Colucci, P.; Darilek, G.T.; Laine, D.L.; Binley, A. Locating Landfill Leaks Covered with Waste. In Proceedings of the International waste management and landfill symposium, Sardinia 99, Cagliari, Italy, 4–8 October 1999; Volume 3, pp. 137–140. [Google Scholar]
- Daily, W.; Ramirez, A.; Binley, A. Remote Monitoring of Leaks in Storage Tanks using Electrical Resistance Tomography: Application at the Hanford Site. J. Environ. Eng. Geophys. 2004, 9, 11–24. [Google Scholar] [CrossRef]
- Reci, H.; Jata, I.; Bushati, S. Ert method for the detection of buried archaeological objects in apollonia & bylis, Albania. Rom. Rep. Phys. 2015, 67, 665–672. [Google Scholar]
- Cozzolino, M.; di Giovanni, E.; Mauriello, P.; Desideri, A.; Patella, D. Resistivity Tomography in the Park of Pratolino at Vaglia (Florence, Italy). Archaeol. Prospect. 2012, 19, 253–260. [Google Scholar] [CrossRef]
- Loke, M.H.; Barker, R.D. Practical techniques for 3D resistivity surveys and data inversion techniques. Geophys. Prospect. 1996, 44, 499–524. [Google Scholar] [CrossRef]
- Oldenborger, G.A.; Routh, P.S. The point-spread function measure of resolution for the 3D electrical resistivity experiment. Geophys. J. Int. 2009, 176, 405–414. [Google Scholar] [CrossRef]
- Yang, X.; Lagmanson, M. Comparison of 2D and 3D Electrical Resistivity Imaging Methons. Adv. Geosci. 2006. [Google Scholar] [CrossRef]
- Hung, Y.C.; Lin, C.P.; Lee, C.T.; Weng, K.W. 3D and Boundary Effects on 2D Electrical Resistivity Tomography. Appl. Sci. 2019, 9, 2963. [Google Scholar] [CrossRef]
- Loke, M.H. Tutorial: 2-D and 3-D Electrical Imaging Surveys; Geotomo Software: Penang, Malaysia, 2004. [Google Scholar]
- Griffiths, D.H.; Turnbull, J.; Olayinka, A.I. Two dimensional resistivity mapping with a computer-controlled array. First Break 1990, 8, 121–129. [Google Scholar] [CrossRef]
- Geotomo Software 2002. RES2DMOD Ver. 3.01, Rapid 2D Resistivity forward Modelling Using the Finite-Difference and Finite-Element Methods. Available online: www.geoelectrical.com (accessed on 25 June 2020).
- Geotomo Software 2007. RES2DINV Ver. 3.56, Rapid 2-D Resistivity and IP Inversion Using the Least-Squares Method. Available online: www.geoelectrical.com (accessed on 25 June 2020).

























| Single Horizontal Layer Stratum Model | ||||||
|---|---|---|---|---|---|---|
| Impact Factors | n | R1 | R2 | h | N | |
| Resistivity ratio (n = R1/R2) | n < 1 | 0.1 | 50 | 500 | 10 | 0 |
| 0.25 | 200 | |||||
| 0.33 | 150 | |||||
| 0.66 | 75 | |||||
| n > 1 | 10 | 500 | 50 | 10 | 0 | |
| 4 | 200 | |||||
| 3 | 150 | |||||
| 1.5 | 75 | |||||
| Layer depth (h) | n < 1 | 0.25 | 50 | 200 | 10 | 0 |
| 20 | ||||||
| n > 1 | 4 | 200 | 50 | 10 | 0 | |
| 20 | ||||||
| Noise intensity (N) | n < 1 | 0.25 | 50 | 200 | 10 | 0–8% |
| n > 1 | 4 | 200 | 50 | 10 | 0–8% | |
| Horizontal Interlayer Stratum Model | |||||||
|---|---|---|---|---|---|---|---|
| Impact Factors | n | R1 | R2 | h | t | N | |
| Resistivity ratio (n = R1/R2) | n < 1 | 0.1 | 50 | 500 | 10 | 8 | 0 |
| 0.25 | 200 | ||||||
| 0.33 | 150 | ||||||
| 0.66 | 75 | ||||||
| n > 1 | 10 | 500 | 50 | 10 | 8 | 0 | |
| 4 | 200 | ||||||
| 3 | 150 | ||||||
| 1.5 | 75 | ||||||
| Interlayer center depth (h) | n < 1 | 0.25 | 50 | 200 | 10 | 8 | 0 |
| 20 | |||||||
| n > 1 | 4 | 200 | 50 | 10 | |||
| 20 | |||||||
| Interlayer thickness (t) | n < 1 | 0.25 | 50 | 200 | 10 | 8 | 0 |
| 4 | |||||||
| n > 1 | 4 | 200 | 50 | 8 | |||
| 4 | |||||||
| Noise intensity (N) | n < 1 | 0.25 | 50 | 200 | 10 | 8 | 0–8% |
| n > 1 | 4 | 200 | 50 | 10 | 8 | 0–8% | |
| Single Vertical Layer Stratum Model | ||||
|---|---|---|---|---|
| Impact Factors | n | R1 | R2 | Noise |
| Resistivity ratio (n = R1/R2) | 0.1 | 50 | 500 | 0 |
| 0.25 | 200 | |||
| 0.33 | 150 | |||
| 0.66 | 75 | |||
| Noise intensity (N) | 0.25 | 50 | 200 | 0–8% |
| Vertical Interlayer Stratum Model | ||||||
|---|---|---|---|---|---|---|
| Impact Factors | n | R1 | R2 | t | Noise | |
| Resistivity ratio (n = R1/R2) | n < 1 | 0.1 | 50 | 500 | 10 | 0 |
| 0.25 | 200 | |||||
| 0.33 | 150 | |||||
| 0.66 | 75 | |||||
| n > 1 | 10 | 500 | 50 | 10 | 0 | |
| 4 | 200 | |||||
| 3 | 150 | |||||
| 1.5 | 75 | |||||
| Interlayer thickness (t) | n < 1 | 0.25 | 50 | 200 | 10 | 0 |
| 20 | ||||||
| n > 1 | 4 | 200 | 50 | 10 | ||
| 20 | ||||||
| Noise intensity (N) | n < 1 | 0.25 | 50 | 200 | 8 | 0–8% |
| n > 1 | 4 | 200 | 50 | 8 | 0–8% | |
| Composite Stratum Model | ||||||
|---|---|---|---|---|---|---|
| Impact Factors | n | R1 | R2 | h | Noise | |
| Resistivity ratio (n = R1/R2) | n < 1 | 0.1 | 50 | 500 | 10 | 0 |
| 0.25 | 200 | |||||
| 0.33 | 150 | |||||
| 0.66 | 75 | |||||
| n > 1 | 10 | 500 | 50 | 10 | 0 | |
| 4 | 200 | |||||
| 3 | 150 | |||||
| 1.5 | 75 | |||||
| Material center depth (h) | n < 1 | 0.25 | 50 | 200 | 10 | 0 |
| 20 | ||||||
| n < 1 | 4 | 200 | 50 | 10 | ||
| 20 | ||||||
| Noise intensity (N) | n < 1 | 0.25 | 50 | 200 | 10 | 0–8% |
| n > 1 | 4 | 200 | 50 | 10 | 0–8% | |
| Tilted Layer Stratum Model | ||||||
|---|---|---|---|---|---|---|
| Impact Factors | n | R1 | R2 | α | Noise | |
| Resistivity ratio (n = R1/R2) | n < 1 | 0.1 | 50 | 500 | 60 | 0 |
| 0.25 | 200 | |||||
| 0.33 | 150 | |||||
| 0.66 | 75 | |||||
| n > 1 | 10 | 500 | 50 | 60 | 0 | |
| 4 | 200 | |||||
| 3 | 150 | |||||
| 1.5 | 75 | |||||
| Tilt angle (α) | n < 1 | 0.25 | 50 | 200 | 60 | 0 |
| 30 | ||||||
| n > 1 | 4 | 200 | 50 | 60 | ||
| 30 | ||||||
| Noise intensity (N) | n < 1 | 0.25 | 50 | 200 | 60 | 0–8% |
| n > 1 | 4 | 200 | 50 | 60 | 0–8% | |
| Debris Mixed Stratum Model | ||||||||
|---|---|---|---|---|---|---|---|---|
| Impact Factors | n | R1 | R2 | h | A | S | Noise | |
| Resistivity ratio (n = R1/R2) | n < 1 | 0.1 | 50 | 500 | 0 | 2 × 2 | 2 | 0 |
| 0.25 | 200 | |||||||
| 0.33 | 150 | |||||||
| 0.66 | 75 | |||||||
| n > 1 | 10 | 500 | 50 | 0 | 2 × 2 | 2 | 0 | |
| 4 | 200 | |||||||
| 3 | 150 | |||||||
| 1.5 | 75 | |||||||
| Covering depths (H) | n < 1 | 0.25 | 50 | 200 | 0 | 2 × 2 | 2 | 0 |
| 10 | ||||||||
| n > 1 | 4 | 200 | 50 | 0 | ||||
| 10 | ||||||||
| Mesh sizes (A) | n < 1 | 0.25 | 50 | 200 | 0 | 2 × 2 | 2 | 0 |
| 4 × 4 | ||||||||
| n > 1 | 4 | 200 | 50 | 0 | 2 × 2 | 0 | ||
| 4 × 4 | ||||||||
| Mesh spacings (S) | n < 1 | 0.25 | 50 | 200 | 0 | 2 × 2 | 2 | 0 |
| n > 1 | 4 | 200 | 50 | 4 | ||||
| Noise intensity (N) | n < 1 | 0.25 | 50 | 200 | 0 | 2 × 2 | 2 | 0–8% |
| n > 1 | 4 | 200 | 50 | 0 | 2 × 2 | 2 | 0–8% | |
| Boundary Effect Model | ||||||||
|---|---|---|---|---|---|---|---|---|
| Impact Factors | n | R1 | R2 | dx | dep | dyp | dzp | L |
| Influence distance | 0.01 | 1000 | 10 | 2 | 2 | 2 | 2 | 50 |
| 3D Effect Model | ||||||||
|---|---|---|---|---|---|---|---|---|
| Impact Factors | n | R1 | R2 | dx | dep | dyp | dzp | L |
| Influence distance | 1000 | 100 | 3 | 3 | 2 | 1.5 | 2 | 42 |
© 2020 by the authors. Licensee MDPI, Basel, Switzerland. This article is an open access article distributed under the terms and conditions of the Creative Commons Attribution (CC BY) license (http://creativecommons.org/licenses/by/4.0/).
Share and Cite
Hung, Y.C.; Chou, H.S.; Lin, C.P. Appraisal of the Spatial Resolution of 2D Electrical Resistivity Tomography for Geotechnical Investigation. Appl. Sci. 2020, 10, 4394. https://doi.org/10.3390/app10124394
Hung YC, Chou HS, Lin CP. Appraisal of the Spatial Resolution of 2D Electrical Resistivity Tomography for Geotechnical Investigation. Applied Sciences. 2020; 10(12):4394. https://doi.org/10.3390/app10124394
Chicago/Turabian StyleHung, Yin Chun, Ho Shu Chou, and Chih Ping Lin. 2020. "Appraisal of the Spatial Resolution of 2D Electrical Resistivity Tomography for Geotechnical Investigation" Applied Sciences 10, no. 12: 4394. https://doi.org/10.3390/app10124394
APA StyleHung, Y. C., Chou, H. S., & Lin, C. P. (2020). Appraisal of the Spatial Resolution of 2D Electrical Resistivity Tomography for Geotechnical Investigation. Applied Sciences, 10(12), 4394. https://doi.org/10.3390/app10124394

