Cycle Time-Based Fault Detection and Localization in Pneumatic Drive Systems
Abstract
1. Introduction
1.1. Fault Detection in Compressed Air Systems
1.1.1. Leakage Detection
1.1.2. Increased Friction Detection
1.1.3. Current Challenges: Summary
1.2. Cycle Time-Based Fault Detection
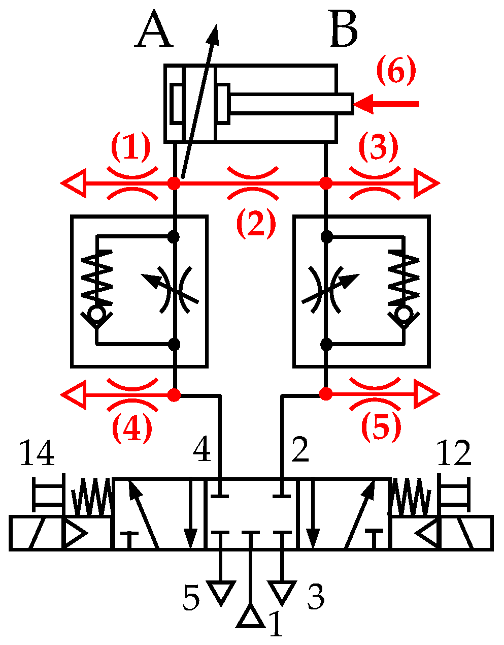
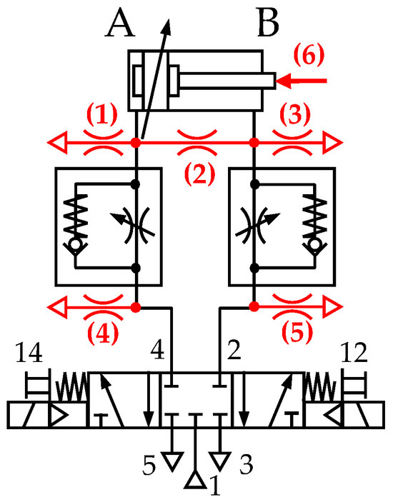
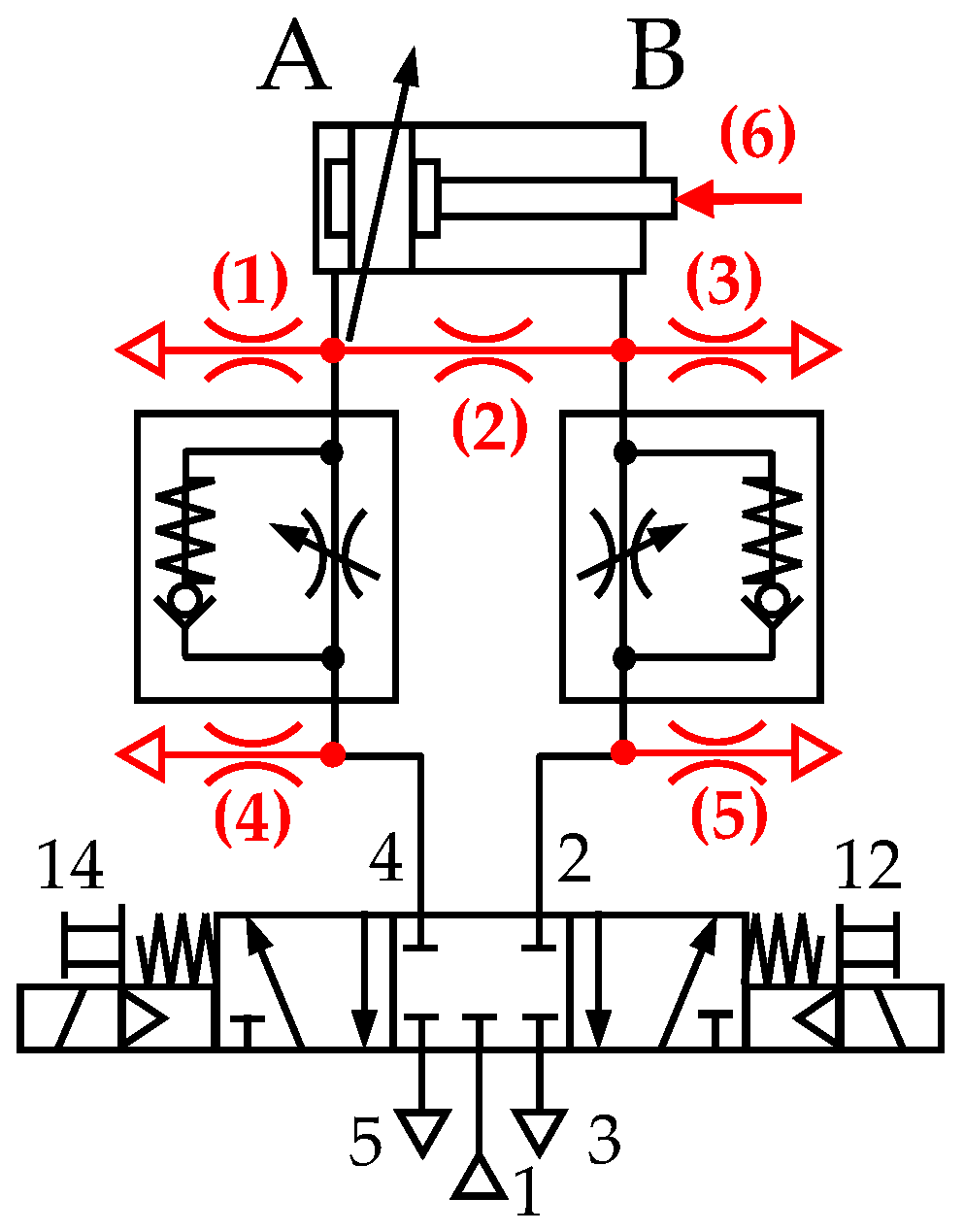
2. Fault Types and Fault Impact on Cycle Times
2.1. Meter-Out Throttling
2.2. Meter-In Throttling
3. Factors Influencing Cycle Time Deviations
3.1. Influence of the Operating Point (Pneumatic Frequency Ratio)
3.2. Influence of Leakage Rate
4. Time-Based Fault Classification Algorithms for Meter-In and Meter-Out Throttling
5. Field Trial
5.1. Cycle Time Fluctuations in Fault-Free Operation
- Cycle time fluctuations remained within ±2% throughout the measurement. A tolerance band can therefore be established to prevent false-error alarms. The deviations of ca. 5% shown in Figure 11c,d, corresponding to external leaks between the throttle and directional control valve, could therefore have been detected under these conditions;
- The supply pressure of the machine pS remained unchanged over the entire duration of the test. Slight pressure fluctuations might have potentially caused the variations in cycle time but do not appear to be the main reason for these;
- A stronger correlation was observed between cycle times and room temperature. As the temperature increased, the actuators moved faster; when the temperature dropped, the movement slowed. This aligns with research by Pham et al. [38] showing that the friction force of pneumatic actuators decreases noticeably as ambient temperature rises. The observed cycle time fluctuations can therefore be attributed to the variation of the friction force.
5.2. Test on Industrial Machine
6. Discussion
- Establishment of an error-free reference by measuring movement times, preferably over several hours;
- Application of a tolerance band to avoid false alarms. The test in Section 5.1 showed temperature-related fluctuations of ±1.5–2% in movement times, but a wider tolerance (e.g., ±10%) is recommended to account for seasonal or other variations;
- If fault locations are unclear, additional volume flow measurements are advisable. Internal leakage and increased friction in a meter-in throttled system both cause increased extension and retraction times, making fault differentiation difficult. Similarly, with meter-out throttling, distinguishing between these two faults can be challenging depending on the operating point.
7. Conclusions
Author Contributions
Funding
Data Availability Statement
Conflicts of Interest
References
- Radermacher, T.; Merx, M.; Sitte, A.; Boyko, V.; Unger, M. Potenzialstudie Energie-/Kosteneinsparung in der Fluidtechnik. Final Report No. 37EV181030. TU Dresden, University of Stuttgart, Germany. 2021. Available online: https://www.umweltbundesamt.de/publikationen/potenzialstudie-energie-kosteneinsparung-in-der (accessed on 27 September 2024).
- Energy Efficiency in Production in the Drive and Handling Technology Field (EnEffAH). Final Report No. 0327484A-E. Available online: https://www.eneffah.de/EnEffAH_Broschuere_engl.pdf (accessed on 27 September 2024).
- Gauchel, W. Energiesparende Pneumatik. Konstruktive sowie schaltungs- und regelungstechnische Ansätze. O+P Fluidtechnik 2006, 1, 33–39. [Google Scholar]
- Saidur, R.; Rahim, N.A.; Hasanuzzaman, M. A review on compressed-air energy use and energy savings. Renew. Sustain. Energy Rev. 2010, 14, 1135–1153. [Google Scholar] [CrossRef]
- Šešlija, D.D.; Milenković, I.M.; Dudić, S.P.; Šulc, J.I. Improving Energy Efficiency in Compressed Air Systems. Practical Examples. Therm. Sci. 2016, 20 (Suppl. S2), 335–370. [Google Scholar] [CrossRef]
- Hepke, J. Energetische Untersuchung und Verbesserung der Antriebstechnik pneumatischer Handhabungssysteme. Ph.D. Thesis, TU Dresden, Dresden, Germany, 2016. [Google Scholar]
- Gryboś, D.; Leszczyński, J.S. A Review of Energy Overconsumption Reduction Methods in the Utilization Stage in Compressed Air Systems. Energies 2024, 17, 1495. [Google Scholar] [CrossRef]
- Boyko, V.; Nazarov, F.; Gauchel, W.; Neumann, R.; Doll, M.; Weber, J. Comprehensive Application-Based Analysis of Energy-Saving Measures in Pneumatics. Int. J. Fluid Power 2024, 1, 27–58. [Google Scholar] [CrossRef]
- Dindorf, R. Estimating Potential Energy Savings in Compressed Air Systems. Procedia Eng. 2012, 39, 204–211. [Google Scholar] [CrossRef]
- McKane, A.; Hasanbeigi, A. Motor systems energy efficiency supply curves: A methodology for assessing the energy efficiency potential of industrial motor systems. Energy Policy 2011, 39, 6595–6607. [Google Scholar] [CrossRef]
- Harris, P.; O’Donnell, G.; Whelan, T. Energy Efficiency in Pneumatic Production Systems: State of the Art and Future Directions. In Proceedings of the 19th CIRP International Conference on Life Cycle Engineering, Berkeley, CA, USA, 23–25 May 2012. [Google Scholar]
- Meindorf, T.; Stammen, C.; Murrenhoff, H. Online Condition Monitoring (OCM) in Fluid Power Technology. In Proceedings of the 4th International Fluid Power Conference (4. IFK), Dresden, Germany, 25–26 March 2004. [Google Scholar]
- Fritz, J. Verfahren zur Erkennung sowie Diagnose von Fehlern in pneumatischen Systemen und Komponenten. Ph.D. Thesis, RWTH Aachen, Aachen, Germany, 2011. [Google Scholar]
- Festo SE & Co. KG. Leckageortung und -Beseitigung. Energy Saving Services von Festo; Festo: Esslingen, Germany, 2018. [Google Scholar]
- Belforte, G.; Mazza, L.; Raparelli, T. Analysis of Typical Failure Situations in Pneumatic Cylinders under Load. Lubrictation Eng. 1992, 48, 840–845. [Google Scholar]
- Mallia, J.; Francalanza, E.; Xuereb, P.; Refalo, P. Intelligent Approaches for Anomaly Detection in Compressed Air Systems: A Systematic Review. Machines 2023, 11, 750. [Google Scholar] [CrossRef]
- Borg, M.; Refalo, P.; Francalanza, E. Failure Detection Techniques on the Demand Side of Smart and Sustainable Compressed Air Systems: A Systematic Review. Energies 2023, 16, 3188. [Google Scholar] [CrossRef]
- Wang, Z.; Yang, B.; Ma, Q.; Wang, H.; Carriveau, R.; Ting, D.S.-K.; Xiong, W. Facilitating Energy Monitoring and Fault Diagnosis of Pneumatic Cylinders with Exergy and Machine Learning. Int. J. Fluid Power 2023, 24, 643–682. [Google Scholar] [CrossRef]
- Hülsmann, S.; Volk, R.; Boyko, V.; Raisch, A.; Weber, J.; Sawodny, O. Energieeffiziente Antriebstechnik in der Produktion—Herausforderungen bei der Umsetzung. O+P Fluidtechnik 2020, 9, 38–41. [Google Scholar]
- Festo SE & Co. KG. Weltneuheit Festo Motion Terminal VTEM; Festo: Esslingen, Germany, 2017. [Google Scholar]
- Energieeffizienzmodul MSE6. 2024. Available online: https://www.festo.com/media/pim/728/D15000100122728.PDF (accessed on 27 September 2024).
- AVENTICS. Smart Pneumatics Opportunities for Industry Through Intelligent Pneumatics. Available online: https://www.cmafh.com/enewsletter/PDFs/Smart-Pneumatics_IoT_R500000017.pdf (accessed on 27 September 2024).
- Digital Ultrasonic Testing Device SONAPHONE for Preventive Maintenance by Sonotec GmbH. Available online: https://www.sonotec.eu/fileadmin/user_upload/business_units/2-preventive-maintenance/products/sonaphone/flyer-sonaphone-en-sonotec_01.pdf (accessed on 27 September 2024).
- Czopek, D.; Gryboś, D.; Leszczyński, J.; Wiciak, J. Identification of energy wastes through sound analysis in compressed air systems. Energy 2021, 239, 122122. [Google Scholar] [CrossRef]
- Mahmoud, H.; Vlašic, F.; Mazal, P.; Jana, M. Leakage analysis of pneumatic cylinders using acoustic emission. Insight-Non-Destr. Test. Cond. Monit. 2017, 59, 500–505. [Google Scholar] [CrossRef]
- Mahmoud, H. Diagnosis of Pneumatic Cylinders Using Acoustic Emission Methods. Ph.D. Thesis, Brno University of Technology, Brno, Czech Republic, 2017. [Google Scholar]
- Zhang, S.; Asakura, T.; Hayashi, S. Gas Leakage Fault Detection of Pneumatic Pipe System Using Neural Networks. JSME Int. J. Ser. C Mech. Syst. Mach. Elem. Manuf. 2004, 47, 568–573. [Google Scholar] [CrossRef][Green Version]
- Johnson, D.; Kirner, J.; Grollmisch, S.; Liebetrau, J. Compressed Air Leakage Detection Using Acoustic Emissions with Neural Networks. In Proceedings of the INTER-NOISE and NOISE-CON Congress and Conference Proceedings, InterNoise20, Seoul, Republic of Korea, 23–26 August 2020; pp. 5662–5673. [Google Scholar]
- Muth, A. Reibkraftermittlung an pneumatischen Ventilen und Zylindern. Ph.D. Thesis, TU Dresden, Dresden, Germany, 1997. [Google Scholar]
- Vygantas, A.; Saunoris, M. Investigation of high frequency vibrations of pneumatic cylinders. Ultragarsas 2004, 51, 21–26. [Google Scholar]
- González, R.G. Development of a Diagnostic Concept for Pneumatics Systems and Components. Ph.D. Thesis, RWTH Aachen, Aachen, Germany, 2012. [Google Scholar]
- Kosturkov, R.; Nachev, V.; Titova, T. Diagnosis of Pneumatic Systems on Basis of Time Series and Generalized Feature for Comparison with Standards for Normal Working Condition. TEM J. 2021, 10, 183–191. [Google Scholar] [CrossRef]
- Gauchel, W.; Streichert, T.; Wilhelm, Y. Predictive maintenance with a minimum of sensors using pneumatic clamps as an example. In Proceedings of the 12th International Fluid Power Conference, Dresden, Germany, 9–11 March 2020; pp. 175–183. [Google Scholar] [CrossRef]
- Borg, M.; Refalo, P.; Francalanza, E. Pneumatic Fault Monitoring and Control for Sustainable Compressed Air Systems. Procedia CIRP 2024, 122, 217–222. [Google Scholar] [CrossRef]
- Borg, M.; Refalo, P.; Francalanza, E. Autonomous Fault Monitoring for Efficient Multi-Actuator Compressed Air Systems:Data Analytics of Demand-Oriented Parameters. Procedia Comput. Sci. 2024, 232, 783–793. [Google Scholar] [CrossRef]
- Doll, M.; Neumann, R.; Sawodny, O. Dimensioning of pneumatic cylinders for motion tasks. Int. J. Fluid Power 2015, 16, 11–24. [Google Scholar] [CrossRef]
- Doll, M. Optimierungsbasierte Strategien zur Steigerung der Energieeffizienz pneumatischer Antriebe. Ph.D. Thesis, University of Stuttgart, Stuttgart, Germany, 2015. [Google Scholar]
- Pham, V.-H.; Nguyen, T.-D.; Bui, T.-A. Behavior of Friction in Pneumatic Cylinders with Different Relative Humidity. Tribol. Ind. 2020, 42, 400–406. [Google Scholar] [CrossRef]
- Assembly Automation for Sustainable Energy Solutions by XENON Automatisierungstechnik GmbH. Available online: https://www.xenon-automation.com/products/energy/fuel-cells-electrolyzers (accessed on 27 September 2024).
- Unger, M. Systematische Analyse von Druckluftleckagen. Ph.D. Thesis, University of Stuttgart, Stuttgart, Germany, 2021. [Google Scholar] [CrossRef]





















| Fault | Definition and Examples |
|---|---|
| External leakage | Air leakage from the actuator into the environment. Possible causes:
|
| Internal leakage | Interchamber leakage. Possible causes:
|
| Increased friction | Additional external force. Possible causes:
|
| Parameter | Value |
|---|---|
| Supply pressure pS (bar abs.) | 7 |
| Stroke h (mm) | 200 |
| Valve–cylinder distance lvc (m), PUN-8 tubing | 0.5 |
| Extension time te (s) | 0.290 |
| Retraction time tr (s) | 0.380 |
| Moving mass m (kg) | 11 |
| PFR, extension: Ωe (-) | 1.3 |
| PFR, retraction: Ωr (-) | 1.7 |
| Parameter | Cylinder 1 (Oversized) | Cylinder 2 (Well-Sized) |
|---|---|---|
| Type | Festo DSNU-10-50-P-A | Festo DFM-16-20-P-A-KF |
| Task | Flap actuation | Fuel stack feeding |
| Throttling | Meter-out | |
| Alignment | Vertical, rod upwards | |
| Supply pressure pS (bar abs.) | 6 | |
| Valve–cylinder distance lvc (m) | 2 (PUN-4 tubing) | 9 (PUN-4 tubing) |
| Extension time te (ms) | 267 | 99 |
| Retraction time tr (ms) | 53 | 129 |
| Moving mass m (kg) | 0.025 | 0.23 |
| PFR, extension: Ωe (-) | 6.4 | 1.0 |
| PFR, retraction: Ωr (-) | 1.3 | 1.3 |
Disclaimer/Publisher’s Note: The statements, opinions and data contained in all publications are solely those of the individual author(s) and contributor(s) and not of MDPI and/or the editor(s). MDPI and/or the editor(s) disclaim responsibility for any injury to people or property resulting from any ideas, methods, instructions or products referred to in the content. |
© 2024 by the authors. Licensee MDPI, Basel, Switzerland. This article is an open access article distributed under the terms and conditions of the Creative Commons Attribution (CC BY) license (https://creativecommons.org/licenses/by/4.0/).
Share and Cite
Boyko, V.; Weber, J. Cycle Time-Based Fault Detection and Localization in Pneumatic Drive Systems. Actuators 2024, 13, 447. https://doi.org/10.3390/act13110447
Boyko V, Weber J. Cycle Time-Based Fault Detection and Localization in Pneumatic Drive Systems. Actuators. 2024; 13(11):447. https://doi.org/10.3390/act13110447
Chicago/Turabian StyleBoyko, Vladimir, and Jürgen Weber. 2024. "Cycle Time-Based Fault Detection and Localization in Pneumatic Drive Systems" Actuators 13, no. 11: 447. https://doi.org/10.3390/act13110447
APA StyleBoyko, V., & Weber, J. (2024). Cycle Time-Based Fault Detection and Localization in Pneumatic Drive Systems. Actuators, 13(11), 447. https://doi.org/10.3390/act13110447

