You are currently viewing a new version of our website. To view the old version click .
Buildings
  • Article
  • Open Access

15 August 2025

Comparative Analysis of AWP and IPD Methods: Strengths, Challenges, and Opportunities

,
,
and
1
Centrale Lille, Cité Scientifique—CS 20048, 59651 Villeneuve d’Ascq Cedex, France
2
Institut Français de la Construction Lean, 59000 Lille, France
*
Authors to whom correspondence should be addressed.
This article belongs to the Collection Buildings for the 21st Century

Abstract

Despite continued efforts to improve the construction industry’s performance in terms of productivity, budget adherence, and schedule reliability, the sector remains a laggard compared to others. Among the innovative project management approaches aimed at addressing these issues are Advanced Work Packaging (AWP) and Integrated Project Delivery (IPD). This study conducts a comparative literature-based analysis of AWP and IPD, focusing on their performance outcomes and implementation challenges. Through a systematic review of 47 publications and key institutional reports, this study evaluates both methods across criteria such as adaptability, risk sharing, collaboration, workflow granularity, and cost-effectiveness. The results indicate that AWP excels in workflow standardization, package-level planning, and field execution, particularly in industrial and modular projects, while IPD demonstrates superior adaptability, stakeholder integration, and collaborative risk management in complex building projects. However, both methods face barriers including legal constraints, change resistance, and high integration costs. This study proposes context-specific recommendations and highlights potential synergies between AWP and IPD. While the analysis is constrained by limited empirical studies—especially regarding AWP—it lays a foundation for future research and offers actionable insights for project managers selecting between or integrating the two methods.

1. Introduction

The construction industry’s contribution to economic growth is significant in virtually all countries, whether directly through employment and revenue or indirectly through its deliverables, such as infrastructure [1]. However, the industry faces multiple challenges that affect its productivity, profitability, and sustainability [2]. Low productivity has long been a persistent challenge in the construction industry [3,4], leading to missed deadlines, budget overruns, rework, and ultimately decreased profitability [5]. The industry also generates a substantial amount of waste, estimated at up to 42 million tons per year [6,7], with significant environmental impacts, primarily large carbon emissions and the depletion of natural resources [8,9,10]. Beyond performance issues, the industry also operates in a context where invoice defaulting is common, leading to financial strains and jeopardizing construction companies’ viability [11,12,13,14,15].
The continued struggles of the construction industry have fostered a thriving research community that is consistently seeking innovative solutions to improve performance indicators, primarily by adapting proven practices from other industries [16], with a particular focus on construction project management. Approaches such as Lean Construction, Integrated Project Delivery (IPD), and Advanced Work Packaging (AWP) aim to reshape construction project management by increasing productivity and efficiency, reducing waste and rework, and improving stakeholder collaboration [12,15,17,18,19,20,21,22]. This study focuses on IPD and AWP among these approaches.
IPD is a collaborative approach that engages all stakeholders in a construction project from its early stages to ensure a successful outcome [15,19,21]. In contrast, AWP focuses on planning and organizing work processes to maximize efficiency and reduce waste [18,23]. By comparing the two methodologies, this study aims to identify the most suitable approach for addressing the challenges faced by the construction sector.
In pursuit of the stated goal, this study investigates and compares AWP and IPD through a systematic literature review. While both methods have been independently explored in prior research, there is a noticeable lack of comparative studies evaluating their respective strengths, limitations, and contextual suitability. In particular, the literature is scarce regarding how AWP and IPD relate to each other, overlap, or could be integrated —and few studies have examined them across multiple evaluation dimensions. This gap is more pronounced for AWP, which remains underrepresented in academic studies outside the industrial construction sector. To address this gap, the present study contributes to the existing body of knowledge by synthesizing available evidence on AWP and IPD, evaluating their performance and implementation challenges across defined criteria, and offering practical, scenario-based recommendations. The findings aim to assist construction professionals and researchers in selecting, adapting, or combining these methods based on project characteristics, thus supporting more informed decision-making and future empirical research directions.

2. Background

2.1. Integrated Project Delivery

IPD is an approach to project management that emphasizes collaboration and integration between all stakeholders, including owners (principals and operators), project managers, and construction teams [24], see Figure 1. The key concept behind IPD is the formation of a collective environment with shared risks and benefits, which aligns the interests of all parties toward the common goal of project success. IPD optimizes project results in terms of time, cost, and quality [24], while combining individual skills and talents and deferring the reward of profits to the end of the project [15]. It represents a significant departure from the traditional sequentially awarded contracts that offer little flexibility and from the design–build approach [19], where actors collaborate with the intention of a project-centered interest [25]. The key to this departure is segmenting tasks and responsibilities. IPD also supports a wide range of projects with varying degrees of complexity, duration, and scales [26], and is often practiced in health, public procurement, industrial, and infrastructure projects, where coordination and collaboration among stakeholders are critical for project success [19].
Figure 1. The relationships between stakeholders in an IPD Project.
While IPD has made major strides in some markets since the 1990s and has emerged as an efficient model in the construction industry [24], it is yet to become mainstream, due to challenges mainly derived from the IPD’s organizational scheme. However, the recent COVID-19 pandemic has highlighted the importance of adaptability, flexibility, and resilience in project management [27]. In this context, IPD can help achieve these goals by fostering a culture of collaboration and trust [25].

2.2. Advanced Work Packaging

AWP is a structured management approach widely used in complex projects where coordination and collaboration are critical to success [23]. It is characterized by a comprehensive and systematic process encompassing the project’s design, planning, and construction phases [3,28,29]. As shown in Figure 2, AWP provides a framework for productive, predictable, and incremental construction [30]. It emphasizes the need for a construction execution plan that outlines the sequence of work and identifies the interdependence among various work packages [31]. The AWP process involves creating a detailed process flow for all work packages, including construction, engineering, and installation, to optimize performance by providing construction teams with the tools, means, and data necessary for successful work execution [32]. AWP’s critical benefits include increasing project performance and value by reducing waste, minimizing rework, and enhancing project productivity (CII-AWP Education & Outreach Subcommittee 2020; CII-RT319 2015). AWP achieves these outcomes by providing a constraint-free working environment that enables teams to focus on executing their work packages systematically and efficiently [33]. Additionally, AWP fosters team loyalty, workforce optimization, and regularity [32]. It also promotes a sectorized approach to thinking, communication, and field operations involving the project’s construction teams across different trades [17]. The principle is to start early, producing standard deliverables at each project stage.
Figure 2. The relationships between stakeholders in an AWP Project.
Despite its benefits, AWP remains less explored in academic literature compared to IPD, particularly in non-industrial construction contexts. This lack of broad-based empirical research has contributed to implementation uncertainty and knowledge gaps in adapting AWP beyond its traditional sectors.
Both AWP and IPD have a lot to offer to construction teams, which also comes with a set of challenges unique to each method. Through the following methodology, presented in the next section, we aim to present researchers and practitioners with a thorough comparative analysis to paint a clearer picture of what method to use where.

3. Research Methodology

This study conducts a comprehensive literature review on AWP and IPD, following a modified version of the methodology proposed by [16]. A two-phase methodology was adopted, as illustrated in Figure 3.
Figure 3. The research methodology.
Phase I: literature retrieval (PI-LR)
Through this phase, the authors ensured the retrieved literature was relevant and useful for delivering the research objectives. The following literature screening criteria were used:
  • Keywords: “Advanced Work Packaging”, AWP, and “Integrated Project Delivery”, IPD.
  • Industry Context: Construction sector only.
  • Language: English.
  • Publication Date: After 2013.
  • Databases: Google Scholar, Scopus, and Web of Science.
  • Inclusion: Peer-reviewed articles, institutional reports, and selected books.
  • Exclusion: Duplicates, off-topic results, and non-construction-related publications.
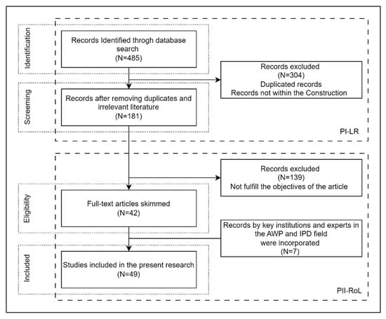
Major academic databases, such as Google Scholar, Web of Science, and Scopus, were queried, initially yielding 485 articles. Duplicate records and articles from unrelated fields were removed. The remaining abstracts and keywords were reviewed for relevance, resulting in a final selection of 181 pertinent records. Their temporal distribution over the study period is shown in Figure 4.
Figure 4. The distribution of the retrieved literature over the period of the study.
Notably, only 19 of these records focused on AWP, highlighting the limited coverage of this method in scholarly literature. This further underscores the importance of evaluating AWP alongside IPD to prevent misapplication and to identify potential complementarities. The final set of 181 records was used in the next review phase.
Phase II: Review of the collected literature (PII-RoL)
The 181 records identified through Phase I were evaluated for alignment with the research objectives. This led to the exclusion of 139 articles. To supplement the analysis, additional manuals and books authored by key institutions and experts in AWP and IPD were included. Ultimately, 47 articles and two books formed the core dataset for comparative analysis.
The outcomes of the literature analysis are presented in the following section. Figure 5 illustrates the progression of publication screening across the research methodology.
Figure 5. Records review.
To evaluate the comparative performance and implementation challenges of AWP and IPD, a set of criteria was identified from recurring themes in the reviewed literature and based on their relevance in previous comparative studies (e.g., [19,34]). Each criterion was treated with equal weight in this review to maintain objectivity and transparency. Additionally, consensus thresholds were categorized as weak (<33%), moderate (33–67%), or high (>67%) based on standard qualitative synthesis practices and frequency-based consensus heuristics.

4. Results and Discussions

The two methods are compared primarily according to their performance and the challenges of implementation, as presented in the following subsections.

4.1. The Performance of IPD and AWP

Several studies demonstrate the superior performance of both IPD and AWP compared to traditional organizational models [30,33,35,36], particularly in large-scale projects [13,31], due to their high levels of collaboration [30].
The selection of comparison criteria—such as adaptability, innovation, collaboration, and workflow granularity—was based on two factors: (1) their recurrence in the reviewed literature as critical performance dimensions of AWP and IPD; and (2) their alignment with commonly used evaluation frameworks in construction delivery studies. These criteria reflect key project outcomes, such as cost control, process efficiency, stakeholder engagement, and scalability. Therefore, they offer a consistent basis for comparing the two methodologies.
Performance was assessed against criteria including adaptability to project types, innovation, continuous measurement, risk ownership, management model stability, productivity and cost reductions, collaboration, workflow maintenance, and granularity. Equations (1a) and (1b) were used to evaluate consensus among researchers, as follows:
A W P C i = N _ A W P C i N _ A W P
I P D C i = N _ I P D C i N _ I P D
where
A W P C i is the consensus in the AWP-related literature around Criterion i.
N _ A W P C i is the number of publications in the AWP-related literature that supports a positive performance of AWP concerning Criterion i.
N _ A W P is the number of publications about AWP in the final list of reviewed literature; N _ A W P = 19 .
I P D C i is the consensus in the IPD-related literature around Criterion i.
N _ I P D C i is the number of publications in the IPD-related literature that supports a positive performance of IPD concerning Criterion i.
N A W P is the number of publications about IPD in the final list of reviewed literature; N I P D   =   30 .
Now based on the value of consensus, the performance is determined to be weak, medium, and high, as follows:
If the consensus of criterion i is below 33%, then the corresponding method (IPD or AWP) has a weak performance concerning criterion I.
If the consensus of criterion i is above 67%, then the corresponding method (IPD or AWP) has a high-performance concerning criterion i.
If the consensus of criterion i is between 33% and 67%, then the corresponding method (IPD or AWP) has a medium performance. The summary of this comparison is succinctly depicted in Figure 6.
Figure 6. Analysis of AWP–IPD Performances in relation to the determined criteria.
These thresholds are adapted from common heuristics in qualitative synthesis and frequency-based classification. Though not statistically derived, they offer a transparent and replicable framework for measuring relative consensus.
The following sections describe performance across the selected criteria in detail.
Adaptability to project types
The IPD model is known for its flexibility which enables its application to many project types in the construction sector, including buildings, infrastructure, and even renovation projects [21]. The AWP approach, on the contrary, is primarily designed for industrial construction projects—like petrochemical facilities, oil and gas sites, and offshore installations—where modularization and prefabrication are often used [3,32].
AWP relies heavily on work packages and predefined work units planned and executed independently [37], and its usefulness is magnified in construction projects with high repetition and standardization [38]. Despite some successful implementation of AWP in non-industrial construction projects, it has not cultivated significant interest outside the industrial construction sector [37]. That said, the IPD model is more adaptable and applicable to a wider range of construction projects than AWP [34].
Innovative implementation
Innovation implementation in this context refers to the degree to which each method enables or fosters the adoption of new technologies, collaborative practices, and process optimizations during project delivery. IPD and AWP break the silos construction practitioners often find themselves in [39], optimize communication [24], minimize information loss, and streamline processes. As such, they enable stakeholders to rally around a central and common objective, leading to a reduction in waste [24,40] and the risk of litigation [28,41].
Continuous measurement
The IPD model allows for a higher degree of customization, as it is developed based on the specific needs and requirements of the project while still adhering to the principles of collaboration and integration [42]. On the other hand, the AWP approach focuses on organizing work by its finality and producing batches of completed installation work that contain only what is necessary for execution [32]. This approach can significantly reduce rework and improve project efficiency. It is worth noting that IPD and AWP can be integrated to enhance the benefits of both approaches.
Risk ownership
Risk ownership denotes the distribution and management of project risks among stakeholders, particularly how responsibilities and liabilities are shared or assigned across the delivery process. Both AWP and IPD provide improved performance that helps to optimize and streamline processes while mitigating risks and reducing avoidable expenses. However, the IPD approach differs in that project participants accept and manage design and construction risks as a team, which reduces unexpected change orders, improves the project delivery schedule, increases client satisfaction, and establishes a culture of collaboration and trust. In short, the risk in IPD is shared among all shareholders. Conversely, AWP relies on a different risk management approach, primarily driven by the chosen contracting strategy, which divides and assigns risk responsibility.
Management model Stability
The AWP model offers better standardization and clearly defined roles; using work packages in the AWP approach allows for work standardization and the creation of clear and specific scopes of work for each trade [43]. This standardization level can help reduce misunderstandings and conflicts in complex construction projects involving many trades and stakeholders. Furthermore, the AWP model offers a more stable management model than IPD, as it relies on a well-defined hierarchy of roles and responsibilities that help ensure that each person involved in the project understands their role and what is expected of them [37].
Productivity and cost reduction
Studies have shown that IPD and AWP models can improve productivity in construction projects, resulting in cost savings and improved margins. For example, Mesa et al. [19] report that implementing the AWP approach in a petrochemical plant project led to a 15%, 10%, and 30% reduction in direct costs, overall project costs, and rework, respectively, and improved safety performance. Kalsaas et al. [34] show that implementing the IPD model in a healthcare project resulted in 17% and 28% reductions in construction and overall project costs and a 50% reduction in change orders. Ma et al. [41] demonstrated that integrating Lean construction principles, IPD, and AWP can lead to significant cost savings and improved project performance in a building project in China.
As such, it is possible to argue that IPD and AWP models can improve productivity, reduce project costs, and increase profit margins. However, it is hard to conclude which approach has the upper hand due to the lack of case studies in which both methods are implemented in a similar context.
Collaboration
While IPD and AWP models are based on close collaboration and provide a highly structured communication environment [24], their central thesis differs considerably. Collaboration in the IPD model is a major part, as the method emphasizes a team-based approach, where all stakeholders are integrated into a collaborative environment to achieve the project’s objectives [19]. Collaboration in AWP is necessary and integral to success. However, the focus is on the planning and execution of work packages [19].
Workflow maintaining
The workflow presents a crucial information flow in two different project delivery methods, IPD and AWP, concerning their impact on collaboration, stakeholder integration, and project definition levels during the validation phase. IPD is characterized by a continuous information workflow that fosters stakeholder trust and collaboration. Similarly, AWP emphasizes collaboration and sharing information, know-how, and feedback. However, it distinguishes itself by its unique approach to engaging all parties involved through the construction and implementation teams.
Granularity
The granularity of the AWP method allows for a deeper level of project definition from the validation phase, which is not observed in the IPD method. As a result, a gap is observed between the project definition levels of the two approaches during the validation phase. Additionally, the alliances formed by stakeholders differ between the two methods, with IPD being based on sharing gains and risks.

4.2. The Challenges of Implementing IPD and AWP

Implementing either AWP or IPD requires substantial investments in time, training, contractual restructuring, and organizational change [31,37], which may pose difficulties for smaller projects [38]. The challenges identified in the literature can be grouped into seven categories: (i) contractual environment, (ii) change resistance, (iii) architectural mindset, (iv) legal structures, (v) implementation time, (vi) integration cost, and (vii) organizational transformation.
To compare the perceived severity of these challenges for AWP and IPD, a literature consensus approach like the performance evaluation was applied, using Equations (2a) and (2b) as follows:
A W P C h i = N _ A W P C h i N _ A W P
I P D C h i = N _ I P D C h i N _ I P D
where
A W P C h i is the urgency in the AWP-related literature around Challenge i.
N _ A W P C h i is the number of publications in the AWP-related literature that DOES NOT mention Challenge i.
N _ A W P is the number of publications about AWP in the final list of reviewed literature; N _ A W P = 19 .
I P D C i is the urgency in the IPD-related literature around Challenge i.
N _ I P D C h i is the number of publications in the IPD-related literature that DOES NOT mention Challenge i.
N I P D is the number of publications about IPD in the final list of reviewed literature; N I P D = 30 .
Based on these values, we encounter the following three scenarios:
The urgency score is less than 33% and indicates a low challenge severity, in which the challenge is prescribed but lacks proper consideration and validation within the literature.
The urgency score is 33% to 67%, indicating a medium challenge severity and necessitates careful consideration when implementing IPD or AWP.
The urgency score is more than 67% indicates a high challenge severity, and it shows that the challenge is either not mentioned or rarely addressed in the literature.
An overall summary of the challenge’s comparison is presented in Figure 7.
Figure 7. Analysis of AWP–IPD Challenges Classification.
Contractual challenges
The challenge in the contractual environment for Advanced Work Packaging lies in devising appropriate arrangements among project stakeholders to accommodate its collaborative nature and mitigate potential conflicts and coordination issues. Integrated Project Delivery faces a distinct challenge in transitioning from adversarial contracts to foster collaboration and risk-sharing among participants, necessitating careful negotiations and trust-building. Early stakeholder involvement, effective communication, and well-crafted contracts aligning with collaborative objectives are essential to address these challenges. The success of both AWP and IPD hinges on overcoming these contractual challenges and fostering a cooperative environment among project participants. However, the specific challenges faced by each method may vary depending on the project’s context and the stakeholders involved.
Change resistance
Change resistance poses a critical challenge in implementing both methods. AWP faces opposition due to its shift in project execution strategies and the need to change traditional construction practices. This leads to concerns about coordination efforts, workflow adjustments, and potential disruptions to established routines. Overcoming AWP’s change resistance requires comprehensive change management strategies, effective communication, and demonstrating the benefits of process optimization and risk reduction. Similarly, IPD implementation encounters resistance as it necessitates a shift from individualistic decision-making to a cooperative and collective approach. Stakeholders may raise concerns about sharing responsibilities and changes in roles and power dynamics within the project team. IPD’s emphasis on transparency and open communication might also face resistance in organizations accustomed to closed or hierarchical communication structures. Addressing IPD’s change resistance involves fostering a culture of trust and collaboration, incentivizing cooperation, and involving all stakeholders in decision-making.
Architects’ approach
The architectural mindset is a challenge in implementing AWP and IPD. In AWP, architects must shift to a collaborative perspective, collaborating with construction teams for efficient work packaging. Overcoming this challenge involves early engagement, fostering a culture of collaboration, and providing relevant training. Similarly, IPD emphasizes collaborative decision-making, requiring architects to become proactive participants. Addressing this challenge involves creating a trusting environment and facilitating architects’ contributions to decision-making. A shift towards collaboration and integration is crucial in both methodologies, necessitating early engagement, tailored training, and a culture of collaboration for successful implementation.
Legal environment
The legal environment, encompassing existing regulations and the potential for change, can pose challenges for AWP and IPD alike. AWP’s collaborative nature might require modifying current regulations and contractual frameworks to accommodate its unique features, such as shared responsibilities and risk allocation. Similarly, IPD’s emphasis on integrated decision-making may necessitate modifications to existing legal structures to facilitate seamless collaboration among project stakeholders. Addressing these challenges involves navigating regulatory constraints and advocating for changes supporting AWP and IPD principles. Collaborating with regulatory bodies and industry stakeholders becomes essential to ensure a legal environment that supports the successful implementation and maximizes the benefits of these innovative approaches.
Time for implementation
Both AWP and IPD face time-related challenges during implementation. AWP’s shift to work packaging requires planning, coordination, and adapting to new processes and tools. Similarly, IPD’s emphasis on early stakeholder involvement and integrated decision-making demands time to establish trust and a collaborative culture among project participants. Despite the initial time investment, the long-term benefits of improved project outcomes and reduced risks make the implementation worthwhile. Dedicating sufficient time and resources to educate and integrate project teams can considerably reduce the implementation time in the long run for both methods.
Cost of integration
Integration costs are a common challenge for AWP and IPD, but their specific impacts depend on the project context. AWP implementation may involve expenses for training, software, and coordination efforts. At the same time, IPD might require investments in team building and communication tools. Successful management of this challenge entails meticulous planning and a focus on maximizing long-term project success. Overall, integration costs can vary, but careful consideration of the advantages they bring ensures the effective implementation of AWP and IPD.
Organizational change
The level of challenge regarding organizational change can vary between AWP and IPD, depending on the specific organizational context and culture. AWP implementation requires redefining roles, responsibilities, and communication patterns, which may encounter resistance in organizations with hierarchical structures. Similarly, IPD emphasizes shared decision-making and risk-sharing, necessitating a culture of collaboration and trust among project team members. Organizations accustomed to siloed decision-making may find it challenging to embrace the cooperation required in IPD. However, with effective change management strategies, clear communication about the benefits, and strong leadership, AWP and IPD can be successfully integrated within organizations, improving project outcomes, and enhancing teamwork.

5. Conclusion, Research Direction, and Limitations

This study offers a comparative analysis of Advanced Work Packaging (AWP) and Integrated Project Delivery (IPD), two increasingly adopted project management methods aimed at enhancing construction performance through improved cost efficiency, productivity, collaboration, and risk mitigation. By synthesizing insights from 47 peer-reviewed studies and institutional reports, this review outlines the strengths, limitations, and contextual suitability of each approach across a set of critical evaluation criteria.
The findings suggest that AWP performs well in execution-level control, workflow standardization, and modular coordination, making it particularly valuable for industrial and prefabricated construction environments. In contrast, IPD exhibits strengths in early-phase stakeholder integration, collaborative decision-making, and adaptability, proving more effective in complex, design-intensive, or public sector projects. However, both models face common challenges, including contractual rigidity, legal constraints, change resistance, and high integration costs.
A notable contribution of this study lies in offering scenario-specific guidance for project managers. Depending on project typology, stakeholder configuration, and technological maturity, AWP and IPD can be deployed independently or as complementary strategies. For instance, IPD may be employed during early planning to align stakeholder interests, while AWP may be more suitable during execution phases for enforcing constraint-free workflows.
However, several limitations must be acknowledged. First, this study relies solely on secondary data due to the absence of published studies about empirical applications and comparisons in case studies. Further case studies are needed to analyze the existing benefits and challenges. Second, the lack of field investigation could affect the weights of presented performance metrics. Future research could integrate multi-criteria decision analysis (MCDA) or similar frameworks to prioritize performance metrics more rigorously. Third, the current is a general exploration review that lacks sufficient exploration of regional variation. Legal systems, industry culture, regulatory frameworks, and technology adoption levels vary widely across countries and significantly affect how AWP and IPD are implemented. Further investigation into region-specific barriers and enablers is recommended.

Author Contributions

Conceptualization, Z.L.; Methodology, S.R. and W.A.; Validation, Z.L.; Formal analysis, S.R. and H.O.; Data curation, H.O.; Writing—original draft, S.R. and H.O.; Writing—review and editing, Z.L. and W.A.; Visualization, H.O.; Supervision, Z.L. and W.A.; Project administration, Z.L. and W.A. All authors have read and agreed to the published version of the manuscript.

Funding

This research received no external funding.

Data Availability Statement

The data presented in this study are available on request from the corresponding author. The data are not publicly available because the data are part of an ongoing study.

Conflicts of Interest

The authors declare no conflicts of interest.

References

  1. Ruddock, L.; Lopes, J. The construction sector and economic development: The ‘Bon curve’. Constr. Manag. Econ. 2006, 24, 717–723. [Google Scholar] [CrossRef]
  2. Bamgbade, J.A.; Kamaruddeen, A.M.; Nawi, M.N.M.; Adeleke, A.Q.; Salimon, M.G.; Ajibike, W.A. Analysis of some factors driving ecological sustainability in construction firms. J. Clean. Prod. 2019, 208, 1537–1545. [Google Scholar] [CrossRef]
  3. Rebai, S.; AlBalkhy, W.; Hamdi, O.; Lafhaj, Z. Lean Construction and AWP: Similarities, Differences, and Opportunities. In Proceedings of the 31st Annual Conference of the International Group for Lean Construction (IGLC31), Lille, France, 26 June–2 July 2023. [Google Scholar]
  4. Rebai, S.; Sepúlveda, I.; AlBalkhy, W.; Hamdi, O.; Lafhaj, Z.; Alarcón, L.F.; Yim, P. Barriers to Adopting Advanced Work Packaging (AWP) in Construction. Buildings 2024, 14, 1032. [Google Scholar] [CrossRef]
  5. Albalkhy, W.; Sweis, R. Barriers to adopting lean construction in the construction industry: A literature review. Int. J. Lean Six Sigma 2021, 12, 210–236. [Google Scholar] [CrossRef]
  6. Nagapan, S.; Rahman, I.A.; Asmi, A. Factors contributing to physical and non-physical waste generation in construction industry. Int. J. Adv. Appl. Sci. 2012, 1, 1–10. Available online: http://download.garuda.kemdikbud.go.id/article.php?article=1494229&val=158&title=Factors (accessed on 15 June 2025). [CrossRef]
  7. Dardouri, S.; BuHamdan, S.; Albalkhy, W.; Dakhli, Z.; Danel, T.; Lafhaj, Z. RFID platform for construction materials management. Int. J. Constr. Manag. 2023, 23, 2509–2519. [Google Scholar] [CrossRef]
  8. Huisingh, D.; Zhang, Z.; Moore, J.C.; Qiao, Q.; Li, Q. Recent advances in carbon emissions reduction: Policies, technologies, monitoring, assessment and modeling. J. Clean. Prod. 2015, 103, 1–12. [Google Scholar] [CrossRef]
  9. El Moussaoui, S.; Lafhaj, Z.; Leite, F.; Fléchard, J.; Linéatte, B. Construction Logistics Centres Proposing Kitting Service: Organization Analysis and Cost Mapping. Buildings 2021, 11, 105. [Google Scholar] [CrossRef]
  10. Oke, A.E.; Arowoiya, V.A. Evaluation of iot application areas for sustainable construction. Smart Sustain. Built Environ. 2021, 10, 387–402. [Google Scholar] [CrossRef]
  11. Lafhaj, Z.; Rebai, S.; AlBalkhy, W.; Hamdi, O.; Mossman, A.; Alves Da Costa, A. Complexity in construction projects: A literature review. Buildings 2024, 14, 680. [Google Scholar] [CrossRef]
  12. Rodrigues, M.R.; Lindhard, S.M. Benefits and challenges to applying IPD: Experiences from a Norwegian mega-project. Constr. Innov. 2023, 23, 287–305. [Google Scholar] [CrossRef]
  13. Kelly, D.; Ilozor, B. Performance outcome assessment of the integrated project delivery (IPD) method for commercial construction projects in USA. Int. J. Constr. Manag. 2022, 22, 2808–2816. [Google Scholar] [CrossRef]
  14. Sherif, M.; Abotaleb, I.; Alqahtani, F.K. Application of Integrated Project Delivery (IPD) in the Middle East: Implementation and Challenges. Buildings 2022, 12, 467. [Google Scholar] [CrossRef]
  15. Guo, S.; Wang, J.; Xiong, H. The influence of effort level on profit distribution strategies in IPD projects. Eng. Constr. Archit. Manag. 2022. ahead-of-print. [Google Scholar]
  16. BuHamdan, S.; Alwisy, A.; Bouferguene, A.; Al-Hussein, M. Novel Approach to Overcoming Discontinuity in Knowledge: Application in Value-Adding Frameworks in Construction Industry. J. Constr. Eng. Manag. 2019, 145, 4019045. [Google Scholar] [CrossRef]
  17. CII. Advanced Work Packaging: Design through Workface Execution, Version 2.1; Chartered Insurance Institute (CII): London, UK, 2013. [Google Scholar]
  18. Meeks, S.E. Enhanced Work Packaging: Design Through Workface Execution; Colorado Alliance for Environmental Education (CAEE): Denver, CO, USA, 2011. [Google Scholar]
  19. Mesa, H.A.; Molenaar, K.R.; Alarcón, L.F. Comparative analysis between integrated project delivery and lean project delivery. Int. J. Proj. Manag. 2019, 37, 395–409. [Google Scholar] [CrossRef]
  20. Manata, B.; Garcia, A.J.; Mollaoglu, S.; Miller, V.D. The effect of commitment differentiation on integrated project delivery team dynamics: The critical roles of goal alignment, communication behaviors, and decision quality. Int. J. Proj. Manag. 2021, 39, 259–269. [Google Scholar] [CrossRef]
  21. Khanna, M.; Elghaish, F.; McIlwaine, S.; Brooks, T. Feasibility of implementing IPD approach for infrastructure projects in developing countries. J. Inf. Technol. Constr. 2021, 26, 902–921. [Google Scholar] [CrossRef]
  22. Piroozfar, P.; Farr, E.R.P.; Zadeh, A.H.M.; Inacio, S.T.; Kilgallon, S.; Jin, R. Facilitating Building Information Modelling (BIM) using Integrated Project Delivery (IPD): A UK perspective. J. Build. Eng. 2019, 26, 100907. [Google Scholar] [CrossRef]
  23. Ganesh, S.; Chakravarthy, P.R.K.; Ilango, T. Optimization in men & material cost using AWP technology. Mater. Today Proc. 2022, 52, 1875–1883. [Google Scholar] [CrossRef]
  24. El Asmar, M.; Hanna, A.S.; Loh, W.-Y. Quantifying Performance for the Integrated Project Delivery System as Compared to Established Delivery Systems. J. Constr. Eng. Manag. 2013, 139, 1–14. [Google Scholar] [CrossRef]
  25. Ma, Z.; Ma, J. Formulating the application functional requirements of a BIM-based collaboration platform to support IPD projects. KSCE J. Civ. Eng. 2017, 21, 2011–2026. [Google Scholar] [CrossRef]
  26. Osman, W.N.; Nawi, M.N.; Anuar, H.S.; Radzuan, K.; Osman, N.N. Readiness Assessment for Implementation of Integrated Project Delivery (IPD) in Industrialised Building System (IBS) Projects. J. Teknol. 2015, 77, 91–95. [Google Scholar] [CrossRef]
  27. Salami, B.A.; Ajayi, S.O.; Oyegoke, A.S. Coping with the Covid-19 pandemic: An exploration of the strategies adopted by construction firms. J. Eng. Des. Technol. 2022, 20, 159–182. [Google Scholar] [CrossRef]
  28. Farghaly, K.; Soman, R.K. Bridging the gap between Information Management and Advanced Work Packaging: AWP Ontology. In Proceedings of the 38th International Conference of CIB W78, Luxembourg, 11–15 October 2021; pp. 11–15. [Google Scholar]
  29. Rebai, S.; Hamdi, O.; BuHamdan, S.; Lafhaj, Z.; Yim, P. AWP for residential buildings to modular construction: A proposed framework. In Proceedings of the 2022 Modular and Offsite Construction (MOC) Summit, Edmonton, Canada, 25–29 July 2022; 29, pp. 50–57. [Google Scholar] [CrossRef]
  30. O’Connor, J.T.; Leite, F.; Ma, J.W. Expanding advanced work packaging to include commissioning and startup for industrial projects. Constr. Innov. 2022. ahead-of-print. [Google Scholar]
  31. Hamdi, O.; Leite, F.; O’brien, W.J. Advanced Work Packaging from Project Definition Through Site Execution: Driving Successful Implementation of WorkFace Planning; Colorado Alliance for Environmental Education (CAEE): Denver, CO, USA, 2013. [Google Scholar]
  32. Halala, Y.S.; Fayek, A.R. A framework to assess the costs and benefits of advanced work packaging in industrial construction. Can. J. Civ. Eng. 2019, 46, 216–229. [Google Scholar] [CrossRef]
  33. Guerra, B.C.; Leite, F. Bridging the Gap between Engineering and Construction 3D Models in Support of Advanced Work Packaging. J. Leg. Aff. Disput. Resolut. Eng. Constr. 2020, 12, 4520029. [Google Scholar] [CrossRef]
  34. Kalsaas, B.T.; Obiose, U.; Nwajei, K.; Bydall, C. A critical perspective on Integrated Project Delivery (IPD) applied in a Norwegian public hospital project. MATEC Web Conf. 2020, 312, 7001. [Google Scholar] [CrossRef]
  35. Gu, J.; Guo, F.; Peng, X.; Wang, B. Green and sustainable construction industry: A systematic literature review of the contractor’s green construction capability. Buildings 2023, 13, 470. [Google Scholar] [CrossRef]
  36. Jones, B. Integrated Project Delivery (IPD) for Maximizing Design and Construction Considerations Regarding Sustainability. Procedia Eng. 2014, 95, 528–538. [Google Scholar] [CrossRef]
  37. CII. Making the Case for Advanced Work Packaging as a Standard (Best) Practice; Chartered Insurance Institute (CII): London, UK, 2015. [Google Scholar]
  38. CII and COAA. Implementation of Workface Planning Through Advanced Work Packaging; Chartered Insurance Institute (CII): London, UK, 2012. [Google Scholar]
  39. CII. Enhancing Work Packaging: Design through Workface Execution; Chartered Insurance Institute (CII): London, UK, 2013. [Google Scholar]
  40. Moon, S.; Yun, S.; Park, C.Y.; Cho, T.S.; Han, S.H. Identifying the Organizational Competency Factor for Implementing AWP (Advanced Work Packaging) in perspective of Korean EPC Contractor. Korean J. Constr. Eng. Manag. 2020, 21, 20–27. [Google Scholar]
  41. Ma, J.; Ma, Z.; Li, J. An IPD-based incentive mechanism to eliminate change orders in construction projects in China. KSCE J. Civ. Eng. 2017, 21, 2538–2550. [Google Scholar] [CrossRef]
  42. Evans, M.; Farrell, P.; Elbeltagi, E.; Dion, H. Barriers to integrating lean construction and integrated project delivery (IPD) on construction megaprojects towards the global integrated delivery (GID) in multinational organisations: Lean IPD&GID transformative initiatives. J. Eng. Des. Technol. 2021. ahead-of-print. [Google Scholar]
  43. CII. AWP EDUCATION Framework; Chartered Insurance Institute (CII): London, UK, 2020. [Google Scholar]
Disclaimer/Publisher’s Note: The statements, opinions and data contained in all publications are solely those of the individual author(s) and contributor(s) and not of MDPI and/or the editor(s). MDPI and/or the editor(s) disclaim responsibility for any injury to people or property resulting from any ideas, methods, instructions or products referred to in the content.

Article Metrics

Citations

Article Access Statistics

Multiple requests from the same IP address are counted as one view.