Abstract
In this study, experimental research, a numerical simulation, and a theoretical analysis were performed on the bearing capacity of an aluminum alloy circular tube filled with a lightweight filler (ATLF). Bearing capacity tests were conducted for six ATLF columns and two aluminum alloy hollow tubes (AAHTs), and their local buckling failure modes and mechanical properties were obtained. A finite element model was developed using ABAQUS software (ABAQUS 2016, ABAQUS Inc., Palo Alto, CA, USA) for numerical calculations. Furthermore, a large-scale numerical analysis was performed to investigate the effect of structural parameters, such as the tube thickness, diameter, column length, and initial geometric imperfections, as well as the aluminum alloy’s properties and the lightweight filler’s properties, on the bearing capacity of the ATLF columns and AAHTs under axial compression. Based on the test and numerical analysis results, a formula for calculating the local buckling stress of AAHTs under axial compression is proposed. An improved coefficient of bearing capacity for the ATLF columns caused by the internal lightweight filler was obtained by fitting, and based on the results, a formula for computing the bearing capacity of ATLF columns under axial compression is proposed in this study.
1. Introduction
Aluminum alloys are highly valued for their excellent corrosion resistance, outstanding low temperature properties, light weight, and high strength. There are many studies on their compressive performance [1,2,3]. Rong et al. [4,5] conducted research on the local buckling and flexural buckling behavior of 7A04-T6 aluminum alloy columns of different sections. They conducted experiments and a finite element analysis and compared the experimental results with the finite element results. The comparisons revealed that the majority of the current design provisions and methods present relatively conservative predictions of ultimate strength for 7A04-T6 aluminum alloy columns under combined loading. Guo et al. [6,7,8] experimentally investigated domestic aluminum alloy members and determined their mechanical properties. They also studied the low-temperature mechanical properties of Chinese structural aluminum alloy. Su et al. [9,10] conducted extensive column experiments on box and hollow beams. They also accurately predicted the ultimate strength of the beams. Zhai and Zhao et al. [11,12,13,14] investigated the buckling behavior of various sections of 6082-T6 aluminum alloy members subjected to eccentric compression. The study also analyzed the impact of initial imperfections, material properties, and geometric dimensions on the static behavior of the members. The United States, Europe, and China, and others have developed design codes for aluminum alloy structural members, such as the American Aluminum Design Manual [15], the European Code EN1999 [16], and the Chinese Design Specification for Aluminum Alloy Structures [17]. These codes offer design methods for aluminum alloy columns using an element approach and considering the influence of local buckling on ultimate strength.
Metal foam is a good alternative to metals with the advantages of light weight, high porosity, high compression strength, and good energy absorption capacity. Considerable effort has been devoted to the study of aluminum foam bearing capacity and energy absorption capacity [18,19,20].
Falkowicz [21] investigated thin-walled rectangular plates with a central cut-out under uniform compression. The main purpose of the study is to investigate the effect of the proposed design solutions on the buckling mode and buckling loads corresponding to the lowest buckling mode. The knowledge of these parameters will enable the optimal design of elastic plate elements with predefined mechanical properties and a designed mode of buckling. Ferdynus et al. [22,23,24] studied the cashworthiness performance of thin-walled hollow and foam-filled columns subject to an axial load. They determined energy absorption coefficients and evaluated the crush resistance of thin-walled aluminum profiles using numerical simulations and empirical verifications. Song et al. [25,26] proposed several types of bio-inspired foam-filled thin-walled structures. The energy absorption of the bionic structure is verified by experiments and theoretical analysis. They found that the bionic method could improve energy absorption capacity and affect the deformation mode of the thin-walled tubes under certain conditions.
Song et al. [27] demonstrated the existence of a notable interaction between the internal foam and outer tube. These studies showed that the parameters of both the intended filler material and tube geometry should be considered for designing a thin-walled tube. Chen [28] also considered mass minimization under many constraints as a primary objective in the design of a foam-filled tube. Empirical formulas were used to evaluate the optimization results. Furthermore, Chen et al. [29] performed a sectional optimization by subjecting the foam-filled tube to bending and crushing to minimize its weight and considering energy absorption and the bending stiffness. A bending moment function curve was fitted, and energy absorption and bending stiffness were obtained from it.
Linul and Movahedi et al. [30,31] studied the influence of temperature on tubes filled with closed-cell aluminum alloy foam and subjected to compression. According to the results of their tests, as the temperature increased, the energy absorption ability of the test specimens decreased.
There have been limited studies on ATLFs. This paper reports an experimental study of a series of ATLF columns under axial compression. The columns’ instability failure mode, buckling bearing capacity, and deformation characteristics were determined. The use of aluminum foam as filling material resulted in a higher buckling bearing capacity. A finite element model was performed based on the actual conditions. To ensure the accuracy of the model, test results were compared with the predictions of the developed finite element model. Furthermore, a parametric analysis was performed to evaluate the effect of parameters, namely the tube thickness, diameter, column length, and initial geometric imperfections, as well as the aluminum alloy’s material properties and the lightweight filler’s material properties, on the stability of the composite columns. This research is the leading work on the application of aluminum foam in the field of construction engineering. It investigates the bearing capacity of an aluminum alloy circular tube filled with aluminum foam and proposes a load-bearing formula under axial compression. The aim is to provide insights for further research and engineering applications of lightweight fillers in aluminum alloy circular tubes.
2. Experimental Investigation
2.1. Test Specimens
The outer tube of the ATLF column is made of a 6061-T6 aluminum alloy, and the inside of the outer tube is filled with aluminum foam. Aluminum foam is a type of metallic material with a porous structure, resembling a sponge in appearance, and comprising numerous tiny bubbles. The process of manufacturing aluminum foam includes the following steps: mixing aluminum powder with a foaming agent, followed by pre-pressing it into blocks. Subsequently, foaming and expansion occur at high temperatures, followed by cooling and solidification, ultimately resulting in a lightweight and porous aluminum foam. The measured density of aluminum foam is obtained by subtracting the weight of the outer tube from the that of the ATLF column, and then dividing it by the volume of the aluminum foam. For the aluminum alloy thin-walled tube, the outer diameter was set to 120 mm, the wall thickness was 1.4 mm, and two different lengths of 150 mm and 200 mm were considered in this study. For each tube length, two types of columns were used: one filled with a lightweight filler with an average density of 320 kg/m3 and the other without any filling.
The specimens were labelled according to the length of their outer tube and filler. For example, in the label “L150-E”, “L150” refers to the length of outer tube (150 mm), and “E” indicates that the outer tube is not filled internally (“empty”). If a test was repeated, then an Arabic numeral indicating the sequence was added to the end of the label. The dimensions of the specimens are shown in Table 1.
Table 1.
The dimensions of the specimens.
2.2. Material Properties
A 6061-T6 aluminum alloy was used to make the aluminum alloy hollow tubes, and they were obtained through the extrusion of profiled sections. Longitudinal tensile coupon tests were performed to determine the material properties of the test specimens. The specimens were prepared according to Chinese standards [32]. All test specimens were extracted from an aluminum alloy tube along the length of the tube. It should be noted that since the tensile specimens were extracted from a circular pipe, their sections were arc shaped. For the stable clamping of the tensile specimens, both ends of the specimens were flattened by rolling during processing, while the arc-shaped section of the gauge length section was retained.
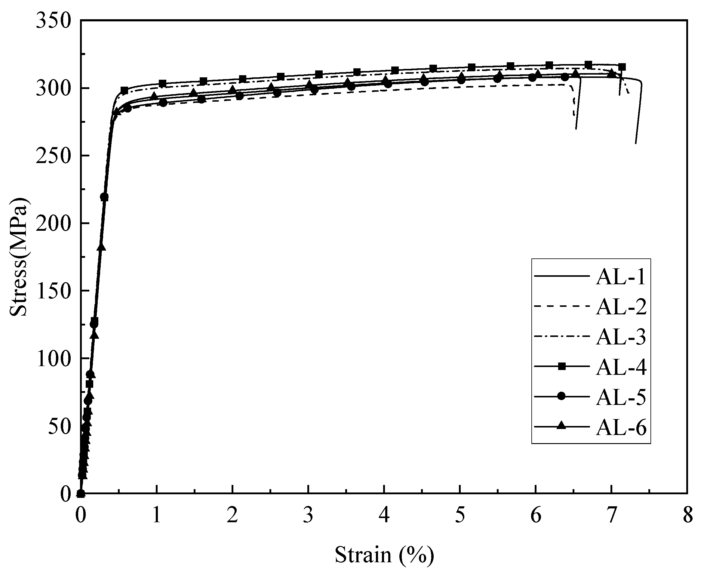
To test the aluminum alloy tensile specimens, an MTS testing machine was used. The longitudinal strain of the specimens was measured using a 50 mm extensometer during the test. According to Chinese standards [32], the specimens were subjected to axial tensile loading at a constant loading speed of 0.75 mm/min until failure. Static stress–strain curves were obtained from the tests, as depicted in Figure 1. From the curves, the specimens’ material properties, including elastic Young’s modulus (E), 0.2% proof stress (σ0.2), ultimate tensile strength (σu), percentage reduction in area (Ψ), and percentage extension (δ), were calculated and reported in Table 2.
Figure 1.
Stress–strain curves of aluminum alloy specimens.
Table 2.
Material properties of aluminum alloy specimens.
Lightweight-filler aluminum alloy is an aluminum foam material with an average density of about 320 kg/m3 and a porosity of 80–90%. Its mechanical properties were obtained through uniaxial compression tests. Cubic specimens (150 mm × 150 mm × 150 mm) were designed, and uniaxial compression tests were carried out using a universal testing machine, with a loading speed of 4 mm/min. Figure 2 shows the static stress–strain curves of the aluminum foam specimens. The material properties were determined and are summarized in Table 3.
Figure 2.
Stress–strain curves of aluminum foam specimens.
Table 3.
Material properties of aluminum foam specimens.
2.3. Test Rig and Operation
The specimen was fixed to the universal testing machine during the tests. The columns were subjected to a vertical downward force using a universal testing machine. For all specimens, the displacement of the columns was controlled to apply a load at a constant rate of 2 mm/min until either the tube buckled, or the axial compression deformation reached 25% of the tube length. The loading device is shown in Figure 3.
Figure 3.
Test rig of ATLF columns and AAHTs.
In order to determine the deformation of the specimens, we used strain gauges and displacement meters to record the wall strain and axial deformation of the specimens, respectively. Longitudinal strain gauges were installed at three different sections of the specimens: the middle section and the upper and lower 1/4-height sections. Within each section, strain gauges were installed at a position of 90° rotationally symmetric to the others. There were four strain gauges in each section, and a total of 12 strain gauges were used. Furthermore, two vertical displacement meters with a displacement measurement range of 100 mm were set at symmetrical positions on both sides of the specimens to monitor the axial deformation.
In order to prevent local buckling deformation at the end of ATLF columns and AAHTs under axial compression, which would result in eccentric loading and uneven loading, two circular reinforcing rings were placed at both ends of the specimens to increase the rigidity and prevent the ends from buckling and deforming prematurely.
For the joining of circular tube and aluminum foam, we cut the aluminum foam into corresponding shapes according to the dimensions of the outer tube and insert it into the circular tube. Both ends of the circular tube were covered with a circular plate, and the center of the end plate was provided with a circular slot of the same size as the circular tube; the circular slot was used to fix the specimens during the tests. It should be noted that a certain distance was maintained between the circular rings and the end plates on both sides during installation to prevent additional static friction, which could result from contact between the circular rings and the end plates.
2.4. Test Results
The ultimate loads and the measured values of the specimens are listed in Table 4. In the tests, the local buckling instability of the specimens occurred under an axial compressive load. With an increase in the axial deformation, transverse cracks developed at the end of the specimens and they eventually led to the transverse fracture of the outer tube below. The increase percentage of the ultimate load of ATLF specimens compared with the specimens without any filler is also presented in Table 4.
Table 4.
Load capacities obtained from tests.
The test results show that the ultimate loads of the ATLF specimens were about 20% higher than those of the AAHTs. For the L150 test specimens, the ultimate loads increased by 24.40%, 17.03%, and 25.61%, respectively, and for the L200 test specimens, the ultimate loads increased by 19.83%, 17.45%, and 17.00%, respectively. The ultimate loads of the L200 specimens were slightly lower than those of the L150 specimens, probably because of the lower lightweight foam densities of the former specimens.
The local buckling instability of the tube wall at the end of the specimens was the typical cause of failure for all test specimens. For L150-E and L200-E, the local buckling instability of the specimens occurred at the loading end, as shown in Figure 4 and Figure 5, respectively. Two hollow tubes were indented. Lateral cracks appeared at the location where the column buckled during loading, and additional longitudinal cracks developed and propagated. In the ATLF specimens, unlike the hollow tubes, the tubes were not indented because of the presence of the filler in them, as depicted in Figure 6.
Figure 4.
Loading of hollow specimen L150-E. (a) Initial loading (elastic buckling). (b) Ultimate stage (local buckling). (c) Post-ultimate stage (transverse fracture of aluminum alloy tube).
Figure 5.
Loading of hollow specimen L200-E. (a) Initial loading (elastic buckling). (b) Ultimate stage (local buckling). (c) Post-ultimate stage (transverse fracture of aluminum alloy tube).
Figure 6.
Loading of filler specimen L150-A1. (a) Initial loading (elastic buckling). (b) Ultimate stage (local buckling). (c) Post-ultimate stage (transverse fracture of aluminum alloy tube).
The load–displacement curves of the L150 test specimens and L200 test specimens obtained from the tests are shown in Figure 7. The results show that filling the aluminum foam materials did not significantly improve the initial axial compression stiffness of the test specimens, while the ultimate bearing capacity of the ATLFs were significantly improved (by about 20%) compared with empty tubes. This is because aluminum foam inhibited the compression of the outer tube, while the outer tube constrained the aluminum foam during the tests. Moreover, it is evident from the comparison of the load–displacement curves of the L150 and L200 test specimens that the initial stiffness and ultimate load of L150 test specimens are slightly greater than those of L200 test specimens. Because the ultimate bearing capacity of short columns is controlled by local buckling, the slenderness ratio is not a decisive factor.
Figure 7.
Load–displacement curves of test specimens. (a) Load–displacement curves of L150 test specimens. (b) Load–displacement curves of L150 test specimens.
3. Development of Finite Element Model
3.1. General
The analysis for simulating aluminum alloy composite thin-walled circular-tube short columns with a lightweight filler was performed using the finite element software ABAQUS [33]. The geometrical parameters and material properties obtained from the test specimens were used in the finite element method (FEM) analysis. The FEM is described in detail in this section.
3.2. Material Properties
For the column specimens, true stresses and true plastic strains were obtained from the expressions and in ABAQUS [33]. During the linear analysis stage, the true stress–strain curve was used to fit the elastic modulus E, and based on the test and fitting results, a value of E = 71,000 MPa was obtained. For the nonlinear analysis, the FEM considered material nonlinearity using an incremental plasticity model [5]. The plastic strain was calculated from the expression .
To simulate the cracking failure of the outer tube wall, the damage and failure of the aluminum alloy material was considered in the model. The Johnson–Cook hardening model and damage model in ABAQUS are often used to describe the material’s constitutive relations without an apparent yield point, and hence, these models were used to simulate the plastic hardening and damage failure of the 6061-T6 aluminum alloy. The model consists of three parts: the static yield part, the part involving the temperature effect, and the part involving the strain rate. Since this study considered the static mechanical properties of the aluminum alloy material at room temperature, the last two parts could be ignored.
The Johnson–Cook hardening model and damage model can be simplified as and , respectively, where A is the maximum elastic stress of the material constitutive curve. B and n are the shape coefficients of the plastic stage, and they can be obtained by fitting based on the uniaxial tensile test results for the 6061-T6 aluminum alloy. Furthermore, represents the equivalent plastic strain and represents the equivalent plastic strain at the damage starting point, d1, d2 and d3 are the corresponding failure parameters, and p and q respectively represent the hydrostatic stress and Mises stress.
During the test, the true stress–strain curves of the six tensile specimens were fitted. The values of the Johnson–Cook hardening model parameters for each specimen were determined and are listed in Table 5. The numerical simulation used the average value of the two Johnson–Cook hardening model parameters for each specimen. For the parameters d1, d2 and d3, Schwer and Windsor [34] conducted experiments and a finite element simulation to calibrate the J-C damage model parameters for the 6061-T6 aluminum alloy. Zhang et al. [35] conducted material property tests on various domestic aluminum alloys, and they calibrated the fracture toughness parameters of their VGM and SMCS models. On the basis of the results of Zhang et al. [36], this paper aimed to fit the parameters d1 and d2, and the value of d3 was adopted from Schwer and Windsor [34], as presented in Table 6.
Table 5.
Parameters of the Johnson–Cook hardening model.
Table 6.
Parameters of the Johnson–Cook damage model.
To simulate the behavior of aluminum foam, a crushable foam model was employed in ABAQUS to characterize its constitutive relationship. The initial linear elastic stage was defined by the elastic modulus E. The elastic modulus of the aluminum foam was obtained as EAl = 205 MPa according to the above test results. The values of the compressive yield stress ratio and plastic Poisson’s ratio were obtained from the study of Zhang et al. [36] during the plastic stage. To simplify the calculation, we considered steel to be a linear elastic material, and its elastic modulus was set to 206,000 MPa.
3.3. Type of Element
To model the aluminum foam material, C3D8R elements were utilized. For thin-walled metal structures, shell elements are considered to be one of the most suitable element types. S4R elements were used to model the aluminum outer tube. In view of the efficiency, accuracy, and convergence of finite element calculations, an area of 4 mm × 4 mm was used for the finite element mesh in the modeling of the outer tube, and a volume of 4 mm × 4 mm × 4 mm was used for the finite element mesh in the aluminum foam.
3.4. Boundary Condition and Loading
To simulate the fixed-end boundary condition, the nodes at both ends of the columns were restrained in all degrees of freedom, except for the vertical degree of freedom at the loading end, as shown in Figure 8a. The finite element analysis utilized the displacement control loading method, which was identical to the testing procedure. The column was subjected to a compressive axial load by setting the axial displacement of the nodes located at the loading end of the columns. Additionally, surface-to-surface contact was defined to model the interaction between the aluminum alloy tube and the aluminum foam material. The aluminum foam material in the columns had been prepressed when the columns were manufactured, and the pre-pressure was assumed to be 1.2 MPa in the simulation.

Figure 8.
Comparison of test results and FEA results for L200-A1. (a) Boundary condition. (b) Failure mode. (c) Load–displacement curve.
3.5. Test Verification
To validate the finite element analysis (FEA), the obtained results from the FEA were compared with the experimental data. A comparison of the ultimate loads is shown in Table 7. The ultimate loads obtained from the finite element analysis show a strong agreement with the experimentally obtained ultimate loads. Typically, there are slight discrepancies between the ultimate loads obtained from FEA and the experiments, and the predicted ultimate loads are either higher or lower in the range of ±6%. Furthermore, based on the comparison between the FEA results and the experimental results for the ATLF column L200-A1, it can be inferred that the load–displacement curve and failure mode of the numerical model and test are in good agreement; the comparison is shown in Figure 8.
Table 7.
Comparison of FEA-predicted strengths with test strengths under axial compression.
4. Ultimate Strength of ATLF Columns under Axial Compression
The ultimate strengths of a series of fixed-end ATLF columns were presented in the preceding section. Various parameters were selected to investigate their impact on the ultimate strength. On the basis of the parameter analysis results and the buckling theory for thin-walled metal tubes, A fitting formula is proposed in this study to calculate the axial compressive ultimate load.
4.1. Parameters
The finite element model, which was validated, was utilized to determine the ultimate strength of the ATLF columns with different parameters. The ultimate strength of the 204 ATLF columns was obtained through an FEM simulation. The ATLF columns were categorized into seven groups on the basis of their parameters (initial geometric imperfections, wall thickness, outer diameter, height, material properties, and extrusion prestress of the aluminum foam). The results of the parameter analysis were used for deriving the ultimate load formula for ATLF columns subjected to an axial compression.
4.2. Elastic–Plastic Buckling Bearing Capacity of Thin-Walled Tubes Subjected to Axial Compression
The initial imperfections had a significant impact on the elastic–plastic buckling bearing capacity of the AAHT. The Chinese standards [37] state that if the buckling stability coefficient of an aluminum alloy tube with an initial imperfection amplitude of d/200 is fitted, the calculated bearing capacity is somewhat safe and usable. The currently used standard [17] provides an expression for calculating the overall stability coefficient of aluminum alloy axial compression components as follows:
In this study, a similar expression was used to fit the elastic–plastic buckling stability coefficient of the aluminum alloy thin-walled tube with a curve by considering the initial imperfections. The overall stability coefficient an be calculated as
4.3. Strength Prediction for ATLF Columns under Axial Compression
The results from both the test and FEA demonstrated a significant enhancement in the local buckling bearing capacity of ATLF columns due to the presence of the aluminum foam. The bearing capacity improvement coefficient, kz, of the ATLF columns determined from the elastic–plastic buckling capacity of the AAHT was utilized in calculating the ultimate strength of the ATLF columns under an axial compressive load.
The above parameter analysis results show that the enhancement of the bearing capacity of ATLF columns through the use of aluminum foam was predominantly influenced by the aluminum alloy tube properties, the aluminum foam properties, and the extrusion prestress of the aluminum foam. Three parameters, namely the ratio of outer diameter to tube thickness , the ratio between the elastic modulus of the aluminum foam and that of the outer tube , and the equivalent extrusion strain (where is the prestress of aluminum foam), were considered, and the bearing capacity improvement coefficient, kz, of ATLF columns was calculated using the following equation:
The formula used to calculate the axial compression bearing capacity of the ATLF columns is as follows:
where f0.2 and AAL are the nominal yield strength and the cross-sectional area of the outer tube, respectively.
Figure 9 shows that the formula predictions were generally in good agreement with FEA-predicted results . This is also apparent from the formula predictions and test results in Table 8, in which the ratio of formula predictions to test results is in the range of 0.94–1.03. This may indicate that the proposed formulae are more accurate for ATLF columns.
Figure 9.
Comparison of formula-predicted strengths with test strengths under axial compression.
Table 8.
Comparison of test strengths with formula-predicted strengths under axial compression.
5. Conclusions
In this paper, an experimental study on the bearing capacity of ATLF columns is presented. The material properties of the aluminum alloy tube and the aluminum foam used for the test specimens were measured. The local buckling instability of ATLF columns occurred when subjected to an axial compressive load. Compared with the AAHTs, the ultimate bearing capacity of ATLF columns was significantly greater (by about 20%). The reason was the restraining effect of the aluminum foam on the deformation of the outer tube, while the outer tube constrained the aluminum foam during the tests. Additionally, the initial stiffness and ultimate loads of the L150 test specimens are slightly greater than that of the L200 test specimens, because the failure mode of the short columns are controlled by local buckling.
A finite element model was developed using ABAQUS software for numerical calculations. To validate the finite element analysis (FEA), the obtained results from the FEA were compared with the experimental data. Furthermore, an extensive numerical analysis was conducted to investigate the effects of structural parameters, such as the tube thickness, diameter, column length, and initial geometric imperfections, as well as the aluminum alloy’s properties and the lightweight filler’s properties on the bearing capacity of the ATLF columns and AAHTs under axial compression.
Based on the experimental and numerical analysis results, a calculation formula for the local buckling stress of AAHT under axial compression was proposed. An improvement factor for the load-bearing capacity of ATLF columns due to internal lightweight fillers was determined through fitting, which formed the basis for proposing a calculation formula for the axial compressive load-bearing capacity of ATLF columns. By compared with the experimental results, calculation results obtained from the formula are accurate for ATLF columns.
Author Contributions
Conceptualization, X.G. and Z.Z.; methodology, X.G.; software, Q.W.; validation, X.G., Z.Z. and M.H.; formal analysis, X.G.; investigation, Z.Z.; resources, Q.W.; data curation, M.H.; writing—original draft preparation, Q.W.; writing—review and editing, M.H.; visualization, Q.W.; supervision, Z.Z.; project administration, X.G.; funding acquisition, X.G. All authors have read and agreed to the published version of the manuscript.
Funding
The research work was supported by the research grant received from Fujian-Taiwan Cooperative Institute of Civil Engineering Technology in Universities of Fujian Province (KF-T19015). The authors are greatly appreciative of the financial support.
Data Availability Statement
Not applicable.
Conflicts of Interest
The authors declare no conflict of interest.
References
- Wang, Y.Q.; Wang, Z.X.; Hu, X.G.; Han, J.K.; Xing, H.J. Experimental study and parametric analysis on the stability behavior of 7A04 high-strength aluminum alloy angle columns under axial compression. Thin Walled Struct. 2016, 108, 305–320. [Google Scholar] [CrossRef]
- Adeoti, G.O.; Fan, F.; Wang, Y.J.; Zhai, X.M. Stability of 6082–T6 aluminum alloy columns with H-section and rectangular hollow sections. Thin Walled Struct. 2015, 89, 1–16. [Google Scholar] [CrossRef]
- Yuan, H.X.; Wang, Y.Q.; Chang, T.; Du, X.X.; Bu, Y.D.; Shi, Y.J. Local buckling and postbuckling strength of extruded aluminum alloy stub columns with slender I-sections. Thin Walled Struct. 2015, 90, 140–149. [Google Scholar] [CrossRef]
- Hu, Y.W.; Rong, B.; Zhang, R.Y.; Zhang, Y.C.; Zhang, S. Study of buckling behavior for 7A04-T6 aluminum alloy rectangular hollow columns. Thin Walled Struct. 2021, 169, 108410. [Google Scholar] [CrossRef]
- Rong, B.; Zhang, Y.C.; Zhang, S.; Li, Z.Y. Experiment and numerical investigation on the buckling behavior of 7A04-T6 aluminum alloy columns under eccentric load. J. Build. Eng. 2022, 45, 103625. [Google Scholar] [CrossRef]
- Guo, X.N.; Tao, L.; Wu, J.; Wang, Q.Q.; Gao, A.J. Experimental Study on Mechanical Property of Chinese Structural Aluminum Alloy at Low Temperatures. J. Hunan Univ. Nat. Sci. 2019, 46, 22–31. (In Chinese) [Google Scholar] [CrossRef]
- Guo, X.N.; Zhu, S.J.; Liu, X.; Jiang, S.C. Bearing capacity of aluminum alloy members under eccentric compression at elevated temperatures. Thin Walled Struct. 2018, 127, 574–587. [Google Scholar] [CrossRef]
- Guo, X.N.; Wang, L.; Shen, Z.R.; Zou, J.M.; Liu, L.L. Constitutive model of structural aluminum alloy under cyclic loading. Constr. Build. Mater. 2018, 180, 643–654. [Google Scholar] [CrossRef]
- Su, M.N.; Young, B.; Gardner, L. Testing and design of aluminum alloy cross sections in compression. J. Struct. Eng. 2014, 140, 1–11. [Google Scholar] [CrossRef]
- Su, M.N.; Young, B.; Gardner, L. Deformation-based design of aluminium alloy beams. Eng. Struct. 2014, 80, 339–349. [Google Scholar] [CrossRef]
- Zhai, X.M.; Yang, X.; Sun, L.J. Buckling load of aluminum alloy columns with H-section under eccentric compression. In Proceedings of the 7th International Symposium on Steel Structures, Jeju, Republic of Korea, 6–8 November 2013. [Google Scholar]
- Zhao, Y.Z.; Zhai, X.M.; Sun, L.J. Test and design method for the buckling behaviors of 6082-T6 aluminum alloy columns with box-type and L-type sections under eccentric compression. Thin Walled Struct. 2016, 100, 62–80. [Google Scholar] [CrossRef]
- Zhao, Y.Z.; Zhai, X.M.; Wang, J.H. Buckling behaviors and ultimate strengths of 6082-T6 aluminum alloy columns under eccentric compression—Part I: Experiments and finite element modeling. Thin Walled Struct. 2019, 143, 106207. [Google Scholar] [CrossRef]
- Zhao, Y.Z.; Zhai, X.M.; Wang, J.H. Buckling behaviors and ultimate strengths of 6082-T6 aluminum alloy columns under eccentric compression—Part II: Parametric study, design provisions and reliability analysis. Thin Walled Struct. 2019, 143, 143106208. [Google Scholar] [CrossRef]
- The Aluminum Association. American Aluminum Design Manual; The Aluminum Association: Washington, DC, USA, 2005. [Google Scholar]
- EN 1999-1-1; Eurcod9: Design of Aluminum Structures—Part 1–1: General Rules—General Rules and Rules for Building. European Committee for Standardization: Bruxelles, Belgium, 2007.
- GB50429–2007; Code for Design of Aluminum Structures. China Architecture & Building Press: Beijing, China, 2007. (In Chinese)
- Baroutaji, A.; Sajjia, M.; Olabi, A.G. On the crashworthiness performance of thin-walled energy absorbers: Recent advances and future developments. Thin Walled Struct. 2017, 118, 137–163. [Google Scholar] [CrossRef]
- Alghamdi, A.A.A. Collapsible impact energy absorbers: An overview. Thin Walled Struct. 2001, 39, 189–213. [Google Scholar] [CrossRef]
- Pandarkar, A.; Goel, M.D.; Hora, M.S. Axial crushing of hollow and foam filled tubes: An overview. Sadhana 2016, 41, 909–921. [Google Scholar] [CrossRef]
- Falkowicz, K.; Debski, H.; Teter, A. Design Solutions for Improving the Lowest Buckling Loads of a Thin Laminate Plate with Notch. Comput. Methods Mech. 2018, 5, 080004. [Google Scholar] [CrossRef]
- Szklarek, K.; Kotełko, M.; Ferdynus, M. Crashworthiness performance of thin-walled hollow and foam-filled prismatic frusta—FEM parametric studies—Part 1. Thin Walled Struct. 2022, 181, 110046. [Google Scholar] [CrossRef]
- Ferdynus, M.; Szklarek, K.; Kotełko, M. Crashworthiness performance of thin-walled hollow and foam-filled prismatic frusta, Part 2: Experimental study. Thin Walled Struct. 2022, 181, 110070. [Google Scholar] [CrossRef]
- Rogala, M.; Ferdynus, M.; Gawdzińska, K.; Kochmański, P. The Influence of Different Length Aluminum Foam Filling on Mechanical Behavior of a Square Thin-Walled Column. Materials 2021, 14, 3630. [Google Scholar] [CrossRef]
- Song, J.F.; Xu, S.; Xu, L.H.; Zhou, J.F.; Zou, M. Experimental study on the crashworthiness of bio-inspired aluminum foam-filled tubes under axial compression loading. Thin Walled Struct. 2020, 155, 106937. [Google Scholar] [CrossRef]
- Liu, Y.S.; Qi, Y.C.; Sun, H.; Han, N.; Zhou, J.F.; Song, J.F.; Zou, M. Bionic design of thin-walled tubes inspired by the vascular structure of bamboo. Thin Walled Struct. 2023, 186, 110689. [Google Scholar] [CrossRef]
- Song, H.W.; Fan, Z.J.; Yu, G.; Wang, C.Y.; Tobota, A. Partition energy absorption of axially crushed aluminum foam-filled hat sections. Int. J. Solids Struct. 2005, 42, 2575–2600. [Google Scholar] [CrossRef]
- Chen, W.G. Optimization for minimum weight of foam-filled tubes under large twisting rotation. Int. J. Crashworth 2001, 6, 223–242. [Google Scholar] [CrossRef]
- Chen, W.G.; Wierzbicki, T.; Santosa, S. Bending collapse of thin-walled beams with ultralight filler: Numerical simulation and weight optimization. Acta Mech. 2002, 153, 183–206. [Google Scholar] [CrossRef]
- Linul, E.; Movahedi, N.; Marsavina, L. The temperature effect on the axial quasi-static compressive behavior of ex-situ aluminum foam-filled tubes. Compos. Struct. 2017, 180, 709–722. [Google Scholar] [CrossRef]
- Movahedi, N.; Murch, G.E.; Belova, I.V.; Fiedler, T. Manufacturing and compressive properties of tube-filled metal syntactic foams. J. Alloys Compd. 2020, 822, 153465. [Google Scholar] [CrossRef]
- GB/T 16865-2013; Test Pieces and Method for Tensile Test for Wrought Aluminium and Magnesium Alloys Products. China Architecture & Building Press: Beijing, China, 2013. (In Chinese)
- ABAQUS. ABAQUS Analysis User’s Manual; Version 6.5; ABAQUS, Inc.: Palo Alto, CA, USA, 2004. [Google Scholar]
- Schwer, L.E.; Windsor, C.A. Aluminum plate perforation: A comparative case study using Lagrange with erosion, multi-material ALE, and smooth particle hydrodynamics. In Proceedings of the 7th European LS-DYNA Conference, Salzburg, Austria, 14–15 May 2009. [Google Scholar]
- Zhang, C.Z.; Guo, X.N.; Zong, S.H.; Chen, Y.; Zhu, S.J. Toughness Parameters Calibration of Chinese Structural Aluminum Alloys. J. Hunan Univ. Nat. Sci. 2020, 47, 124–133. (In Chinese) [Google Scholar] [CrossRef]
- Zhang, L.; Zhang, J.; Zhao, G.P. Plastic Poisson ratio of closed-cell aluminum foam. Chin. J. Solid. Mech. 2015, 36, 244–250. (In Chinese) [Google Scholar]
- GB/T 4436-2012; Wrought Aluminum and Aluminum Alloy Tubes. Dimensions and Deviations. China Architecture & Building Press: Beijing, China, 2012. (In Chinese)
Disclaimer/Publisher’s Note: The statements, opinions and data contained in all publications are solely those of the individual author(s) and contributor(s) and not of MDPI and/or the editor(s). MDPI and/or the editor(s) disclaim responsibility for any injury to people or property resulting from any ideas, methods, instructions or products referred to in the content. |
© 2023 by the authors. Licensee MDPI, Basel, Switzerland. This article is an open access article distributed under the terms and conditions of the Creative Commons Attribution (CC BY) license (https://creativecommons.org/licenses/by/4.0/).









