Finite Element Simulation of Bending Thin-Walled Parts and Optimization of Cutting Parameters
Abstract
1. Introduction
2. Milling Parameters and Models of Bending Thin-Walled Parts
2.1. Basic Steps of Finite Element Analysis for Bending Thin-Walled Parts
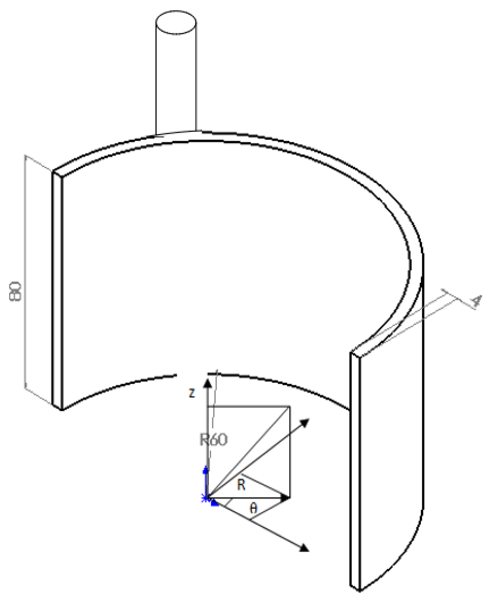
2.2. Influence of Position Change of Milling Cutter in Circumferential Direction
2.3. Analysis of Machining Deformation Results
2.4. Influence of the Milling Cutter Position in the Z Direction on the Deformation
2.5. Influence of Cutting Parameters on the Deformation at the Maximum Deformation Point by Orthogonal Experiments
3. Single Factor Experiments in the Influence of Cutting Parameters on Machining Deformation
3.1. Influence of Milling Speed on Machining Deformation
3.2. Influence of Feed per Tooth on Machining Deformation
3.3. Influence of Axial Depth of Cutting on Machining Deformation
3.4. Influence of Radial Depth of Cutting on Machining Deformation
4. Conclusions
- (1)
- The maximum deformation point is determined to be R = 62 mm, θ = 180 degrees and Z = 72.5 mm, and the maximum radial deformation is 3.13%. Thus, it should be as far away from the point as possible in the process of machining.
- (2)
- Through orthogonal experiments, the optimal cutting parameter combination was selected as vc = 140 m/min, fz = 0.08 mm/tooth, ap = 2 mm and ae = 0.8 mm. Finally, the influence of each milling parameter on the machining deformation was studied.
- (3)
- The research shows that the radial depth of cutting has the greatest influence on the deformation of bending thin-walled parts, followed by the axial depth of cutting and the feed per tooth. The milling speed has little influence on the machining deformation of bending thin-walled parts.
- (1)
- In order to further reduce the deformation of bending thin-walled parts in the milling process, the cutting heat and tool wear between the tool and the workpiece in the milling process will be studied.
- (2)
- According to the shape characteristics of the parts, more scientific and reasonable clamping and supporting methods of bending thin-walled parts will be designed to control the deformation of parts.
Author Contributions
Funding
Data Availability Statement
Conflicts of Interest
References
- Fukada, Y.; Minagawa, H.; Nakazato, C.; Nagatani, T. Structural deterioration of curved thin-walled structure and recovery by rib installation: Verification with structural optimization algorithm. Thin-Walled Struct. 2018, 123, 441–451. [Google Scholar] [CrossRef]
- Guan, W.; Gao, G.; Li, J.; Yu, Y. Crushing analysis and multi-objective optimization of a cutting aluminium tube absorber for railway vehicles under quasi-static loading. Thin-Walled Struct. 2018, 123, 395–408. [Google Scholar] [CrossRef]
- Hareendran, M.; Sreejith, S. A study on surface quality of thin-walled machined parts. Mater. Today Proc. 2018, 5, 18730–18738. [Google Scholar] [CrossRef]
- Hu, W.; Du, P.; Qiu, X.; Zhao, X.; Hu, Z.; Zhang, J.; Liu, Y. Enhanced dry machinability of TC4 titanium alloy by longitudinal-bending hybrid ultrasonic vibration-assisted milling. J. Clean. Prod. 2022, 379, 134866. [Google Scholar] [CrossRef]
- Khalkhali, A.; Miandoabchi, E. The application of equivalent modeling of joints for bending simulation of hybrid alumi-num/high strength steel thin-walled sections joined by clinching. Thin-Walled Struct. 2020, 157, 107089. [Google Scholar] [CrossRef]
- Li, H.; Shi, K.-P.; Yang, H.; Tian, Y.-L. Springback law of thin-walled 6061-T4 Al-alloy tube upon bending. Trans. Nonferrous Met. Soc. China 2012, 22, s357–s363. [Google Scholar] [CrossRef]
- Li, Y.; Gao, T.; Zhou, Q.; Chen, P.; Yin, D.; Zhang, W. Layout design of thin-walled structures with lattices and stiffeners using multi-material topology optimization. Chin. J. Aeronaut. 2022. [Google Scholar] [CrossRef]
- Liu, G.; Xie, J.; Xie, S. Experimental and numerical investigations of a new U-shaped thin plate energy absorber subjected to bending and friction. Thin-Walled Struct. 2017, 115, 215–224. [Google Scholar] [CrossRef]
- Liu, Y.; Wu, B.; Luo, M.; Zhang, D. Modeling and Cutting Path Optimization of Shallow Shell Considering its Varying Dynamics During Machining. Procedia CIRP 2015, 31, 521–526. [Google Scholar] [CrossRef]
- Lu, F.; Zhou, G.; Zhang, C.; Liu, Y.; Chang, F.; Xiao, Z. Energy-efficient multi-pass cutting parameters optimisation for aviation parts in flank milling with deep reinforcement learning. Robot. Comput. Manuf. 2023, 81, 102488. [Google Scholar] [CrossRef]
- Ma, J.-W.; He, G.-Z.; Liu, Z.; Qin, F.-Z.; Chen, S.-Y.; Zhao, X.-X. Instantaneous cutting-amount planning for machining deformation homogenization based on position-dependent rigidity of thin-walled surface parts. J. Manuf. Process. 2018, 34, 401–411. [Google Scholar] [CrossRef]
- Ratchev, S.; Nikov, S.; Moualek, I. Material removal simulation of peripheral milling of thin wall low-rigidity structures using FEA. Adv. Eng. Softw. 2004, 35, 481–491. [Google Scholar] [CrossRef]
- Ringgaard, K.; Mohammadi, Y.; Merrild, C.; Balling, O.; Ahmadi, K. Optimization of material removal rate in milling of thin-walled structures using penalty cost function. Int. J. Mach. Tools Manuf. 2019, 145, 103430. [Google Scholar] [CrossRef]
- Shi, J.; Song, Q.; Liu, Z.; Wan, Y. Formulating a numerically low-cost method of a constrained layer damper for vibration sup-pression in thin-walled component milling and experimental validation. Int. J. Mech. Sci. 2017, 128–129, 294–311. [Google Scholar] [CrossRef]
- Tehranizadeh, F.; Berenji, K.R.; Yıldız, S.; Budak, E. Chatter stability of thin-walled part machining using special end mills. CIRP Ann. 2022, 71, 365–368. [Google Scholar] [CrossRef]
- Totis, G.; Sortino, M. Superior optimal inverse filtering of cutting forces in milling of thin-walled components. Measurement 2023, 206, 112227. [Google Scholar] [CrossRef]
- Agarwal, A.; Desai, K. Predictive framework for cutting force induced cylindricity error estimation in end milling of thin-walled components. Precis. Eng. 2020, 66, 209–219. [Google Scholar] [CrossRef]
- Bolar, G.; Das, A.; Joshi, S.N. Measurement and analysis of cutting force and product surface quality during end-milling of thin-wall components. Measurement 2018, 121, 190–204. [Google Scholar] [CrossRef]
- Abbasi, S.A.; Feng, P.; Ma, Y.; Cai, X.; Yu, D.; Wu, Z. Influence of tool inclination angle and cutting direction on long thin-walled part’s dimensional and geometric accuracy when high-speed ball end milling the heat-treated titanium alloy Ti–6Al–4 V. Proc. Inst. Mech. Eng. Part C J. Mech. Eng. Sci. 2016, 230, 2676–2698. [Google Scholar] [CrossRef]
- Mohruni, A.S.; Zahir, M.; Yanis, M.; Sharif, S.; Yani, I. Investigation of Finite Element Modelling on Thin-Walled Machining of Ti6Al4V using DEFORM-3D. J. Phys. Conf. Ser. 2019, 1167, 012002. [Google Scholar] [CrossRef]
- Du, J.; Long, X. Chatter suppression for milling of thin-walled workpieces based on active modal control. J. Manuf. Process. 2022, 84, 1042–1053. [Google Scholar] [CrossRef]
- Abbas, I.A.; El-Amin, M.; Salama, A. Effect of thermal dispersion on free convection in a fluid saturated porous medium. Int. J. Heat Fluid Flow 2009, 30, 229–236. [Google Scholar] [CrossRef]
- Sheikholeslami, M.; Ellahi, R. Three dimensional mesoscopic simulation of magnetic field effect on natural convection of nanofluid. Int. J. Heat Mass Transf. 2015, 89, 799–808. [Google Scholar] [CrossRef]
- Abbas, I.A.; Abo-Dahab, S.M. On the Numerical Solution of Thermal Shock Problem for Generalized Magneto-Thermoelasticity for an Infinitely Long Annular Cylinder with Variable Thermal Conductivity. J. Comput. Theor. Nanosci. 2014, 11, 607–618. [Google Scholar] [CrossRef]
- Hamzah, H.K.; Ali, F.H.; Hatami, M.; Jing, D.; Jabbar, M.Y. Magnetic nanofluid behavior including an immersed rotating conductive cylinder: Finite element analysis. Sci. Rep. 2021, 11, 1–21. [Google Scholar] [CrossRef]
- Xia, Q.; Gillespie, D.R.H. Quasi-static finite element modelling of thermal distribution and heat partitioning for the mul-ti-component system of high speed metal cutting. J. Mater. Process. Technol. 2020, 275, 116389. [Google Scholar] [CrossRef]
- Xiang, J.; Yi, J. Deformation mechanism in wax supported milling of thin-walled structures based on milling forces stability. CIRP J. Manuf. Sci. Technol. 2021, 32, 356–369. [Google Scholar] [CrossRef]
- Yang, Y.; Zhang, W.-H.; Ma, Y.-C.; Wan, M. Chatter prediction for the peripheral milling of thin-walled workpieces with curved surfaces. Int. J. Mach. Tools Manuf. 2016, 109, 36–48. [Google Scholar] [CrossRef]
- Yuan, X.; Wang, S.; Mao, X.; Liu, H.; Liang, Z.; Guo, Q.; Yan, R. Forced vibration mechanism and suppression method for thin-walled workpiece milling. Int. J. Mech. Sci. 2022, 230, 107553. [Google Scholar] [CrossRef]
- Zhang, H.; Hu, Y. Influence of pressure die s boosting on forming quality in bending process of thin-walled tube. Int. J. Press. Vessel. Pip. 2022, 196, 104612. [Google Scholar] [CrossRef]













| Factors | Milling Speed vc (m/min) | Feed per Tooth fz (mm/tooth) | Axial Depth of Cutting ap (mm) | Radial Depth of Cutting ae (mm) |
|---|---|---|---|---|
| 1 | 100 | 0.08 | 2 | 0.8 |
| 2 | 140 | 0.1 | 3 | 1.2 |
| 3 | 180 | 0.12 | 4 | 1.6 |
| 4 | 200 | 0.14 | 5 | 2 |
| No. | Milling Speed vc (m/min) | Feed per Tooth fz (mm/tooth) | Axial Depth of Cutting ap (mm) | Radial Depth of Cutting ae (mm) | Milling Force Fymax (N) | Maximum Radial Deformation (mm) |
|---|---|---|---|---|---|---|
| 1 | 100 | 0.08 | 2 | 0.8 | 56 | 0.046862 |
| 2 | 100 | 0.1 | 3 | 1.2 | 133 | 0.111297 |
| 3 | 100 | 0.12 | 4 | 1.6 | 247 | 0.206694 |
| 4 | 100 | 0.14 | 5 | 2 | 369 | 0.308786 |
| 5 | 140 | 0.08 | 3 | 1.6 | 158 | 0.132217 |
| 6 | 140 | 0.1 | 2 | 2 | 183 | 0.153138 |
| 7 | 140 | 0.12 | 5 | 0.8 | 101 | 0.084519 |
| 8 | 140 | 0.14 | 4 | 1.2 | 189 | 0.158159 |
| 9 | 180 | 0.08 | 4 | 2 | 231 | 0.193305 |
| 10 | 180 | 0.1 | 5 | 1.6 | 246 | 0.205857 |
| 11 | 180 | 0.12 | 2 | 1.2 | 127 | 0.106276 |
| 12 | 180 | 0.14 | 3 | 0.8 | 109 | 0.091213 |
| 13 | 220 | 0.08 | 5 | 1.2 | 128 | 0.107113 |
| 14 | 220 | 0.1 | 4 | 0.8 | 86 | 0.071966 |
| 15 | 220 | 0.12 | 3 | 2 | 287 | 0.240167 |
| 16 | 220 | 0.14 | 2 | 1.6 | 195 | 0.16318 |
| Comprehensive Average Value | Milling Speed | Feed per Tooth | Axial Depth of Cutting | Radial Depth of Cutting |
|---|---|---|---|---|
| K1 | 0.1684 | 0.1199 | 0.008 | 0.07364 |
| K2 | 0.132 | 0.1356 | 0.1437 | 0.12 |
| K3 | 0.1492 | 0.1594 | 0.1575 | 0.17699 |
| K4 | 0.1456 | 0.18 | 0.1766 | 0.2238 |
| T | 0.0364 | 0.0601 | 0.052 | 0.15016 |
| No. | Milling Speed vc (m/min) | Feed per Tooth fz (mm/tooth) | Axial Depth of Cutting ap (mm) | Radial Depth of Cutting ae (mm) | Radial Force Fymax (N) | Radial Deformation (mm) |
|---|---|---|---|---|---|---|
| 1 | 100 | 0.08 | 2 | 0.8 | 54.9 | 0.045941 |
| 2 | 140 | 0.08 | 2 | 0.8 | 55 | 0.046025 |
| 3 | 180 | 0.08 | 2 | 0.8 | 55.2 | 0.046192 |
| 4 | 220 | 0.08 | 2 | 0.8 | 55.3 | 0.046276 |
| 5 | 140 | 0.1 | 2 | 0.8 | 65.54 | 0.054845 |
| 6 | 140 | 0.12 | 2 | 0.8 | 75.555 | 0.063226 |
| 7 | 140 | 0.14 | 2 | 0.8 | 85.21 | 0.071305 |
| 8 | 140 | 0.08 | 3 | 0.8 | 65.57 | 0.05485 |
| 9 | 140 | 0.08 | 4 | 0.8 | 74.2 | 0.062092 |
| 10 | 140 | 0.08 | 5 | 0.8 | 81.7 | 0.068368 |
| 11 | 140 | 0.08 | 2 | 1.2 | 90.2 | 0.075481 |
| 12 | 140 | 0.08 | 2 | 1.6 | 127.94 | 0.107113 |
| 13 | 140 | 0.08 | 2 | 2 | 167.83 | 0.140443 |
Disclaimer/Publisher’s Note: The statements, opinions and data contained in all publications are solely those of the individual author(s) and contributor(s) and not of MDPI and/or the editor(s). MDPI and/or the editor(s) disclaim responsibility for any injury to people or property resulting from any ideas, methods, instructions or products referred to in the content. |
© 2023 by the authors. Licensee MDPI, Basel, Switzerland. This article is an open access article distributed under the terms and conditions of the Creative Commons Attribution (CC BY) license (https://creativecommons.org/licenses/by/4.0/).
Share and Cite
Hailong, M.; Aijun, T.; Shubo, X.; Tong, L. Finite Element Simulation of Bending Thin-Walled Parts and Optimization of Cutting Parameters. Metals 2023, 13, 115. https://doi.org/10.3390/met13010115
Hailong M, Aijun T, Shubo X, Tong L. Finite Element Simulation of Bending Thin-Walled Parts and Optimization of Cutting Parameters. Metals. 2023; 13(1):115. https://doi.org/10.3390/met13010115
Chicago/Turabian StyleHailong, Ma, Tang Aijun, Xu Shubo, and Li Tong. 2023. "Finite Element Simulation of Bending Thin-Walled Parts and Optimization of Cutting Parameters" Metals 13, no. 1: 115. https://doi.org/10.3390/met13010115
APA StyleHailong, M., Aijun, T., Shubo, X., & Tong, L. (2023). Finite Element Simulation of Bending Thin-Walled Parts and Optimization of Cutting Parameters. Metals, 13(1), 115. https://doi.org/10.3390/met13010115
