Next Article in Journal
Optimization of Pumping Station Inlet Channel Based on Stress-Blended Eddy Simulation Turbulence Model and Entropy Generation Theory
Next Article in Special Issue
On the Origin of Sediment Ripples
Previous Article in Journal
In-Situ Remediation of Heavy Metal–Contaminated Sediments Using the Resuspension Technique
Previous Article in Special Issue
The Impact of Foreshore Slope on Cross-Shore Sediment Transport and Sandbar Formation in Beach Berm Nourishment
 
 
Font Type:
Arial Georgia Verdana
Font Size:
Aa Aa Aa
Line Spacing:
Column Width:
Background:
Article

Beyond Water Surface Profiles: A New Iterative Methodology for 2D Model Calibration in Rivers Using Velocity Data from Multiple Cross-Sections

by
Fabian Rivera-Trejo
1,
Gabriel Soto-Cortes
2,*,
Kory M. Konsoer
3,
Eddy J. Langendoen
4 and
Gaston Priego-Hernandez
5
1
Division of Engineering and Architecture, Juarez Autonomous University of Tabasco, Tabasco 86040, Mexico
2
Department of Earth Resources, Autonomous Metropolitan University, Lerma 52005, Mexico
3
Department of Geography and Anthropology, Louisiana State University, Baton Rouge, LA 70802, USA
4
National Sedimentation Laboratory, US Department of Agriculture, Oxford, MS 38655, USA
5
Division of Basic Sciences, Juarez Autonomous University of Tabasco, Tabasco 86690, Mexico
*
Author to whom correspondence should be addressed.
Water 2025, 17(3), 377; https://doi.org/10.3390/w17030377
Submission received: 22 December 2024 / Revised: 24 January 2025 / Accepted: 27 January 2025 / Published: 30 January 2025

Abstract

Observed longitudinal water-surface profiles are commonly used to calibrate river hydrodynamic models, relying on assumptions of lateral uniformity in water surface elevation and velocity distribution. While suitable for 1D models, this approach has limitations in regard to 2D model calibration. When 2D flow measurements are available, a more robust quantitative evaluation is necessary to assess model accuracy. This study introduces a novel methodology to improve 2D model calibration and evaluate performance. High-resolution bathymetric and hydrodynamic data collected with a multibeam echosounder (MBES) and acoustic Doppler current profiler (ADCP) were aligned to compare observed and simulated flow velocities at matching spatial locations. Statistical metrics, including relative mean absolute error and root-mean-square error, were employed to assess hydrodynamic modeling. The methodology was tested using MBES and ADCP measurements alongside TELEMAC-2D simulations of a dynamic neck cutoff on the White River, Arkansas, USA. This approach provides a 2D calibration process, enhancing model accuracy and informing parameter selection, such as channel boundary roughness and downstream boundary water surface elevation.

1. Introduction

Measurement technologies such as acoustic Doppler current profilers (ADCPs) and multibeam echosounders (MBESs) are now commonly employed for field measurements in riverine environments. These instruments collect high-quality hydrodynamic and bathymetric data and can characterize the governing fluvial processes at sub-meter spatial scales. Over recent decades, these technologies have furthered scientific research and brought along new logistic and processing procedures [1,2,3] by developing (1) appropriate techniques for data acquisition and (2) methods to manage and analyze a large amount of information. For example, the three-dimensional velocity field provided by an ADCP (Figure 1a) results from the data composition of several transect measurements (e.g., at 1 m horizontal resolution and 0.1–0.5 m vertical resolution) in the same cross-section [1,4,5,6]. In the case of Ref. [2], based on previous efforts of [1,7,8,9], a comprehensive analytical technique was developed to spatially and temporally average velocity data from multiple transects along a single cross-section for 3D flow exploration. The MBES acquires high-density point clouds of the riverbed (e.g., 10–20 points per m2, depending on water depth, sampling frequency, and swath angle) from which raster maps representing the bathymetry with sub-meter grid resolution can be generated (Figure 1b). Time sequences of such maps are used to examine beds [10] or estimate bedload transport rates [11,12,13].
While field measurements provide key insights into the process dynamics of river systems, it is often time restrictive and logistically challenging to obtain measurements of study reaches with high spatial coverage and during events that represent the full range of hydrologic conditions. To overcome this challenge, numerical models can be used to simulate the hydrodynamics under varying boundary conditions, yet the measured bathymetric and hydrodynamic data (Figure 1) are essential to the 2D model calibration and validation process. Presently, available computational tools can predict the hydrodynamics (i.e., velocity and pressure fields) in two (2D) or three (3D) dimensions with high precision and resolution [14,15]. However, model accuracy depends significantly on calibration. If the numerical model can reproduce real, observed conditions, the model user can be confident that the model is able to predict unmeasured conditions [16]. Therefore, to achieve accurate predictions, high-quality measurements are required to calibrate 2D numerical models.
In some studies, it is common to evaluate the agreement between measured and simulated velocities qualitatively [17,18,19,20,21]. On the other hand, there have been studies that utilize quantitative approaches for hydrodynamic model calibration [22,23]. Yet, these methods vary widely and commonly only use a small subset of measured field data, termed “discrete section calibration” [24]. While it is possible to observe a “reasonably good agreement” between the simulation (velocity field represented on a meshed surface) and measurements (velocity field represented at a series of cross-sections), we argue that current quantitative calibration approaches are not sufficient for robust calibration. One reason for this challenge is the lack of a standard tool to assess multiple cross-sections simultaneously. This limitation has been noted as a significant concern in the literature, as it impacts the consistency and efficiency of calibration processes. In response, this study introduces a suite of codes that calculate statistical metrics over multiple cross-sections concurrently, thereby streamlining the calibration process and improving the overall accuracy of model simulations. This is particularly important when simulated hydrodynamics are used to infer potential river geomorphic adjustments, as any error in the simulated velocities can significantly affect assessments of river morphology [18].
Previous work has adapted statistical methods used in meteorological sciences for the performance evaluation of hydrodynamic models. Ref. [18] studied estuarine hydrodynamics and classified the agreement between measured and simulated velocities based on the relative error. Ref. [25] adopted these classifications to evaluate the performance of the 2D TELEMAC hydrodynamic model in a study of wave propagation and hydrodynamics along beaches on the French coast. Their results emphasized the importance of mesh resolution and the necessity of higher-resolution flow observations.
Essential data used in this paper are the bathymetry obtained with an MBES and the hydrodynamic data measured with an ADCP. Ref. [12] highlighted the advancements in hydroacoustic technologies applied to morphodynamic studies. However, as ADCP and MBES data are generally collected separately, the accurate alignment of ADCP and MBES data can be challenging. To correctly orientate cross-sections, we need to know the (x,y) coordinates of the start or end point (or both), the compass, and the bottom tracking in order to be accurate. The ADCP uses the local water surface level (WSL) as a reference for its vertical datum, collects three-dimensional velocity measurements, and records depths relative to the instrument to generate bed morphology maps by interpolating the measurement cross-sections. Another chance for referencing is to use a Real-Time Kinematic GPS mounted on the boat. The MBES uses post-processed kinematic GPS correction to accurately (±0.02 m in both the horizontal and vertical) determine its geolocation and maps the bed at a high resolution using a beam that is much narrower than that of an ADCP. It is important to note that field measurements have their inherent uncertainty, including georeferencing via the GPS. Therefore, the data collected by these instruments require an appropriate methodology to couple the bathymetric and hydrodynamic information.
Computer model simulations (Figure 2b) can have a significant role in decision-making processes if model predictions are known to correspond within a “tolerable error” to measured conditions [15]. Therefore, it is necessary to perform a calibration process using a subset of the measured data (Figure 2c) to optimize the simulation parameters. These can be physical parameters, like the roughness or turbulence coefficients, or numerical parameters, such as the solution schemes or the mesh cell size. With suitable calibration, the pressure and the vertically averaged velocity fields will agree with those measured within an “acceptable error”. After model calibration, the measured data not used during the calibration process can be utilized for model validation (Figure 2d). The underlying problem is the subjectivity of an “acceptable calibration,” considering the domain complexity and the possible parameter combinations [17,18]. It is commonly assumed that it is acceptable if the model simulations can reproduce the pressure field (i.e., water surface profile). This is due to the difficulty of using other data types to calibrate the model, such as velocities.
We present a novel methodology for calibrating two-dimensional hydrodynamic models and evaluating their performance in the following ways: (1) Spatially aligning high-resolution bathymetric and hydrodynamic data (Figure 2e). While the spatial alignment of bathymetric and hydrodynamic data may seem like an obvious requirement, the novelty herein lies in the methodology applied to achieve it. (2) Extracting the simulated flow velocities at the same place where they were measured. Again, although this seems like a logical step, the way in which this study addresses the resolution of these spatial discrepancies through meticulous alignment represents an advancement in the dynamics of calibration. (3) Quantifying the simulation performance by statistical analyses using multiple cross-sections simultaneously (Figure 2f). (4) Qualifying the model performance based on categorized ranges of statistical parameters (Figure 2g). Even though the statistical qualification given in (3) and (4) are procedures currently in use [24,26,27], this work applies these tools iteratively during the calibration process, adjusting the model until optimal statistical parameters are achieved in a dynamic and multifactorial environment. Using a case study, the challenge described in this paper focuses on coupling the modeling data. On the one hand, we have the bathymetric grid—based on the MBES measurements—while, on the other hand, we have the cross-sectional bed profiles obtained with an ADCP. The alignment process allows for extracting the simulated flow velocities at the same place where they were measured, minimizing the spatial uncertainties [28].
Moreover, the proposed method was integrated into a MATLAB© program 20 R, which was developed as a new tool to spatially align ADCP and MBES data and assess the quality of 2D simulations of hydrodynamics. In Ref. [29], the methodology is described and its application is exemplified.

2. Materials and Methods

The details regarding the improved implementation of a methodology (Figure 2e–g) to calibrate 2D hydrodynamic numerical models (presented herein) begin with utilizing field measurements collected by ADCP and MBES instruments (Figure 2a). Another general consideration in the steps outlined below is that each step can be conducted on individual ADCP transects or the composite-averaged cross-sectional data exported from Velocity Mapping Toolbox software (VMT) V4.09 [2], both of which have been shown as acceptable methods for model calibration [24].

2.1. Spatial Alignment of Bathymetric and Hydrodynamic Datasets

The alignment process of the bathymetry obtained with an MBES and the cross-sectional bed profiles obtained with an ADCP (Figure 2e) is outlined below. As the positioning systems used by the ADCP and the MBES generally differ, we considered the more accurate system of the MBES and its measured bathymetric grid G M x , y , z as the geographic reference. Note that the ADCP measures the hydrodynamic field along transects T A x , y , generally, using an estimate of the local water surface level, W S L A ( x , y ) , as a reference for its vertical coordinate z, which will be corrected after alignment. In addition, the shape of the bed profiles could be different because the bathymetric and hydrodynamic campaigns are not performed simultaneously and due to the different inherent technologies of the two instruments used to measure depth. The employed ADCP—Teledyne RDI, Rio Grande Workhorse (beam spacing of 0.137 m, beam angle 20°, sampling footprint varies as: 0.137 + 0.728 × depth-draft) [30]—averages depth across four inclined acoustic beams whose depth measurements may be spread over a relatively large distance. The average depth is necessary because we perform several measurements in the same zone; however, following the same track is impossible. The MBES transmits a fan-shaped pulse to measure the depth at a series of points along a narrow swath, with beam footprints being of the order of 3–5 cm.
In the alignment of the hydrodynamic and bathymetric datasets, the first step is to project vertically—using a 2D-linear interpolation method—each point ‘j’ on the i t h ADCP transect on the bathymetric grid G M x , y , z to obtain a bed profile T M x , y , z , i , which can then be compared to the corresponding ADCP bed profile T A x , y , z , i . To accelerate the alignment process, the ADCP bed profile will only be shifted vertically (z-direction) and along (η-direction) the ADCP transect to find the best match with the bed profile T M x , y , z , i . Therefore, the bed profile horizontal coordinates (x,y) are converted to η by accumulating the horizontal distance along the transect, which results in bed profiles T A η , z , i and T M η , z , i .
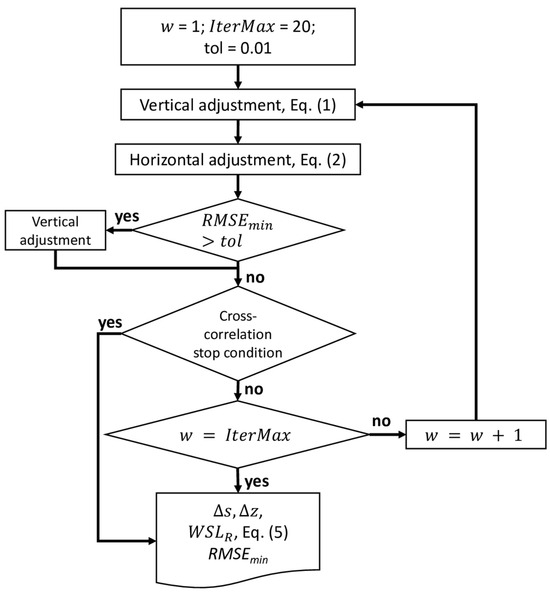
Figure 3 shows the result of this parametrization, with Figure 3a showing the MBES bed profile T M η , z , i and Figure 3b showing the ADCP bed profile T A η , z , i . Both profiles have the same number of points. Note that the water depth measured by the ADCP is referenced to the blue dashed line W S L A = 0 . The variable d is the ADCP submergence, which depends on the device’s position during the measurements. Then, to align the bed profiles, each point j in the profile T A η , z , i , j must be moved some distances, Δη, and Δz (Figure 3c), which are estimated by successive approximations, as shown in the flow chart of Figure 4. Note that the distances Δη and Δz are constant along a profile; that is, all profile points are moving at the same time to avoid distortion on the cross-section.
Each iteration w of the MBES and ADCP bed profile alignment process involves considering the vertical adjustment, horizontal adjustment, and convergence stop criteria (Figure 4). Each iteration obtains a new projection of the ADCP transect points. During this fitting process, the root-mean-square error R M S E = Y X is used as a parameter to qualify the bed elevation adjustment, where X is the reference MBES bed profile T M η , z , i , Y is the adjusted ADCP bed profile T A η , z , i , angular brackets denote an average operator, and the vertical bars denote the inner product of vector Y-X with itself. After the iterative process, the adjustment parameters (Δη, Δz), final root-mean-square error R M S E m i n indicating the alignment accuracy, and corrected ADCP water surface elevation W S L R are obtained (Figure 3c). Details of these steps are outlined below.

2.2. Vertical Adjustment

For the vertical adjustment, each point j in the bed profile T A η , z , i is shifted vertically over a distance Δz within the range min T A η , z , i ,   m i n ( T M η , z , i ) to best approximate the reference bed profile T M η , z , i . The minimum RMSE value defines the optimal displacement Δz as
Δ z   |     z j + Δ z y i e l d s   min R M S E T A η , z j + Δ z , i , T M η , z , i   z j
Note, the RMSE calculation in (1) is based only on the relative distance in the vertical direction because there is a correspondence in the horizontal between the points at the T A and T M profiles. If D Z = min T M η , z , i m i n ( T A η , z , i ) is a measure of the vertical distance between the MBES and ADCP bed profiles, the iterative approximation to Δz can start, for example, from the level Δ z s t a r t = min T A η , z , i + 0.9 D z . This will reduce the number of iterations required to reach the optimal Δz. In each successive iteration, the level is raised by a predefined value Δ z s t e p . This step depends on the grid resolution and the desired accuracy; however, a value between 0.005 and 0.01 m is recommended. This range of values is small enough without compromising the computational time.

2.3. Horizontal Adjustment

Similarly, the horizontal displacement Δη corresponds to the minimum RMSE value by shifting each point in the bed profile T A η , z , i over the range η ς , + ς using a step η shift . In this study, we used ς = 10 m. This value represents about 5% of the channel width.
Δ η   |     η j + Δ η y i e l d s   min R M S E T A η j + Δ η , z , i , T M η , z , i   η j
In (2), the RMSE is calculated using the relative distance between points of the MBES and ADCP profiles, which have the same point spacing in the η direction. The step η shift during the approximation is therefore equivalent to the distance between consecutive points in the ADCP profile ( T A ) , which, for the case study described herein, is η shift = 1 m. This is the resolution of the cross-section measurements obtained with the ADCP.

2.4. Iterative Stop Condition Based on Cross-Correlation Criteria

The iterative alignment procedure stops under two conditions: (1) once the maximum number of cycles is reached (IterMax = 20, in this study) and (2) when the following cross-correlation criterion is fulfilled. The first condition is necessary to avoid excessive computational time. More than 20 cycles do not contribute to optimizing the RMSE. The second stop condition is explained below.
Considering the bed profiles as vectors of size n, we calculate the first difference for each vector by Equations (3) and (4) to obtain the vectors T A ,   d i f f and T M ,   d i f f of size n 1 . These vectors correspond to longitudinal (in η direction) variations in the bed profile slope and represent the cross-sectional shape.
T A ,   d i f f , j = T A η , z , i , j + 1 T A η , z , i , j     j 1   n 1
T M ,   d i f f , j = T M η , z , i , j + 1 T M η , z , i , j     j 1   n 1
The values of T A ,   d i f f and T M ,   d i f f do not change during the iterative procedure, but their relative position along the η coordinate changes. Therefore, using the cross-correlation between T A ,   d i f f and T M ,   d i f f along η, it is possible to calculate the spatial lag l between the signals that corresponds to the maximum correlation value. If l = 0 , the iterative procedure ends because this means the ADCP bed profile has been adequately aligned with the corresponding MBES bottom geometry.

2.5. The Corrected ADCP Water Surface Level (WSL)

After completing the iterative procedure, the optimal horizontal and vertical shift distances, Δη and Δz, are obtained. According to Figure 3, the actual water surface level W S L R referenced to the MBES bed profile can be calculated with the following:
W S L R = W S L A + Δ z + d = Δ z + d
W S L A is arbitrary but, for this study, W S L A = 0 (ADCP reference). In this case, W S L R = Δ z + d . For this calculation, a measurement of the instrument submergence (d) is required; in our case, it was 0.2 m. Measuring this draft in the field before and during data acquisition is common practice. Note the alignment R M S E m i n is also a measure of the uncertainty in the indirectly measured water surface level.

2.6. Downstream Boundary Condition Evaluation ( W S L D S )

In this section, along the channel centerline, the measured water surface profile is compared against the simulations (Figure 2c). This is undertaken in order to optimize the bottom roughness coefficients and the water surface elevation downstream boundary condition ( W S L D S ) for the best agreement between model results and measurements (Figure 2f).
Figure 5a illustrates a hypothetical domain where a 2D hydrodynamic numerical model will be calibrated. In addition to the ADCP transect locations, the figure shows an approximate channel centerline. At the intersection between the transects and the centerline, the reference water surface level ( W S L R ) is realized after carrying out the alignment procedure. The series of W S L R at each transect forms a reference water surface profile ( W S P R ). For a 2D hydrodynamic simulation, the water elevation is generally imposed at the downstream boundary, W S L D S . When the model downstream boundary does not coincide with a measurement location, the water surface elevation is unknown and needs to be estimated from adjacent data, if any. This could introduce errors in both water surface elevations and velocities given a specific discharge. The reference water surface profile is also valuable for calibrating bottom roughness coefficients.
To evaluate the downstream boundary condition used by the hydrodynamic model and the simulated water surface profile, the simulated water profile along the approximate centerline, W S P C L , is compared against the reference water surface profile (Figure 5b), where the series of red circles represent the W S P R at the transect locations and the blue line is the simulated W S P C L . Figure 5b presents a correction Δ z w of the downstream boundary condition, W S L D S . The proposed algorithm to obtain Δ z w moves the W S P C L ( s , z ) vertically over the range z 1,1 m, where s is the distance along the centerline. The optimal displacement Δ z w which corresponds to the z k + Δ z w that minimizes the RMSE between measured and simulated water surface profiles is
Δ z w   |   z k + Δ z w   y i e l d s   m i n R M S E W S P R s , z , W S P C L s , z k + Δ z w     z k
The index k denotes a point along the W S P C L profile. The series of black diamonds in Figure 5b represents the adjusted simulated water surface profile ( W S P C L , a ) corrected by Δ z w . The proposed downstream boundary condition to improve the simulation is then
W S L D S   W S L D S + Δ z w
As the downstream boundary condition W S L D S may affect water surface elevations throughout the computational domain and, therefore, also flow velocities, we recommend running the computer model with the improved water surface elevation and repeating the presented calibration procedure. This will be an iterative process involving small changes, mainly to W S L D S and boundary roughness, until one is satisfied with the resulting error between modeled and observed values of water surface elevation and flow velocity. Additionally, the slope of the water surface profile plays a critical role in ensuring realistic hydraulic behavior. While adjusting the water depth at the downstream boundary is one method, an overly steep or gentle profile may cause upstream water levels to deviate significantly from observed conditions. In such cases, balancing adjustments to W S L D S , roughness coefficients and potentially other boundary conditions become essential. For example, if the measured WSL has steeper slopes than the simulation, it might suggest insufficient energy dissipation (requiring increased roughness within the model). Alternatively, if the measured WSL has lower slopes than the model, it could indicate the need for refinements to the W S L D S in the model. Careful evaluation of these factors helps ensure that both local and domain-wide calibration objectives are met.

2.7. Accuracy Classification of Simulated Hydrodynamics

In this section, we classify the simulated hydrodynamics (Figure 2f) and provide the final calibration statistics (Figure 2c). Ref. [19] adapted statistical methods used in meteorological sciences to the performance evaluation of hydrodynamic numeric models. Following Ref. [25], we used the adjusted relative mean absolute error (ARMAE), which is mathematically represented by
A R M A E = Y ¯ X ¯ O E / X ¯ = M A E O E / X ¯ = M A E a / X ¯
In this equation: X ¯ and Y ¯ are, respectively, sets of N vectorial observed and predicted values; O E is the observational error related to the instrument’s physical size, the measurement conditions, and the conversion principles between the instrument measurement parameter (e.g., voltage) and observed variable; the norm Y ¯ X ¯ is the mean absolute error (MAE); and the difference Y ¯ X ¯ O E is the adjusted mean absolute error ( M A E a ). For this study, we assumed O E = 0.05 m s−1, in accordance with studies of [25,31]. Table 1 shows the hydrodynamic model classification according to the ARMAE range.
We used the vertical-averaged velocity fields with components v U (East component) and v V (North component) to evaluate the performance of the hydrodynamic simulations. If X ¯ is the vector of measured values v U R , v V R and Y ¯ is the vector of simulated values v U S , v V S , both with the same length m, the ARMAE for the i t h transect is given by
A R M A E = Y ¯ X ¯ O E / X ¯
= 1 m j = 1 m v U S , j v U R . j 2 + v V S , j v V R , j 2 O E / 1 m j = 1 m v U R , j 2 + v V R , j 2
The index j in Equation (9) denotes a specific point along the transect.
The contribution to the mean absolute error MAE of point j is
M A E j = v U S , j v U R , j 2 + v V S , j v V R , j 2
To prevent negative values for the adjusted mean absolute error values, following [18], we define
M A E a , j = M A E j O E ,             if   M A E j > O E 0 ,                                                     if   M A E j O E
To evaluate the performance of the hydrodynamic simulation for each velocity component, we used the root-mean-square error R M S E = Y X . In this case, X and Y are the measured and simulated velocity components, respectively. Angular brackets denote an average operator, and the vertical bars denote the inner product of vector Y X with itself. The RMSE for the East and North velocity components are represented by
R M S E U = 1 m j = 1 m v U S , j v U R , j 2
R M S E V = 1 m j = 1 m v V S , j v V R , j 2

3. Case Study: Pumps Bend on the White River, Arkansas

We applied the presented methodology to calibrate a 2D hydrodynamic numeric model using data collected during a study to understand the role of the diversion angle and sediment load on river morphodynamics of a neck cutoff and oxbow lake alluviation [10,12,32,33,34]. We conducted a systematic analysis of river hydrodynamics by using the numeric model Telemac2D 7.1.
Telemac2D 7.1 is a widely used hydraulic simulation software that models free-surface flow in rivers, estuaries, and coastal environments [35]. It solves shallow-water equations (Saint-Venant equations) using finite element or finite volume methods, allowing flexible mesh configurations to capture complex geometries. These equations consist of continuity and momentum conservation principles that account for variations in water depth and flow velocities over time and space. Telemac2D incorporates advanced numerical schemes to ensure stability and accuracy, even in cases with strong gradients, such as hydraulic jumps or steep slopes. Additionally, it can handle complex boundary conditions, multi-dimensional interactions, and sediment transport, making it a robust tool for hydrodynamic modeling.
We used the ADCP and MBES measurements conducted by [12,34]. The study area comprises an elongated meander bend called Pumps Bend, which began cutoff incision in 2014 [34]. Pumps Bend is located on the lower White River, immediately downstream of De Valls Bluff, Arkansas, USA (Figure 6). The lower White River has a length of around 745 km and runs from Batesville, Arkansas, USA, to the Mississippi River. The average bank full width and depth are 170 m and 7 m, respectively. Its mean annual discharge is 750 m3 s−1, with an average annual peak discharge of 2460 m3 s−1 (De Valls Bluff gage #07077000, USGS). Ref. [34] acquired high-resolution measurements of the three-dimensional flow, morphological adjustment, and bedload sediment during 2015, 2016, and 2017. The hydrodynamic data were collected with a Teledyne-RDI 1200 kHz Rio Grande ADCP (Teledyne RD Instruments (Teledyne Marine), Poway, CA, USA) (±0.25% of water velocity relative to ADCP ± 0.002 m s−1). The ADCP data were geolocated using an integrated Hemisphere A100 differential global positioning system (dGPS) (Hemisphere GPS, 8515 E. Anderson Drive, Scottsdale, Arizona 85255, USA.), with a horizontal accuracy of 0.6 m [12].
The bathymetry was surveyed using a compact integrated wideband multibeam sonar NORBIT iWMBS, an integrated inertial motion unit (IMU), and RTK-GPS. The spatial accuracies for the iWMBS are as follows: the horizontal and vertical position are ± (8 mm + 1 ppm × distance from RTK station) and ± (15 mm +1 ppm × distance from RTK station), respectively; the heading accuracy is 0.03 degrees (RTK) with 2 m antenna separation; pitch/roll accuracy is 0.02 degrees independent of antenna separation; heave accuracy is 0.02 m or 2% (true heave), 0.05 m or 5% (real-time); and spatial resolution is 0.01 m.
The calibration of our hydrodynamic model was carried out against the 2016 dataset of [34], which included 39 ADCP transects (Figure 7a) at 15 cross-sections (Figure 7b). The ADCP measurements were post-processed with Velocity Mapping Toolbox (VMT) software 7.1 [2]. The horizontal resolution of the ADCP data partly depends on the boat’s velocity but was mapped to a 1 m cross-sectional resolution by VMT. The measured 2016 bathymetry (Figure 7c) was complemented with 10 m digital elevation model (DEM) data of the floodplain. The DEM was constructed with mosaics of Prairie, Arkansas, obtained from the National Elevation Dataset [36]. The Telemac 2D simulation covered the study domain with a triangulated mesh having a mean element size of about 5 m that encompassed all ADCP data. The upstream boundary condition was the average observed discharge of 991 m3 s−1 (at the time of the survey, according to the original database of [34], for 17 July 2016). The downstream boundary condition was the water surface level; in this case, the W S L D S was 50.35 m and located ~331 m downstream from transect group XV. We manually traced a georeferenced centerline (CL) along the river, which intersected all the transects, along which the MBES bathymetry and the ADCP were extracted. Boundary roughness differed between the channel and floodplain (Figure 7d). The Manning n roughness for the floodplain was 0.15 s m−1/3. In our study, we tried different channel roughness scenarios in the range n [0.01–0.05]. However, this manuscript presents only three channel boundary roughness scenarios, with Manning n values equaling 0.03, 0.035, and 0.040 s m−1/3, which were considered for the model calibration. The Manning coefficient n is undoubtedly a crucial factor in hydrodynamic modeling, as it affects flow resistance and, thus, the accuracy of the results. We acknowledge that in scenarios with river restoration structures or meanders, sediment transport and localized scour processes may cause rapid changes in bed morphology. These variations, in turn, would influence the n values and could introduce uncertainty into the model calibration. Although our methodology is robust for a wide range of applications, we acknowledge that its generalization to all cases, especially those with dynamic bed morphology, may require additional adjustments.

4. Results

4.1. ADCP-MBES Alignment Process

Figure 8 shows the alignment between the MBES ( T M , continuous black line) and the ADCP ( T A , dashed red line) bed profiles for one arbitrary ADCP transect in each ADCP transect group (cross-section) and the corresponding minimum RMSE. Table 2 summarizes the results of the alignment procedure for each transect–centerline intersection with the MBES grid.
Overall, 79% of the R M S E m i n values after aligning the ADCP bed profiles with the MBES topography are lower than 0.4 m (~5% of the flow depth). We identified four zones: upstream reach, loop, neck cutoff, and downstream reach. In the upstream sections I to V, the shift Δη was around ±1 m and the minimum RMSE averaged 0.19 m. This reach is relatively straight with typical cross-sectional geometry, which is not affected by the neck cutoff. In the loop, in regard to sections VI to VIII, the shift Δη was around ±1 m, and the minimum RMSE averaged 0.14 m. In these sections, the velocities are small, and bed adjustment is gradual and spatially fairly even because of oxbow lake alluviation processes. In the neck cutoff sections IX and X, the shift Δη was around ±3 m and the minimum RMSE values were the largest, averaging 0.91 m. This zone exhibits active morphodynamics with cross-section scale features such as a pool and cutoff bar whose steeper edges may adversely affect the depth measurement accuracy of the ADCP (Figure 9b). Finally, for downstream sections XI to XV, the shift Δη was around ±2 m and the minimum RMSE averaged 0.23 m. This reach is relatively straight, but, in contrast with the upstream reach, it shows active bed adjustment with a mid-channel bar that terminates at the last section. This bed movement is also a consequence of the high sediment supply from the erosion process in the neck cutoff.

4.2. Hydrodynamic Downstream Boundary Condition Qualification

In agreement with the workflow (Figure 4), we start with three predefined roughness scenarios (n = 0.03, n = 0.035, and n = 0.040 s m−1/3). For each roughness scenario, the water surface elevation at the downstream boundary W S L D S is iteratively adjusted by applying a correction ( Δ z w ) until the root-mean-square error (RMSE) between simulated and reference water surface profiles (WSPs) is minimized. This ensures that the downstream boundary condition aligns as closely as possible with observed water levels. Table 3 lists the correction Δ z w to W S L D S and corresponding RMSE between simulated and reference WSPs for the three channel roughness coefficient scenarios. We found that Δ z w values are all negative and decrease (more negative) when Manning n values increase. This is likely due to the slight increase in water surface slope for larger Manning n values. The minimum RMSE increased slightly with the increasing Manning n and is therefore proportional to the water surface slope. In Figure 9, we present the bed elevation (Figure 9a) and compare water surface profiles (Figure 9b) along the centerline (cf. Figure 9a for location). The plotted vertical lines delimit the abandoned bend portion where ADCP field measurements were not acquired. From a practical point of view, the water level correction for scenario 1 was small enough to confirm that the water surface elevation boundary condition was adequate. The water surface level W S L R _ C L (5) depends on the alignment between the MBES and the ADCP bed profiles; the error in this process (column 8 in Table 2) is a measure of the local uncertainty of the W S P R . This uncertainty is represented by the error bars in Figure 9b. As illustrated in Section 2.5 and Figure 5b, an adjusted simulated water surface profile W S P C L , a can be drawn for each scenario using the corresponding Δ z w . However, because of the vertical elevation scale and the magnitude of the calculated correction values Δ z w , the lines corresponding to the W S P C L , a are not included in Figure 9b for clarity.

4.3. Hydrodynamics Accuracy Categorization

Figure 10 shows the hydrodynamic results for the scenario with the most accurate boundary condition (scenario 1 with n = 0.030 s m−1/3). Each plot exemplifies one arbitrary transect for each transect group and compares the simulated velocity components v U S (black line) and v V S (blue line) against the corresponding ADCP measurements ( v U R is marked by black open circles and v V R is marked by blue open circles). We present the results following the four zones identified earlier: upstream reach, neck cutoff, loop, and downstream reach. In the upstream reach (transect groups I to V), the simulated velocities agree best with those measured, coinciding with the best ADCP-MBES bathymetric alignment. The ARMAE values in this zone were less than 0.15, with model performance qualifying as “excellent” at all cross-sections. In the loop zone, the ARMAE values ranged from 0.478 to 0.942, corresponding to model performances which qualified as “reasonable” at cross-sections VI and VIII and “poor” at cross-section VII. In contrast, this zone agreed well with ADCP and MBES bathymetric data. One reason for the poorer classification is that the velocities in this zone are close to zero. This enlarges the ARMAE; however, the simulated profiles of velocity components agree fairly well with those measured (subplots VI to VIII of Figure 10). In these cases, we suggest using the RMSE values of the simulated velocity components as a secondary criterion. For example, though the RMSE values in sections I and VII are similar, the ARMAE-based qualification of simulated hydrodynamics at cross-section VII is “poor” (Figure 10). In contrast, the qualification is “excellent” in section I. In the cutoff section (cross-sections IX–X), the ARMAE values were 0.673 and 0.168, which are categorized as “reasonable” and “excellent,” respectively. In this case, the “reasonable” model performance (section IX) coincides with the worst ADCP-MBES bathymetric alignment. Finally, along the downstream reach, the model performance qualified as “good” at sections XI–XIII and qualified as “excellent” at sections XIV and XV, where the flow evolves to a more uniform distribution in the transverse direction.
In Figure 11a, we present the categorization of model performance for each ADCP transect according to its ARMAE and for every channel roughness scenario listed in Table 3. Colored concentric circles represent the four classification categories: orange for excellent, light blue for good, green for reasonable, and blue for poor. The graph illustrates the channel regions with better model performance and the effects of varying channel roughness on the simulated hydrodynamic accuracy. In this example, the roughness coefficient increasing from 0.030 s m−1/3 (scenario 1) to 0.040 s m−1/3 (scenario 3) changes the classification of some transects from “good” to “excellent” but also from “reasonable” to “poor”, as can be better observed in Figure 11b. The sum of “excellent” and “good” qualifications is the same for the three cases; however, the number of “poor” performance qualifications increases for scenarios 2 and 3. This means we have a better representation of the observed flow with a channel roughness coefficient of n = 0.030 s m−1/3. In this example, the variation in the roughness coefficient produces a significant change in the ARMAE (Figure 11a) at the neck cutoff (transects 18–27). These changes result from changes in flow directions and low velocities. At zones into the loop (transects 24–27) where the velocity is close to zero, the roughness effect on simulated hydrodynamics and its classification is more sensitive than in the other zones.
Figure 11c,d illustrate how changing the roughness coefficient affects the accuracy of the East (U) and North (V) velocity components based on the root-mean-square error (RMSE). When the flow direction is aligned with Easting and Northing coordinates, the transects at those locations show good performances for U velocities (transects 22–38) and V velocities (transects 0–16).

5. Discussion

It is important to highlight the following aspects in the case study used as an example to explain and exemplify the proposed methodology.
Firstly, we used all the measured data for the calibration. However, for validation purposes, an entirely different dataset with different hydrologic conditions must be used to compare the model results to those measurements. Another reason is related to verifying the experimental reproducibility and the uncertainties calculations. While these uncertainties are present in any dataset, the central focus of our work herein is not to directly quantify input data uncertainties but rather to demonstrate the methodology’s ability to integrate measurements from different devices with varying resolutions and present a method that allows for incorporation of multiple cross-sections into the quantitative calibration simultaneously.
Although a critical aspect of hydrodynamic modeling is determining the appropriate amount and distribution of calibration data, this study does not aim to establish the minimum data requirements for effective calibration. Still, we acknowledge the relevance of this topic. Works such as Ref. [37] highlight that data density and geomorphological alignment improve model accuracy. Similarly, Ref. [38] emphasizes carefully selecting calibration data and conducting sensitivity analyses to minimize input uncertainties. These references provide context for future research, though this study focuses on proposing a robust calibration methodology rather than data thresholds, which will depend, to some extent, on the hydrodynamic complexity of the system being modeled.
As was mentioned in Ref. [34], the ADCP was fitted with a compass and a GPS unit with an accuracy of 0.6 m. The spatially variable uncertainties associated with the GPS and the inherent measurement uncertainties were not considered during the case study presentation above. However, they are a substantial part of the modeling process [28]. Precisely, the proposed alignment process focuses on handling the spatial uncertainty not only because of the GPS accuracy but also due to combined sources of uncertainties, including the riverbed evolution over time. These limitations are not strictly unique to our dataset, and all field data are acquired and used for training numerical models. However, our method presented here provides a new approach for robustly and quantitatively calibrating models using spatially varying data.
While mesh refinement is an important aspect of numerical modeling, this study did not prioritize exhaustive mesh-independence tests. This is because the main objective of the work was to demonstrate the methodology’s ability to align measurements and simulations rather than refining and optimizing the mesh to the point where the results are independent of its resolution. However, although it is not described in this paper, we compared the alignment process performance using a more refined topographic mesh (1 m). This comparison is in the complementary material reported by [29].
The computer model performance classification based on the empirical ranges of the ARMAE values proposed by [19] have been adopted here and appear reasonable. Based on the results, despite the ranges of ARMAE being somewhat arbitrary, they give a reference to qualify the model’s response.
Also, results show that, despite the study case complexity used to exemplify the proposed improved calibration procedure, there is a positive impact on the velocity field estimation (Figure 9). In fact, the two-dimensional model calibration presented here could be the first step in the modeling and analysis of the three-dimensional phenomena present in a geometrical domain such as a meander cutoff [26,39].
Finally, the hydrodynamic conditions of the system should always be carefully considered whenever field measurements are acquired, particularly if those measurements are intended for use in calibrating numerical models. Since acquisition of ADCP data along multiple cross-sections within a study area does require some amount of time, it is important to ensure that the discharge remains relatively constant during the measurement period. Similarly, if MBES data are to be coupled with the ADCP measurements, the discharge should remain relatively constant for the entire field campaign to ensure a similar bed morphology. Bedforms are known to adjust their size with varying discharge conditions [40], resulting in non-negligible variations to the flow roughness that can alter the patterns and magnitudes of 2D flow fields [41]. While bedforms can migrate during conditions of steady flow, these fluctuations in local bed elevations will not have a considerable effect on the time-averaged 2D flow field.

6. Conclusions

Although there have been significant improvements in computational methods to simulate river hydrodynamics, accurate and reliable model outcomes require an appropriate calibration process. We presented a novel methodology based on an iterative cross-correlation process and statistical metrics to spatially align high-resolution flow and bathymetric observations collected using ADCP and MBES. This approach calibrates and qualifies 2D numerical simulations of an open-channel flow using statistical error analyses of simulated and observed water surface profiles and depth-averaged flow velocities from multiple locations within the study domain simultaneously. The main conclusions and recommendations are as follows:
The proposed cross-correlation methodology enhances the alignment of the ADCP bottom profile and MBES bathymetry by accounting for the cross-sectional shape as well as the geospatial position of the ADCP bottom profile relative to the MBES-observed bathymetry.
When used in combination, the adjusted relative mean absolute error (ARMAE) and the root-mean-square error (RMSE) were found to be valuable statistical measures to calibrate the simulated depth-averaged velocity field components, as they can account for a wide range in velocity magnitudes and gradients.
An appropriate calibration of 2D computer models of river hydrodynamics benefits from high-quality ADCP and MBES measurements. If the ADCP data quality is poor, we recommend using only the water surface level as a calibration parameter.
The application of the proposed calibration methodology to a case study on the White River, Arkansas, USA, shows that, in stagnation zones where velocities are close to zero, the ARMAE tends towards a ‘poor’ performance qualification. Therefore, where flow is stagnant, we recommend the RMSE of the velocity components as the calibration criterion.

Author Contributions

Conceptualization, E.J.L. and F.R.-T.; software, G.S.-C.; writing—original draft preparation, F.R.-T.; writing—review and editing, K.M.K.; funding acquisition, G.P.-H. All authors have read and agreed to the published version of the manuscript.

Funding

G. Soto-Cortes appreciates the funding from the Ministry of Public Education (PRODEP-IDCA 30509) and F. Rivera-Trejo appreciates the funding from the Ministry of Public Education (PRODEP 511-6/18-9789).

Data Availability Statement

The methodology developed in this study was implemented as a MATLAB© algorithm. This function is a new tool to spatially align ADCP and MBES data and assess the quality of 2D simulations of hydrodynamics. The MATLAB© script, its User’s Guide, and its complementary data to run the examples are available as supplementary material in an open-source online data repository hosted at Mendeley Data [29].

Acknowledgments

G. Soto-Cortes appreciates the contribution of the engineers José A. Jacobo-García, Kevin R. Quintana-Solis, Carlos I. Romero-Peña, and Abel Gomez-Nava.

Conflicts of Interest

The authors declare no conflict of interest.

References

  1. Szupiany, R.N.; Amsler, M.L.; Parsons, D.R.; Best, J.L. Morphology, flow structure, and suspended bed sediment transport at two large braid-bar confluences. Water Resour. Res. 2009, 45, 1–19. [Google Scholar] [CrossRef]
  2. Parsons, D.R.; Jackson, P.R.; Czuba, J.A.; Engel, F.L.; Rhoads, B.L.; Oberg, K.A.; Best, J.L.; Mueller, D.S.; Johnson, K.K.; Riley, J.D. Velocity Mapping Toolbox (VMT): A processing and visualization suite for moving-vessel ADCP measurements. Earth Surf. Process Landf. 2013, 38, 1244–1260. [Google Scholar] [CrossRef]
  3. Vermeulen, B.; Sassi, M.G.; Hoitink, A.J.F. Improved flow velocity estimates from moving-boat ADCP measurements. Water Resour. Res. 2014, 50, 4186–4196. [Google Scholar] [CrossRef]
  4. Szupiany, R.N.; Amsler, M.L.; Best, J.L.; Parsons, D.R. Comparison of Fixed- and Moving-Vessel Flow Measurements with an aDp in a Large River. J. Hydraul. Eng. 2007, 133, 1299–1309. [Google Scholar] [CrossRef]
  5. Mueller, D.S.; Abad, J.D.; García, C.M.; Gartner, J.W.; García, M.H.; Oberg, K.A. Errors in Acoustic Doppler Profiler Velocity Measurements Caused by Flow Disturbance. J. Hydraul. Eng. 2007, 133, 1411–1420. [Google Scholar] [CrossRef]
  6. Moradi, G.; Vermeulen, B.; Rennie, C.D.; Cardot, R.; Lane, S.N. Evaluation of aDcp processing options for secondary flow identification at river junctions. Earth Surf. Process Landf. 2019, 44, 2903–2921. [Google Scholar] [CrossRef]
  7. Dinehart, R.L.; Burau, J.R. Averaged indicators of secondary flow in repeated acoustic Doppler current profiler crossings of bends. Water Resour. Res. 2005, 41, 1–18. [Google Scholar] [CrossRef]
  8. Kim, D.; Muste, M.; Weber, L.; Asman, R. Getting to Know AdcpXP ADCP eXtended Processing: A Tutorial for Using AdcpXP; University of Iowa: Iowa City, IA, USA, 2007. [Google Scholar]
  9. Parsons, D.R.; Best, J.L.; Lane, S.N.; Orfeo, O.; Hardy, R.J.; Kostaschuk, R. Form roughness and the absence of secondary flow in a large confluence–diffluence, Rio Paraná, Argentina. Earth Surf. Process Landf. 2007, 32, 155–162. [Google Scholar] [CrossRef]
  10. Richards, D.; Konsoer, K.; Langendoen, E.; Ursic, M.; Constantine, J. Depositional patterns of slowly plugging neck cutoffs from core analysis and estimates of bedload transport, White River, Arkansas. Sedimentology 2021, 69, 568–591. [Google Scholar] [CrossRef]
  11. Nittrouer, J.A.; Allison, M.A.; Campanella, R. Bedform transport rates for the lowermost Mississippi River. J. Geophys. Res. Earth Surf. 2008, 113, 3004. [Google Scholar] [CrossRef]
  12. Richards, D.; Konsoer, K. Morphologic adjustments of actively evolving highly curved neck cutoffs. Earth Surface Processes and Landforms 2020, 45, 1067–1081. [Google Scholar] [CrossRef]
  13. Leary, K.C.P.; Buscombe, D. Estimating sand bed load in rivers by tracking dunes: A comparison of methods based on bed elevation time series. Earth Surf. Dyn. 2020, 8, 161–172. [Google Scholar] [CrossRef]
  14. Lynch, D.R. Progress in hydrodynamic modeling, review of U.S. contributions, 1979–1982. Rev. Geophys. 1983, 21, 741–754. [Google Scholar] [CrossRef]
  15. Papanicolaou, N.; Elhakeem, M.; Krallis, G.; Prakash, S.; Edinger, J. Sediment Transport Modeling Review—Current and Future Developments. J. Hydraul. Eng. 2008, 134, 1–14. [Google Scholar] [CrossRef]
  16. Papanicolaou, N.; Elhakeem, M.; Wardman, B. Calibration and verification of a 2D hydrodynamic model for simulating flow around emergent bendway weir structures. J. Hydraul. Eng. 2011, 137, 75–89. [Google Scholar] [CrossRef]
  17. Sutherland, J.; Peet, A.H.; Soulsby, R.L. Evaluating the performance of morphological models. Coast. Eng. 2004, 51, 917–939. [Google Scholar] [CrossRef]
  18. Sutherland, J.; Walstra, D.J.R.; Chesher, T.J.; van Rijn, L.C.; Southgate, H.N. Evaluation of coastal area modelling systems at an estuary mouth. Coast. Eng. 2004, 51, 119–142. [Google Scholar] [CrossRef]
  19. Alho, P.; Mäkinen, J. Hydraulic parameter estimations of a 2D model validated with sedimentological findings in the point bar environment. Hydrol. Process 2010, 24, 2578–2593. [Google Scholar] [CrossRef]
  20. Elina, K.; Petteri, A.; Matti, V.; Hannu, H.; Juha, H. Spatial and temporal distribution of fluvio-morphological processes on a meander point bar during a flood event. Hydrol. Res. 2013, 44, 1022–1039. [Google Scholar] [CrossRef]
  21. Rodriguez, J.F.; Bombardelli, F.A.; García, M.H.; Frothingham, K.M.; Rhoads, B.L.; Abad, J.D. High-resolution Numerical Simulation of Flow Through a Highly Sinuous River Reach. Water Resour. Manag. 2004, 18, 177–199. [Google Scholar] [CrossRef]
  22. Williams, R.D.; Brasington, J.; Hicks, M.; Measures, R.; Rennie, C.D.; Vericat, D. Hydraulic validation of two-dimensional simulations of braided river flow with spatially continuous aDcp data. Water Resour. Res. 2013, 49, 5183–5205. [Google Scholar] [CrossRef]
  23. Clifford, N.J.; Wright, N.G.; Harvey, G.; Gurnell, A.M.; Harmar, O.P.; Soar, P.J. Numerical Modeling of River Flow for Ecohydraulic Applications: Some Experiences with Velocity Characterization in Field and Simulated Data. J. Hydraul. Eng. 2010, 136, 1033–1041. [Google Scholar] [CrossRef]
  24. Parsapour-Moghaddam, P.; Rennie, C.D. Calibration of a 3D Hydrodynamic Meandering River Model Using Fully Spatially Distributed 3D ADCP Velocity Data. J. Hydraul. Eng. 2018, 144, 04018010. [Google Scholar] [CrossRef]
  25. Brière, C.; Abadie, S.; Bretel, P.; Lang, P. Assessment of TELEMAC system performances, a hydrodynamic case study of Anglet, France. Coast. Eng. J. 2007, 54, 345–356. [Google Scholar] [CrossRef]
  26. Plancke, Y.; Stark, J.; Meire, D.; Schrijver, M. Complex Flow Patterns in the Scheldt Estuary: Field Measurements and Validation of a Hydrodynamic Model. J. Hydraul. Eng. 2020, 146, 05020004. [Google Scholar] [CrossRef]
  27. Matte, P.; Secretan, Y.; Morin, J. Hydrodynamic Modeling of the St. Lawrence Fluvial Estuary. I: Model Setup, Calibration, and Validation. J. Waterw. Port. Coast. Ocean. Eng. 2017, 143, 04017010. [Google Scholar] [CrossRef]
  28. Gaeuman, D.; Jacobson, R.B. Field Assessment of Alternative Bed-Load Transport Estimators. J. Hydraul. Eng. 2007, 133, 1319–1328. [Google Scholar] [CrossRef]
  29. Soto-Cortes, G.; Rivera-Trejo, F.; Konsoer, K.; Langendoen, E. HydroAPP, 2D Hydrodynamic Calibration. 2022. Mendeley DATA: V2. Available online: https://data.mendeley.com/datasets/549d9g469w/2 (accessed on 1 January 2025).
  30. Teledyne. Acoustic Doppler Current Profiler: Principles of Operation. A Practical Primer. Teledyne RD Instruments, Poway, California. Poway, CA, USA, 2011. P/N 951-6069-00 (January 2011). Available online: https://www.teledynemarine.com/en-us/support/SiteAssets/RDI/Manuals%20and%20Guides/General%20Interest/BBPRIME.pdf (accessed on 21 December 2024).
  31. Van Rijn, L.C. Measurement Errors of Instruments for Velocity, Wave Height, Sand Concentration and Bed Levels in Field Conditions. Coast3D. 2000. Available online: https://repository.tudelft.nl/file/File_c2005c29-3454-4f3f-8826-f5e567b2a6a9 (accessed on 1 January 2025).
  32. Richards, D.A. Sediment Deposition and Distribution of Actively Envolving Neck Cutoffs Located in the White River, Arkansa; Luisiana State University: Baton Rouge, LA, USA, 2018. [Google Scholar]
  33. Turnipseed, C.; Konsoer, K.; Richards, D.; Willson, C. Numerical Modeling of Two-Dimensional Hydrodynamics in a Highly Curving and Actively Evolving Neck Cutoff Under Different Hydrologic Conditions. Water Resour. Res. 2021, 57, 1–14. [Google Scholar] [CrossRef]
  34. Richards, D.; Konsoer, K.; Turnipseed, C.; Willson, C. Characterising three-dimensional flow through neck cutoffs with complex planform geometry. In Fluvial Meanders and Their Sedimentary Products in the Rock Record; Wiley: Hoboken, NJ, USA, 2018; pp. 273–295. [Google Scholar] [CrossRef]
  35. Hervouet, J. TELEMAC modelling system: An overview. Hydrol. Process 2000, 14, 2209–2210. [Google Scholar] [CrossRef]
  36. USDA. USDA—NRCS—Geospatial Data Gateway. Available online: https://datagateway.nrcs.usda.gov (accessed on 21 December 2024).
  37. Glenn, J.; Tonina, D.; Morehead, M.D.; Fiedler, F.; Benjankar, R. Effect of transect location, transect spacing and interpolation methods on river bathymetry accuracy. Earth Surf. Process Landf. 2016, 41, 1185–1198. [Google Scholar] [CrossRef]
  38. Williams, J.J.; Esteves, L.S. Guidance on Setup, Calibration, and Validation of Hydrodynamic, Wave, and Sediment Models for Shelf Seas and Estuaries; Hindawi Limited: London, UK, 2017. [Google Scholar] [CrossRef]
  39. Priego-Hernández, G.A.; Rivera-Trejo, F. Secondary currents: Measurement and analysis. Atmosfera 2016, 29, 23–34. [Google Scholar] [CrossRef][Green Version]
  40. Nelson, J.M.; Logna, B.L.; Kinzel, P.J.; Shimizu, Y.; Giri, S.; Shreve, R.L.; McLean, S.R. Bedform response to flow variability. Earth Surface Process Landf. 2016, 36, 1938–1947. [Google Scholar] [CrossRef]
  41. Simons, D.B.; Richardson, E.V. Forms of Bed Roughness in Alluvial Channels; U.S. Geological Survey Professional Paper 422; U.S. Government Printing Office: Washington, DC, USA, 1966. [Google Scholar]
Figure 1. Field data for hydrodynamic modeling: (a) Streamwise velocity field measured with an ADCP showing velocity magnitudes in color (red: high, blue: low) and transverse flow vectors with the riverbed profile (gray line); (b) high-resolution bathymetry captured with an MBES illustrating a detailed channel morphology, including meander bends and sedimentary features.
Figure 1. Field data for hydrodynamic modeling: (a) Streamwise velocity field measured with an ADCP showing velocity magnitudes in color (red: high, blue: low) and transverse flow vectors with the riverbed profile (gray line); (b) high-resolution bathymetry captured with an MBES illustrating a detailed channel morphology, including meander bends and sedimentary features.
Water 17 00377 g001
Figure 2. The standard calibration procedure for 2D hydrodynamic models.
Figure 2. The standard calibration procedure for 2D hydrodynamic models.
Water 17 00377 g002
Figure 3. Bed profiles before the alignment process: (a) multibeam data; (b) ADCP data; and (c) alignment procedure result.
Figure 3. Bed profiles before the alignment process: (a) multibeam data; (b) ADCP data; and (c) alignment procedure result.
Water 17 00377 g003
Figure 4. Flow chart of the iterative alignment procedure of MBES and ADCP bed profiles.
Figure 4. Flow chart of the iterative alignment procedure of MBES and ADCP bed profiles.
Water 17 00377 g004
Figure 5. Evaluation of the downstream boundary condition of the hydrodynamics computer model: (a) schematic representation of the computational domain for a 2D hydrodynamic simulation; (b) comparison of the simulated water surface profile along an approximate centerline ( W S P C L ) with the corrected, observed ADCP water level in each transect ( W S P R ) and the adjusted simulated water surface profile ( W S P C L , a ) after correction with Δ z w .
Figure 5. Evaluation of the downstream boundary condition of the hydrodynamics computer model: (a) schematic representation of the computational domain for a 2D hydrodynamic simulation; (b) comparison of the simulated water surface profile along an approximate centerline ( W S P C L ) with the corrected, observed ADCP water level in each transect ( W S P R ) and the adjusted simulated water surface profile ( W S P C L , a ) after correction with Δ z w .
Water 17 00377 g005
Figure 6. Location of Pumps Bend on the White River, Arkansas, USA. Flow is from left to bottom in the inset map.
Figure 6. Location of Pumps Bend on the White River, Arkansas, USA. Flow is from left to bottom in the inset map.
Water 17 00377 g006
Figure 7. The 2016 maps of the model domain for Pumps Bend on the White River, AR (USA), showing (a) ADCP transect IDs and locations; (b) ADCP transect groups (cross-sections) and flow velocity magnitude indications; (c) an elevation map of the study domain, which is covered by a mesh comprising 184,096 triangular elements with a mean side length of ~5 m; and (d) the floodplain and channel boundary roughness domains.
Figure 7. The 2016 maps of the model domain for Pumps Bend on the White River, AR (USA), showing (a) ADCP transect IDs and locations; (b) ADCP transect groups (cross-sections) and flow velocity magnitude indications; (c) an elevation map of the study domain, which is covered by a mesh comprising 184,096 triangular elements with a mean side length of ~5 m; and (d) the floodplain and channel boundary roughness domains.
Water 17 00377 g007
Figure 8. ADCP bed profile aligned with the MBES bathymetry for ADCP cross-sections I to XV.
Figure 8. ADCP bed profile aligned with the MBES bathymetry for ADCP cross-sections I to XV.
Water 17 00377 g008
Figure 9. Comparison of the simulated and reference water surface profiles along the channel centerline. (a) Centerline bed profile for reference. (b) Comparison of W S P R and W S P C L for the channel boundary roughness scenario with a Manning n of 0.030 s m1/3.
Figure 9. Comparison of the simulated and reference water surface profiles along the channel centerline. (a) Centerline bed profile for reference. (b) Comparison of W S P R and W S P C L for the channel boundary roughness scenario with a Manning n of 0.030 s m1/3.
Water 17 00377 g009
Figure 10. Comparison of simulated ( v U C L , v V C L ) and measured ( v U R , v V R ) velocity components v U and v V at one arbitrary transect of each transect group. Simulated velocities are for scenario 1 (n = 0.030 s m−1/3).
Figure 10. Comparison of simulated ( v U C L , v V C L ) and measured ( v U R , v V R ) velocity components v U and v V at one arbitrary transect of each transect group. Simulated velocities are for scenario 1 (n = 0.030 s m−1/3).
Water 17 00377 g010
Figure 11. Modeled hydrodynamics qualification at Pumps Bend on the White River, Arkansas, USA, for the three channel boundary roughness scenarios. (a) Adjusted relative mean absolute error ARMAE. (b) ARMAE-based hydrodynamics simulation qualification. (c,d) Root-mean-square error RMSE for U and V velocity components, respectively. The numbers 0 to 38 around the circles represent every transect.
Figure 11. Modeled hydrodynamics qualification at Pumps Bend on the White River, Arkansas, USA, for the three channel boundary roughness scenarios. (a) Adjusted relative mean absolute error ARMAE. (b) ARMAE-based hydrodynamics simulation qualification. (c,d) Root-mean-square error RMSE for U and V velocity components, respectively. The numbers 0 to 38 around the circles represent every transect.
Water 17 00377 g011
Table 1. Classification of computer model performance according to the ARMAE of the hydrodynamics simulation. Column one lists the categorization designation [19], while column 2 lists the corresponding range of ARMAE.
Table 1. Classification of computer model performance according to the ARMAE of the hydrodynamics simulation. Column one lists the categorization designation [19], while column 2 lists the corresponding range of ARMAE.
ClassificationRange of ARMAE
Excellent<0.2
Good0.2–0.4
Reasonable0.4–0.7
Poor0.7–1.0
Bad>1.0
Table 2. Alignment procedure summary where column 1 lists the longitudinal position L P along the centerline, measured from downstream to upstream; columns 2 and 3 are the transect and groups IDs (cf. Figure 9a,b for location); columns 4 and 5 are the Easting and Northing cartesian coordinates of the intersections between the channel centerline and the transects; column 6 is the longitudinal shift, while positive means rightward displacement and negative is leftward displacement; column 7 is the estimated reference water surface level, W S L R ; column 8 is the alignment R M S E ; and column 9 describes the stop condition applied during the iterative procedure presented in Figure 6.
Table 2. Alignment procedure summary where column 1 lists the longitudinal position L P along the centerline, measured from downstream to upstream; columns 2 and 3 are the transect and groups IDs (cf. Figure 9a,b for location); columns 4 and 5 are the Easting and Northing cartesian coordinates of the intersections between the channel centerline and the transects; column 6 is the longitudinal shift, while positive means rightward displacement and negative is leftward displacement; column 7 is the estimated reference water surface level, W S L R ; column 8 is the alignment R M S E ; and column 9 describes the stop condition applied during the iterative procedure presented in Figure 6.
L P TransectGroupIntersection Coordinates Δ η W S L R ǂ R M S E m i n Stop
[m] Easting [m]Northing [m][m][masl][m]Condition
33238I644,711.203,848,690.38150.4450.170Cross correlation
42836II644,807.633,848,697.41150.3450.170Cross correlation
43037II644,809.903,848,697.55−150.3350.180Cross correlation
52834III644,906.443,848,710.99050.3850.220Iterations
53335III644,911.743,848,712.08−150.3600.221Cross correlation
62231IV644,997.443,848,735.42−250.3500.169Cross correlation
62333IV644,998.743,848,735.86−150.3250.167Cross correlation
63030IV645,005.343,848,738.12−150.2800.237Iterations
63132IV645,005.833,848,738.29250.3700.308Iterations
73317V645,098.783,848,779.59150.4150.154Iterations
73718V645,102.223,848,781.76050.3300.100Cross correlation
83029VI645,179.163,848,834.82150.3050.173Iterations
83328VI645,181.323,848,836.46250.3800.174Iterations
93126VII645,257.403,848,898.19050.4450.120Cross correlation
93127VII645,257.473,848,898.26050.3450.094Cross correlation
298824VIII645,418.223,848,651.10−150.5300.208Cross correlation
299325VIII645,413.733,848,650.61−150.4650.094Cross correlation
308821IX645,322.553,848,625.38−350.2550.957Cross correlation
309122IX645,320.103,848,624.35350.6750.930Cross correlation
309320IX645,318.373,848,623.63−150.6401.238Cross correlation
309323IX645,318.753,848,623.79−250.3200.495Iterations
318416X645,240.143,848,577.31250.7750.943Iterations
318919X645,236.593,848,574.68250.2500.956Iterations
327612XI645,184.093,848,505.40−250.4150.467Iterations
327714XI645,183.853,848,505.03−250.3250.387Iterations
328415XI645,179.893,848,499.15050.2150.491Cross correlation
328713XI645,178.443,848,497.01150.5250.462Cross correlation
337311XII645,131.743,848,424.39−150.3650.163Cross correlation
338010XII645,128.143,848,418.53150.3250.271Cross correlation
34669XIII645,081.853,848,345.85−150.4250.292Iterations
34757XIII645,076.043,848,339.22−150.3650.205Cross correlation
34766XIII645,074.933,848,337.95250.4350.201Cross correlation
34768XIII645,075.013,848,338.04150.4150.291Cross correlation
35693XIV645,015.813,848,266.68−150.4300.148Cross correlation
35715XIV645,014.213,848,264.37050.4100.251Cross correlation
35734XIV645,013.333,848,263.10250.4200.332Cross correlation
35762XIV645,011.643,848,260.66250.3750.228Cross correlation
36721XV644,972.553,848,174.60−150.3800.168Cross correlation
36750XV644,971.343,848,171.21150.4150.309Cross correlation
Table 3. List of corrections to the downstream water level boundary condition for the three channel roughness scenarios (for the floodplain n = 0.15 s m1/3. Column 1 lists the scenario; column 2 presents the roughness coefficient (Manning n); columns 3 and 4 are the downstream water level boundary correction z w and corresponding R M S E m i n .
Table 3. List of corrections to the downstream water level boundary condition for the three channel roughness scenarios (for the floodplain n = 0.15 s m1/3. Column 1 lists the scenario; column 2 presents the roughness coefficient (Manning n); columns 3 and 4 are the downstream water level boundary correction z w and corresponding R M S E m i n .
Scenario n   [ s m 1 / 3 ] z w   [ m ] R M S E m i n
10.030−0.0250.11164
20.035−0.0300.11179
30.040−0.0400.11201
Disclaimer/Publisher’s Note: The statements, opinions and data contained in all publications are solely those of the individual author(s) and contributor(s) and not of MDPI and/or the editor(s). MDPI and/or the editor(s) disclaim responsibility for any injury to people or property resulting from any ideas, methods, instructions or products referred to in the content.

Share and Cite

MDPI and ACS Style

Rivera-Trejo, F.; Soto-Cortes, G.; Konsoer, K.M.; Langendoen, E.J.; Priego-Hernandez, G. Beyond Water Surface Profiles: A New Iterative Methodology for 2D Model Calibration in Rivers Using Velocity Data from Multiple Cross-Sections. Water 2025, 17, 377. https://doi.org/10.3390/w17030377

AMA Style

Rivera-Trejo F, Soto-Cortes G, Konsoer KM, Langendoen EJ, Priego-Hernandez G. Beyond Water Surface Profiles: A New Iterative Methodology for 2D Model Calibration in Rivers Using Velocity Data from Multiple Cross-Sections. Water. 2025; 17(3):377. https://doi.org/10.3390/w17030377

Chicago/Turabian Style

Rivera-Trejo, Fabian, Gabriel Soto-Cortes, Kory M. Konsoer, Eddy J. Langendoen, and Gaston Priego-Hernandez. 2025. "Beyond Water Surface Profiles: A New Iterative Methodology for 2D Model Calibration in Rivers Using Velocity Data from Multiple Cross-Sections" Water 17, no. 3: 377. https://doi.org/10.3390/w17030377

APA Style

Rivera-Trejo, F., Soto-Cortes, G., Konsoer, K. M., Langendoen, E. J., & Priego-Hernandez, G. (2025). Beyond Water Surface Profiles: A New Iterative Methodology for 2D Model Calibration in Rivers Using Velocity Data from Multiple Cross-Sections. Water, 17(3), 377. https://doi.org/10.3390/w17030377

Note that from the first issue of 2016, this journal uses article numbers instead of page numbers. See further details here.

Article Metrics

Back to TopTop