The Migration Law of Iron during the Process of Water Icing
Abstract
1. Introduction
2. Materials and Methods
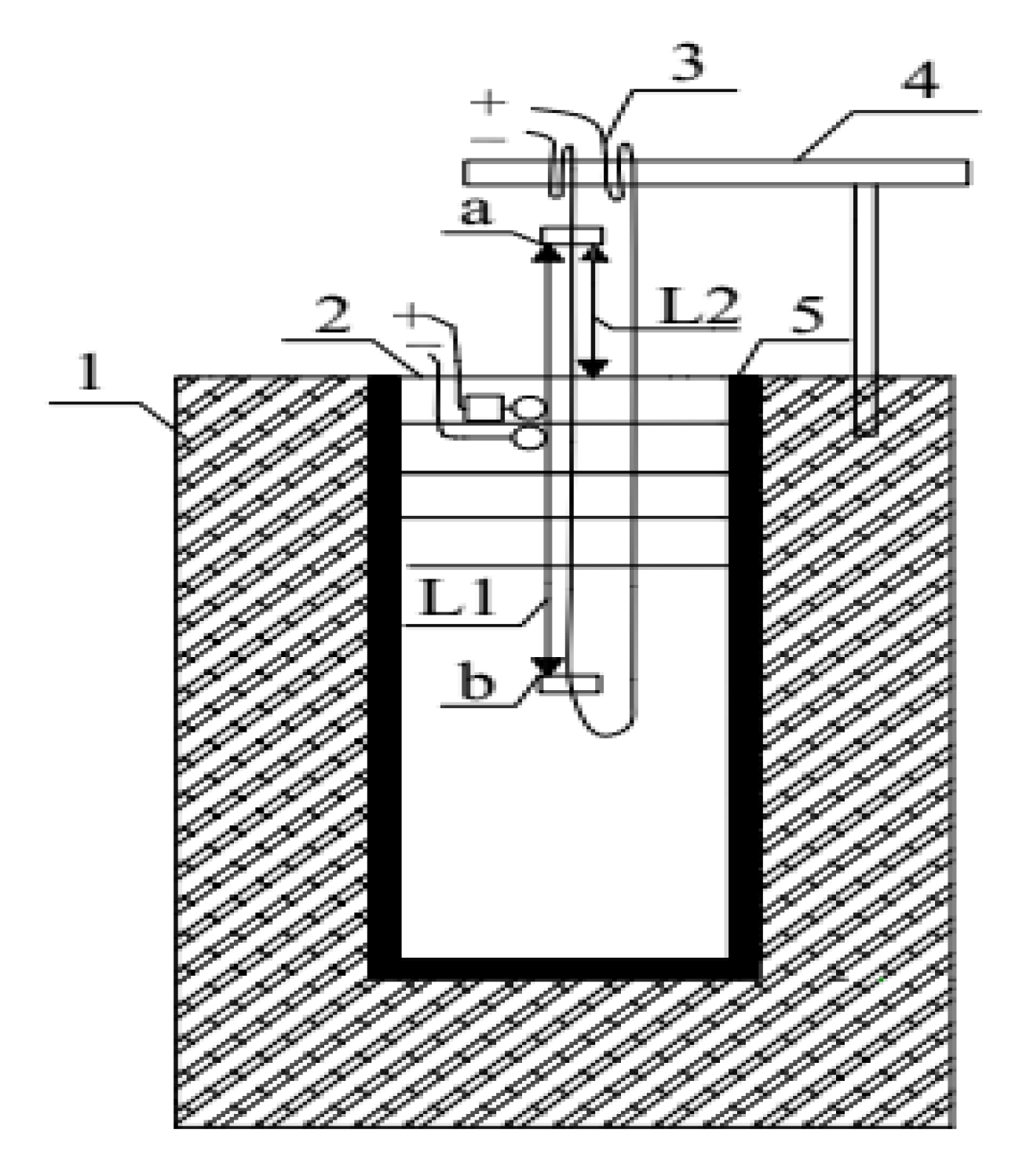
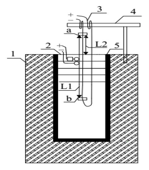
2.1. Icing Simulation Device
2.2. Experimental Design
- (1)
- To study the effect of icing thickness on the migration law of iron during water icing, we prepared the iron standard solution with the concentration of 0.6 mg/L in five icing simulation devices. Subsequently, we placed 8 L water sample (about 4/5 of the volume of the device) in each icing simulation device and placed the devices in the low-temperature testing box at −15 °C. The samples were removed when the thickness of ice reached 4 cm, 8 cm, 12 cm, 16 cm and 20 cm;
- (2)
- To study the effect of freezing temperature on the migration law of iron during water icing, we prepared the iron standard solution with a concentration of 0.6 mg/L in five icing simulation devices. Subsequently, we placed 8 L water sample in each icing simulation device and placed the devices in the low-temperature testing box at −5 °C, −10 °C, −15 °C, −20 °C and −25 °C. The samples were removed when the thickness of the ice reached 12 cm;
- (3)
- To study the effect of initial concentration on the migration law of iron during water icing, according to ‘Chinese standards for drinking water quality’ [38], wherein the concentration of iron in drinking water should not exceed 0.3 mg/L, the iron standard solution concentrations were set to 0.3 mg/L, 0.6 mg/L, 0.9 mg/L, 1.2 mg/L, and 1.5 mg/L. Iron standard solutions with the above concentrations were respectively placed in five icing simulators. A total of 8 L of water sample was put in each simulator device placed in the low-temperature testing box at −15 °C. The samples were removed when the thickness of the ice reached 12 cm.
2.3. Detection Method
2.4. Data Analysis
3. Results and Discussion
3.1. Migration Law of Iron in Ice–Water System during the Icing Process
3.2. Effects of Ice Thickness on the Migration of Iron
3.3. Effects of Freezing Temperatures on the Migration of Iron
3.4. Effects of Initial Concentrations on the Migration of Iron
4. Conclusions
- (1)
- During icing, iron partitions more strongly to under-ice water than to ice, which may deteriorate the under-ice water environment in shallow lakes in high latitudes. In addition, iron affects the growth of phytoplankton. Too high or too low iron concentrations may inhibit the growth of algae. Thus, iron pollution caused by the icebound period should be further studied in the future;
- (2)
- In the simulated icing experiment, the concentration of iron in the ice body showed a tendency to decrease first and then increase. K (the ratio of the average concentration of iron in the ice to that in the under-ice water) decreased with the increase in icing temperature, icing thickness, and initial concentration. That is, a higher icing temperature, larger icing thickness, and higher initial concentration are favorable for the migration of iron to under-ice water bodies. For shallow lakes, the volume ratio of ice water may be an important factor which causes the increase in iron concentration in under-ice water, too. It is hoped that this study can provide a theoretical basis for the change in iron concentration in the icing process of surface water, and provide data support for the treatment of iron-containing wastewater by using the freezing concentration effect;
- (3)
- The distribution of iron in natural waters was affected by various factors, such as organic ligands, pH, and dissolved oxygen. In the simulated icing experiment, this study only considered the effects of icing thickness, freezing temperature and initial concentration on the migration distribution of iron. Other factors that may affect the migration of iron remain to be further explored.
Author Contributions
Funding
Acknowledgments
Conflicts of Interest
References
- Weyhenmeyer, G.A.; Livingstone, D.M.; Meili, M.; Jensen, O. Large geographical differences in the sensitivity of ice-covered lakes and rivers in the Northern Hemisphere to temperature changes. Glob. Chang. Biol. 2011, 17, 268–275. [Google Scholar] [CrossRef]
- Verpoorter, C.; Kutser, T.; Seekell, D.A.J. A global inventory of lakes based on high-resolution satellite imagery. Geophys. Res. Lett. 2014, 41, GL060641. [Google Scholar] [CrossRef]
- Catalan, J. Evolution of dissolved and particulate matter during the ice-covered period in a deep, high-mountain lake. Can. J. Fish. Aquat. Sci. 1992, 49, 945–955. [Google Scholar] [CrossRef]
- Welch, H.E.; Legault, J.A.; Bergmann, M.A. Effects of snow and ice on the annual cycles of heat and light in Saqvaqjuac lakes. Can. J. Fish. Aquat. Sci. 1987, 44, 1451–1461. [Google Scholar] [CrossRef]
- Jewson, D.H.; Granin, N.G.; Zhdanov, A.A. Effect of snow depth on under-ice irradiance and growth of Aulacoseira baicalensis in Lake Baikal. Aquat. Ecol. 2009, 43, 673–679. [Google Scholar] [CrossRef]
- Wang, F.L.; Yu, X.Y.; Li, J. Research Progress on Water Pollution Features and Prediction in Cold Region. J. Mod. Agric. Sci. Technol. 2017, 16, 155–156. [Google Scholar]
- Fang, X.; Stefan, H.G. Simulations of climate effects on water temperature, dissolved oxygen, and ice and snow covers in lakes of the contiguous U.S. under past and future climate scenarios. Limnol. Oceanogr. 2009, 54, 2359–2370. [Google Scholar] [CrossRef]
- Golosov, S.; Maher, O.; Schipunova, E. Physicalbackground of the development of oxygen depletion in ice-covered lakes. Oecologia 2007, 151, 331–340. [Google Scholar] [CrossRef]
- McBean, E.; Farquhar, G.; Kouwen, N. Predictions of ice-cover development in streams and its effect on dissolved oxygen modelling. Can. J. Civ. Eng. 1979, 6, 197–207. [Google Scholar] [CrossRef]
- Julie, T.; Amir, S.; Karl-Erich, L. Modelling Dissolved Oxygen/Sediment Oxygen Demand under Ice in a Shallow Eutrophic Prairie Reservoir. Water 2017, 9, 131. [Google Scholar]
- Hampton, S.E.; Galloway, A.W.E.; Powers, S.M. Ecology under lake ice. Ecol. Lett. 2017, 20, 98–111. [Google Scholar] [CrossRef] [PubMed]
- Salonen, K.; Leppäranta, M.; Viljanen, M. Perspectives in winter limnology: Closing the annual cycle of freezing lakes. Aquat. Ecol. 2009, 43, 609–616. [Google Scholar] [CrossRef]
- Lindenschmidt, K.E.; Baulch, H.; Cavaliere, E. River and Lake Ice Processes—Impacts of Freshwater Ice on Aquatic Ecosystems in a Changing Globe. Water 2018, 10, 1586. [Google Scholar] [CrossRef]
- Zhang, Y. Migration Mechanism of Pollutants and Its Application in Ulansuhai Lake in Freezing Process; Inner Mongolia Agriculture University: Inner Mongolia, China, 2012. [Google Scholar]
- Kirillin, G. Physics of seasonally ice-covered lakes: A review. Aquat. Sci. 2012, 74, 659–682. [Google Scholar] [CrossRef]
- Gerten, D.; Adrian, R. Climate-driven changes in spring plankton dynamics and the sensitivity of shallow polymictic lakes to the North Atlantic Oscillation. Limnol. Oceanogr. 2000, 45, 1058–1066. [Google Scholar] [CrossRef]
- Prowse, T.D.; Bonsal, B.R.; Duguay, C.R. River-ice break-up/freeze-up: a review of climatic drivers, historical trends and future predictions. J. Ann. Glaciol. 2007, 46, 443–451. [Google Scholar] [CrossRef]
- Dai, F.; Wang, Z.; Yan, X.; Li, Z.; Allhusen, E.; Dieckmann, G. Physical structure and vertical distribution of chlorophyll a in winter sea-ice from Weddlle Sea, Antarctica. J. Acta Oceanol. Sin. 2008, 4, 104–113. [Google Scholar]
- Li, W.P.; Xu, J.; Yu, L.H. Distribution characteristics of nutrients and phytoplankton in Wuliangsuhai Lake during the icebound season. J. Acta Sci. Circum. 2014, 23, 1007–1013. [Google Scholar]
- Powers, S.M.; Labou, S.G.; Baulch, H.M. Ice duration drives winter nitrate accumulation in north temperate lakes. Limnol. Oceanogr. Lett. 2017, 2, 177–186. [Google Scholar] [CrossRef]
- Fang, Y.; Changyou, L.; Leppäranta, M.; Xiaonghong, S.; Shengnan, Z.; Chengfu, Z. Notable increases in nutrient concentrations in a shallow lake during seasonal ice growth. J. Water Sci. Technol. 2016, 74, 2773–2783. [Google Scholar] [CrossRef]
- Belzile, C.; Vincent, G.W.F. Colored Dissolved Organic Matter and Dissolved Organic Carbon Exclusion from Lake Ice: Implications for Irradiance Transmission and Carbon Cycling. J. Limnol. Oceanogr. 2002, 47, 1283–1293. [Google Scholar] [CrossRef]
- Angino, E.E.; Armitage, K.B.; Tash, J.C. Physicochemical Limnology of Lake Bonney, Antarctica. J. Limnol. Oceanogr. 1964, 9, 207–217. [Google Scholar] [CrossRef]
- Paquette, M.; Fortier, D.; Mueller, D.R.; Sarrazin, D.; Vincent, W.F. Rapid disappearance of perennial ice on Canada’s most northern lake. Geophys. Res. Lett. 2015, 42, 1433–1440. [Google Scholar] [CrossRef]
- Zhang, Y.; Tang, Y.; Yu, A.; Zhao, W.; Liu, Y. Research on the Migration of the Total Manganese during the Process of Water Icing. Water 2019, 11, 1626. [Google Scholar] [CrossRef]
- Gao, W.; Smith, D.W.; Sego, D.C. Treatment of pulp mill and oil sands industrial wastewaters by the partial spray freezing process. Water Res. 2004, 38, 579–584. [Google Scholar] [CrossRef]
- Gao, W.; Smith, D.W.; Habib, M. Petroleum Refinery Secondary Effluent Polishing Using Freezing Processes—Toxicity and Organic Contaminant Removal. Water Environ. Res. 2008, 80, 517–523. [Google Scholar] [CrossRef]
- Gao, W.; Shao, Y. Freeze concentration for removal of pharmaceutically active compounds in water. Desalination 2009, 249, 398–402. [Google Scholar] [CrossRef]
- Williams, P.M.; Ahmad, M.; Benjamin, S.C. Technology for freeze concentration in the desalination industry. Desalination 2015, 356, 314–327. [Google Scholar] [CrossRef]
- Fujioka, R.; Wang, L.P.; Dodbiba, G.; Fujita, T. Application of progressive freeze-concentration for desalination. Desalination 2013, 319, 33–37. [Google Scholar] [CrossRef]
- Badawy, S. Laboratory freezing desalination of seawater. Desalin. Water Treat. 2015, 57, 1–8. [Google Scholar] [CrossRef]
- Sun, C.; Li, C.Y. First-Principles Study on the Migration of Heavy Metal Ions in Ice-Water Medium from Ulansuhai Lake. Water 2018, 10, 1149. [Google Scholar] [CrossRef]
- Lu, Y. Potimization of Purifying Biofilter of Micro-polluted Water Containing of Iron Manganese and the Investigation of Microbial Community Structure; Northeast Agricultural University: Heilongjiang, China, 2017. [Google Scholar]
- Huang, Z.M.; Huang, X. Trace Elements and Human Health. Stud. Trace Elem. Health 2010, 27, 58–62. [Google Scholar]
- Chen, Y.H.; Yu, J.; Xie, S.B. Question in Study on Removing Iron and Manganese from Groundwater and Development of Methods. Ind. Water Wastewater 2003, 34, 1–4. [Google Scholar]
- Qin, Y.H. Drinking Water Sanitation and Treatment Technology; Chemical Industry Press: Beijing, China, 2002. (In Chinese) [Google Scholar]
- Chang, V.; Cotterchio, M.; Khoo, E. Iron intake, body iron status, and risk of breast cancer: A systematic review and meta-analysis. BMC Cancer 2019, 19, 543. [Google Scholar] [CrossRef] [PubMed]
- Standards for Drinking Water Quality; GB5749-2006; Ministry of Health of the People’s Republic of China: Beijing, China, 2006. (In Chinese)
- The State Environmental Protection Administration the Water and Wastewater Monitoring Analysis Method Editorial Board. Water and Wastewater Monitoring Analysis Method, 4th ed.; China Environmental Science Press: Beijing, China, 2002. (In Chinese) [Google Scholar]
- Gao, N.; Qiao, L.M.; Zhang, Y. Total Phosphorus Migration in Wuliangsuhai Lake During Ice Growth Process. Trans. Oceanol. Limnol. 2017, 2, 48–52. [Google Scholar]
- Fletcher, A.H. The Chemical Physics of Ice; Cambridge University Press: New York, NY, USA, 1970. [Google Scholar]
- Glen, J.W. The Physics of Ice. J. Electrical Properties. 1974. [CrossRef]
- Zhang, Y.; Li, C.Y.; Shi, X.H.; Chao, L.I. The migration of total dissolved solids during natural freezing process in Ulansuhai Lake. Arid. Land 2012, 4, 85–94. [Google Scholar] [CrossRef]
- Nakawo, M.; Sinha, N.K. Growth rate and salinity profile of first-sea ice in the high Arctic. J. Glaciol. 1981, 27, 315–330. [Google Scholar] [CrossRef]
- Weeks, W.F.; Lee, O.S. Observation on the physical properties of sea ice at Hopedale. Labrador. Arctic 1958, 11, 135–155. [Google Scholar]
- Zhang, Y.; Li, C.Y.; Shen, H.T. Total nitrogen migration in Wuliangsuhai Lake during ice growth process. Adv. Water Sci. 2013, 24, 728–735. [Google Scholar]
- Maykut, G.A. The Surface Heat and Mass Balance. In The Geophysics of Sea Ice; Untersteiner, N., Ed.; Springer: Boston, MA, USA, 1986; Volume 146, pp. 418–463. [Google Scholar]
- Martin, S. A field study of brine drainage and oil entrainment in first-year sea ice. J. Glaciol. 1979, 22, 473–502. [Google Scholar] [CrossRef][Green Version]
- Yu, T.; Ma, J. Application of Refrigeration in Wastewater Treatment and Recycle. J. Refrig. 2008, 29, 47–50. [Google Scholar]
- Schmidt, S.; Moskal, W.; De Mora, S.J.D. Limnological properties of Antarctic ponds during winter freezing. Antarct. Sci. 1991, 3, 379–388. [Google Scholar] [CrossRef]
- Wharton, R.A.; Mckay, C.P.; Clow, G.D. Perennial ice covers and their influence on Antarctic lake ecosystems. Antarct. Res. Ser. 1993, 59, 53–70. [Google Scholar]
- Waller, R. A Study of Aggregate Ice Formation as a Method of Concentrating Impurities in Aqueous Solution. Ph.D. Thesis, The Johns Hopkins University, Baltimore, MD, USA, 1967. [Google Scholar]
- Terwilliger, J.P.; Dizio, S.F. Salt rejection phenomena in the freezing of saline solutions. Chem. Eng. Sci. 1970, 25, 1331–1349. [Google Scholar] [CrossRef]
- Gao, W.; Habib, M.; Smith, D.W. Removal of organic contaminants and toxicity from industrial effluents using freezing processes. Desalination 2009, 245, 108–119. [Google Scholar] [CrossRef]
- Yu, T.; Ma, J.Z.; Li, Q. Factors affecting ice crystal purity during freeze concentration process for urine treatment. J. Harbin Inst. Technol. 2007, 14, 593–597. [Google Scholar]
- Luo, C.S.; Chen, W.W.; Han, W.F. Experimental study on factors affecting the quality of ice crystal during the freezing concentration for the brackish water. Desalination 2010, 260, 231–238. [Google Scholar] [CrossRef]










© 2020 by the authors. Licensee MDPI, Basel, Switzerland. This article is an open access article distributed under the terms and conditions of the Creative Commons Attribution (CC BY) license (http://creativecommons.org/licenses/by/4.0/).
Share and Cite
Tang, Y.; Zhang, Y.; Zhao, W.; Liu, T.; Liu, Y. The Migration Law of Iron during the Process of Water Icing. Water 2020, 12, 441. https://doi.org/10.3390/w12020441
Tang Y, Zhang Y, Zhao W, Liu T, Liu Y. The Migration Law of Iron during the Process of Water Icing. Water. 2020; 12(2):441. https://doi.org/10.3390/w12020441
Chicago/Turabian StyleTang, Yuanqing, Yan Zhang, Wanli Zhao, Tongshuai Liu, and Yucan Liu. 2020. "The Migration Law of Iron during the Process of Water Icing" Water 12, no. 2: 441. https://doi.org/10.3390/w12020441
APA StyleTang, Y., Zhang, Y., Zhao, W., Liu, T., & Liu, Y. (2020). The Migration Law of Iron during the Process of Water Icing. Water, 12(2), 441. https://doi.org/10.3390/w12020441
