Mixing Improvement in a T-Shaped Micro-Junction through Small Rectangular Cavities
Abstract
:1. Introduction
2. Numerical Model
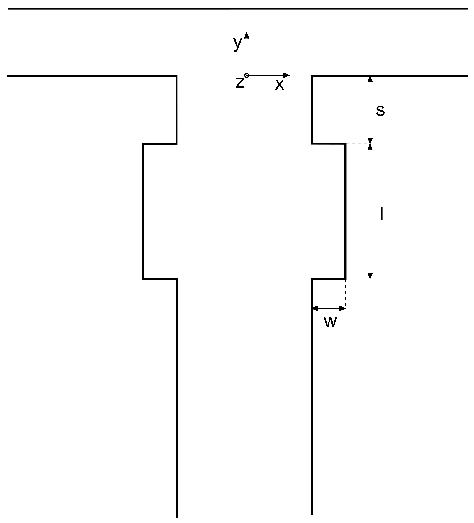
2.1. Geometry and Parameters
2.2. Solver Settings and Grid
2.3. Evaluation of Mixing Performance
3. Results
3.1. Flow Control and Device Performance
3.2. Effect of Cavities on the Mixing Mechanism in the Steady Engulfment Regime
- the confluence zone (), wherein both geometries’ similar mixing performances are present;
- the cavity zone () (represented by the dashed lines in Figure 4b), where the presence of cavities further improves the mixing between the two inlet streams ( = 32.5%) compared to the TJ case ( = 27.5%);
- the flow zone () where the two curves for TJ and TJC increase in parallel.
3.3. Robustness to the Cavity Parameters in the Engulfment Regime
4. Discussion and Future Perspectives
5. Conclusions
Author Contributions
Funding
Institutional Review Board Statement
Informed Consent Statement
Data Availability Statement
Acknowledgments
Conflicts of Interest
References
- Rossetti, I.; Compagnoni, M. Chemical reaction engineering, process design and scale-up issues at the frontier of synthesis: Flow chemistry. Chem. Eng. J. 2016, 296, 56–70. [Google Scholar] [CrossRef]
- Yao, X.; Zhang, Y.; Du, L.; Liu, J.; Yao, J. Review of the applications of microreactors. Renew. Sustain. Energy Rev. 2015, 47, 519. [Google Scholar] [CrossRef]
- Löb, P.; Löwe, H.; Hessel, V. Fluorinations, chlorinations and brominations of organic compounds in micro reactors. J. Fluor. Chem. 2004, 125, 1677–1694. [Google Scholar] [CrossRef]
- Löbbecke, S.; Antes, J.; Ferstl, W.; Boskovic, D.; Türcke, T.; Schwarzer, M.; Krause, H. Microreactors for Processing of Hazardous and Explosible Reactions. In IChemE Symposium Series No. 153, Proceedings of the 12th International Symposium Loss Prevention and Safety Promotion in the Process Industries, Edinburgh, UK, 22–24 May 2007; Institution of Chemical Engineers: Rugby, UK, 2007. [Google Scholar]
- Lomel, S.; Falk, L.; Commenge, J.; Houzelot, J.; Ramdani, K. The microreactor: A systematic and efficient tool for the transition from batch to continuous process? Chem. Eng. Res. Des. 2006, 84, 363–369. [Google Scholar] [CrossRef]
- Roberge, D.M.; Ducry, L.; Bieler, N.; Cretton, P.; Zimmermann, B. Microreactor technology: A revolution for the fine chemical and pharmaceutical industries? Chem. Eng. Technol. 2005, 28, 318–323. [Google Scholar] [CrossRef]
- Van Gerven, T.; Stankiewicz, A. Structure, energy, synergy, time - the fundamentals of Process Intensification. Ind. Eng. Chem. Res. 2009, 48, 2465–2474. [Google Scholar] [CrossRef]
- Jiménez-González, C.; Poechlauer, P.; Broxterman, Q.B.; Yang, B.S.; Am Ende, D.; Baird, J.; Bertsch, C.; Hannah, R.E.; Dell’Orco, P.; Noorman, H.; et al. Key Green Engineering Research Areas for Sustainable Manufacturing: A Perspective from Pharmaceutical and Fine Chemicals Manufacturers. Org. Process Res. Dev. 2011, 15, 900–911. [Google Scholar] [CrossRef]
- Poechlauer, P.; Colberg, J.; Fisher, E.; Jansen, M.; Johnson, M.D.; Koenig, S.G.; Lawler, M.; Laporte, T.; Manley, J.; Martin, B.; et al. Pharmaceutical Roundtable Study Demonstrates the Value of Continuous Manufacturing in the Design of Greener Processes. Org. Process Res. Dev. 2013, 17, 1472–1478. [Google Scholar] [CrossRef]
- Bayareh, M.; Ashani, M.N.; Usefian, A. Active and passive micromixers: A comprehensive review. Chem. Eng. Process.-Process Intensif. 2020, 147, 107771. [Google Scholar] [CrossRef]
- Hessel, V.; Löwe, H.; Schönfeld, F. Micromixers—A review on passive and active mixing principles. Chem. Eng. Sci. 2005, 60, 2479–2501. [Google Scholar] [CrossRef]
- Kumar, V.; Paraschivoiu, M.; Nigam, K.D.P. Single-phase fluid flow and mixing in microchannels. Chem. Eng. Sci. 2011, 66, 1329–1373. [Google Scholar] [CrossRef]
- Lee, C.Y.; Wang, W.T.; Liu, C.C.; Fu, L.M. Passive mixers in microfluidic systems: A review. Chem. Eng. J. 2016, 288, 146–160. [Google Scholar] [CrossRef]
- Nguyen, N.T.; Wu, Z. Micromixers—A review. J. Micromech. Microeng. 2004, 15, R1–R16. [Google Scholar] [CrossRef]
- Cheng, H.; Manas-Zloczower, I. Study of mixing efficiency in kneading discs of co-rotating twin-screw extruders. Polym. Eng. Sci. 1997, 37, 1082–1090. [Google Scholar] [CrossRef]
- Yan, D.; Yang, C.; Miao, J.; Lam, Y.; Huang, X. Enhancement of electrokinetically driven microfluidic T-mixer using frequency modulated electric field and channel geometry effects. Electrophoresis 2009, 30, 3144–3152. [Google Scholar] [CrossRef]
- Karvelas, E.; Lampropoulos, N.; Karakasidis, T.; Sarris, I. A computational tool for the estimation of the optimum gradient magnetic field for the magnetic driving of the spherical particles in the process of cleaning water. Desalin. Water Treat. 2017, 99, 27–33. [Google Scholar] [CrossRef]
- Karvelas, E.; Liosis, C.; Benos, L.; Karakasidis, T.; Sarris, I. Micromixing efficiency of particles in heavy metal removal processes under various inlet conditions. Water 2019, 11, 1135. [Google Scholar] [CrossRef] [Green Version]
- Liosis, C.; Karvelas, E.; Karakasidis, T.; Sarris, I. Numerical study of magnetic particles mixing in waste water under an external magnetic field. J. Water Supply Res. Technol.-AQUA 2020, 69, 266–275. [Google Scholar] [CrossRef]
- Wong, S.H.; Ward, M.C.; Wharton, C.W. Micro T-mixer as a rapid mixing micromixer. Sens. Act. B Chem. 2004, 100, 359–379. [Google Scholar] [CrossRef]
- Engler, M.; Kockmann, N.; Kiefer, T.; Woias, P. Numerical and experimental investigations on liquid mixing in static micromixers. Chem. Eng. J. 2004, 101, 315–322. [Google Scholar] [CrossRef]
- Hoffmann, M.; Schlüter, M.; Räbiger, N. Experimental investigation of liquid-liquid mixing in T-shaped micro-mixers using micro-LIF and micro-PIV. Chem. Eng. Sci. 2006, 61, 2968–2976. [Google Scholar] [CrossRef]
- Bothe, D.; Stemich, C.; Warnecke, H.J. Fluid mixing in a T-shaped micro-mixer. Chem. Eng. Sci. 2006, 61, 2950–2958. [Google Scholar] [CrossRef]
- Soleymani, A.; Yousefi, H.; Turunen, I. Dimensionless number for identification of flow patterns inside a T-micromixer. Chem. Eng. Sci. 2008, 63, 5291–5297. [Google Scholar] [CrossRef]
- Bothe, D.; Stemich, C.; Warnecke, H.J. Computation of scales and quality of mixing in a T-shaped microreactor. Comput. Chem. Eng. 2008, 32, 108–114. [Google Scholar] [CrossRef]
- Dreher, S.; Kockmann, N.; Woias, P. Characterization of laminar transient flow regimes and mixing in T-shaped micromixers. Heat Transf. Eng. 2009, 30, 91–100. [Google Scholar] [CrossRef]
- Thomas, S.; Ameel, T.; Guilkey, J. Mixing kinematics of moderate Reynolds number flows in a T-channel. Phys. Fluids 2010, 22, 1–10. [Google Scholar] [CrossRef]
- Thomas, S.; Ameel, T. An experimental investigation of moderate reynolds number flow in a T-Channel. Exp. Fluids 2010, 49, 1231–1245. [Google Scholar] [CrossRef]
- Krupa, K.; Sultan, M.; Fonte, C.P.; Nunes, M.I.; Dias, M.M.; Lopes, J.C.B.; Santos, R.J. Characterization of mixing in T-jets mixers. Chem. Eng. J. 2012, 207–208, 931–937. [Google Scholar] [CrossRef]
- Ashar Sultan, M.; Fonte, C.P.; Dias, M.M.; Lopes, J.C.B.; Santos, R.J. Experimental study of flow regime and mixing in T-jets mixers. Chem. Eng. Sci. 2012, 73, 388–399. [Google Scholar] [CrossRef]
- Mariotti, A.; Galletti, C.; Mauri, R.; Salvetti, M.V.; Brunazzi, E. Steady and unsteady regimes in a T-shaped micro-mixer: Synergic experimental and numerical investigation. Chem. Eng. J. 2018, 341, 414–431. [Google Scholar] [CrossRef]
- Mariotti, A.; Galletti, C.; Salvetti, M.V.; Brunazzi, E. Unsteady Flow Regimes in a T-Shaped Micromixer: Mixing and Characteristic Frequencies. Ind. Eng. Chem. Res. 2019, 58, 13340–13356. [Google Scholar] [CrossRef]
- Camarri, S.; Mariotti, A.; Galletti, C.; Brunazzi, E.; Mauri, R.; Salvetti, M.V. An Overview of Flow Features and Mixing in Micro T and Arrow Mixers. Ind. Eng. Chem. Res. 2020, 59, 3669–3686. [Google Scholar] [CrossRef]
- Poole, R.J.; Alfateh, M.; Gauntlett, A.P. Bifurcation in a T-channel junction: Effects of aspect ratio and shear-thinning. Chem. Eng. Sci. 2013, 104, 839–848. [Google Scholar] [CrossRef]
- Lobasov, A.S.; Minakov, A.V.; Kuznetsov, V.V.; Rudyak, V.Y.; Shebeleva, A.A. Investigation of mixing efficiency and pressure drop in T-shaped micromixers. Chem. Eng. Process.-Process Intensif. 2018, 134, 105–114. [Google Scholar] [CrossRef] [Green Version]
- Mariotti, A.; Galletti, C.; Brunazzi, E.; Salvetti, M.V. Mixing sensitivity to the inclination of the lateral walls in a T-mixer. Chem. Eng. Process.-Process Intensif. 2022, 170, 108699. [Google Scholar] [CrossRef]
- Chicchiero, C.; Siconolfi, L.; Camarri, S. Investigation of the symmetry-breaking instability in a T-mixer with circular cross section. Phys. Fluids 2020, 32, 124106. [Google Scholar] [CrossRef]
- Kockmann, N.; Kiefer, T.; Engler, M.; Woias, P. Convective mixing and chemical reactions in microchannels with high flow rates. Sensors Actuators B Chem. 2006, 117, 495–508. [Google Scholar] [CrossRef]
- Bothe, D.; Lojewski, A.; Warnecke, H.J. Computational analysis of an instantaneous chemical reaction in a T-microreactor. AIChE J. 2010, 56, 1406–1415. [Google Scholar] [CrossRef]
- Bothe, D.; Lojewski, A.; Warnecke, H.J. Fully resolved numerical simulation of reactive mixing in a T-shaped micromixer using parabolized species equations. Chem. Eng. Sci. 2011, 66, 6424–6440. [Google Scholar] [CrossRef]
- Ortega-Casanova, J. Application of CFD on the optimization by response surface methodology of a micromixing unit and its use as a chemical microreactor. Chem. Eng. Process. Process Intensif. 2017, 117, 18–26. [Google Scholar] [CrossRef]
- Mierka, O.; Munir, M.; Spille, C.; Timmermann, J.; Schlüter, M.; Turek, S. Reactive Liquid-Flow Simulation of Micromixers Based on Grid Deformation Techniques. Chem. Eng. Technol. 2017, 40, 1408–1417. [Google Scholar] [CrossRef]
- Mariotti, A.; Antognoli, M.; Galletti, C.; Mauri, R.; Salvetti, M.V.; Brunazzi, E. The role of flow features and chemical kinetics on the reaction yield in a T-shaped micro-reactor. Chem. Eng. J. 2020, 396, 125223. [Google Scholar] [CrossRef]
- Mariotti, A.; Antognoli, M.; Galletti, C.; Mauri, R.; Salvetti, M.V.; Brunazzi, E. A Study on the Effect of Flow Unsteadiness on the Yield of a Chemical Reaction in a T Micro-Reactor. Micromachines 2021, 12, 242. [Google Scholar] [CrossRef] [PubMed]
- Mariotti, A.; Galletti, C.; Brunazzi, E.; Salvetti, M.V. Steady flow regimes and mixing performance in arrow-shaped micro-mixers. Phys. Rev. Fluids 2019, 4, 034201. [Google Scholar] [CrossRef]
- Udaya Kumar, A.; Sai Ganesh, D.; Vamsi Krishna, T.; Sashank, B.; Satyanarayana, T. Modeling and investigation on mixing characteristics of T and Y-shaped micromixers for microfluidic devices. Mater. Today Proc. 2021. [Google Scholar] [CrossRef]
- Rahimi, M.; Azimi, N.; Parsamogadam, M.A.; Rahimi, A.; Masahy, M.M. Mixing performance of T, Y, and oriented Y-micromixers with spatially arranged outlet channel: Evaluation with Villermaux/Dushman test reaction. Microsyst. Technol. 2017, 23, 3117. [Google Scholar] [CrossRef]
- Babu, H.; Sahu, S.; Haderlein, M.; Peukert, W.; Verma, N. Numerical Investigation of Flow Patterns and Concentration Profiles in Y-Mixers. Chem. Eng. Technol. 2016, 39, 1963–1971. [Google Scholar] [CrossRef]
- Ansari, M.A.; Kim, K.Y.; Anwar, K.; Kim, S.M. Vortex micro T-mixer with non-aligned inputs. Chem. Eng. J. 2012, 181–182, 846–850. [Google Scholar] [CrossRef]
- Ansari, M.; Kim, K.Y.; Kim, S. Numerical and experimental study on mixing performances of simple and vortex micro T-mixers. Micromachines 2018, 9, 204. [Google Scholar] [CrossRef] [PubMed] [Green Version]
- Chan, S.T.; Ault, J.T.; Haward, S.J.; Meiburg, E.; Shen, A.Q. Coupling of vortex breakdown and stability in a swirling flow. Phys. Rev. Fluids 2019, 4, 084701. [Google Scholar] [CrossRef] [Green Version]
- Zhang, S.; Cagney, N.; Lacassagne, T.; Balabani, S.; Naveira-Cotta, C.P.; Tiwari, M.K. Mixing in flows past confined microfluidic cylinders: Effects of pin and fluid interface offsetting. Chem. Eng. J. 2020, 397, 125358. [Google Scholar] [CrossRef]
- Wang, H.; Iovenitti, P.; Harvey, E.; Masood, S. Optimizing layout of obstacles for enhanced mixing in microchannels. Smart Mater. Struct. 2002, 11, 662–667. [Google Scholar] [CrossRef]
- Bhagat, A.A.S.; Peterson, E.T.K.; Papautsky, I. A passive planar micromixer with obstructions for mixing at low Reynolds numbers. J. Micromech. Microeng. 2007, 17, 1017–1024. [Google Scholar] [CrossRef]
- Hsiao, K.Y.; Wu, C.Y.; Huang, Y.T. Fluid mixing in a microchannel with longitudinal vortex generators. Chem. Eng. J. 2014, 235, 27–36. [Google Scholar] [CrossRef]
- Afzal, A.; Kim, K.Y. Three-objective optimization of a staggered herringbone micromixer. Sens. Act. B Chem. 2014, 192, 350–360. [Google Scholar] [CrossRef]
- Chen, X.; Zhao, Z. Numerical investigation on layout optimization of obstacles in a three-dimensional passive micromixer. Anal. Chim. Acta 2017, 964, 142–149. [Google Scholar] [CrossRef] [PubMed]
- Wu, C.Y.; Lai, B.H. Numerical study of T-shaped micromixers with vortex-inducing obstacles in the inlet channels. Micromachines 2020, 11, 1122. [Google Scholar] [CrossRef] [PubMed]
- Hossain, S.; Fuwad, A.; Kim, K.Y.; Jeon, T.J.; Kim, S.M. Investigation of Mixing Performance of Two-Dimensional Micromixer Using Tesla Structures with Different Shapes of Obstacles. Ind. Eng. Chem. Res. 2020, 59, 3636–3643. [Google Scholar] [CrossRef]
- Juraeva, M.; Kang, D.J. Optimal combination of mixing units using the design of experiments method. Micromachines 2021, 12, 985. [Google Scholar] [CrossRef]
- Antognoli, M.; Stoecklein, D.; Galletti, C.; Brunazzi, E.; Di Carlo, D. Optimized design of obstacle sequences for microfluidic mixing in an inertial regime. Lab Chip 2021, 21, 3910–3923. [Google Scholar] [CrossRef] [PubMed]
- Mengeaud, V.; Josserand, J.; Girault, H. Mixing processes in a zigzag microchannel: Finite element simulations and optical study. Anal. Chem. 2002, 74, 4279–4286. [Google Scholar] [CrossRef]
- Lee, J.; Kwon, S. Mixing efficiency of a multilamination micromixer with consecutive recirculation zones. Chem. Eng. Sci. 2009, 64, 1223–1231. [Google Scholar] [CrossRef]
- Wang, L.; Liu, D.; Wang, X.; Han, X. Mixing enhancement of novel passive microfluidic mixers with cylindrical grooves. Chem. Eng. Sci. 2012, 81, 157–163. [Google Scholar] [CrossRef]
- Fishler, R.; Mulligan, M.; Sznitman, J. Mapping low-Reynolds-number microcavity flows using microfluidic screening devices. Microfluid. Nanofluidics 2013, 15, 491–500. [Google Scholar] [CrossRef]
- Fu, L.M.; Fang, W.C.; Hou, H.H.; Wang, Y.N.; Hong, T.F. Rapid vortex microfluidic mixer utilizing double-heart chamber. Chem. Eng. J. 2014, 249, 246–251. [Google Scholar] [CrossRef]
- Khosravi Parsa, M.; Hormozi, F.; Jafari, D. Mixing enhancement in a passive micromixer with convergent-divergent sinusoidal microchannels and different ratio of amplitude to wave length. Comput. Fluids 2014, 105, 82–90. [Google Scholar] [CrossRef]
- Khosravi Parsa, M.; Hormozi, F. Experimental and CFD modeling of fluid mixing in sinusoidal microchannels with different phase shift between side walls. J. Micromech. Microeng. 2014, 24, 065018. [Google Scholar] [CrossRef]
- Mondal, B.; Mehta, S.K.; Patowari, P.K.; Pati, S. Numerical study of mixing in wavy micromixers: Comparison between raccoon and serpentine mixer. Chem. Eng. Process.-Process Intensif. 2019, 136, 44–61. [Google Scholar] [CrossRef]
- Migay, V.K. The Efficiency of a Cross-Ribbed Curvilinear Diffuser. Energomashinostroenie 1962, 1, 45–46, (English translation FTD-TT-62-1151). [Google Scholar]
- Stull, F.; Velkoff, H. Effect of transverse ribs on pressure recovery in two-dimensional subsonic diffusers. In AIAA Paper 72-1141, Proceedings of the 8th Joint Propulsion Specialist Conference, New Orleans, LA, USA, 29 November–1 December 1972; American Institute of Aeronautics and Astronautics: Reston, VA, USA, 1972. [Google Scholar]
- Mariotti, A.; Buresti, G.; Salvetti, M.V. Use of multiple local recirculations to increase the efficiency in diffusers. Eur. J. Mech. B-Fluid 2015, 50, 27–37. [Google Scholar] [CrossRef]
- Mariotti, A.; Buresti, G.; Salvetti, M.V. Control of the turbulent flow in a plane diffuser through optimized contoured cavities. Eur. J. Mech. B-Fluid 2014, 48, 254–265. [Google Scholar] [CrossRef]
- Dhar, M.; Lam, J.N.; Walser, T.; Dubinett, S.M.; Rettig, M.B.; Di Carlo, D. Functional profiling of circulating tumor cells with an integrated vortex capture and single-cell protease activity assay. Proc. Natl. Acad. Sci. USA 2018, 115, 9986–9991. [Google Scholar] [CrossRef] [PubMed] [Green Version]
- Hur, S.C.; Mach, A.J.; Di Carlo, D. High-throughput size-based rare cell enrichment using microscale vortices. Biomicrofluidics 2011, 5, 022206. [Google Scholar] [CrossRef] [PubMed] [Green Version]
- Khojah, R.; Stoutamore, R.; Di Carlo, D. Size-tunable microvortex capture of rare cells. Lab Chip 2017, 17, 2542–2549. [Google Scholar] [CrossRef]
- Shen, F.; Xu, M.; Wang, Z.; Liu, Z. Single-particle trapping, orbiting, and rotating in a microcavity using microfluidics. Appl. Phys. Express 2017, 10, 097301. [Google Scholar] [CrossRef]
- Shen, F.; Xue, S.; Xu, M.; Pang, Y.; Liu, Z.M. Experimental study of single-particle trapping mechanisms into microcavities using microfluidics. Phys. Fluids 2019, 31, 042002. [Google Scholar]
- Haddadi, H.; Di Carlo, D. Inertial flow of a dilute suspension over cavities in a microchannel. J. Fluid Mech. 2017, 811, 436–467. [Google Scholar] [CrossRef]
- Khojah, R.; Lo, D.; Tang, F.; Di Carlo, D. The Evolution of Flow and Mass Transport in 3D Confined Cavities. arXiv 2021, arXiv:2101.07242. [Google Scholar]
- ANSYS Inc. ANSYS Fluent Theory Guide; 2019R2; ANSYS Inc.: Canonsburg, PA, USA, 2019. [Google Scholar]
- Andreussi, T.; Galletti, C.; Mauri, R.; Camarri, S.; Salvetti, M.V. Flow regimes in T-shaped micro-mixers. Comput. Chem. Eng. 2015, 76, 150–159. [Google Scholar] [CrossRef] [Green Version]
- Antognoli, M.; Tomasi Masoni, S.; Mariotti, A.; Mauri, R.; Brunazzi, E.; Galletti, C. Investigation on steady regimes in a X-shaped micromixer fed with water and ethanol. Chem. Eng. Sci. 2022, 248, 117254. [Google Scholar] [CrossRef]
- Jeong, J.; Hussain, F. On the identification of a vortex. J. Fluid Mech. 1995, 285, 69–94. [Google Scholar] [CrossRef]
- Jana, S.; Ottino, J. Experimental and computational studies of mixing in complex stokes flows: The vortex mixing flow and multicellular cavity flows. J. Fluid Mech. 1994, 269, 199–246. [Google Scholar] [CrossRef]
- Horner, M.; Metcalfe, G.; Wiggins, S.; Ottino, J. Transport enhancement mechanisms in open cavities. J. Fluid Mech. 2002, 452, 199–229. [Google Scholar] [CrossRef]
- Horner, M.; Metcalfe, G.; Ottino, J. Convection-Enhanced Transport into Open Cavities: Effect of Cavity Aspect Ratio. Cardiovasc. Eng. Technol. 2015, 6, 352–363. [Google Scholar] [CrossRef] [PubMed]









| Case | L | W | S |
|---|---|---|---|
| TJC | 1.50 | 0.375 | 0.375 |
| S.1 | 1.50 | 0.375 | 0.1875 |
| S.2 | 1.50 | 0.375 | 0.5625 |
| S.3 | 1.50 | 0.375 | 0.75 |
| W.1 | 1.50 | 0.1875 | 0.375 |
| W.2 | 1.50 | 0.5625 | 0.375 |
| W.3 | 1.50 | 0.75 | 0.375 |
| L.1 | 0.75 | 0.375 | 0.375 |
| L.2 | 2.25 | 0.375 | 0.375 |
| L.3 | 3.00 | 0.375 | 0.375 |
| Re = 100 | Re = 200 | Re = 300 | Re = 400 | |
|---|---|---|---|---|
| TJ case | 0.633 | 0.761 | 0.982 | 1.01 |
| TJC case | 0.629 | 0.763 | 0.991 | 1.01 |
| difference | 0.63% | −0.26% | −0.92% | 0.20% |
Publisher’s Note: MDPI stays neutral with regard to jurisdictional claims in published maps and institutional affiliations. |
© 2022 by the authors. Licensee MDPI, Basel, Switzerland. This article is an open access article distributed under the terms and conditions of the Creative Commons Attribution (CC BY) license (https://creativecommons.org/licenses/by/4.0/).
Share and Cite
Antognoli, M.; Tomasi Masoni, S.; Mariotti, A.; Mauri, R.; Salvetti, M.V.; Brunazzi, E.; Galletti, C. Mixing Improvement in a T-Shaped Micro-Junction through Small Rectangular Cavities. Micromachines 2022, 13, 159. https://doi.org/10.3390/mi13020159
Antognoli M, Tomasi Masoni S, Mariotti A, Mauri R, Salvetti MV, Brunazzi E, Galletti C. Mixing Improvement in a T-Shaped Micro-Junction through Small Rectangular Cavities. Micromachines. 2022; 13(2):159. https://doi.org/10.3390/mi13020159
Chicago/Turabian StyleAntognoli, Matteo, Sara Tomasi Masoni, Alessandro Mariotti, Roberto Mauri, Maria Vittoria Salvetti, Elisabetta Brunazzi, and Chiara Galletti. 2022. "Mixing Improvement in a T-Shaped Micro-Junction through Small Rectangular Cavities" Micromachines 13, no. 2: 159. https://doi.org/10.3390/mi13020159
APA StyleAntognoli, M., Tomasi Masoni, S., Mariotti, A., Mauri, R., Salvetti, M. V., Brunazzi, E., & Galletti, C. (2022). Mixing Improvement in a T-Shaped Micro-Junction through Small Rectangular Cavities. Micromachines, 13(2), 159. https://doi.org/10.3390/mi13020159

