A Genetic Algorithm for Integrated Scheduling of Container Handing Systems at Container Terminals from a Low-Carbon Operations Perspective
Abstract
1. Introduction
2. Literature Review
3. MILP Model for P_QYY
- YTs/YCs employed in CTs are identical.
- YTs/YCs are driven at a specific speed.
- Each YT has a unit capacity, i.e., only one container can be moved by a YT for a job.
- The average handling time is set to be the handling time for each QC/YC. The time spent in transferring process from YC/YT to YT/QC is included in the handling time of YC/QC.
- Containers assigned to one QC are loaded onto ships according to the first come first served rule. Special containers are not considered in this study.
- Traffic congestion or conflict of YTs/YCs is not taken into consideration.
- i, j: Jobs, i, j = 1, 2, …, Njob, Njob is the total number of jobs
- q: QCs, q = 1, 2, …, Nqc, Nqc is the total number of QCs
- k: YTs, k = 1, 2, …, Nyt, Nyt is the total number of YTs
- e: YCs, e = 1, 2, …, Nyc, Nyc is the total number of YCs
- m, n: Locations of QCs and blocks
- QC(i): QC preassigned the container of job i
- B(i): Block where the container of job i is placed
- iptk: The initial position of YT k
- ipce: The initial position of YC e
- Dmn: Distance between m and n
- hqc: Handling time spent by a QC
- hyc: Handling time spent by a YC
- syt: Driving speed of YTs
- syc: Driving speed of YCs
- M: A very large positive constant
- L: Set of outbound containers
- SQ: Set of QCs
- ST: Set of YTs
- SC: Set of YCs
- SPq: Set of pairs of jobs (i,j) where QC(i) = QC(j) = q
- Cmax: Makespan
- Tyti: Arrival time of the container of job i at QC(i) by YT
- Tyci: Arrival time of the container of job i at B(i) by YC
- ci: Completion time of job i
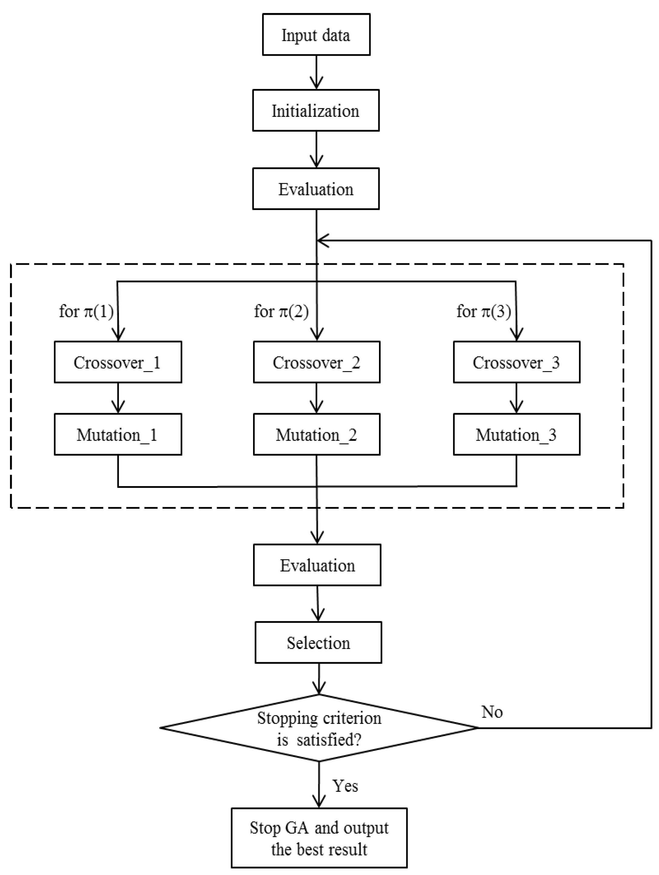
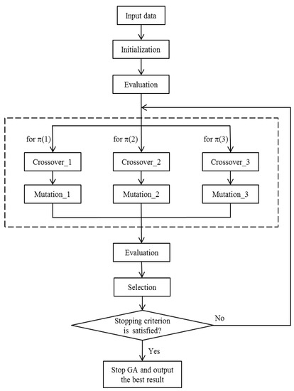
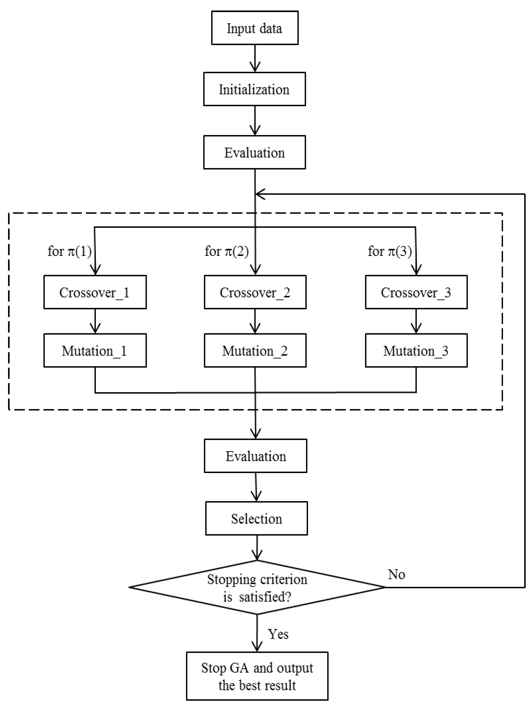
4. Solution Method
4.1. Chromosome Representation
4.2. Initial Population
4.3. Fitness Evaluation
- pyc[π(3)(i)]: Current position of YC π(3)(i)
- pyt[π(2)(i)]: Current position of YT π(2)(i)
- ayc[π(3)(i)]: Arrival time of YC π(3)(i) for job π(1)(i)
- ayt[π(2)(i)]: Arrival time of YT π(2)(i) for job π(1)(i)
- ryc[π(3)(i)]: Released time of YC π(3)(i) for job π(1)(i), i.e., the
- ryt[π(2)(i)]: Released time of YT π(2)(i) for job π(1)(i)
- fyc[π(3)(i)]: Finish time of job π(1)(i) on YC π(3)(i)
- fyt[π(2)(i)]: Finish time of job π(1)(i) on YT π(2)(i)
- fqc[QC(π(1)(i))]: Finish time of job π(1)(i) on QC(π(1)(i))
- Step 0 Initialization.
- Step 1 Calculation of the finish time of job π(1)(i) on YC π(3)(i).
- Step 2 Calculation of the finish time of job π(1)(i) on YT π(2)(i).
- Step 3 Calculation of the finish time of job π(1)(i) on QC.
- Step 4 Calculation of Cmax. If i = Njob, then the makespan is calculated as Cmax = max{cπ(1)(i)| i = 1,2, …, Njob}, otherwise, i = i + 1 and go to Step 1.
4.4. Generation of New Population
4.4.1. Crossover
4.4.2. Mutation
4.4.3. Selection
4.5. Stopping Criterion
5. Computational Experiments and Analysis
6. Conclusions
Author Contributions
Funding
Acknowledgments
Conflicts of Interest
Appendix A
| Dmn | 1 | 2 | 3 | 4 |
|---|---|---|---|---|
| 1 | − | 100 | 150 | 200 |
| 2 | 100 | − | 200 | 150 |
| 3 | 150 | 200 | − | 100 |
| 4 | 200 | 150 | 100 | − |
| Job i | 1 | 2 | 3 | 4 |
|---|---|---|---|---|
| QC(i) | 2 | 1 | 2 | 1 |
| B(i) | 3 | 3 | 4 | 4 |
| YT 1 | YT 2 | YC 1 | YC 2 | |
|---|---|---|---|---|
| Initial position | 3 | 4 | 4 | 3 |

- (1)
- Initialization
- (2)
- i = 1: π(1)(1) = 2, π(2)(1) = 2, π(3)(1) = 1.
- (3)
- i = 2: π(1)(2) = 4, π(2)(2) = 1, π(3)(2) = 1.
- (4)
- i = 3: π(1)(3) = 1, π(2)(3) = 1, π(3)(3) = 2.
- (5)
- i = 4: π(1)(4) = 3, π(2)(4) = 2, π(3)(4) = 2.
- (6)
- Makespan Cmax = max{cπ(1)(1), cπ(1)(2), cπ(1)(3), cπ(1)(4)} = max{960, 310, 2210, 610} = 2210
References
- Chen, L.; Bostel, N.; Dejax, P.; Cai, J.; Xi, L. A tabu search algorithm for the integrated scheduling problem of container handling systems in a maritime terminal. Eur. J. Oper. Res. 2007, 181, 40–58. [Google Scholar] [CrossRef]
- Tang, W.; Du, S.; Hu, L.; Wang, B.; Zhu, Y. The effects of leadership in Clean Development Mechanism low-carbon operations. Transport. Res. Part E Logist. Transp. Rev. 2022, 158, 102575. [Google Scholar]
- Du, S.; Wang, L.; Hu, L.; Zhu, Y. Platform-led green advertising: Promote the best or promote by performance. Transport. Res. Part E Logist. Transp. Rev. 2019, 128, 115–131. [Google Scholar] [CrossRef]
- Huang, C.; Du, S.; Wang, B.; Tang, W. Accelerate or hinder it? Manufacturer transformation under competition and carbon emission trading. Int. J. Prod. Res. 2022, 1–21. [Google Scholar] [CrossRef]
- Carlo, H.J.; Vis, I.F.A.; Roodbergen, K.J. Transport operations in container terminals: Literature overview, trends, research directions and classification scheme. Eur. J. Oper. Res. 2014, 236, 1–13. [Google Scholar] [CrossRef]
- Abdelmaguid, T.F.; Nassef, A.O.; Kamal, B.A.; Hassan, M.F. A hybrid GA/heuristic approach to the simultaneous scheduling of machines and automated guided vehicles. Int. J. Prod. Res. 2004, 42, 267–281. [Google Scholar] [CrossRef]
- Deroussi, L.; Gourgand, M.; Tchernev, N. A simple metaheuristic approach to the simultaneous scheduling of machines and automated guided vehicles. Int. J. Prod. Res. 2008, 46, 2143–2164. [Google Scholar] [CrossRef]
- Zheng, Y.; Xiao, Y.; Seo, Y. A tabu search algorithm for simultaneous machine/AGV scheduling problem. Int. J. Prod. Res. 2014, 52, 5748–5763. [Google Scholar] [CrossRef]
- Zeng, Q.; Yang, Z. Integrating simulation and optimization to schedule loading operations in container terminals. Comput. Oper. Res. 2009, 36, 1935–1944. [Google Scholar] [CrossRef]
- He, J.; Chang, D.; Mi, W.; Yan, W. A hybrid parallel genetic algorithm for yard crane scheduling. Transport. Res. Part E Logist. Transp. Rev. 2010, 46, 136–155. [Google Scholar] [CrossRef]
- Ng, W.C.; Mak, K.L.; Zhang, Y.X. Scheduling trucks in container terminals using a genetic algorithm. Eng. Optimiz. 2007, 39, 33–47. [Google Scholar] [CrossRef]
- Meisel, F.; Bierwirth, C. A unified approach for the evaluation of quay crane scheduling models and algorithms. Comput. Oper. Res. 2011, 38, 683–693. [Google Scholar] [CrossRef]
- Liu, M.; Wang, S.; Chu, F.; Xu, Y. Some complexity results and an efficient algorithm for quay crane scheduling problem. Discret. Math. Algorithms Appl. 2016, 8, 1650058. [Google Scholar] [CrossRef]
- AI-Dhaheri, N.; Jebali, A.; Diabat, A. A simulation-based Genetic Algorithm approach for the quay crane scheduling under uncertainty. Simul. Model. Pract. Theory 2016, 66, 122–138. [Google Scholar] [CrossRef]
- He, J.; Zhang, W.; Huang, Y. A simulation optimization method for internal trucks sharing assignment among multiple container terminals. Adv. Eng. Inform. 2013, 27, 598–614. [Google Scholar] [CrossRef]
- Ng, W.C.; Mak, K.L. Yard crane scheduling in port container terminals. Appl. Math. Model. 2005, 29, 263–276. [Google Scholar] [CrossRef]
- Jung, S.H.; Kim, K.H. Loading scheduling for multiple quay cranes in port container terminals. J. Intell. Manuf. 2006, 17, 479–492. [Google Scholar] [CrossRef]
- Wu, Y.; Li, W.; Petering, M.E.H.; Goh, M.; Souza, R. Scheduling multiple yard cranes with crane interference and safety distance requirement. Transport. Sci. 2015, 49, 990–1005. [Google Scholar] [CrossRef]
- Bierwirth, C.; Meisel, F. A survey of berth allocation and quay crane scheduling problems in container terminals. Eur. J. Oper. Res. 2010, 202, 615–627. [Google Scholar] [CrossRef]
- Rodrigues, F.; Agra, A. Berth allocation and quay crane assignment/scheduling problem under uncertainty: A survey. Eur. J. Oper. Res. 2022, 303, 501–524. [Google Scholar] [CrossRef]
- Tang, M.; Ji, B.; Fang, X.; Yu, S.S. Discretization-Strategy-Based Solution for Berth Allocation and Quay Crane Assignment Problem. J. Mar. Sci. Eng. 2022, 10, 495. [Google Scholar] [CrossRef]
- Cho, S.W.; Park, H.J.; Lee, C. An integrated method for berth allocation and quay crane assignment to allow for reassignment of vessels to other terminals. Marit. Econ. Logist. 2021, 23, 123–153. [Google Scholar] [CrossRef]
- Kaveshgar, N.; Huynh, N. Integrated quay crane and yard truck scheduling for unloading inbound containers. Int. J. Prod. Econ. 2015, 159, 168–177. [Google Scholar] [CrossRef]
- He, J. Berth allocation and quay crane assignment in a container terminal for the trade-off between time-saving and energy-saving. Adv. Eng. Inform. 2016, 30, 390–405. [Google Scholar] [CrossRef]
- Luo, J.; Wu, Y.; Mendes, A.B. Modelling of integrated vehicle scheduling and container storage problems in unloading process at an automated container terminal. Comput. Ind. Eng. 2016, 94, 32–44. [Google Scholar] [CrossRef]
- Lau, H.Y.K.; Zhao, Y. Integrated scheduling of handling equipment at automated container terminals. Ann. Oper. Res. 2008, 159, 373–394. [Google Scholar] [CrossRef]
- Linn, R.; Liu, J.; Wan, Y.; Zhang, C.; Murty, K.G. Rubber tired gantry crane deployment for container yard operation. Comput. Ind. Eng. 2003, 45, 429–442. [Google Scholar] [CrossRef]
- Murty, K.G.; Liu, J.; Wan, Y.; Linn, R. A decision support system for operations in a container terminal. Decis. Support Syst. 2005, 39, 309–332. [Google Scholar] [CrossRef]
- Gen, M.; Cheng, R. Genetic Algorithms and Engineering Optimization; Wiley: New York, NY, USA, 1999. [Google Scholar]
- Goldberg, D.E. Genetic Algorithms in Search, Optimization and Machine Learning; Addison Wesley Longman: Boston, MA, USA, 1989. [Google Scholar]
- Mitchell, M. An Introduction to Genetic Algorithms; MIT Press: Cambridge, MA, UK, 1999. [Google Scholar]
- Cao, J.X.; Lee, D.-H.; Chen, J.H.; Shi, Q. The integrated yard truck and yard crane scheduling problem: Benders’ decomposition-based methods. Transport. Res. Part E Logist. Transp. Rev. 2010, 46, 344–353. [Google Scholar] [CrossRef]







| Scheduling Problems in CTs | Related Literature |
|---|---|
| QC scheduling problem | Meisel & Bierwirth [12], Liu et al. [13], AI-Dhaheri et al. [14] |
| YT scheduling problem | Ng et al. [11], He et al. [15] |
| YC scheduling problem | Ng & Mak [16], Jung & Kim [17], He et al. [10], Wu et al. [18] |
| Berth allocation and QC scheduling problem | Bierwirth & Meisel [19], Rodrigues & Agra [20], Tang et al. [21], Cho et al. [22], He [24] |
| Integrated QC and YT scheduling problem | Kaveshgar & Huynh [23] |
| Integrated vehicles scheduling and containers storage problem | Luo et al. [25] |
| Integrated QC, yard vehicles, and YC scheduling problem | Chen et al. [1], Lau & Zhao [26] |
| Job i | 1 | 2 | 3 | 4 | 5 | 6 | 7 | 8 | 9 | 10 |
|---|---|---|---|---|---|---|---|---|---|---|
| QC(i) | 2 | 3 | 2 | 1 | 3 | 3 | 2 | 2 | 3 | 1 |
| B(i) | 4 | 6 | 5 | 5 | 6 | 4 | 4 | 5 | 6 | 4 |
| YTs | YCs | ||||
|---|---|---|---|---|---|
| YT 1 | YT 2 | YT 3 | YC 1 | YC 2 | |
| Initial position | 5 | 4 | 6 | 4 | 5 |
| Problem Instances | Njob | Nqc | Nyt | Nyc |
|---|---|---|---|---|
| ex1 | 6 | 1 | 2 | 2 |
| ex2 | 6 | 2 | 2 | 2 |
| ex3 | 8 | 1 | 2 | 2 |
| ex4 | 8 | 2 | 2 | 2 |
| ex5 | 8 | 2 | 3 | 2 |
| ex6 | 10 | 2 | 2 | 2 |
| ex7 | 10 | 2 | 3 | 2 |
| ex8 | 20 | 2 | 3 | 2 |
| ex9 | 20 | 3 | 4 | 3 |
| ex10 | 30 | 3 | 6 | 3 |
| ex11 | 30 | 3 | 8 | 4 |
| ex12 | 50 | 3 | 8 | 4 |
| ex13 | 50 | 4 | 10 | 4 |
| ex14 | 80 | 3 | 8 | 4 |
| ex15 | 80 | 4 | 10 | 5 |
| ex16 | 100 | 4 | 10 | 6 |
| ex17 | 100 | 5 | 14 | 6 |
| ex18 | 200 | 4 | 16 | 6 |
| ex19 | 200 | 5 | 18 | 8 |
| ex20 | 200 | 6 | 20 | 8 |
| ex21 | 400 | 4 | 20 | 8 |
| ex22 | 400 | 5 | 24 | 10 |
| ex23 | 500 | 5 | 20 | 10 |
| ex24 | 500 | 6 | 24 | 12 |
| ex25 | 500 | 6 | 28 | 12 |
| Problem Instances | MILP | GA | Gap (%) | ||
|---|---|---|---|---|---|
| Makespan (A1) | CPU Time | Makespan (A2) | CPU Time (Seconds) | (A1–A2)/A2 | |
| ex1 | 1328.33 | 64.45 s | 1328.33 | 0.80 | 0.00 |
| ex2 | 1335.33 | 38.36 s | 1335.33 | 0.91 | 0.00 |
| ex3 | 1408.00 | 36 h | 1356.00 | 1.57 | 3.83 |
| ex4 | 1363.00 | 36 h | 1363.00 | 1.56 | 0.00 |
| ex5 | 1374.33 | 36 h | 1359.00 | 1.61 | 1.13 |
| ex6 | 1988.33 | 36 h | 1798.67 | 1.75 | 10.54 |
| ex7 | 1661.00 | 36 h | 1547.33 | 1.83 | 7.35 |
| ex8 | – | 36 h | 1565.67 | 2.11 | – |
| ex9 | – | 36 h | 1928.00 | 3.49 | – |
| ex10 | – | 36 h | 1575.00 | 4.18 | – |
| ex11 | – | 36 h | 1813.13 | 5.63 | – |
| ex12 | – | 36 h | 3149.67 | 11.84 | – |
| ex13 | – | 36 h | 2669.67 | 12.40 | – |
| ex14 | – | 36 h | 4809.67 | 26.08 | – |
| ex15 | – | 36 h | 3898.33 | 31.28 | – |
| ex16 | – | 36 h | 4412.33 | 105.44 | – |
| ex17 | – | 36 h | 3975.00 | 127.12 | – |
| ex18 | – | 36 h | 7881.67 | 547.49 | – |
| ex19 | – | 36 h | 6136.00 | 635.98 | – |
| ex20 | – | 36 h | 6011.33 | 662.59 | – |
| ex21 | – | 36 h | 12,447.00 | 2680.81 | – |
| ex22 | – | 36 h | 9843.00 | 3103.88 | – |
| ex23 | – | 36 h | 13,613.00 | 4304.06 | – |
| ex24 | – | 36 h | 10,305.33 | 5157.29 | – |
| ex25 | – | 36 h | 9685.00 | 5704.66 | – |
| Problem Instances | GA_HM | GA_SM | Gap (%) | ||
|---|---|---|---|---|---|
| Makespan (B1) | CPU Time (Seconds) | Makespan (B2) | CPU Time (Seconds) | (B2–B1)/B1 | |
| ex1 | 1328.33 | 0.80 | 1328.33 | 0.72 | 0.00 |
| ex2 | 1335.33 | 0.91 | 1335.33 | 0.85 | 0.00 |
| ex3 | 1356.00 | 1.57 | 1356.00 | 1.66 | 0.00 |
| ex4 | 1363.00 | 1.56 | 1363.00 | 1.63 | 0.00 |
| ex5 | 1359.00 | 1.61 | 1359.00 | 1.38 | 0.00 |
| ex6 | 1798.67 | 1.75 | 1798.67 | 2.08 | 0.00 |
| ex7 | 1547.33 | 1.83 | 1547.33 | 2.22 | 0.00 |
| ex8 | 1565.67 | 2.11 | 1565.67 | 2.42 | 0.00 |
| ex9 | 1928.00 | 3.49 | 1931.33 | 4.06 | 0.17 |
| ex10 | 1575.00 | 4.18 | 1592.33 | 3.21 | 1.10 |
| ex11 | 1813.13 | 5.63 | 1875.00 | 3.70 | 3.41 |
| ex12 | 3149.67 | 11.84 | 3258.00 | 4.94 | 3.44 |
| ex13 | 2669.67 | 12.40 | 2877.33 | 5.13 | 7.78 |
| ex14 | 4809.67 | 26.08 | 5294.00 | 7.03 | 10.07 |
| ex15 | 3898.33 | 31.28 | 4214.67 | 7.20 | 8.11 |
| ex16 | 4412.33 | 105.44 | 4704.33 | 17.06 | 6.62 |
| ex17 | 3975.00 | 127.12 | 4222.33 | 13.26 | 6.22 |
| ex18 | 7881.67 | 547.49 | 8854.67 | 25.43 | 12.35 |
| ex19 | 6136.00 | 635.98 | 7480.33 | 24.27 | 21.91 |
| ex20 | 6011.33 | 662.59 | 7269.67 | 23.89 | 20.93 |
| ex21 | 12,447.00 | 2680.81 | 15,674.00 | 56.09 | 25.93 |
| ex22 | 9843.00 | 3103.88 | 13,254.00 | 57.25 | 34.65 |
| ex23 | 13,613.00 | 4304.06 | 17,192.67 | 80.53 | 26.30 |
| ex24 | 10,305.33 | 5157.29 | 13,287.67 | 79.29 | 28.94 |
| ex25 | 9685.00 | 5704.66 | 13,202.33 | 80.92 | 36.32 |
Disclaimer/Publisher’s Note: The statements, opinions and data contained in all publications are solely those of the individual author(s) and contributor(s) and not of MDPI and/or the editor(s). MDPI and/or the editor(s) disclaim responsibility for any injury to people or property resulting from any ideas, methods, instructions or products referred to in the content. |
© 2023 by the authors. Licensee MDPI, Basel, Switzerland. This article is an open access article distributed under the terms and conditions of the Creative Commons Attribution (CC BY) license (https://creativecommons.org/licenses/by/4.0/).
Share and Cite
Zheng, Y.; Xu, M.; Wang, Z.; Xiao, Y. A Genetic Algorithm for Integrated Scheduling of Container Handing Systems at Container Terminals from a Low-Carbon Operations Perspective. Sustainability 2023, 15, 6035. https://doi.org/10.3390/su15076035
Zheng Y, Xu M, Wang Z, Xiao Y. A Genetic Algorithm for Integrated Scheduling of Container Handing Systems at Container Terminals from a Low-Carbon Operations Perspective. Sustainability. 2023; 15(7):6035. https://doi.org/10.3390/su15076035
Chicago/Turabian StyleZheng, Yan, Meixian Xu, Zhaohu Wang, and Yujie Xiao. 2023. "A Genetic Algorithm for Integrated Scheduling of Container Handing Systems at Container Terminals from a Low-Carbon Operations Perspective" Sustainability 15, no. 7: 6035. https://doi.org/10.3390/su15076035
APA StyleZheng, Y., Xu, M., Wang, Z., & Xiao, Y. (2023). A Genetic Algorithm for Integrated Scheduling of Container Handing Systems at Container Terminals from a Low-Carbon Operations Perspective. Sustainability, 15(7), 6035. https://doi.org/10.3390/su15076035

