Abstract
Permanent joints are commonly used in vehicle construction. The main methods used are gluing, welding and heat sealing. However, other joining methods that utilise plastic deformation of sheet metal are also becoming increasingly common. These methods include the sheet metal clinching joint. This is a joint that allows sheet metal to be joined, often in combination with bonding. Sheet metal of various thicknesses is used in vehicle construction and is subjected to plastic working. The main objective of the work was to assess the influence of plastic working of sheet metal on the strength of clinching joints. An additional objective was to determine the possibility of assessing the degree of aluminum sheet thickness reduction in a non-destructive manner using the ultrasonic (UT) method. The tests carried out showed that as the crumple increases, the strength of the clinched joint is reinforced. For sheet metal joints without crumpling, the strength was 608 N, and for 20% crumpling, the strength increased to 645 N, while for 47% crumpling, the strength increased to 671 N. For the largest crumpling of 60%, the strength was 712 N. In terms of non-destructive assessment of the degree of sheet thickness reduction, it was found that the best measure is the speed of the ultrasonic longitudinal wave. Other measures, such as decibel drops in pulse height for surface and longitudinal waves, show certain trends, but they are not conclusive.
1. Introduction
In the automotive industry, permanent joints of sheet metal components are most commonly produced by welding, resistance welding and various mechanical joining methods, including clinching. These joining technologies must provide sufficient strength, tightness and durability under complex loading conditions, often while being compatible with lightweight materials and high-volume production [1]. In particular, mechanically formed joints that rely on local plastic deformation have gained importance in lightweight body structures and multi-material systems [2,3].
Fusion welding relies on local melting of the base material, usually with the addition of a filler metal, followed by solidification to form a weld bead. Depending on the heat source and shielding method, numerous arc welding variants are used in body-in-white and structural applications. A welded joint consists of three main regions: the base material, the weld metal and the heat-affected zone (HAZ). While the base material does not undergo microstructural changes (for steels typically below about 500 °C), the weld metal is fully remelted and resolidified, and the HAZ experiences a complete thermal cycle without melting. As a consequence, the joint is heterogeneous in terms of microstructure and mechanical properties, which depend on the alloy, filler metal and welding parameters [4].
In alloys without allotropic transformations (e.g., aluminium, copper, austenitic and ferritic stainless steels), the HAZ is mainly characterised by grain growth and possible precipitation phenomena. In austenitic and ferritic steels, sensitisation due to chromium carbide precipitation or formation of intermetallic phases may lead to a loss of corrosion resistance and embrittlement. In plain carbon and low-alloy steels, where phase and allotropic transformations are present, the HAZ can be further subdivided into subzones of distinct microstructures and properties. Single-pass welds typically exhibit a cast, often dendritic microstructure, whereas multi-pass welds undergo self-tempering: previously deposited layers are reheated, resulting in partial normalisation of both the weld metal and HAZ. This can improve impact toughness and ductility compared with single-pass welds, while yield strength remains similar [4].
The main advantages of weld-based joining include relatively easy adjustment of process parameters, high efficiency in mass production, continuous visual control of the arc and weld pool, applicability to a wide range of materials and good suitability for automation and robotisation. However, welding is associated with several disadvantages, including environmental burdens. The process generates fumes and gases (e.g., NOx, CO2, metal oxides and other compounds), consumes significant amounts of energy—often from fossil sources—and produces solid waste such as spatter, electrode remains and flux residues. Improper waste management may lead to soil and water contamination, while noise and UV radiation can adversely affect both workers and nearby environments. Minimising these impacts requires modern process variants (e.g., laser or hybrid welding), adequate extraction and filtration systems, and responsible handling of consumables.
Mechanical resistance welding (e.g., spot or projection welding) is widely used to obtain permanent joints without the need for filler metal. In these processes, the parts are pressed together and locally heated by the passage of electric current, such that the material is brought to a plastic or near-molten state and joined under pressure. Resistance welding is characterised by low heat input, reduced influence of the atmosphere, relatively small changes in the base material microstructure compared with fusion welding, and high suitability for automation [4]. At the same time, it requires specialised equipment with relatively high investment costs, is best suited to certain material combinations (often similar metals), and is susceptible to defects when parameters are not properly controlled.
An alternative group of technologies for thin-sheet joining is the mechanical interlocking methods, among which clinching (stamped or press-fit joints) plays an important role. Clinching enables the joining of two or more sheet layers without additional elements such as rivets or adhesives. The process relies on local plastic deformation of the sheets using a punch and die set. The punch plastically deforms the material into the die cavity, forming a local bulge and undercut that mechanically locks the sheets together [1,2]. Variants of clinched joints include point, linear and combined (multi-point or multi-line) configurations, as well as dieless and roller-based solutions designed to tailor the deformation path [2,5,6,7].
Clinched joints offer several advantages: they do not require consumables, thus reducing material and process costs; they provide a relatively smooth and often visually unobtrusive connection; they minimise interruptions of protective coatings, which is beneficial for corrosion resistance; and they are suitable for high-volume, automated production. Thus, clinching is widely applied in the automotive sector, in the manufacture of white goods, housings and casings, and in various thin-sheet structures [1,2,3]. Recent studies have shown that the final neck thickness, interlock value and failure mode of clinched joints are highly sensitive to the local plastic strain distribution and deformation history of the sheets [3,8,9]. Numerical analyses and finite-element models of clinching confirm that small changes in the material flow path, friction conditions or local strength and ductility can markedly alter the joint geometry and load-bearing capacity [3,5,6].
Limitations include the requirement of relatively thin and ductile sheets (e.g., low-carbon steels and aluminium alloys), lower ultimate load-carrying capacity compared with some welded or riveted joints, and a limited applicability to very thick or very high-strength materials [2,7,8]. In particular, for aluminium alloys, both the intrinsic formability and any prior plastic deformation—resulting, for example, from forming or machining operations—affect the local flow behaviour during clinching and, consequently, the achievable neck thickness and interlock [2,5,10]. This provides the motivation for the present study, which focuses on the influence of plastic machining on the quality of a clinched joint in aluminium, by analysing how a controlled pre-deformation of the sheet modifies the local material state and, in turn, the geometry and mechanical performance of the joint.
One of the problems that has been decided to solve is how to assess whether the aluminum sheet used for clinching has been rolled. This is particularly important because rolling aluminum sheets significantly affects their mechanical properties [11,12]. It is not always possible in production conditions to perform metallographic tests or hardness measurements that would allow for an unambiguous determination of whether the sheet has been rolled [13].
Literature reports have shown that it is possible to assess the properties of sheet metal based on signals obtained during ultrasonic testing. Work has been carried out on the use of non-linear ultrasonic waves for non-destructive testing, including the use of surface waves. The authors [14] did not limit themselves to detecting discontinuities, but also assessed thermal stresses. The use of ultrasonic waves also includes the assessment of residual stress distribution in friction welding with mixing of aluminum plates [15]. In these studies, different ultrasonic wave frequencies (1, 2.5 and 5 MHz) were used. The work showed that it is possible to measure stresses, and importantly, that this can be performed using different frequencies. The authors [16] conducted a comprehensive analysis of the possibilities of testing partial stresses in materials. They introduced their own classification of methods. However, not all of the methods presented are suitable for use in testing aluminum sheets. For example, the method presented, which utilises the Barkhausen noise phenomenon, can only be used for ferromagnetic materials [17]. The work [18] not only confirmed the increase in the use of aluminum in modern industry, but also the possibility and need for ultrasonic testing. Research into changes in functional properties covers many different areas, from those related to health [19] to those related to agriculture [20], for strictly industrial applications [21,22].
The main objective of the work was to assess the impact of sheet metal forming on the strength of clinch joints. An additional objective was to determine the possibility of assessing the degree of aluminum sheet thickness reduction in a non-destructive manner.
2. Research
2.1. Research Procedure
In order to achieve the set goal, research was planned and conducted. All work was carried out in accordance with the plan presented in Figure 1. First, the material for testing was selected, and samples were prepared. Next, their roughness and acoustic properties were tested using an ultrasonic method. In the next stage, the strength of the joints was prepared and then evaluated. This allowed conclusions to be drawn.
Figure 1.
Research plan.
2.2. Materials and Methods
Aluminum strips were used in the tests. The sample dimensions were 120 mm × 20 mm. One crimped joint was assumed on each sample. Sheets with different crimping were used to make the samples. Four test series were planned with denting in the range of 0, 20, 47 and 60%. The test series designations, the initial sheet thickness before rolling and the thickness after rolling are presented in Table 1. Both sheets to be joined were of the same thickness.
Table 1.
Designation of test series.
The samples were joined using cold pressing with a round punch and a suitably shaped die, resulting in a spot connection that requires no further processing and is free of burrs and sharp edges. The process is based on local plastic deformation of the material in the overlap area, without introducing thermal loads. The resulting joint does not cause degradation of the surfaces of the joined elements. The shaped joint is shown in Figure 2.
Figure 2.
Example connection made for research purposes.
An aluminum sheet made of 6060 aluminium alloy was used in the preparation of samples. The chemical composition of the sheet is presented in Table 2. The tensile strength of 6060 sheet is above 130 MPa.
Table 2.
Chemical composition of metal sheet (%).
The metal strips were rolled and then cut to dimensions of 120 mm × 20 mm. After cutting, the metal strips were joined using a press-fit connection. A view of the finished sample is shown in Figure 3, and a view of the metal strip during rolling is shown in Figure 4.
Figure 3.
Samples used in the study: (a) sample model; (b) sample view.
Figure 4.
Rolling mill for rolling sheet metal 6060; (a) model; (b) view.
Surface roughness measurements were performed to assess their impact on ultrasonic wave parameters. The average Ra roughness parameter of the sheet metal surface before crumpling was 0.17 µm, for 20% crumpling it increased to 0.19 µm and for 47% and 60% crumpling it was 0.23 µm and 0.46 µm, respectively.
The final thickness of all sheet metal strips was 0.8 mm. Four initial thicknesses of aluminium alloy sheet metal were used in the work, as follows: 0.8 mm for the first series (0% crumple), 1 mm for the second series (20% crumple), 1.5 mm for the third series (47% crumple) and 2 mm for the fourth series (60% crumple). Ten joints were made in each of the test series.
2.3. Ultrasound Examinations
After preparing the samples, the first step was to verify the possibility of testing the degree of aluminium sheet rolling in a non-destructive manner. Literature reports confirmed that it is possible to assess the condition of the material using the ultrasonic method. This method has been effectively used to measure both hardness and stress in materials [23,24]. Ultrasonic testing was also used to examine welded joints [25,26], which, like press-fit joints, generate concentrated stresses, and to examine coatings in car bodies [k20]. For the purposes of this study, it was decided that two ultrasonic techniques would be used. First, tests using ultrasonic surface waves were performed. The tests were carried out using digital flaw detectors—CUD (ZBM ULTRA sp. z o.o., Nadolice Małe, Poland) and USM35 (General Electric Company, Boston, MA, USA) and surface wave transducers with different frequencies (3.75 MHz pointed transducer and classic transducers: 4.22 and 8.02 MHz).
The work carried out using classic surface wave transducers confirmed that the ultrasonic wave transmitted from the transmitting transducer reaches the receiving transducer (Figure 5).
Figure 5.
Test using classic surface wave transducers; (a) view of the test station 1—ultrasonic flaw detector, 2—load, 3—test sample, 4—transmitter head, 5—receiver head; (b) view of the screen with the obtained signal.
However, a significant error in measurements was observed, resulting from the slight deformation of the sheet metal (Figure 6). The lack of full contact and pressure across the entire surface of the probe means that the results obtained cannot be used in further work. Therefore, ultrasonic blade probes were used, which introduce the surface wave linearly.
Figure 6.
Location of the surface wave transducer; (a)—model; (b)—view 1—ultrasonic transducer, 2—aluminium sheet under test, 3—location where the transducer surface does not fully contact the surface of the sheet under test.
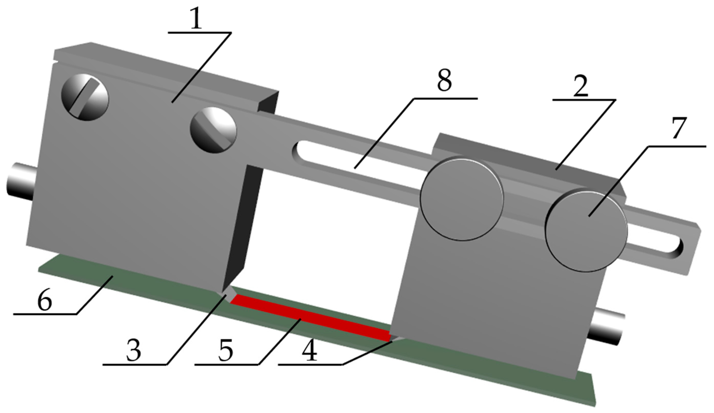
Each time, a fresh coupling medium was applied to the edge of the probe blade after cleaning it. The probes were pressed with a constant force in all samples using a steel weight (weighing 500 g). The model of the measuring system is shown in Figure 7.
Figure 7.
Measurement system model for a pointed probe: 1—transmitting probe, 2—receiving probe, 3—transmitter probe blade, 4—receiving probe blade, 5—Rayleigh wave, 6—test sample, 7—screws adjusting the distance between the probes, 8—guide.
In addition, ultrasonic echo technology was also used. Due to the small thickness of the samples tested, a high-frequency ultrasonic transducer with a water delay line was used. The flexible membrane on the transducer made it possible to obtain results regardless of the surface condition of the sample (Figure 8).
Figure 8.
Measuring system: (a) view of the test station during testing, 1—ultrasonic flaw detector, 2—test sample, 3—ultrasonic probe; (b) ultrasonic transducer with water delay line.
3. Results
3.1. Ultrasound Examinations
In the field of ultrasonic testing, it has been found that both the velocity of longitudinal ultrasonic waves and surface ultrasonic waves depend on the degree of rolling of the sheet metal. Increasing the degree of sheet rolling causes a significant decrease in the speed of the ultrasonic wave. A summary of these results is shown in Table 3, while the aggregate results are presented in Appendix A—Table A1.
Table 3.
Results of longitudinal ultrasonic wave velocity measurements in the tested samples (the complete set of results is available in Appendix A, Table A1).
At the same time, it was found that a similar downward trend in this velocity was observed for the surface wave. However, taking into account measurement errors, these changes are not as pronounced as for the longitudinal wave. The results for the surface wave are presented in Table 4.
Table 4.
Results of surface velocity measurements of ultrasonic waves in the tested samples (the complete set of results is available in Appendix A, Table A2).
Both trends can be clearly observed in the graphs shown in Figure 9.
Figure 9.
Comparison of the speeds of (a) longitudinal waves; (b) surface waves (visible confidence intervals).
In the area of longitudinal ultrasonic wave research, measurements of the height of the first four pulses on the ultrasonic flaw detector screen were also taken. These pulses were chosen because they are subject to a relatively small error. The decibel drop in height between successive pulses was taken as a measure, and the summary results are presented in Table 5.
Table 5.
Ultrasonic measurements for the tested series (the complete set of results is available in Appendix A, Table A3).
When analysing the results presented in Table 5, it can be seen that the smallest error was obtained for the decibel drop between the first and second pulses on the flaw detector screen (Figure 10).
Figure 10.
Change in decibel drop between the first two pulses on the flaw detector screen depending on the thickness of the sheet metal before rolling.
The graph shown in Figure 11 confirms that there is an upward trend in attenuation with increasing sheet rolling. The results obtained are subject to considerable error. Definitely, the speed of the ultrasonic longitudinal wave is a better measure of sheet rolling than other measures.
Figure 11.
Change in pulse height on the flaw detector screen for a pointed probe depending on the thickness of the sheet metal before rolling.
3.2. Strength Testing
The strength tests were carried out using a Cometech B1/E testing machine (Cometech Testing Machines Co., Taichung, Taiwan)—Figure 12. During the work, the breaking load of the tested joints was recorded. A total of 40 joints were tested, 10 joints from each group. For all tested joints, a similar relationship between force and displacement was obtained. The force was recorded after exceeding 50 N, which allowed for limiting the slack in the measuring system.
Figure 12.
View of the testing machine during testing: 1—strength testing machine, 2—upper movable jaws, 3—lower fixed jaws, 4—sample, 5—connection view, 6—strength testing machine monitor.
An example graph of the breaking force as a function of displacement is shown in Figure 13.
Figure 13.
Example graph of force in the jaw displacement function of a testing machine.
The view of the connection after breaking is shown in Figure 14.
Figure 14.
View of the joint after breaking: (a) first sheet, (b) second sheet.
The results of the strength tests are presented in Table 6.
Table 6.
Results of strength tests for all test series.
The average results of the strength tests are shown in Figure 15.
Figure 15.
The average results of the strength tests.
Figure 13 shows that as the aluminum sheet is crumpled, the strength of the joint increases.
4. Analysis and Discussion of Results
The research covered two aspects. The first aspect involved examining the possibility of assessing aluminum sheet deformation using a non-destructive ultrasonic method. The work carried out showed that the denting of aluminum sheet metal causes a decrease in the speed of the ultrasonic wave, both for longitudinal and surface waves. It is worth noting that these changes are more significant for longitudinal waves. Research using surface waves has shown that the use of standard ultrasonic transducers is difficult due to the limited adhesion of the large surface of the transducer to the tested sheet metal.
An increase in roughness was observed, which is consistent with the literature [27,28,29]. Although a change in the Ra roughness parameter was observed in the range (0.17 to 0.46 µm), it does not affect the parameters of the signals obtained during ultrasonic testing [24].
The second aspect involved studying the effect of aluminum sheet crumpling on the mechanical strength of the joint. According to literature reports, it was noted that as the crumpling increases, the strength of the sheet increases. In [30], it was noted that after cold rolling, the grains of the AA 5052 alloy are elongated along the rolling direction. In addition, the authors showed that the tensile strength increases significantly and the elongation decreases markedly due to hardening during the cold rolling process. Similarly, in [31], it was noted that cold rolling increases the work hardening ratio and improves the mechanical strength and plasticity of the material. Also, in [32], it was noted that AA1050, which was heavily deformed by cold rolling at 50% and 66%, as well as under various metallurgical conditions, has significantly altered properties (including mechanical strength).
The increase in Ra roughness with increasing degree of crushing results from the intensification of plastic deformation of the sheet surface, leading to the development of irregularities associated with grain slippage and local material flow. With high crumpling, micro-irregularities and traces of contact with the rollers are additionally revealed and reinforced, resulting in a significant increase in the Ra parameter value.
At a displacement of 0.2 mm in each of the tested samples, a slight decrease in force of approximately 10 N was observed. This phenomenon is related to the mutual arrangement of the sheets in the connection area, which causes a temporary redistribution of stresses and a short-term reduction in the recorded force.
5. Conclusions
The paper presents the issue of plastic working of aluminum sheet metal (rolling) and its impact on the mechanical strength of crimped joints. The literature review and research conducted showed that:
As the crimp increases (in the range from 20 to 60 percent), the strength of the crimped joint increases. An increase in the force destroying the joint from 607 N to 712 N was observed.
The crumpling of aluminum sheet metal affects the change in surface roughness, but this change is minor and does not affect the functional properties of rolled sheet metal.
It was found that it is possible to assess the crumpling of aluminum sheet using a non-destructive ultrasonic method. Various ultrasonic measures of crumpling assessment were used in the ultrasonic tests. The high-frequency longitudinal wave velocity is the best way to assess the crumpling of aluminum sheet.
Author Contributions
Conceptualization, W.M. and J.K.; methodology, J.K. and W.M.; validation, W.M.; resources, J.K. and W.M.; data curation, W.M.; writing—original draft preparation, W.M. and J.K.; writing—review and editing, W.M.; visualization, J.K. All authors have read and agreed to the published version of the manuscript.
Funding
The presented research results were funded by grants for education allocated by the Ministry of Higher Education in Poland.
Institutional Review Board Statement
Not applicable.
Informed Consent Statement
Not applicable.
Data Availability Statement
The original contributions presented in this study are included in the article. Further inquiries can be directed to the corresponding author.
Conflicts of Interest
The authors declare no conflicts of interest.
Appendix A
Table A1.
Summary of longitudinal ultrasonic wave velocity measurements in the tested samples for all test series.
Table A1.
Summary of longitudinal ultrasonic wave velocity measurements in the tested samples for all test series.
| Longitudinal Wave Velocity m/s | |||
|---|---|---|---|
| Serious 1 | Serious 2 | Serious 3 | Serious 4 |
| 6530 | 6276 | 6041 | 5893 |
| 6620 | 6276 | 6041 | 5893 |
| 6620 | 6358 | 6117 | 5893 |
| 6620 | 6276 | 6041 | 5822 |
| 6620 | 6276 | 6041 | 5893 |
| 6443 | 6195 | 6117 | 5966 |
| 6443 | 6276 | 6041 | 5893 |
| 6620 | 6276 | 6117 | 5893 |
| 6530 | 6358 | 6041 | 5893 |
| 6443 | 6195 | 6041 | 5822 |
| 6443 | 6195 | 6117 | 5966 |
| 6620 | 6195 | 6117 | 5822 |
| 6620 | 6276 | 6117 | 5822 |
| 6443 | 6358 | 6117 | 5893 |
| 6712 | 6276 | 6041 | 5822 |
| 6458 | 6195 | 6117 | 5893 |
| 6620 | 6276 | 6041 | 5966 |
| 6620 | 6358 | 6041 | 5966 |
| 6652 | 6276 | 6117 | 5966 |
| 6530 | 6276 | 6041 | 5822 |
| 6530 | 6276 | 6041 | 5822 |
| 6530 | 6276 | 6041 | 5966 |
| 6758 | 6276 | 6041 | 5966 |
| 6492 | 6195 | 6041 | 5893 |
| 6548 | 6276 | 6041 | 5893 |
| 6530 | 6195 | 6117 | 5893 |
| 6620 | 6276 | 6117 | 5893 |
| 6530 | 6195 | 6041 | 5893 |
| 6620 | 6276 | 6117 | 5893 |
| 6530 | 6358 | 6117 | 5966 |
| 6712 | 6276 | 6117 | 5822 |
| 6443 | 6195 | 6117 | 5893 |
| 6443 | 6276 | 6117 | 5822 |
| 6443 | 6276 | 6117 | 5966 |
| 6530 | 6358 | 6117 | 5822 |
| 6712 | 6276 | 6041 | 5966 |
| 6620 | 6358 | 6117 | 5893 |
| 6620 | 6358 | 6041 | 5893 |
| 6530 | 6195 | 6117 | 5893 |
| 6581 | 6358 | 6117 | 5893 |
| 6443 | 6358 | 6117 | 5822 |
| 6685 | 6276 | 6117 | 5966 |
| 6620 | 6276 | 6117 | 5893 |
| 6530 | 6276 | 6117 | 5893 |
| 6530 | 6195 | 6041 | 5822 |
| 6530 | 6276 | 6041 | 5966 |
| 6712 | 6276 | 6041 | 5822 |
| 6620 | 6195 | 6041 | 5966 |
| 6530 | 6276 | 6117 | 5822 |
| 6620 | 6195 | 6041 | 5893 |
Table A2.
Summary of surface velocity measurements of ultrasonic waves in the tested samples for all test series.
Table A2.
Summary of surface velocity measurements of ultrasonic waves in the tested samples for all test series.
| Longitudinal Wave Velocity m/s | |||
|---|---|---|---|
| Serious 1 | Serious 2 | Serious 3 | Serious 4 |
| 3294 | 3136 | 3053 | 2738 |
| 3246 | 2928 | 2984 | 2977 |
| 3358 | 3020 | 3011 | 2799 |
| 3301 | 3066 | 2921 | 2822 |
| 3068 | 3081 | 2919 | 2764 |
| 3315 | 3037 | 3092 | 2775 |
| 3147 | 3035 | 2956 | 2707 |
| 3143 | 3154 | 3123 | 2763 |
| 3067 | 3085 | 3127 | 2730 |
| 3275 | 2987 | 2940 | 2922 |
| 3286 | 3155 | 2885 | 2825 |
| 3174 | 2949 | 3001 | 2893 |
| 3228 | 3147 | 3018 | 2889 |
| 3057 | 3068 | 3045 | 2761 |
| 3208 | 2974 | 3167 | 2707 |
| 3233 | 3046 | 3057 | 2861 |
| 3348 | 2999 | 3071 | 2892 |
| 3185 | 2882 | 2932 | 2928 |
| 3314 | 3032 | 3056 | 2732 |
| 3192 | 3146 | 3001 | 2789 |
| 3230 | 3018 | 3064 | 2931 |
| 3125 | 2979 | 3032 | 2904 |
| 3041 | 2945 | 2923 | 2933 |
| 3147 | 3089 | 2939 | 2950 |
| 3240 | 2989 | 3163 | 2898 |
| 3301 | 2864 | 2883 | 2710 |
| 3138 | 3035 | 3137 | 2948 |
| 3170 | 3092 | 2910 | 2905 |
| 3205 | 2977 | 3086 | 2955 |
| 3331 | 3142 | 3140 | 2989 |
| 3328 | 3081 | 3153 | 2909 |
| 3151 | 3041 | 3124 | 2819 |
| 3098 | 3095 | 2958 | 2728 |
| 3250 | 2933 | 2952 | 2908 |
| 3043 | 2927 | 3095 | 2888 |
| 3205 | 3087 | 2955 | 2832 |
| 3268 | 2924 | 3052 | 2843 |
| 3154 | 2931 | 3161 | 2828 |
| 3233 | 3120 | 3035 | 2914 |
| 3086 | 3112 | 3116 | 2906 |
| 3069 | 2995 | 2971 | 2817 |
| 3173 | 3126 | 3017 | 2803 |
| 3260 | 2957 | 2993 | 2876 |
| 3140 | 3105 | 3003 | 2951 |
| 3051 | 3027 | 2906 | 2989 |
| 3154 | 3133 | 3015 | 2763 |
| 3136 | 3022 | 2924 | 2889 |
| 3158 | 3009 | 2899 | 2944 |
| 3106 | 2941 | 2930 | 2769 |
| 3351 | 2960 | 2912 | 2721 |
Table A3.
Summary of ultrasonic measurement results for the tested samples of all test series.
Table A3.
Summary of ultrasonic measurement results for the tested samples of all test series.
| Serious 1 | Serious 2 | Serious 3 | Serious 4 | ||||||||
|---|---|---|---|---|---|---|---|---|---|---|---|
| AI | AII | AIII | AI | AII | AIII | AI | AII | AIII | AI | AII | AIII |
| 1.1 | 3.3 | 3.6 | 1.5 | 1.6 | 1.1 | 1.8 | 2.1 | 2.8 | 2.0 | 4.6 | 2.6 |
| 1.1 | 2.8 | 3.1 | 1.4 | 1.9 | 1.2 | 2.1 | 1.9 | 2.1 | 1.9 | 4.2 | 3.4 |
| 1.1 | 2.7 | 3.9 | 1.5 | 1.3 | 1.7 | 1.9 | 2.0 | 2.2 | 1.9 | 4.6 | 3.2 |
| 1.3 | 2.6 | 3.3 | 1.5 | 1.4 | 1.6 | 2.2 | 1.5 | 3.1 | 1.9 | 4.5 | 2.2 |
| 1.4 | 2.9 | 2.6 | 1.3 | 1.8 | 1.3 | 1.6 | 2.2 | 2.1 | 2.4 | 3.9 | 2.3 |
| 1.4 | 2.8 | 3.1 | 1.4 | 1.6 | 1.9 | 1.7 | 2.2 | 2.1 | 2.1 | 3.8 | 3.0 |
| 1.4 | 3.0 | 3.3 | 1.3 | 1.5 | 2.2 | 1.8 | 1.9 | 2.1 | 2.3 | 4.2 | 2.0 |
| 1.4 | 3.0 | 2.7 | 1.5 | 1.3 | 2.0 | 1.9 | 2.2 | 2.3 | 2.0 | 4.0 | 2.8 |
| 1.4 | 3.0 | 3.3 | 1.6 | 1.5 | 1.7 | 1.7 | 2.4 | 2.4 | 2.1 | 3.9 | 2.8 |
| 1.3 | 2.5 | 3.9 | 1.6 | 1.1 | 1.4 | 1.8 | 1.9 | 2.6 | 2.1 | 3.7 | 4.0 |
| 1.4 | 2.5 | 3.7 | 1.7 | 1.5 | 1.6 | 1.6 | 2.5 | 2.0 | 2.1 | 4.2 | 2.4 |
| 1.2 | 3.1 | 2.7 | 1.7 | 1.3 | 2.0 | 1.7 | 2.4 | 2.4 | 1.9 | 4.2 | 2.8 |
| 1.1 | 3.0 | 3.2 | 1.3 | 1.8 | 1.1 | 1.8 | 1.9 | 2.5 | 2.1 | 4.2 | 2.9 |
| 1.1 | 2.9 | 3.4 | 1.6 | 1.7 | 1.6 | 2.1 | 2.0 | 2.6 | 2.0 | 3.8 | 3.8 |
| 1.0 | 3.0 | 2.8 | 1.4 | 1.9 | 1.5 | 2.1 | 1.6 | 2.6 | 2.2 | 4.0 | 2.6 |
| 1.2 | 2.6 | 3.3 | 1.6 | 1.3 | 1.5 | 1.9 | 1.8 | 2.6 | 2.1 | 4.4 | 2.1 |
| 1.3 | 2.6 | 3.2 | 1.5 | 1.4 | 1.7 | 1.9 | 2.1 | 1.9 | 2.2 | 3.7 | 3.1 |
| 1.5 | 2.8 | 3.2 | 1.7 | 1.2 | 1.9 | 2.0 | 1.6 | 2.4 | 2.3 | 3.9 | 3.0 |
| 1.1 | 3.0 | 3.9 | 1.7 | 1.1 | 2.4 | 2.0 | 1.7 | 2.9 | 2.2 | 3.7 | 2.6 |
| 1.1 | 3.0 | 3.5 | 1.6 | 1.5 | 1.6 | 2.0 | 2.0 | 2.4 | 1.9 | 4.6 | 2.3 |
| 1.4 | 2.4 | 3.6 | 1.6 | 1.3 | 1.6 | 1.8 | 1.9 | 3.0 | 1.9 | 4.3 | 2.6 |
| 1.3 | 2.7 | 3.6 | 1.4 | 1.7 | 1.5 | 1.9 | 1.9 | 2.4 | 2.0 | 3.7 | 3.5 |
| 1.1 | 2.9 | 3.0 | 1.6 | 1.5 | 1.3 | 1.8 | 2.4 | 2.4 | 2.1 | 3.9 | 3.5 |
| 1.4 | 2.6 | 2.8 | 1.7 | 1.3 | 1.8 | 1.6 | 2.3 | 2.3 | 1.8 | 4.2 | 2.9 |
| 1.4 | 2.5 | 3.8 | 1.5 | 1.5 | 1.4 | 1.8 | 1.9 | 3.1 | 2.2 | 3.8 | 3.3 |
| 1.2 | 2.9 | 2.7 | 1.3 | 2.0 | 1.7 | 2.0 | 1.7 | 3.0 | 1.9 | 4.5 | 2.7 |
| 1.2 | 3.2 | 3.0 | 1.2 | 2.0 | 1.3 | 1.9 | 2.0 | 2.3 | 2.2 | 4.1 | 2.7 |
| 1.2 | 3.0 | 3.0 | 1.2 | 1.9 | 1.8 | 1.7 | 2.1 | 2.5 | 2.1 | 3.8 | 3.2 |
| 1.0 | 2.7 | 3.3 | 1.4 | 1.7 | 1.8 | 1.9 | 2.0 | 2.0 | 1.9 | 3.8 | 3.9 |
| 1.0 | 3.0 | 2.9 | 1.6 | 1.7 | 1.2 | 1.7 | 2.2 | 2.7 | 2.0 | 4.2 | 2.8 |
| 1.0 | 2.9 | 4.0 | 1.5 | 1.4 | 1.6 | 1.9 | 2.0 | 1.8 | 2.1 | 4.2 | 2.3 |
| 1.3 | 2.8 | 2.7 | 1.7 | 1.4 | 1.9 | 1.9 | 2.2 | 2.1 | 1.9 | 4.3 | 3.2 |
| 1.4 | 2.3 | 3.2 | 1.4 | 1.5 | 1.5 | 1.8 | 2.1 | 2.3 | 2.0 | 4.6 | 2.4 |
| 1.1 | 3.1 | 3.4 | 1.6 | 1.6 | 1.6 | 1.9 | 1.6 | 3.4 | 2.1 | 4.0 | 2.2 |
| 1.0 | 3.2 | 3.5 | 1.4 | 1.8 | 1.2 | 1.9 | 2.0 | 2.2 | 2.0 | 4.2 | 2.9 |
| 1.4 | 2.9 | 3.4 | 1.4 | 1.5 | 1.8 | 1.9 | 2.0 | 2.6 | 2.1 | 4.0 | 2.4 |
| 1.4 | 2.8 | 3.4 | 1.3 | 1.5 | 2.0 | 2.1 | 1.5 | 2.1 | 2.1 | 4.3 | 3.5 |
| 1.2 | 3.2 | 2.7 | 1.4 | 1.8 | 1.6 | 1.8 | 2.2 | 2.3 | 1.9 | 4.3 | 2.3 |
| 1.4 | 2.9 | 3.1 | 1.6 | 1.3 | 1.8 | 1.8 | 1.8 | 2.6 | 2.1 | 4.4 | 2.9 |
| 1.0 | 2.9 | 3.5 | 1.7 | 1.3 | 2.2 | 1.9 | 1.8 | 2.7 | 2.3 | 3.8 | 2.8 |
| 1.3 | 2.9 | 3.1 | 1.4 | 1.6 | 1.5 | 1.9 | 1.9 | 2.4 | 1.8 | 4.1 | 3.1 |
| 1.4 | 2.5 | 3.0 | 1.6 | 1.4 | 1.4 | 1.8 | 2.3 | 2.2 | 2.1 | 3.7 | 3.6 |
| 1.0 | 3.1 | 3.5 | 1.5 | 1.3 | 2.1 | 1.8 | 2.4 | 2.2 | 2.1 | 4.4 | 2.4 |
| 1.2 | 3.2 | 2.8 | 1.5 | 1.3 | 1.6 | 1.9 | 2.1 | 2.2 | 2.0 | 3.9 | 2.6 |
| 1.2 | 2.6 | 3.8 | 1.7 | 1.2 | 1.6 | 1.8 | 2.4 | 2.6 | 2.0 | 3.8 | 3.3 |
| 1.2 | 3.2 | 2.9 | 1.6 | 1.4 | 1.8 | 1.7 | 2.3 | 2.5 | 1.9 | 3.9 | 3.8 |
| 1.2 | 2.9 | 3.2 | 1.3 | 1.6 | 1.4 | 2.1 | 1.8 | 2.8 | 2.0 | 4.4 | 2.6 |
| 1.3 | 3.2 | 2.9 | 1.4 | 1.7 | 1.3 | 1.7 | 2.1 | 2.2 | 2.0 | 4.1 | 3.3 |
| 1.1 | 2.7 | 3.0 | 1.4 | 1.5 | 1.7 | 2.0 | 1.8 | 2.7 | 2.1 | 4.1 | 2.9 |
| 1.4 | 3.0 | 3.3 | 1.7 | 1.3 | 1.9 | 2.0 | 1.7 | 2.4 | 2.0 | 3.9 | 2.8 |
AI—decibel decrease in the height of the second pulse relative to the first, AII—decibel decrease in the height of the third pulse relative to the second, AIII—decibel decrease in the height of the fourth pulse relative to the third.
References
- Mori, K.; Bay, N.; Fratini, L.; Micari, F.; Tekkaya, A.E. Joining by plastic deformation. CIRP Ann. 2013, 62, 673–694. [Google Scholar] [CrossRef]
- Qin, D.; Chen, C. Research on the joining of dissimilar aluminum alloys by a dieless clinching process. Int. J. Adv. Manuf. Technol. 2022, 122, 2529–2542. [Google Scholar] [CrossRef]
- Zhang, Y.; Xu, H.; Peng, R.; Lu, Y.; Zhu, L. The state of the art of finite element analysis in mechanical clinching. Int. J. Precis. Eng. Manuf.-Green Technol. 2021, 9, 1191–1214. [Google Scholar] [CrossRef]
- Mori, K.; Abe, Y.; Suzui, Y. Joining of high strength steel and aluminium alloy sheets by mechanical clinching with dies for control of metal flow. J. Mater. Process. Technol. 2012, 212, 884–889. [Google Scholar]
- Lambiase, F. Influence of process parameters in mechanical clinching with extensible dies. J. Mater. Process. Technol. 2013, 213, 1433–1442. [Google Scholar] [CrossRef]
- Pan, Y.; Wen, T.; Zhou, Y.; You, J.; Tang, H.; Chen, X. Deformation analysis and processing parameter optimization of roller clinching. Int. J. Adv. Manuf. Technol. 2021, 116, 1621–1631. [Google Scholar] [CrossRef]
- Chu, M.M.; He, X.C.; Zhang, J.; Lei, L. Clinching of similar and dissimilar sheet materials of galvanized steel, aluminium alloy and titanium alloy. Mater. Trans. 2018, 59, 694–697. [Google Scholar] [CrossRef]
- Varis, J. Ensuring the integrity in clinching process. J. Mater. Process. Technol. 2006, 174, 277–285. [Google Scholar] [CrossRef]
- Gao, X.; Chen, C.; Ren, X.; Li, Y. Investigation on failure mechanism of the square clinched joints with different sheet thicknesses. Eng. Fail. Anal. 2022, 134, 106013. [Google Scholar] [CrossRef]
- Qin, D.; Chen, C.; Zhang, H.; Ren, X.; Wu, J. Experimental investigation of the novel dieless clinching process free of blank holder. Arch. Civ. Mech. Eng. 2021, 21, 153. [Google Scholar] [CrossRef]
- Skalli, A.; Fortunier, R.; Fillit, R.; Driver, J.H. Crystal Rotations during the Rolling of Large-Grained Aluminium Sheet. Acta Metall. 1985, 33, 997–1007. [Google Scholar] [CrossRef]
- Nakamachi, E.; Hiraiwa, K.; Morimoto, H.; Harimoto, M. Elastic/Crystalline Viscoplastic Finite Element Analyses of Single- and Poly-Crystal Sheet Deformations and Their Experimental Verification. Int. J. Plast. 2000, 16, 1419–1441. [Google Scholar] [CrossRef]
- Buchner, M.; Buchner, B.; Buchmayr, B.; Kilian, H.; Riemelmoser, F. Investigation of Different Parameters on Roll Bonding Quality of Aluminium and Steel Sheets. Int. J. Mater. Form. 2008, 1, 1279–1282. [Google Scholar] [CrossRef]
- Lissenden, C.J. Nonlinear Ultrasonic Guided Waves—Principles for Nondestructive Evaluation. J. Appl. Phys. 2021, 129, 021101. [Google Scholar] [CrossRef]
- Sadeghi, S.; Najafabadi, M.A.; Javadi, Y.; Mohammadisefat, M. Using Ultrasonic Waves and Finite Element Method to Evaluate Through-Thickness Residual Stresses Distribution in the Friction Stir Welding of Aluminum Plates. Mater. Des. 2013, 52, 870–880. [Google Scholar] [CrossRef]
- Rossini, N.S.; Dassisti, M.; Benyounis, K.Y.; Olabi, A.G. Methods of Measuring Residual Stresses in Components. Mater. Des. 2012, 35, 572–588. [Google Scholar] [CrossRef]
- Garstka, T.; Szota, P.; Mróz, S.; Stradomski, G.; Gróbarczyk, J.; Gryczkowski, R. Calibration Method of Measuring Heads for Testing Residual Stresses in Sheet Metal Using the Barkhausen Method. Materials 2024, 17, 4584. [Google Scholar] [CrossRef]
- Pitoňák, M.; Mičietová, A.; Moravec, J.; Čapek, J.; Neslušan, M.; Ganev, N. Influence of Strain Rate on Barkhausen Noise in Trip Steel. Materials 2024, 17, 5330. [Google Scholar] [CrossRef]
- Domagała, I.; Gil, L.; Firlej, M.; Pieniak, D.; Selech, J.; Romek, D.; Biedziak, B. Statistical Comparison of the Hardness and Scratch-Resistance of the PMMA Polymers Used in Orthodontic Appliances. Adv. Sci. Technol.-Res. J. 2020, 14, 250–261. [Google Scholar] [CrossRef]
- Paczkowska, M.; Selech, J.; Piasecki, A. Effect of Surface Treatment on Abrasive Wear Resistance of Seeder Coulter Flap. Surf. Rev. Lett. 2016, 23, 1650007. [Google Scholar] [CrossRef]
- Trembach, B.; Trembach, I.; Grin, A.; Makarenko, N.; Babych, O.; Knyazev, S.; Musairova, Y.; Krbata, M.; Balenko, O.; Vorobiov, O.; et al. Study of the Effects of Hardfacing Modes Carried out by FCAW-S with Exothermic Addition of MnO2-Al on Non-Metallic Inclusions, Grain Size, Microstructure and Mechanical Properties. Eng 2025, 6, 125. [Google Scholar] [CrossRef]
- Trembach, B.; Dmitriiev, O.; Kulahin, K.; Balenko, O.; Maliuha, V.; Neduzha, L. Hybrid Optimization of Hardfacing Conditions and the Content of Exothermic Additions in the Core Filler During the Flux-Cored Arc Welding Process. Eng 2026, 7, 23. [Google Scholar] [CrossRef]
- Hsia, S.Y.; Chou, Y.T. Assessing the Hardness of Quenched Medium Steel Using and Ultrasonic Nondestructive Method. Adv. Mater. Sci. Eng. 2015, 2015, 684836. [Google Scholar] [CrossRef]
- Kowalczyk, J.; Jósko, M.; Wieczorek, D.; Sędłak, K.; Nowak, M. The Influence of the Hardness of the Tested Material and the Surface Preparation Method on the Results of Ultrasonic Testing. Appl. Sci. 2023, 13, 9904. [Google Scholar] [CrossRef]
- Ulbrich, D.; Psuj, G.; Wypych, A.; Bartkowski, D.; Bartkowska, A.; Stachowiak, A.; Kowalczyk, J. Inspection of Spot Welded Joints with the Use of the Ultrasonic Surface Wave. Materials 2023, 16, 7029. [Google Scholar] [CrossRef]
- Ulbrich, D.; Kańczurzewska, M. Correlation Tests of Ultrasonic Wave and Mechanical Parameters of Spot-Welded Joints. Materials 2022, 15, 1701. [Google Scholar] [CrossRef]
- Monteiro, P.L., Jr.; Costa, H.L. A Holistic Review of Surface Texturing in Sheet Metal Forming: From Sheet Rolling to Final Forming. Lubricants 2025, 13, 253. [Google Scholar] [CrossRef]
- Xu, D.; Yang, Q.; Wang, X.; He, H.; Sun, Y.; Li, W. An Experimental Investigation of Steel Surface Topography Transfer by Cold Rolling. Micromachines 2020, 11, 916. [Google Scholar] [CrossRef]
- Wu, C.; Zhang, L.C.; Qu, P. A Simple Approach for Analysing the Surface Texture Transfer in Cold Rolling of Metal Strips. Int. J. Adv. Manuf. Technol. 2018, 95, 7–14. [Google Scholar] [CrossRef]
- Wang, B.; Chen, X.-H.; Pan, F.-S.; Mao, J.; Fang, Y. Effects of Cold Rolling and Heat Treatment on Microstructure and Mechanical Properties of AA 5052 Aluminum Alloy. Trans. Nonferr. Met. Soc. China 2015, 25, 2481–2489. [Google Scholar] [CrossRef]
- Gaonnwe, T.; Mashinini, P.M.; Pita, M. The Effect of Cold Rolling on Mechanical Properties and Microstructure of Aluminium 6082-T6 Joint by Friction Stir Welding Process. MATEC Web Conf. 2022, 370, 03015. [Google Scholar] [CrossRef]
- Mhedhbi, M.; Khlif, M.; Bradai, C. Investigations of Microstructural and Mechanical Properties Evolution of AA1050 Alloy Sheets Deformed by Cold-Rolling Process and Heat Treatment Annealing. J. Mater. Environ. Sci. 2017, 8, 2967–2974. [Google Scholar]
Disclaimer/Publisher’s Note: The statements, opinions and data contained in all publications are solely those of the individual author(s) and contributor(s) and not of MDPI and/or the editor(s). MDPI and/or the editor(s) disclaim responsibility for any injury to people or property resulting from any ideas, methods, instructions or products referred to in the content. |
© 2026 by the authors. Licensee MDPI, Basel, Switzerland. This article is an open access article distributed under the terms and conditions of the Creative Commons Attribution (CC BY) license.














