Low-Velocity Impact Analysis in Composite Plates Incorporating Experimental Interlaminar Fracture Toughness
Abstract
1. Introduction
2. Experiments for Interlaminar Fracture Toughness
2.1. Taguchi Design of Experiments
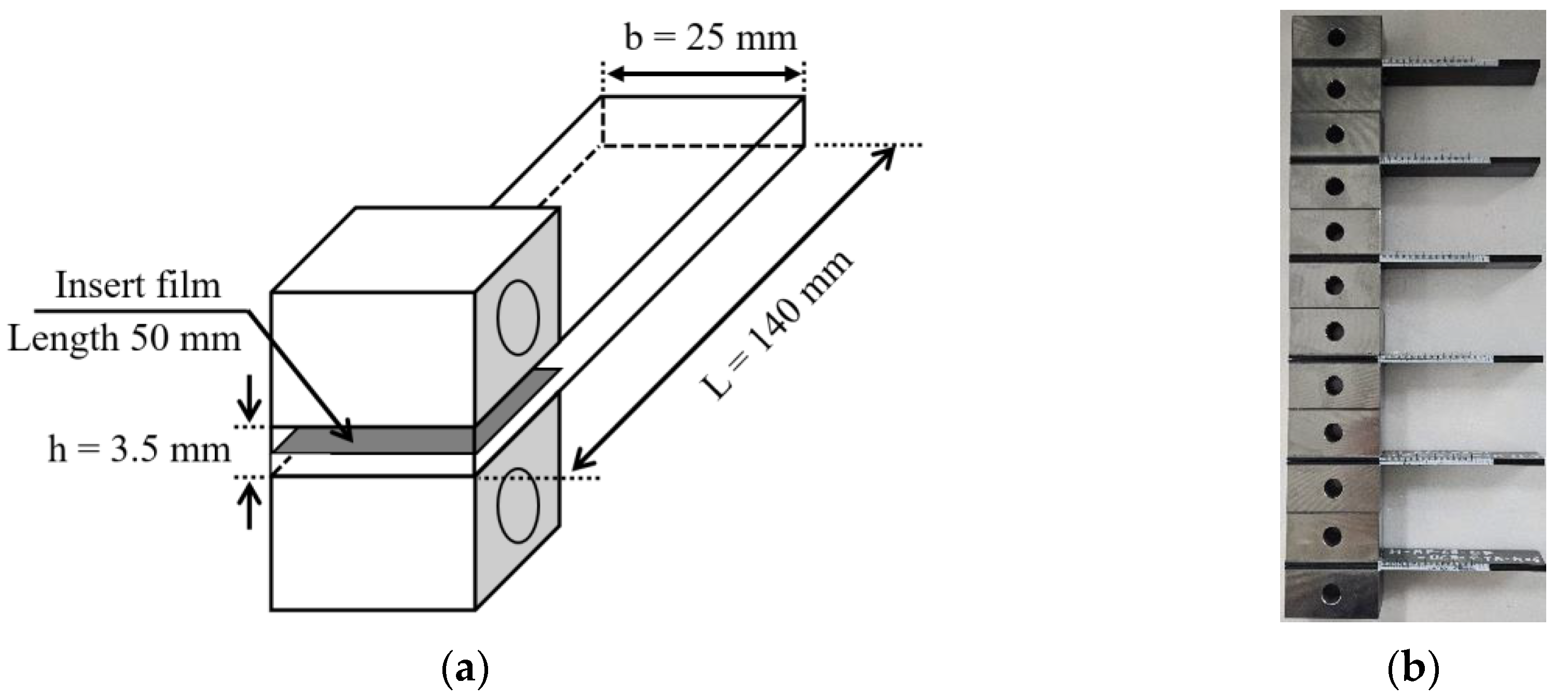
2.2. Double Cantilever Beam and End-Notched Flexure Tests
2.3. Analysis of Variance for Interlaminar Fracture Toughness Tests
3. Low-Velocity Impact Simulation for Composite Plate
3.1. Damage Model for Composite Plate
3.1.1. Intralaminar Damage Model
3.1.2. Interlaminar Damage Model
3.2. Low-Velocity Impact Simulation for Composite Plate Considering Interlaminar Fracture Toughness
3.2.1. Finite Element Model for Verification
3.2.2. Low-Velocity Impact Simulation Model
4. Results
4.1. Interlaminar Fracture Toughness Test
4.1.1. Mode I
4.1.2. Mode II
4.2. Low-Velcocity Impact Simulation
4.2.1. Validation
4.2.2. Simulation Incorporating Experimental Interlaminar Fracture Toughness
5. Conclusions
Author Contributions
Funding
Institutional Review Board Statement
Informed Consent Statement
Data Availability Statement
Conflicts of Interest
References
- Kang, M.S.; Park, H.S.; Choi, J.H.; Koo, J.M.; Seok, C.S. Prediction of fracture strength of woven CFRP laminates according to fiber orientation. Trans. Korean Soc. Mech. Eng. A 2012, 36, 881–887. [Google Scholar] [CrossRef]
- De Moura, M.F.S.F.; Marques, A.T. Prediction of low velocity impact damage in carbon–epoxy laminates. Compos. Part A Appl. Sci. Manuf. 2002, 33, 361–368. [Google Scholar] [CrossRef]
- Park, C.Y.; Joo, Y.S.; Kim, M.S.; Seo, B. Numerical Prediction of Compressive Residual Strengths of a Quasi-Isotropic Laminate with Low-Velocity Impact Delamination. Int. J. Aeronaut. Space Sci. 2024, 25, 954–965. [Google Scholar] [CrossRef]
- Dhimole, V.K.; Cho, C. Fundamental theories of aeronautics/mechanical structures: Past and present reddy’s work, developments, and future scopes. Int. J. Aeronaut. Space Sci. 2023, 24, 701–731. [Google Scholar] [CrossRef]
- Blythe, A.; Fox, B.; Nikzad, M.; Eisenbart, B.; Chai, B.X.; Blanchard, P.; Dahl, J. Evaluation of the failure mechanism in polyamide nanofibre veil toughened hybrid carbon/glass fibre composites. Materials 2022, 15, 8877. [Google Scholar] [CrossRef]
- Sales, R.D.C.M.; Gusmao, S.R.; Gouvea, R.F.; Chu, T.; Marlet, J.M.F.; Candido, G.M.; Donadon, M.V. The temperature effects on the fracture toughness of carbon fiber/RTM-6 laminates processed by VARTM. J. Compos. Mater. 2017, 51, 1729–1741. [Google Scholar] [CrossRef]
- Hashemi, S.; Kinloch, A.J.; Williams, J.G. The effects of geometry, rate and temperature on the mode I, mode II and mixed-mode I/II interlaminar fracture of carbon-fibre/poly (ether-ether ketone) composites. J. Compos. Mater. 1990, 24, 918–956. [Google Scholar] [CrossRef]
- de Cássia Mendonça Sales, R.; Rossi Dias Endo, B.L.; Donadon, M.V. Influence of temperature on interlaminar fracture toughness of a carbon fiber-epoxy composite material. Adv. Mater. Res. 2016, 1135, 35–51. [Google Scholar] [CrossRef]
- Albertsen, H.; Ivens, J.; Peters, P.; Wevers, M.; Verpoest, I. Interlaminar fracture toughness of CFRP influenced by fibre surface treatment: Part 1. Experimental results. Compos. Sci. Technol. 1995, 54, 133–145. [Google Scholar] [CrossRef]
- Aliheidari, N.; Ameli, A. Retaining high fracture toughness in aged polymer Composite/adhesive joints through optimization of plasma surface treatment. Compos. Part A Appl. Sci. Manuf. 2024, 176, 107835. [Google Scholar] [CrossRef]
- Martínez-Landeros, V.H.; Vargas-Islas, S.Y.; Cruz-González, C.E.; Barrera, S.; Mourtazov, K.; Ramírez-Bon, R. Studies on the influence of surface treatment type, in the effectiveness of structural adhesive bonding, for carbon fiber reinforced composites. J. Manuf. Process. 2019, 39, 160–166. [Google Scholar] [CrossRef]
- Budhe, S.; Banea, M.D.; De Barros, S.; Da Silva, L.F.M. An updated review of adhesively bonded joints in composite materials. Int. J. Adhes. Adhes. 2017, 72, 30–42. [Google Scholar] [CrossRef]
- Brito, C.B.G.; Contini, R.D.C.M.S.; Gouvêa, R.F.; Oliveira, A.S.D.; Arbelo, M.A.; Donadon, M.V. Mode I interlaminar fracture toughness analysis of co-bonded and secondary bonded carbon fiber reinforced composites joints. Mater. Res. 2018, 20, 873–882. [Google Scholar] [CrossRef]
- Shiino, M.Y.; Gonzalez Ramirez, F.M.; Garpelli, F.P.; Alves da Silveira, N.N.; de Cássia Mendonça Sales, R.; Donadon, M.V. Interlaminar crack onset in co-cured and co-bonded composite joints under mode I cyclic loading. Fatigue Fract. Eng. Mater. Struct. 2019, 42, 752–763. [Google Scholar] [CrossRef]
- Taguchi, G. The Mahalanobis-Taguchi Strategy: A Pattern Technology System; John Wiley and Sons, Inc.: New York, NY, USA, 2002. [Google Scholar]
- Madhusudhana, H.K.; Kumar, M.P.; Patil, A.Y.; Keshavamurthy, R.; Khan, T.Y.; Badruddin, I.A.; Kamangar, S. Analysis of the effect of parameters on fracture toughness of hemp fiber reinforced hybrid composites using the ANOVA method. Polymers 2021, 13, 3013. [Google Scholar] [CrossRef]
- ASTM D5528/D5528M-21; Standard Test Method for Mode I Interlaminar Fracture Toughness of Unidirectional Fiber-Reinforced Polymer Matrix Composites. ASTM International: West Conshohocken, PA, USA, 2021.
- ASTM D7905/D7905M-19; Standard Test Method for Determination of the Mode II Interlaminar Fracture Toughness of Unidirectional Fiber-Reinforced Polymer Matrix Composites. ASTM International: West Conshohocken, PA, USA, 2019.
- Kim, D.H.; Kim, S.; Kim, S.W. Numerical analysis of drop impact-induced damage of a composite fuel tank assembly on a helicopter considering liquid sloshing. Compos. Struct. 2019, 229, 111438. [Google Scholar] [CrossRef]
- Shao, J.R.; Liu, N.; Zheng, Z.J. Numerical comparison between Hashin and Chang-Chang failure criteria in terms of inter-laminar damage behavior of laminated composite. Mater. Res. Express 2021, 8, 085602. [Google Scholar] [CrossRef]
- Riccio, A.; De Luca, A.; Di Felice, G.; Caputo, F. Modelling the simulation of impact induced damage onset and evolution in composites. Compos. Part B Eng. 2014, 66, 340–347. [Google Scholar] [CrossRef]
- Kadioglu, F.; Demiral, M.; Avil, E.; Ercan, M.E.; Aydogan, T. Performance of adhesively-bonded joints of laminated composite materials under different loading modes. In Proceedings of the 2018 AIAA/ASCE/AHS/ASC Structures, Structural Dynamics, and Materials Conference, Kissimmee, FL, USA, 8–12 January 2018. [Google Scholar]
- No, H.R.; Jeon, M.H.; Cho, H.J.; Kim, I.G.; Woo, K.S.; Kim, H.S.; Choi, D.S. A Study on the Effect of Adhesion Condition on the Mode I Crack Growth Characteristics of Adhesively Bonded Composites Joints. Compos. Res. 2021, 34, 323–329. [Google Scholar]
- Yu, Z.; Zhang, J.; Shen, J.; Chen, H. Simulation of crack propagation behavior of nuclear graphite by using XFEM, VCCT and CZM methods. Nucl. Mater. Energy 2021, 29, 101063. [Google Scholar] [CrossRef]
- Dogan, F.; Hadavinia, H.; Donchev, T.; Bhonge, P.S. Delamination of impacted composite structures by cohesive zone interface elements and tiebreak contact. Cent. Eur. J. Eng. 2012, 2, 612–626. [Google Scholar] [CrossRef]
- Alfano, M.; Furgiuele, F.; Leonardi, A.; Maletta, C.; Paulino, G.H. Mode I fracture of adhesive joints using tailored cohesive zone models. Int. J. Fract. 2009, 157, 193–204. [Google Scholar] [CrossRef]
- Burlayenko, V.; Sadowski, T. FE modeling of delamination growth in interlaminar fracture specimens. Bud. I Archit. 2008, 2, 95–109. [Google Scholar] [CrossRef]
- Abaqus Analysis User’s Guide. 2016. Available online: http://130.149.89.49:2080/v2016/books/usb/default.htm (accessed on 10 June 2024).
- da Rocha, R.J.B. Evaluation of Different Damage Initiation and Growth Criteria in the Cohesive Zone Modelling Analysis of Single-Lap Bonded Joints. Master’s Thesis, Instituto Politecnico do Porto, Porto, Portugal, 2016. [Google Scholar]
- Zhang, C.; Huang, J.; Li, X.; Zhang, C. Numerical study of the damage behavior of carbon fiber/glass fiber hybrid composite laminates under low-velocity impact. Fibers Polym. 2020, 21, 2873–2887. [Google Scholar] [CrossRef]
- Zhou, J.; Wen, P.; Wang, S. Numerical investigation on the repeated low-velocity impact behavior of composite laminates. Compos. Part B Eng. 2020, 185, 107771. [Google Scholar] [CrossRef]
- Shi, Y.; Swait, T.; Soutis, C. Modelling damage evolution in composite laminates subjected to low velocity impact. Compos. Struct. 2012, 94, 2902–2913. [Google Scholar] [CrossRef]
- Tan, W.; Falzon, B.G.; Chiu, L.N.; Price, M. Predicting low velocity impact damage and Compression-After-Impact (CAI) behaviour of composite laminates. Compos. Part A Appl. Sci. Manuf. 2015, 71, 212–226. [Google Scholar] [CrossRef]
- Faggiani, A.; Falzon, B.G. Predicting low-velocity impact damage on a stiffened composite panel. Compos. Part A Appl. Sci. Manuf. 2010, 41, 737–749. [Google Scholar] [CrossRef]
- Kratz, J.; Hsiao, K.; Fernlund, G.; Hubert, P. Thermal models for MTM45-1 and Cycom 5320 out-of-autoclave prepreg resins. J. Compos. Mater. 2013, 47, 341–352. [Google Scholar] [CrossRef]
- Barbero, E.J.; Barbero, J.C. Determination of material properties for progressive damage analysis of carbon/epoxy laminates. Mech. Adv. Mater. Struct. 2019, 26, 938–947. [Google Scholar] [CrossRef]
- Clarkson, E. MTM45-1/IM7-145gsm-32% RW Qualification Statistical Analysis Report; NIAR Test Report; Wichita State University: Wichita, KS, USA, 2018. [Google Scholar]
- FM309-1 Film Adhesive. Technical Data Sheet. 2017. Available online: https://www.couchsalesllc.com/wp-content/uploads/2024/02/FM309-TDS.pdf (accessed on 18 May 2024).
- Silveira, N.N.; Sales, R.C.; Brito, C.B.; Cândido, G.M.; Donadon, M.V. Comparative fractographic analysis of composites adhesive joints subjected to mode I delamination. Polym. Compos. 2019, 40, 2973–2983. [Google Scholar] [CrossRef]





















| Test | Variables | Factors | Level | ||
|---|---|---|---|---|---|
| DCB | A | Temperature | −53 °C | 23 °C | 93 °C |
| B | Surface treatment | Peel ply | Fuse plasma | Sanding | |
| C | Adhesive process | Co-bonding | Secondary bonding | - | |
| ENF | D | Surface treatment | Peel ply | Fuse plasma | Sanding |
| E | Adhesive process | Co-bonding | Secondary bonding | - | |
| Mechanical Properties | Hashin Damage Variables | ||||
|---|---|---|---|---|---|
| Symbol | Value | Unit | Symbol | Value | Unit |
| E11 | 130 | GPa | Xt | 2080 | MPa |
| E22 | 7.7 | GPa | Xc | 1250 | MPa |
| E33 | 7.7 | GPa | Yt | 60 | MPa |
| G12 | 4.8 | GPa | Yc | 140 | MPa |
| G13 | 4.8 | GPa | S | 110 | MPa |
| G23 | 3.8 | GPa | Gft | 133 | N/mm |
| 12 | 0.33 | - | Gfc | 40 | N/mm |
| 13 | 0.33 | - | Gmt | 0.6 | N/mm |
| 23 | 0.35 | - | Gmc | 2.1 | N/mm |
| Mechanical Properties | Hashin Damage Variables | ||||
|---|---|---|---|---|---|
| Symbol | Value | Unit | Symbol | Value | Unit |
| Knn | 5000 | N/mm3 | T1, T2, T3 | 30 | MPa |
| Kss | 5000 | N/mm3 | G1c | 0.6 | N/mm |
| Ktt | 5000 | N/mm3 | G2c, G3c | 2.1 | N/mm |
| Material | Thermal Expansion ) | Thermal Conductivity ) |
|---|---|---|
| MTM45/IM7 | = −5.5 = 28.5 | 0.2 |
| FM309 | 5.9 | 0.5 |
| Case | Modulus (GPa) | Poisson’s Ratio |
|---|---|---|
| CTA | E11 = 154, E22 = E33 = 8.55 G12 = G13 = G23 = 4.36 | 12 = 13 = 23 = 0.346 |
| RTA | E11 = 152, E22 = E33 = 7.65 G12 = G13 = G23 = 3.62 | 12 = 13 = 23 = 0.361 |
| ETA | E11 = 147, E22 = E33 = 6.55 G12 = G13 = G23 = 4.36 | 12 = 13 = 23 = 0.373 |
| Case | Hashin Damage | |
|---|---|---|
| Initiation (MPa) | Evolution (N/mm) | |
| CTA | Xt = 2442, Xc = 1383 Yt = 57.5, Yz = 263.8 S1 = 53.4, St = 144 | Gft = 195.8, Gfc = 165.6 Gmt = 0.348, Gmc = 0.884 |
| RTA | Xt = 2369, Xc = 1226 Yt = 52.3, Yz = 192.8 S1 = 40.7, St = 100 | Gft = 195.8, Gfc = 165.6 Gmt = 0.348, Gmc = 0.884 |
| ETA | Xt = 2453, Xc = 1063 Yt = 29.6, Yz = 108.3 S1 = 24.3, St = 58.9 | Gft = 195.8, Gfc = 165.6 Gmt = 0.348, Gmc = 0.884 |
| No. | Traction (N/mm3) | QUADS Damage | Density (ton/mm3) | |
|---|---|---|---|---|
| Initiation (MPa) | Evolution (N/mm) | |||
| 1 | Knn, Kss, Ktt = 8000 | T1 = 6.7 T2, T3 = 27.6 | G1c = 0.635 G2c, G3c = 4.718 | 1.12 × 10−9 |
| 2 | Knn, Kss, Ktt = 4300 | T1 = 6.4 T2, T3 = 37 | G1c = 1.305 G2c, G3c = 4.718 | |
| 3 | Knn, Kss, Ktt = 4000 | T1 = 6.1 T2, T3 = 33.7 | G1c = 1.342 G2c, G3c = 4.718 | |
| 4 | Knn, Kss, Ktt = 8500 | T1 = 6.7 T2, T3 = 27.6 | G1c = 0.594 G2c, G3c = 4.614 | |
| 5 | Knn, Kss, Ktt = 4500 | T1 = 6.4 T2, T3 = 37 | G1c = 1.247 G2c, G3c = 4.614 | |
| 6 | Knn, Kss, Ktt = 3000 | T1 = 6.1 T2, T3 = 33.7 | G1c = 1.345 G2c, G3c = 4.614 | |
| 7 | Knn, Kss, Ktt = 6800 | T1 = 6.7 T2, T3 = 27.6 | G1c = 0.668 G2c, G3c = 4.437 | |
| 8 | Knn, Kss, Ktt = 4000 | T1 = 6.4 T2, T3 = 37 | G1c = 1.310 G2c, G3c = 4.437 | |
| 9 | Knn, Kss, Ktt = 3800 | T1 = 6.1 T2, T3 = 33.7 | G1c = 1.384 G2c, G3c = 4.437 | |
| 10 | Knn, Kss, Ktt = 8500 | T1 = 6.7 T2, T3 = 27.6 | G1c = 0.509 G2c, G3c = 4.133 | |
| 11 | Knn, Kss, Ktt = 5000 | T1 = 6.4 T2, T3 = 37 | G1c = 0.886 G2c, G3c = 4.133 | |
| 12 | Knn, Kss, Ktt = 4000 | T1 = 6.1 T2, T3 = 33.7 | G1c = 0.901 G2c, G3c = 4.133 | |
| 13 | Knn, Kss, Ktt = 9000 | T1 = 6.7 T2, T3 = 27.6 | G1c = 0.352 G2c, G3c = 3.931 | |
| 14 | Knn, Kss, Ktt = 5000 | T1 = 6.4 T2, T3 = 37 | G1c = 0.308 G2c, G3c = 3.931 | |
| 15 | Knn, Kss, Ktt = 4000 | T1 = 6.1 T2, T3 = 33.7 | G1c = 0.873 G2c, G3c = 3.931 | |
| 16 | Knn, Kss, Ktt = 7000 | T1 = 6.7 T2, T3 = 27.6 | G1c = 0.568 G2c, G3c = 3.789 | |
| 17 | Knn, Kss, Ktt = 5000 | T1 = 6.4 T2, T3 = 37 | G1c = 1.129 G2c, G3c = 3.789 | |
| 18 | Knn, Kss, Ktt = 5000 | T1 = 6.1 T2, T3 = 33.7 | G1c = 1.164 G2c, G3c = 3.789 | |
| No. | Adhesion Process | Surface Treatment | Temp. (°C) | GIc (kJ/m2) |
|---|---|---|---|---|
| 1 | CB | PP | −53 | 0.572 |
| 2 | CB | PP | 23 | 1.436 |
| 3 | CB | PP | 93 | 1.543 |
| 4 | CB | FP | −53 | 0.535 |
| 5 | CB | FP | 23 | 1.060 |
| 6 | CB | FP | 93 | 1.210 |
| 7 | CB | SD | −53 | 0.534 |
| 8 | CB | SD | 23 | 1.441 |
| 9 | CB | SD | 93 | 1.660 |
| 10 | SB | PP | −53 | 0.504 |
| 11 | SB | PP | 23 | 0.930 |
| 12 | SB | PP | 93 | 1.108 |
| 13 | SB | FP | −53 | 0.422 |
| 14 | SB | FP | 23 | 0.550 |
| 15 | SB | FP | 93 | 1.091 |
| 16 | SB | SD | −53 | 0.625 |
| 17 | SB | SD | 23 | 1.242 |
| 18 | SB | SD | 93 | 1.280 |
| Category | DF | SS | MS | F | p |
|---|---|---|---|---|---|
| Adhesion process | 1 | 0.48213 | 0.48213 | 27.48 | 0 |
| Surface treatment | 2 | 0.14379 | 0.07189 | 4.1 | 0.044 |
| Temperature | 2 | 1.29316 | 0.64658 | 36.86 | 0 |
| Error | 12 | 0.21052 | 0.01754 | ||
| Statics | 17 | 2.12959 |
| No. | Adhesion Process | Surface Treatment | GIIc (kJ/m2) |
|---|---|---|---|
| 1 | CB | PP | 4.624 |
| 2 | CB | FP | 4.522 |
| 3 | CB | SD | 4.348 |
| 4 | SB | PP | 3.720 |
| 5 | SB | FP | 3.538 |
| 6 | SB | SD | 3.410 |
| Category | DF | SS | MS | F | P |
|---|---|---|---|---|---|
| Adhesion process | 1 | 0.61197 | 0.61197 | 498.43 | 0.002 |
| Surface treatment | 2 | 0.09773 | 0.04886 | 39.8 | 0.025 |
| Error | 12 | 0.00246 | 0.00123 | ||
| Statics | 17 | 0.71215 |
| Category | Force (N) | Impact Energy (J) | Error (%) |
|---|---|---|---|
| Numerical result [30] | 9070.3 | 25.0 | 2.92 |
| Experiment result [30] | 8498.4 | 25.0 | 3.61 |
| Present FE model | 8805.2 | 25.0 | - |
| Case | Tensile Damage Area of Composite Matrix (mm2) | Compressive Damage Area of Composite Matrix (mm2) |
|---|---|---|
| PP-CB-CTA | 4590.2 | 543.1 |
| PP-CB-RTA | 4573.7 | 920.9 |
| PP-CB-ETA | 4721.7 | 1473.4 |
| FP-CB-CTA | 4576.4 | 526.6 |
| FP-CB-RTA | 4847.2 | 689.9 |
| FP-CB-ETA | 5166.5 | 962.7 |
| SD-CB-CTA | 4349.6 | 832.5 |
| SD-CB-RTA | 4676.6 | 810.3 |
| SD-CB-ETA | 4721.3 | 1462.1 |
| PP-SB-CTA | 4587.1 | 523.3 |
| PP-SB-RTA | 4791.5 | 625.2 |
| PP-SB-ETA | 5038.5 | 910.1 |
| FP-SB-CTA | 4601.7 | 527.8 |
| FP-SB-RTA | 4805.2 | 629.9 |
| FP-SB-ETA | 5037.7 | 909.9 |
| SD-SB-CTA | 4473.3 | 816.5 |
| SD-SB-RTA | 4633.3 | 884.2 |
| SD-SB-ETA | 4737.2 | 4737.2 |
| Case | Delamination Area (mm2) |
|---|---|
| PP-CB-CTA | 899.3 |
| PP-CB-RTA | 429.1 |
| PP-CB-ETA | 340.8 |
| FP-CB-CTA | 966.7 |
| FP-CB-RTA | 471.7 |
| FP-CB-ETA | 366.0 |
| SD-CB-CTA | 708.8 |
| SD-CB-RTA | 414.9 |
| SD-CB-ETA | 319.0 |
| PP-SB-CTA | 965.5 |
| PP-SB-RTA | 583.0 |
| PP-SB-ETA | 546.5 |
| FP-SB-CTA | 1005.4 |
| FP-SB-RTA | 579.4 |
| FP-SB-ETA | 550.4 |
| SD-SB-CTA | 761.8 |
| SD-SB-RTA | 538.3 |
| SD-SB-ETA | 449.7 |
Disclaimer/Publisher’s Note: The statements, opinions and data contained in all publications are solely those of the individual author(s) and contributor(s) and not of MDPI and/or the editor(s). MDPI and/or the editor(s) disclaim responsibility for any injury to people or property resulting from any ideas, methods, instructions or products referred to in the content. |
© 2024 by the authors. Licensee MDPI, Basel, Switzerland. This article is an open access article distributed under the terms and conditions of the Creative Commons Attribution (CC BY) license (https://creativecommons.org/licenses/by/4.0/).
Share and Cite
Lee, G.-H.; Yang, J.-Y.; Kim, S.-W.; Lee, S.-Y. Low-Velocity Impact Analysis in Composite Plates Incorporating Experimental Interlaminar Fracture Toughness. Materials 2024, 17, 5768. https://doi.org/10.3390/ma17235768
Lee G-H, Yang J-Y, Kim S-W, Lee S-Y. Low-Velocity Impact Analysis in Composite Plates Incorporating Experimental Interlaminar Fracture Toughness. Materials. 2024; 17(23):5768. https://doi.org/10.3390/ma17235768
Chicago/Turabian StyleLee, Gyeong-Han, Ji-Yoon Yang, Sang-Woo Kim, and Soo-Yong Lee. 2024. "Low-Velocity Impact Analysis in Composite Plates Incorporating Experimental Interlaminar Fracture Toughness" Materials 17, no. 23: 5768. https://doi.org/10.3390/ma17235768
APA StyleLee, G.-H., Yang, J.-Y., Kim, S.-W., & Lee, S.-Y. (2024). Low-Velocity Impact Analysis in Composite Plates Incorporating Experimental Interlaminar Fracture Toughness. Materials, 17(23), 5768. https://doi.org/10.3390/ma17235768

